Wartung
Zugang zum Mähwerk
Greifen Sie zu Wartungszwecken wie folgt auf das Untermesser und die Spindel zu:
-
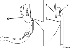
Stützen Sie die Rückseite des von der Maschine abgebauten Mähwerks ab, um sicherzustellen, dass die Muttern der Einstellschrauben am hinteren Ende des Untermesserträgers nicht auf der Arbeitsfläche aufliegen (Bild 4).

-
Senken Sie bei angebauten Mähwerk den Griff der Antriebseinheit auf den Boden ab (Bild 5).

Kontrolle des Schmierpunktes der Spindel-Antriebswelle
| Wartungsintervall | Wartungsmaßnahmen |
|---|---|
| Jährlich |
|
-
Entfernen Sie die Befestigungsmittel, mit denen die Spindelantriebsbaugruppe an der Seitenplatte befestig ist (Bild 6).

-
Entfernen Sie die Muttern von der Innenseite der Seitenplatte (Bild 6).
-
Überprüfen Sie die Innenseite der Spindel-Antriebswelle überschüssiges Fett (Bild 7).
Ist nicht ausreichend Fett sichtbar, geben Sie mehr Fett auf die Zahlwellenverbindung.

-
Verwenden Sie die zuvor entfernten Zylinderschrauben und Muttern, um die Spindelantriebsbaugruppe an der Seitenplatte zu befestigen.
-
Montieren Sie das Mähwerk an der Zugmaschine; weitere Informationen finden Sie in der Bedienungsanleitung Ihrer Zugmaschine.
Einstellen des Kontakts zwischen Untermesser und Spindel
Tägliches Einstellen des Untermessers
Prüfen Sie vor dem Mähen (täglich oder nach Bedarf) den richtigen Kontakt zwischen Untermesser und Spindel. Führen Sie diese Schritte aus, selbst wenn die Schnittqualität akzeptabel ist.
Note: Dieser Vorgang kann mit an der Zugmaschine installierten Mähwerken durchgeführt werden.
-
Schalten Sie die Zugmaschine aus.
-
Zugang zum Mähwerk, siehe Zugang zum Mähwerk.
-
Drehen Sie die Spindel langsam rückwärts und horchen auf den Kontakt zwischen dem Untermesser und der Spindel.
-
Wenn kein Kontakt feststellbar ist, stellen Sie das Untermesser wie folgt ein:
-
Drehen Sie die Einstellschrauben des Untermesserträgers um jeweils eine Kerbe nach rechts, bis Sie leichten Kontakt spüren und hören (Bild 8).
Note: Die Einstellschrauben des Untermesserträgers haben Aushebungen, die einer Bewegung des Untermessers von jeweils 0,018 mm entsprechen.

-
Führen Sie einen langen Streifen des Schneidleistungspapiers (Toro Bestellnummer 125-5610) senkrecht zum Untermesser (Bild 9) zwischen die Spindel und das Untermesser ein, drehen Sie die Spindel dann langsam nach vorne. Sie sollte das Papier zerschneiden. Wiederholen Sie ansonsten die Schritte 1 und 2, bis das Papier zerschnitten wird.
-
-
Wenn ein zu großer Kontakt bzw. Spindelwiderstand besteht, müssen Sie entweder die Vorderseite des Untermessers erneuern oder die Schneideinheit nachschleifen, um die für einen genauen Schnitt erforderlichen scharfen Kanten zu erhalten (weitere Angaben finden Sie in der Toro Anleitung zum Schärfen von Spindel- und Sichelmähern, Formular-Nr. 09168SL).
Important: Ein leichter Kontakt ist stets ideal. Wenn Sie nicht ständig einen leichten Kontakt beibehalten, schärfen sich die Kanten von Untermesser und Spindel nicht ausreichend selbst, und nach einer gewissen Verwendungsdauer sind stumpfe Schnittkanten festzustellen. Bei permanent zu starkem Kontakt nutzen sich Untermesser und Spindel schneller oder ungleichmäßig ab, und die Mähqualität kann beeinträchtigt werden.
Note: Bei Mähwerken der Serie eFlex hat der Spindel-zu-Messer-Kontakt einen erheblichen Einfluss auf den Energieverbrauch. Ein nur leichter Kontakt wird für eine optimale Schnittleistung und optimalen Batterieverbrauch empfohlen.
Note: Wenn die Messerspindel weiter gegen das Untermesser laufen, bildet sich über die gesamte Länge des Untermessers ein leichter Grat an der vorderen Schnittkantenfläche. Feilen Sie gelegentlich die Vorderseite der Schnittkante leicht ab, um den Grat zu beseitigen und die Schnittqualität zu verbessern.Nach längerem Betrieb bildet sich mit der Zeit an beiden Enden des Untermessers eine Riefe heraus. Um auch weiterhin einen einwandfreien Betrieb zu gewährleisten, runden Sie diese Kerben ab oder feilen sie bündig zur Kante des Untermessers.
-
Einstellen des Untermessers nach dem Schleifen, Läppen oder Ausbau
Verwenden Sie diese Schritte für die Ersteinrichtung der Schneideinheit und nach dem Schleifen, Läppen oder der Demontage der Spindel. Dies ist keine tägliche Einstellung.
Note: Dieser Vorgang kann mit an der Zugmaschine installierten Mähwerken durchgeführt werden.
Note: Bei Mähwerken der Serie eFlex hat der Spindel-zu-Messer-Kontakt einen erheblichen Einfluss auf den Energieverbrauch. Ein nur leichter Kontakt wird für eine optimale Schnittleistung und optimalen Batterieverbrauch empfohlen.
-
Schalten Sie die Zugmaschine aus.
-
Zugang zum Mähwerk, siehe Zugang zum Mähwerk.
-
Drehen Sie die Spindel so, dass ein Messer die Untermesserkante zwischen den Köpfen der ersten und zweiten Untermesserschraube an der rechten Seite des Mähwerks überquert.
-
Markieren Sie das Messer an der Stelle, an der es die Untermesserkante überquert.
Note: Dies vereinfacht spätere Einstellungen.
-
Legen Sie eine Beilagscheibe (0,05 mm) zwischen das Messer und die Untermesserkante an der Stelle, die Sie in Schritt 4 markiert haben.
-
Drehen Sie die Einstellschraube des rechten Untermesserträgers (Bild 8), bis Sie einen leichten Druck (d. h. Widerstand) an der Beilagscheibe spüren, wenn Sie sie von einer zur anderen Seite verschieben. Entfernen Sie die Beilagscheibe.
-
Drehen Sie für die linke Seite der Schneideinheit die Spindel langsam, sodass das am nächsten gelegene Messer die Untermesserkante zwischen dem ersten und zweiten Schraubenkopf überquert.
-
Wiederholen Sie die Schritte 4 bis 6 an der linken Seite des Mähwerks und an der Einstellschraube des linken Untermesserträgers.
-
Wiederholen Sie die Schritte 5 und 6, bis ein leichter Druck an den Kontaktstellen an der linken und rechten Seite des Mähwerks besteht.
-
Drehen Sie jede Einstellschraube des Untermessers drei Klicks nach rechts, um leichten Kontakt zwischen der Spindel und dem Untermesser und der Spindel zu erhalten.
Note: Bei jedem Klick der Einstellschraube des Untermesserträgers wird das Untermesser um 0,018 mm bewegt. Ziehen Sie die Einstellschrauben nicht zu fest an.Bei jedem Drehen der Einstellschraube nach rechts wird das Untermesser näher an die Spindel bewegt. Bei jedem Drehen der Einstellschraube nach links wird das Untermesser von der Spindel weg bewegt.
-
Führen Sie einen langen Streifen des Schneidleistungspapiers (Toro Bestellnummer 125-5610) senkrecht zum Untermesser (Bild 9) zwischen die Spindel und das Untermesser ein, drehen Sie die Spindel dann langsam nach vorne. Sie sollte das Papier zerschneiden. Drehen Sie sonst jede Einstellschraube des Untermessers um einen Klick nach rechts und wiederholen Sie diesen Schritt, bis das Papier zerschnitten wird.

Note: Wenn ein zu großer Kontakt bzw. Spindelwiderstand besteht, läppen Sie, erneuern Sie die Vorderseite des Untermessers, oder schleifen Sie das Mähwerk nach, um die für einen präzisen Schnitt erforderlichen scharfen Messer zu erhalten (weitere Angaben finden Sie in der Toro Anleitung zum Schärfen von Spindel- und Sichelmähern, Formular-Nr. 09168SL).
Einstellen des Mähwerks auf die Grünflächenbedingungen
Verwenden Sie die folgende Tabelle, um das richtige Untermesser zu bestimmen, die für Ihre Rasenverhältnisse erforderlich ist. Wenden Sie sich an Ihren autorisierten Toro-Vertragshändler, um weitere Untermesser und Rollen zu erwerben.
Anweisungen zum Einstellen der entsprechenden Schnitthöhe auf Ihre Rasenbedingungen finden Sie unter Einstellung der Schnitthöhe.
| Tabelle der empfohlenen Untermesser/Schnitthöhe | |
| Untermesser | Schnitthöhe |
| Edgemax Micro-Cut (Standard) | 1,5 bis 4,7 mm |
| EdgeMax Tournament (optional) | 3,1 bis 12,7 mm |
| Micro-Cut (optional) | 1,5 bis 4,7 mm |
| Tournament (optional) | 3,1 bis 12,7 mm |
| Extended Micro-Cut (optional) | 1,5 bis 4,7 mm |
| Extended Tournament (optional) | 3,1 bis 12,7 mm |
| Low-Cut (optional) | 4,7 bis 25,4 mm |
Schnitthöheneinstellung vornehmen
Stellen Sie die Schnitthöhe mit einer Schnitthöhenlehre auf die gewünschte Höhe ein und stellen Sie sicher, dass Ihr Mähwerk mit einem Untermesser ausgestattet ist, das für Ihre gewünschte Schnitthöhe am besten geeignet ist; siehe Einstellen des Mähwerks auf die Grünflächenbedingungen.
Einstellen der Heckrollenhöhe
Abhängig von dem gewünschten Schnitthöhenbereich, Heckrollenhalterungen (Bild 10 oder Bild 11) auf die Unten-oder Hohe-Stellung einstellen:
-
Legen Sie das Distanzstück über den Montageflansch der Seitenplatte (Werkseinstellung), wenn die Einstellungen für den Schnitthöhenbereich zwischen 1,5 mm und 6,0 mm liegen, wie in Bild 10 abgebildet.

-
Positionieren Sie das Distanzstück unter den Montageflansch der Seitenplatte, wenn die Einstellungen für den Schnitthöhenbereich zwischen 3 mm und 25 mm liegen, wie in Bild 11 dargestellt.

-
Heben Sie das Heck der Schneideinheit an und stellen Sie einen Block unter das Untermesser.
-
Nehmen Sie die zwei Muttern ab, mit denen jede Rollenhalterung und das Distanzstück am Befestigungsflansch jeder Seitenplatte befestigt ist.
-
Senken Sie die Rolle und die Schrauben von den Befestigungsflanschen und den Distanzstücken der Seitenplatte ab.
-
Legen Sie die Distanzstücke je nach Bedarf über oder unter den Rollenhalterungen auf die Schrauben (Bild 10 oder Bild 11).
-
Befestigen Sie die Rollenhalterung und die Distanzstücke mit den vorher abgenommenen Muttern wieder an der Unterseite des Montageflansch.
-
Prüfen Sie, ob der Kontakt zwischen Untermesser und Spindel richtig ist. Kippen Sie den Rasenmäher, um die Front- und Heckrolle und das Untermesser zugänglich zu machen.
Note: Die Position der Heckrolle zur Spindel wird von den Drehtoleranzen der montierten Komponenten gesteuert. Ein Parallelisieren ist nicht erforderlich. Sie können minimale Einstellungen vornehmen, wenn Sie das Mähwerk auf eine Arbeitsfläche stellen und die Befestigungsschrauben der Seitenplatte lockern (Bild 12). Stellen Sie abschließend die Schrauben ein und ziehen Sie diese an.

Important: Wenn Sie das Mähwerk kippen müssen, um an das Untermesser bzw. die Spindel zu gelangen, stützen Sie das Heck des Mähwerks ab, um sicherzustellen, dass die Muttern hinten an den Einstellschrauben des Untermesserträgers nicht auf der Arbeitsfläche aufliegen (Bild 4).
Einstellen der Schnitthöhenlehre
Stellen Sie vor dem Anpassen der Schnitthöhe die Schnitthöhenlehre wie folgt ein:
-
Lösen Sie die Mutter an der Messlehre und stellen Sie die Einstellschraube auf die gewünschte Schnitthöhe ein (Bild 13).
Note: Der Abstand zwischen dem unteren Ende des Schraubenkopfs und der Stirnseite der Messlehre ist die Schnitthöhe.

-
Ziehen Sie die Mutter fest.
Einstellen der Schnitthöhe
Dieses Mähwerk hat in der Grundausstattung ein Edgemax Micro-Cut-Untermesser und einen standardmäßigen Untermesserträger. Die effektive Schnitthöhe hängt von vorherigen Mähwerkkonfigurationen und Rasenbedingungen ab (d. h. Rollentyp, Abstand von Untermesser zur Mitte, weiche oder feste Grüns und saisonale Bedingungen). Stellen Sie die anfängliche Schnitthöhe um 0,25 bis 0,38 mm höher ein als die Einstellung des vorherigen Grünsmähers ein und passen Sie sie den Bedingungen an.
Note: Installieren Sie für Schnitthöhen über 13 mm das Kit für die hohe Schnitthöhe.
Ermitteln Sie anhand Einstellen des Mähwerks auf die Grünflächenbedingungen, welches Untermesser am besten für die gewünschte Schnitthöhe geeignet ist.
-
Lösen Sie die Sicherungsmuttern, mit denen die Schnitthöhenarme an den Seitenplatten der Schneideinheit befestigt sind (Bild 14).

-
Haken Sie den Schraubenkopf der Schnitthöhenlehre an der rechten Seite der Schnittkante des Untermessers ein und legen Sie das hintere Ende der Lehre auf die Rückseite der Rolle (Bild 15).

-
Drehen Sie die Einstellschraube, bis die Rolle vorne die Messlehre berührt.
-
Wiederholen Sie die Schritte 2 und für die linke Seite.
-
Stellen Sie beide Enden der Rolle ein, bis die ganze Rolle parallel zum Untermesser ist.
Important: Bei einer richtigen Einstellung berühren die Front- und Heckrolle die Messlehre, und die Schraube ist mit dem Untermesser bündig. Dies gewährleistet eine identische Schnitthöhe an beiden Seiten des Untermessers.
-
Ziehen Sie die Sicherungsmuttern an den Schnitthöhenarmen so fest an, damit die Einstellung ausreichend gesichert ist und das Spiel der Unterlegscheibe beseitigt wird.
-
Stellen Sie sicher, dass die Einstellung für die Schnitthöhe richtig ist und wiederholen Sie diesen Schritt bei Bedarf.
Einstellung der Schnitthöhe
Die Schnitthöhe wird durch die folgenden Maschineneinstellungen bestimmt:
-
Spindeldrehzahl: Die Spindeldrehzahl kann auf eine hohe oder niedrige Drehzahl eingestellt werden; siehe Betriebsanleitung Ihrer Zugmaschine.
-
Stellung der Spindelantriebsscheibe: Die Spindelantriebsscheiben (22 Zähne und 24 Zähne) können in zwei Stellungen eingestellt werden:
Note: Die Riemenscheibenstellung ist werkseitig auf die UNTEN-Stellung eingestellt.

Um die Stellung der Riemenscheiben einzustellen, gehen Sie wie folgt vor:
-
Entfernen Sie die Riemenabdeckung, um den Riemen freizulegen (Bild 17).

-
Lösen Sie die Schraube des Spannarms und drehen Sie den Spannarm (Bild 17), um die Spannung auf dem Riemen zu lösen.
-
Nehmen Sie den Riemen ab (Bild 17).
-
Lösen Sie die Mutter an jeder Riemenscheibe, entfernen Sie die Riemenscheiben und montieren Sie die Riemenscheiben mit den Muttern in der gewünschten Konfiguration.

-
Ziehen Sie die Muttern der Riemenscheibe auf ein Drehmoment von 37-45 N·m an.
-
Bauen Sie den Riemen ein und spannen Sie den Riemen, indem Sie die Innensechskantschraube am Spannarm auf ein Drehmoment von 4 bis 5 N·m anziehen, wie in Bild 17 dargestellt.
-
Ziehen Sie die Schraube des Spannarms an und montieren Sie die Riemenabdeckung.
Einstellen der Schnittleiste
Stellen Sie die mit den folgenden Schritten Schnittleiste so ein, dass Schnittgut sauber aus dem Spindelbereich ausgeworfen wird:
Note: Die Leiste kann an geänderte Rasenbedingungen angepasst werden. Bei sehr nassem Gras sollte der Abstand der Leiste von der Spindel kleiner sein. Umgekehrt sollte die Leiste bei nassen Einsatzbedingungen in größerem Abstand zur Spindel befestigt werden. Für optimale Leistung sollte die Leiste parallel zur Spindel sein. Stellen Sie diese nach dem Schärfen der Spindel auf einer Rollenschleifmaschine ein.
-
Lockern Sie die Schrauben, mit denen die obere Leiste an der Schneideinheit befestigt ist (Bild 19).

-
Führen Sie eine Fühlerlehre (1,5 mm) zwischen Spindeloberseite und Leiste ein und ziehen Sie die Schrauben an.
Important: Achten Sie darauf, dass die Leiste und Spindel über die gesamte Spindellänge den gleichen Abstand voneinander haben.
Warten des Untermesserträgers
Nur ein richtig geschulter Mechaniker sollte den Untermesserträger und das Untermesser warten, um eine Beschädigung der Spindel, des Untermesserträgers und des Untermessers zu vermeiden. Am besten sollten Sie die Schneideinheit von einem offiziellen Toro-Vertragshändler warten lassen. Ausführliche Anweisungen, Spezialwerkzeuge und Tabellen für das Warten des Untermessers finden Sie in der Wartungsanleitung der Zugmaschine. Sollten Sie den Untermesserträger abnehmen oder montieren müssen, finden Sie unten Anweisungen sowie technische Daten für das Warten des Untermessers.
Important: Halten Sie sich immer an die Schritte für das Untermesser, die in der Wartungsanleitung aufgeführt sind, wenn Sie das Untermesser warten. Bei einem falschen Einbau oder Schleifen des Untermessers riskieren Sie Schäden an der Spindel, dem Untermesser und dem Untermesserträger.
Entfernen des Untermesserträgers
-
Drehen Sie die Einstellschraube des Untermesserträgers nach links, um den Abstand zwischen dem Untermesser und der Spindel zu vergrößern (Bild 20).

-
Drehen Sie die Federspannungsmutter so weit hinaus, bis die Scheibe nicht mehr gegen den Untermesserträger angespannt ist (Bild 20).
-
Lösen Sie auf jeder Seite der Maschine die Sicherungsmutter, die in Bild 21 dargestellt ist.

-
Nehmen Sie jede Schraube des Untermesserträgers ab, damit der Untermesserträger nach unten gezogen und von der Schneideinheit entfernt werden kann (Bild 21).
Bewahren Sie die beiden Kunststoffscheiben und die Stahlscheibe an jedem Ende des Untermesserträgers auf (Bild 21).
Einbauen des Untermesserträgers
-
Montieren Sie den Untermesserträger. Positionieren Sie die Befestigungsohren zwischen die Scheiben und der Einstellschraube des Untermesserträgers (Bild 20).
-
Befestigen Sie den Untermesserträger mit den Untermesserträgerschrauben (Muttern an den Schrauben) und den drei Scheiben (6 insgesamt) an jeder Seitenplatte.
-
Legen Sie eine Nylonscheibe auf jede Seite des Seitenplattenansatzes. Legen Sie eine Stahlscheibe außen auf jede Nylonscheibe (Bild 21).
-
Ziehen Sie die Schrauben des Untermesserträgers mit 27-36 N·m an.
-
Ziehen Sie die Sicherungsmuttern an, bis die Stahlmuttern kein Spiel mehr haben, jedoch mit der Hand gedreht werden können. Die Scheiben innen können einen Abstand aufweisen.
Important: Ziehen Sie die Sicherungsmuttern nicht zu fest an, da sich sonst die Seitenplatten verformen können.
-
Ziehen Sie die Federspannungsmutter an, bis die Feder zusammengedrückt ist, drehen Sie sie dann eine 1/2 Umdrehung heraus (Bild 22).

-
Stellen Sie das Untermesser zur Spindel ein, siehe Einstellen des Untermessers nach dem Schleifen, Läppen oder Ausbau.
Warten des Untermessers
Montieren des Untermessers
-
Entfernen Sie Rost, Kalk oder Korrosion von der Oberseite des Untermesserträgers und tragen Sie einen dünnen Ölfilm auf die Oberfläche des Untermesserträgers auf.
-
Reinigen Sie das Schraubengewinde.
-
Tragen Sie Gewindesicherungslack auf die Schrauben auf und befestigen Sie das Untermesser am Untermesserträger.

-
Ziehen Sie die zwei äußeren Schrauben mit 1 Nm an.
-
Arbeiten Sie von der Mitte des Untermessers aus und ziehen Sie die Schrauben auf ein Drehmoment von 23-28 N·m an.

-
Schleifen Sie das Untermesser.
Vorbereiten der Spindel für das Schleifen
-
Stellen Sie sicher, dass alle Teile der Schneideinheit in gutem Zustand sind und beheben Sie alle Probleme vor dem Schleifen.
-
Halten Sie sich an die Anweisungen des Herstellers der Schleifmaschine und schleifen Sie die Mähspindel, bis sie die folgenden technischen Daten erfüllt.
Technische Daten für das Schleifen der Spindel Neuer Spindeldurchmesser 128,5 mm Spindeldurchmesser, Wartungslimit 114,3 mm Messer-Einzugswinkel 30° ± 5° Breite der Messerkante 1,0 mm Breitenbereich der Messerkante 0,8 bis 1,27 mm Spindeldurchmesserabschrägung, Wartungslimit 0,25 mm
Hinterschleifen der Spindel
Die neue Spindel hat eine Stegbreite von 0,76 bis 1,27 mm und einen Hinterschliff von 30°.
Wenn die Kante breiter als 3 mm ist, führen Sie folgende Schritte aus:
-
Tragen Sie einen Nachschliff von 30° auf alle Messerspindeln auf, bis die Kante 1,3 mm breit ist (Bild 25.

-
Fräsen Sie die Spindeln, um einen Spindelauslauf von <0,025 mm zu erzielen.
Note: Dies verursacht eine geringe Zunahme der Kante.
-
Stellen Sie die Schneideinheit ein, siehe Bedienungsanleitung der Schneideinheit.
Note: Um die Kante der Spindel und des Untermessers länger scharf zu halten, prüfen Sie nach dem Schleifen der Spindel und/oder des Untermessers nach dem Mähen von sechs Grüns den Kontakt zwischen Spindel und Untermesser erneut, da alle Grate entfernt sind. Grate können zu einem falschen Abstand zwischen Spindel und Untermesser führen; dies beschleunigt die Abnutzung.
Technische Daten für das Schleifen des Untermessers

| Einzugswinkel des Standarduntermessers | 3° Minimum |
| Einzugswinkel des verlängerten Untermessers | 7° Minimum |
| Winkelbereich vorne | 13° bis 17° |
Prüfen der oberen Schleifneigung
Die Neigung, den Sie zum Schleifen der Untermesser verwenden, spielt eine große Rolle.
Prüfen Sie mit dem Neigungsmesser (Toro Bestellnummer 131-6828) und der Neigungsmesserbefestigung (Toro Bestellnummer 131-6829) die von der Schleifmaschine erstellte Neigung und korrigieren Sie dann mögliche Ungenauigkeiten der Schleifmaschine.
-
Positionieren Sie den Neigungsmesser an der Unterseite des Untermessers, wie in Bild 27 abgebildet.

-
Drücken Sie die Taste Alt Zero“ auf dem Neigungsmesser.
-
Legen Sie die Neigungsmesserbefestigung an die Kante des Untermessers, sodass die Kante des Magnets bündig mit der Kante des Untermessers ist (Bild 28).
Note: Die digitale Anzeige sollte in diesem Schritt von der gleichen Seite wie in Schritt 1 sichtbar sein.

-
Legen Sie den Neigungsmesser auf die Befestigung, wie in Bild 28 abgebildet.
Note: Dies ist die Neigung, die die Schleifmaschine erstellt; sie sollte innerhalb von 2 Grad der empfohlenen oberen Schleifneigung sein.
Läppen der Schneideinheit
Verwenden Sie zum Läppen der Mähwerke das Zugangskit Läppeinheit (Modell-Nr. 139-4342); siehe Installationsanweisungen in der Bedienungsanleitung des Kits. Wenden Sie sich an Ihren autorisierten Toro-Vertragshändler, um dieses Kit zu erwerben.


). Es bedeutet Vorsicht,
Warnung oder Gefahr – Hinweise für die Personensicherheit.
Wenn diese Hinweise nicht beachtet werden, kann es zu schweren bis
tödlichen Verletzungen kommen.


