Sem um defletor de relva, cobertura de descarga ou uma estrutura completa do depósito de recolha de relva montados no lugar, o operador e as outras pessoas ficarão expostos ao contacto com a lâmina e aos detritos projetados. O contacto com a(s) lâmina(s) rotativa(s) do cortador e os detritos projetados causarão ferimentos ou até mesmo a morte.
Nunca remova o defletor de relva da plataforma do cortador porque encaminha os materiais para baixo, na direção da relva. Se o defletor de relva se danificar, substitua-o imediatamente.
Nunca coloque as mãos ou pés debaixo da plataforma do cortador.
Nunca tente limpar a área de descarga ou as lâminas do cortador sem colocar o interruptor de controlo das lâminas (PTO) na posição DESLIGAR, rodar a chave da ignição para a posição DESLIGAR e retirar a chave da ignição.
Certifique-se de que o defletor de relva está em baixo.
Estacione a máquina numa superfície nivelada.
Mova as alavancas de controlo do movimento para a posição de BLOQUEIO EM PONTO MORTO.
Engate o travão de estacionamento.
Desligue o motor e retire a chave.
Limpe cuidadosamente a plataforma do cortador. Retire todos os detritos para assegurar que os abafadores se irão ajustar devidamente.
Repare todas as áreas dobradas ou danificadas da plataforma do cortador e substitua as peças que faltam.
As lâminas são afiadas. O contacto com uma lâmina afiada pode provocar ferimentos pessoais graves.
Utilize luvas ou embrulhe as extremidades afiadas da lâmina com um trapo.
Consulte o Manual do utilizador para obter as instruções sobre como remover as lâminas.
As lâminas do reciclador são vendidas separadamente. Contacte o seu serviço de assistência autorizado.
Retire as porcas flangeadas que seguram o abafador no lugar (Figura 1).
Retire os parafusos que seguram o abafador no lugar (Figura 1).
Retire o abafador e substitua as porcas e os parafusos nos orifícios para o abafador (Figura 1).
Retire as ferragens, como se mostra na Figura 1. Guarde as ferragens.
Note: Guarde o abafador e as ferragens para utilizar quando alterar para o modo de descarga lateral.

Peças necessárias para este passo:
| Placa de descarga | 1 |
| Parafuso de carroçaria (5/16 pol. x ⅞ pol.) | 1 |
| Porca flangeada (5/16 pol.) | 1 |
| Porca flangeada (⅜ pol.) | 2 |
| Parafuso de carroçaria (⅜ pol. x 1 pol.) | 2 |
Instale a placa de descarga no exterior do suporte de montagem com 2 parafusos de carroçaria (⅜ pol. x 1-¼ pol.) e 2 porcas flangeadas (flange pequena) (⅜ pol.), como se mostra na (Figura 2).
Instale o separador no interior do cortador com 1 parafuso de carroçaria (5/16 pol. x 7/8 pol.) e 1 porca flangeada (5/16 pol.), como se mostra na Figura 2.

Peças necessárias para este passo:
| Abafador esquerdo | 1 |
| Abafador central | 1 |
| Abafador direito | 1 |
| Porca flangeada (⅜ pol.) | 9 |
| Parafuso de carroçaria (⅜ x 1 pol.) | 9 |
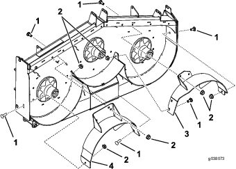
Note: Instale todos os abafadores sem apertar para os alinhar com os orifícios no cortador (Figura 3).
Posicione o abafador direito na plataforma do cortador.
Instale sem apertar o abafador direito na plataforma de descarga com 1 parafuso de carroçaria (⅜ pol. x 1 pol.) e uma porca flangeada (⅜ pol.), como se mostra na (Figura 3).
Instale sem apertar o abafador direito na parte superior da plataforma do cortador com 1 parafuso de carroçaria (⅜ pol. x 1 pol.) e uma porca flangeada (⅜ pol.), como se mostra na (Figura 3). Consulte Figura 4 e Figura 5 para determinar os orifícios corretos a utilizar.
Instale sem apertar o abafador direito na plataforma do cortador com 1 parafuso de carroçaria (⅜ pol. x 1 pol.) e uma porca flangeada (⅜ pol.), como se mostra na (Figura 3).
Posicione o abafador esquerdo na plataforma do cortador.
Instale sem apertar o abafador esquerdo na parte superior da plataforma do cortador com 1 parafuso (⅜ pol. x 1 pol.) e uma porca flangeada (⅜ pol.), como se mostra na (Figura 3). Consulte Figura 4 e Figura 5 para determinar os orifícios corretos a utilizar.
Instale sem apertar o abafador esquerdo na plataforma do cortador com 1 parafuso de carroçaria (⅜ pol. x 1 pol.) e uma porca flangeada (⅜ pol.), como se mostra na (Figura 3).
Instale sem apertar o abafador esquerdo no lado da plataforma do cortador com 1 parafuso de carroçaria (⅜ pol. x 1 pol.) e uma porca flangeada (⅜ pol.), como se mostra na (Figura 3).



Posicione o abafador central na plataforma do cortador.
Instale sem apertar o abafador central no abafador esquerdo com 1 parafuso de carroçaria (⅜ pol. x 1 pol.) e uma porca flangeada (⅜ pol.), como se mostra na Figura 6. Consulte Figura 4 e Figura 5 para determinar os orifícios corretos a utilizar.
Instale sem apertar o abafador central no abafador direito com 1 parafuso de carroçaria (⅜ pol. x 1 pol.) e uma porca flangeada (⅜ pol.), como se mostra na Figura 6.
Instale sem apertar o abafador central na parte superior da plataforma do cortador com 1 parafuso (⅜ pol. x 1 pol.) e uma porca flangeada (⅜ pol.), como se mostra na Figura 6. Consulte Figura 4 e Figura 5 para determinar os orifícios corretos a utilizar.

Peças necessárias para este passo:
| Abafador esquerdo | 1 |
| Abafador central | 1 |
| Abafador direito | 1 |
| Porca flangeada (⅜ pol.) | 9 |
| Parafuso de carroçaria (⅜ x 1 pol.) | 9 |
Note: Instale todos os abafadores sem apertar para os alinhar com os orifícios no cortador (Figura 7).
Posicione o abafador direito no cortador.
Instale sem apertar o abafador direito na plataforma de descarga com 1 parafuso de carroçaria (⅜ pol. x 1 pol.) e 1 porca flangeada (⅜ pol.), como se mostra na Figura 7.
Instale sem apertar o abafador direito na parte superior da plataforma do cortador com 1 parafuso de carroçaria (⅜ pol. x 1 pol.) e uma porca flangeada (⅜ pol.). Consulte Figura 7 e Figura 8.
Instale sem apertar o abafador direito na plataforma do cortador com 1 parafuso de carroçaria (⅜ pol. x 1 pol.) e uma porca flangeada (⅜ pol.), como se mostra na (Figura 7).
Posicione o abafador esquerdo no cortador.
Instale sem apertar o abafador esquerdo na parte superior da plataforma do cortador com 1 parafuso (⅜ pol. x 1 pol.) e uma porca flangeada (⅜ pol.), como se mostra na (Figura 7).
Instale sem apertar o abafador esquerdo na plataforma do cortador com 1 parafuso de carroçaria (⅜ pol. x 1 pol.) e 1 porca flangeada (⅜ pol.), como se mostra na Figura 7.
Instale sem apertar o abafador esquerdo no lado da plataforma do cortador com 1 parafuso de carroçaria (⅜ pol. x 1 pol.) e uma porca flangeada (⅜ pol.), como se mostra na (Figura 7).


Posicione o abafador central no cortador.
Instale sem apertar o abafador central no abafador esquerdo com 1 parafuso de carroçaria (⅜ pol. x 1 pol.) e uma porca flangeada (⅜ pol.), como se mostra na Figura 9.
Instale sem apertar o abafador central no abafador direito com 1 parafuso de carroçaria (⅜ pol. x 1 pol.) e uma porca flangeada (⅜ pol.), como se mostra na Figura 9.
Instale sem apertar o abafador central na parte superior da plataforma do cortador com 1 parafuso (⅜ pol. x 1 pol.) e uma porca flangeada (⅜ pol.), como se mostra na Figura 8 e Figura 9.

As lâminas são afiadas. O contacto com uma lâmina afiada pode provocar ferimentos pessoais graves.
Utilize luvas ou embrulhe as extremidades afiadas da lâmina com um trapo.
Consulte o Manual do utilizador para obter as instruções sobre como instalar as lâminas.
As lâminas do reciclador são vendidas separadamente. Contacte o seu serviço de assistência autorizado.
Retire cerca de 25 mm ou não exceda 1/3 das folhas da relva ao cortar. Em relva excecionalmente viçosa e densa, poderá ter de elevar a altura de corte ou converter para descarga lateral ou recolha.
É necessário ar para cortar e voltar a cortar as aparas de relva na caixa do cortador, pelo que não deve regular a altura de corte muito baixa nem rodear a caixa com relva não cortada. Tente sempre ter um lado da caixa do cortador livre de relva por cortar. Isto permite ao ar circular para a caixa do cortador. Ao fazer um corte inicial através do centro de uma área não cortada, opere a máquina devagar e recue se o cortador começar a entupir.
O crescimento da relva varia conforme a estação. Para manter a mesma altura de corte, corte mais frequentemente no início da primavera. À medida que o crescimento da relva diminui a meio do Verão, corte menos frequentemente. Se não conseguir cortar durante um longo período, corte primeiro a uma altura de corte elevada e, em seguida, corte novamente 2 dias depois a uma regulação mais baixa.
Uma lâmina afiada corte de forma limpa sem rasgar nem estragar a relva. Uma lâmina romba rasga e estraga a relva. Quando se rasga ou danifica a relva, esta fica castanha nas extremidades, cresce irregularmente e torna-se mais suscetível a doenças.
Para garantir o máximo desempenho da máquina, limpe a parte inferior da caixa da unidade de corte após cada utilização. Se permitir a acumulação de resíduos na caixa da unidade de corte da máquina, diminui o desempenho de corte.