Se il deflettore di sfalcio, il coperchio dello scarico o il cesto di raccolta completo non sono montati, voi ed altre persone correte il rischio di venire a contatto con la lama e con oggetti scagliati dal tosaerba. Il contatto con le lame rotanti e con i detriti scagliati può provocare gravi infortuni o la morte.
Non rimuovete mai il deflettore dello sfalcio dal piatto di taglio perché il deflettore dello sfalcio indirizza il materiale verso il tappeto erboso. Nel caso in cui sia danneggiato, sostituite immediatamente il deflettore.
Non infilate mai le mani o i piedi sotto la scocca del tosaerba.
Non provate mai a pulire l'area di scarico o le lame del tosaerba a meno che non abbiate spostato l'interruttore di comando delle lame (PDF) in posizione di SPEGNIMENTO, ruotato l'interruttore a chiave in posizione di SPEGNIMENTO e rimosso la chiave dal relativo interruttore.
Accertatevi che il deflettore di sfalcio sia abbassato.
Parcheggiate la macchina su terreno pianeggiante.
Spostate le leve di controllo del movimento in posizione di BLOCCO IN FOLLE.
Inserite il freno di stazionamento.
Spegnete il motore e togliete la chiave.
Pulite accuratamente il piatto di taglio. Rimuovete tutti i detriti per assicurarvi che i deflettori si inseriscano correttamente.
Riparate tutte le sezioni piegate o danneggiate del piatto di taglio, e sostituite le parti smarrite.
Le lame sono affilate. Il contatto con una lama affilata può causare gravi ferite.
Indossate guanti o avvolgete i bordi della lama con un panno.
Per la rimozione delle lame fate riferimento al Manuale dell'operatore.
Le lame del Recycler vengono vendute separatamente. Rivolgetevi al vostro Centro Assistenza autorizzato.
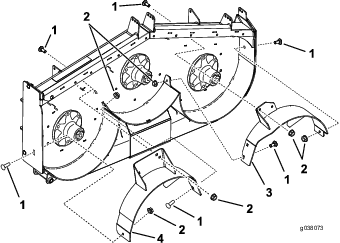
Rimuovete i dadi flangiati che fissano il deflettore in posizione (Figura 1).
Rimuovete i bulloni che fissano il deflettore in posizione (Figura 1).
Rimuovete il deflettore e riposizionate i dadi e bulloni nei fori del deflettore (Figura 1).
Rimuovete la bulloneria come illustrato nella Figura 1. Conservate la bulloneria.
Note: Conservate il deflettore e la bulloneria per l'uso quando effettuate la conversione alla modalità di scarico laterale.

Parti necessarie per questa operazione:
| Piastra di scarico | 1 |
| Bullone a testa tonda (5/16" x ⅞") | 1 |
| Dado flangiato (5/16") | 1 |
| Dado flangiato (⅜") | 2 |
| Bullone a testa tonda (⅜" x 1") | 2 |
Montate la piastra di scarico sul lato esterno della staffa di montaggio con 2 bulloni a testa tonda (⅜" x 1¼") e 2 dadi flangiati (flangia piccola) (⅜") come illustrato nella Figura 2.
Montate l'aletta sul lato interno del piatto di taglio con 1 bullone a testa tonda (5/16" x ⅞") e 1 dado flangiato (5/16") come illustrato nella Figura 2.

Parti necessarie per questa operazione:
| Deflettore sinistro | 1 |
| Deflettore centrale | 1 |
| Deflettore destro | 1 |
| Dado flangiato (⅜") | 9 |
| Bullone a testa tonda (⅜" x 1") | 9 |
Note: Montate, senza serrarli, i deflettori per allinearli con tutti i fori del piatto di taglio (Figura 3).
Posizionate il deflettore destro nel piatto di taglio.
Montate, senza serrarlo, il deflettore destro sulla piastra di scarico con 1 bullone a testa tonda (⅜" x 1") e un dado flangiato (⅜") come illustrato nella Figura 3.
Montate, senza serrarlo, il deflettore destro sulla parte superiore del piatto di taglio con 1 bullone a testa tonda (⅜" x 1") e 1 dado flangiato (3/8") come illustrato nella Figura 3. Fate riferimento a Figura 4 e Figura 5 per i fori corretti da utilizzare.
Montate, senza serrarlo, il deflettore destro sul piatto di taglio con 1 bullone a testa tonda (⅜" x 1") e 1 dado flangiato (3/8") come illustrato nella Figura 3.
Posizionate il deflettore sinistro nel piatto di taglio.
Montate, senza serrarlo, il deflettore sinistro sulla parte superiore del piatto di taglio con 1 bullone (⅜" x 1") e 1 dado flangiato (⅜") come illustrato nella Figura 3. Fate riferimento a Figura 4 e Figura 5 per i fori corretti da utilizzare.
Montate, senza serrarlo, il deflettore sinistro sul piatto di taglio con 1 bullone a testa tonda (⅜" x 1") e 1 dado flangiato (⅜") come illustrato nella Figura 3.
Montate, senza serrarlo, il deflettore sinistro sulla parte laterale del piatto di taglio con 1 bullone a testa tonda (⅜" x 1") e 1 dado flangiato (⅜") come illustrato nella Figura 3.



Posizionate il deflettore centrale nel piatto di taglio.
Montate, senza serrarlo, il deflettore centrale sul deflettore sinistro con 1 bullone a testa tonda (⅜" x 1") e 1 dado flangiato (⅜") come illustrato nella Figura 6. Fate riferimento a Figura 4 e Figura 5 per i fori corretti da utilizzare.
Montate, senza serrarlo, il deflettore centrale sul deflettore destro con 1 bullone a testa tonda (⅜" x 1") e 1 dado flangiato (⅜") come illustrato nella Figura 6.
Montate, senza serrarlo, il deflettore centrale sulla parte superiore del piatto di taglio con 1 bullone (⅜" x 1") e 1 dado flangiato (⅜") come illustrato nella Figura 6. Fate riferimento a Figura 4 e Figura 5 per i fori corretti da utilizzare.

Parti necessarie per questa operazione:
| Deflettore sinistro | 1 |
| Deflettore centrale | 1 |
| Deflettore destro | 1 |
| Dado flangiato (⅜") | 9 |
| Bullone a testa tonda (⅜" x 1") | 9 |
Note: Montate, senza serrarli, i deflettori per allinearli con tutti i fori del tosaerba (Figura 7).
Posizionate il deflettore destro nel tosaerba.
Montate, senza serrarlo, il deflettore destro sulla piastra di scarico con 1 bullone a testa tonda (⅜" x 1") e 1 dado flangiato (⅜") come illustrato nella Figura 7.
Montate, senza serrarlo, il deflettore destro sulla parte superiore del piatto di taglio con 1 bullone a testa tonda (⅜" x 1") e 1 dado flangiato (⅜"). Vedere Figura 7 e Figura 8.
Montate, senza serrarlo, il deflettore destro sul piatto di taglio con 1 bullone a testa tonda (⅜" x 1") e 1 dado flangiato (⅜") come illustrato nella Figura 7.
Posizionate il deflettore sinistro nel tosaerba.
Montate, senza serrarlo, il deflettore sinistro sulla parte superiore del piatto di taglio con 1 bullone (3/8" x 1") e 1 dado flangiato (3/8") come illustrato nella Figura 7.
Montate, senza serrarlo, il deflettore sinistro sul piatto di taglio con 1 bullone a testa tonda (⅜" x 1") e 1 dado flangiato (⅜") come illustrato nella Figura 7.
Montate, senza serrarlo, il deflettore sinistro sulla parte laterale del piatto di taglio con 1 bullone a testa tonda (⅜" x 1") e 1 dado flangiato (⅜") come illustrato nella Figura 7.


Posizionate il deflettore centrale nel tosaerba.
Montate, senza serrarlo, il deflettore centrale sul deflettore sinistro con 1 bullone a testa tonda (⅜" x 1") e 1 dado flangiato (⅜") come illustrato nella Figura 9.
Montate, senza serrarlo, il deflettore centrale sul deflettore destro con 1 bullone a testa tonda (⅜" x 1") e 1 dado flangiato (⅜") come illustrato nella Figura 9.
Montate, senza serrarlo, il deflettore centrale sulla parte superiore del piatto di taglio con 1 bullone (⅜" x 1") e 1 dado flangiato (⅜") come illustrato nella Figura 8 e nella Figura 9.

Le lame sono affilate. Il contatto con una lama affilata può causare gravi ferite.
Indossate guanti o avvolgete i bordi della lama con un panno.
Per informazioni sull'installazione delle lame fate riferimento al Manuale dell'operatore.
Le lame del Recycler vengono vendute separatamente. Rivolgetevi al vostro Centro Assistenza autorizzato.
Falciate circa 25 mm, o comunque non più di un terzo del filo d'erba. In caso di erba eccezionalmente rigogliosa e fitta, potrebbe essere necessario alzare l'impostazione dell'altezza di taglio o effettuare la conversione allo scarico laterale o al sistema di raccolta.
Per tagliare e sminuzzare lo sfalcio nell'alloggiamento del tosaerba è necessaria l'aria, quindi non impostate l'altezza di taglio a un livello troppo basso e non circondate l'alloggiamento di erba non tagliata. Cercate sempre di avere un lato dell'alloggiamento del tosaerba libero da erba non tagliata, permettendo all'aria di essere aspirata all'interno dell'alloggiamento. Rallentate durante la falciatura iniziale al centro di una zona d'erba non tagliata, e fate marcia indietro se il tosaerba inizia a intasarsi.
L'erba cresce a ritmi diversi in momenti diversi dell'anno. Per mantenere la stessa altezza di taglio, tosate più spesso all'inizio della primavera. Poiché a mezza estate il ritmo di crescita dell'erba rallenta, tagliate l'erba meno di frequente. Qualora l'erba non sia stata tagliata per un periodo prolungato, tagliatela prima a un'altezza di taglio elevata, e di nuovo 2 giorni dopo, riducendo gradualmente l'altezza di taglio.
La lama affilata falcia con precisione, senza strappare o tagliuzzare i fili dell'erba. Una lama smussata strappa e lacera l'erba. Strappi e lacerazioni fanno sì che l'erba diventi marrone attorno ai bordi, il che ne disturba la crescita e aumenta l'esposizione alle malattie.
Per assicurare le migliori prestazioni, pulite il sottoscocca del tosaerba ogni volta che finite di usarlo. Se i residui si accumulano nella scocca, le prestazioni di taglio saranno ridotte.