Hvis ikke gressavlederen, utslippsdekselet eller hele gressoppsamleren sitter på plass, vil du selv eller andre risikere å komme i kontakt med kniven eller gjenstander som blir slengt opp i luften. Kontakt med gressklipperkniver som roterer og gjenstander som slynges opp i luften, kan føre til at noen blir alvorlig skadet eller drept.
Fjern aldri gressavlederen fra klippeenheten fordi gressavlederen leder materiale ned mot bakken. Hvis gressavlederen blir skadet, må den skiftes ut omgående.
Hold hender og føtter borte fra undersiden av gressklipperenheten.
Prøv aldri å rengjøre utslippsområdet eller gressklipperknivene uten at du flytter knivkontrollbryteren (kraftuttaket) til AV-stillingen, vrir tenningsnøkkelen til AV-stillingen og tar ut nøkkelen.
Påse at gressavlederen er i den nedre stillingen.
Parker maskinen på en jevn flate.
Flytt bevegelseskontrollspakene til den NøYTRALE LåSESTILLINGEN.
Sett på parkeringsbremsen.
Slå av motoren og ta ut nøkkelen.
Rengjør klippeenheten grundig. Fjern alt rusk for å sikre at skjermene passer ordentlig.
Reparer alle bøyde eller skadde områder av klippeenheten og erstatt eventuelle deler som mangler.
Knivene er skarpe. Hvis du kommer i kontakt med et skarpt blad, kan du bli alvorlig skadet.
Bruk hansker, eller legg en fille rundt de skarpe kantene på kniven.
Se brukerhåndboken for instruksjoner om hvordan du fjerner knivene.
Resirkuleringsknivene selges separat. Ta kontakt med en autorisert serviceforhandler.
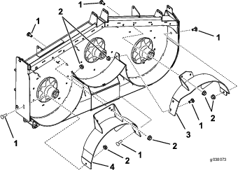
Fjern flensmutterne som holder skjermen på plass (Figur 1).
Fjern boltene som holder skjermen på plass (Figur 1).
Fjern skjermen og skift ut mutterne og boltene i hullene til skjermen (Figur 1).
Fjern monteringsdelene som vist i Figur 1. Behold delene.
Note: Ta vare på skjermen og monteringsdelene for å bruke dem når du skifter til sideutslippsmodus.

Deler som er nødvendige for dette trinnet:
| Utslippsplate | 1 |
| Låsebolt (5/16 x ⅞ tomme) | 1 |
| Flensmutter (5/16 tomme) | 1 |
| Flensmutter (⅜ tomme) | 2 |
| Låsebolt (⅜ x 1 tomme) | 2 |
Deler som er nødvendige for dette trinnet:
| Venstre skjerm | 1 |
| Midtre skjerm | 1 |
| Høyre skjerm | 1 |
| Flensmutter (⅜ tomme) | 9 |
| Låsebolt (⅜ x 1 tomme) | 9 |
Note: Monter skjermene løst for å rette dem inn med alle hullene i klippeenheten (Figur 3).
Plasser den høyre skjermen på klippeenheten.
Monter den høyre skjermen løst på utslippsplaten med én låsebolt (⅜ x 1 tomme) og én flensmutter (⅜ tomme) som vist i Figur 3.
Monter den høyre skjermen løst på toppen av klippeenheten med én låsebolt (⅜ x 1 tomme) og én flensmutter (⅜ tomme) som vist i Figur 3. Se Figur 4 og Figur 5 for de korrekte hullene som skal brukes.
Monter den høyre skjermen løst på klippeenheten med én låsebolt (⅜ x 1 tomme) og én flensmutter (⅜ tomme) som vist i Figur 3.
Plasser den venstre skjermen på klippeenheten.
Monter den venstre skjermen løst på toppen av klippeenheten med én bolt (⅜ x 1 tomme) og én flensmutter (⅜ tomme) som vist i Figur 3. Se Figur 4 og Figur 5 for de korrekte hullene som skal brukes.
Monter den venstre skjermen løst på klippeenheten med én låsebolt (⅜ x 1 tomme) og én flensmutter (⅜ tomme) som vist i Figur 3.
Monter den venstre skjermen løst på siden av klippeenheten med én låsebolt (⅜ x 1 tomme) og én flensmutter (⅜ tomme) som vist i Figur 3.



Plasser den midtre skjermen på klippeenheten.
Monter den midtre skjermen løst på den venstre skjermen med én låsebolt (⅜ x 1 tomme) og én flensmutter (⅜ tomme) som vist i Figur 6. Se Figur 4 og Figur 5 for de korrekte hullene som skal brukes.
Monter den midtre skjermen løst på den høyre skjermen med én låsebolt (⅜ x 1 tomme) og én flensmutter (⅜ tomme) som vist i Figur 6.
Monter den midtre skjermen løst på toppen av klippeenheten med én bolt (⅜ x 1 tomme) og én flensmutter (⅜ tomme) som vist i Figur 6. Se Figur 4 og Figur 5 for de korrekte hullene som skal brukes.

Deler som er nødvendige for dette trinnet:
| Venstre skjerm | 1 |
| Midtre skjerm | 1 |
| Høyre skjerm | 1 |
| Flensmutter (⅜ tomme) | 9 |
| Låsebolt (⅜ x 1 tomme) | 9 |
Note: Monter skjermene løst for å rette dem inn med alle hullene i klippeenheten (Figur 7).
Plasser den høyre skjermen på klippeenheten.
Monter den høyre skjermen løst på utslippsplaten med én låsebolt (⅜ x 1 tomme) og én flensmutter (⅜ tomme) som vist i Figur 7.
Monter den høyre skjermen løst på toppen av klippeenheten med én låsebolt (⅜ x 1 tomme) og én flensmutter (⅜ tomme). Se Figur 7 og Figur 8.
Monter den høyre skjermen løst på klippeenheten med én låsebolt (⅜ x 1 tomme) og én flensmutter (⅜ tomme) som vist i Figur 7.
Plasser den venstre skjermen på klippeenheten.
Monter den venstre skjermen løst på toppen av klippeenheten med én bolt (⅜ x 1 tomme) og én flensmutter (⅜ tomme) som vist i Figur 7.
Monter den venstre skjermen løst på klippeenheten med én låsebolt (⅜ x 1 tomme) og én flensmutter (⅜ tomme) som vist i Figur 7.
Monter den venstre skjermen løst på siden av klippeenheten med én låsebolt (⅜ x 1 tomme) og én flensmutter (⅜ tomme) som vist i Figur 7.


Plasser den midtre skjermen på klippeenheten.
Monter den midtre skjermen løst på den venstre skjermen med én låsebolt (⅜ x 1 tomme) og én flensmutter (⅜ tomme) som vist i Figur 9.
Monter den midtre skjermen løst på den høyre skjermen med én låsebolt (⅜ x 1 tomme) og én flensmutter (⅜ tomme) som vist i Figur 9.
Monter den midtre skjermen løst på toppen av klippeenheten med én bolt (⅜ x 1 tomme) og én flensmutter (⅜ tomme) som vist i Figur 8 og Figur 9.

Knivene er skarpe. Hvis du kommer i kontakt med et skarpt blad, kan du bli alvorlig skadet.
Bruk hansker, eller legg en fille rundt de skarpe kantene på kniven.
Se brukerhåndboken for instruksjoner om hvordan du monterer knivene.
Resirkuleringsknivene selges separat. Ta kontakt med en autorisert serviceforhandler.
Klipp omtrent 25 mm eller ikke mer enn en tredjedel av gresstrået når du klipper. I svært frodig og tett gress kan det hende at du må heve klippehøyden eller skifte til sideutslipp eller oppsamling.
Luft er nødvendig for å klippe og klippe restene på nytt i gressklipperhuset, så ikke still klippehøyden for lavt, og klippeenheten skal heller ikke være omgitt av uklippet gress. Prøv alltid å holde den ene siden av gressklipperhuset unna uklippet gress, slik at luften kan trekkes inn i gressklipperhuset. Når du foretar den innledende klippingen i midten av et uklippet område, må du kjøre maskinen saktere og rygge hvis klippeenheten blir tilstoppet.
Gress vokser med varierende hastighet til forskjellige tider på året. For å opprettholde samme klippehøyde, må du klippe gresset oftere tidlig på våren. Midt på sommeren begynner det å vokse saktere, derfor trenger du ikke å klippe det så ofte da. Hvis du er ute av stand til å klippe plenen i en lengre periode, klipper du først med en høy klippehøyde. Vent i 2 dager, og klipp deretter på nytt med en lavere høyde.
En skarp kniv lager et jevnere kutt uten å rive eller trevle opp gresset. En sløv kniv river eller trevler opp gresset. Riving og trevling fører til at gresset blir brunt på tuppene. Dette går ut over veksten til gresset og gjør det mer utsatt for sykdommer.
For å sørge for optimal ytelse rengjør du undersiden av gressklipperhuset etter hver bruk. Hvis klipperester hoper seg opp i gressklipperhuset, reduseres klippeytelsen til gressklipperen.