Si la máquina no tiene correctamente montado un deflector de hierba, una tapa de descarga o un recogedor completo, usted y otras personas están expuestos a contacto con las cuchillas y a residuos lanzados al aire. El contacto con las cuchillas de corte en rotación o con los residuos lanzados al aire causará lesiones o la muerte.
No retire nunca el deflector de hierba de la carcasa de corte porque el deflector de hierba dirige el material hacia abajo, al césped. Si el deflector de hierba se deteriora alguna vez, sustitúyalo inmediatamente.
No coloque nunca las manos o los pies debajo de la carcasa de corte.
No intente nunca despejar la zona de descarga o las cuchillas del cortacésped sin antes mover el mando de control de las cuchillas (TDF) a la posición de DESENGRANADO, girar la llave de contacto a DESCONECTADO y retirar la llave del interruptor de encendido.
Compruebe que el deflector de hierba está bajado.
Aparque la máquina en una superficie nivelada.
Mueva las palancas de control de movimiento a la posición de BLOQUEO/PUNTO MUERTO.
Accione el freno de estacionamiento.
Apague el motor y retire la llave.
Limpie a fondo la carcasa de corte. Retire cualquier residuo para asegurar que los deflectores se acoplen correctamente.
Repare cualquier zona doblada o dañada de la carcasa de corte y reponga cualquier pieza que falte.
Las cuchillas están afiladas. El contacto con una cuchilla afilada puede causar graves lesiones personales.
Lleve guantes, o envuelva los bordes cortantes de la cuchilla con un trapo.
Consulte en el Manual del operador las instrucciones para la retirada de las cuchillas.
Las cuchillas de reciclado se venden por separado. Póngase en contacto con su Servicio Técnico Autorizado.
Retire las tuercas con arandela prensada que sujetan el deflector en su sitio (Figura 1).
Retire los pernos que sujetan el deflector en su sitio (Figura 1).
Retire el deflector y vuelva a colocar los pernos y las tuercas en los taladros del deflector (Figura 1).
Retire las fijaciones según se indica en Figura 1. Guarde las fijaciones.
Note: Guarde el deflector y las fijaciones para usarlos al cambiar al modo de descarga lateral.

Piezas necesarias en este paso:
| Placa de descarga | 1 |
| Perno de cuello cuadrado (5/16" x ⅞") | 1 |
| Tuerca con arandela prensada (5/16") | 1 |
| Tuerca con arandela prensada (⅜") | 2 |
| Perno de cuello cuadrado (⅜" x 1") | 2 |
Instale la placa de descarga en el exterior del soporte de montaje con 2 pernos (3/8" x 1¼") y 2 tuercas con arandela prensada (arandela pequeña) (3/8"), según se muestra en la Figura 2.
Instale la pestaña en el interior de la carcasa de corte con 1 perno de cuello cuadrado (5/16" x 7/8") y 1 tuerca con arandela prensada (5/16") según se muestra en la Figura 2.

Piezas necesarias en este paso:
| Deflector izquierdo | 1 |
| Deflector central | 1 |
| Deflector derecho | 1 |
| Tuerca con arandela prensada (3/8") | 9 |
| Perno de cuello cuadrado (3/8" x 1") | 9 |
Note: Instale provisionalmente los deflectores alineándolos con todos los taladros de la carcasa de corte (Figura 3).
Coloque el deflector derecho dentro de la carcasa de corte.
Sujete provisionalmente el deflector derecho a la placa de descarga con 1 perno de cuello cuadrado (3/8" x 1") y una tuerca con arandela prensada (3/8"), según se muestra en la Figura 3.
Sujete provisionalmente el deflector derecho a la parte superior de la carcasa de corte con 1 perno de cuello cuadrado (3/8" x 1") y una tuerca con arandela prensada (3/8"), según se muestra en la Figura 3. Consulte en Figura 4 y Figura 5 los taladros correctos a utilizar.
Sujete provisionalmente el deflector derecho a la carcasa de corte con 1 perno de cuello cuadrado (3/8" x 1") y una tuerca con arandela prensada (3/8"), según se muestra en la Figura 3.
Coloque el deflector izquierdo dentro de la carcasa de corte.
Sujete provisionalmente el deflector izquierdo a la parte superior de la carcasa de corte con 1 perno (3/8" x 1") y una tuerca con arandela prensada (3/8"), según se muestra en la Figura 3. Consulte en Figura 4 y Figura 5 los taladros correctos a utilizar.
Sujete provisionalmente el deflector izquierdo a la carcasa de corte con 1 perno de cuello cuadrado (3/8" x 1") y una tuerca con arandela prensada (3/8"), según se muestra en la Figura 3.
Sujete provisionalmente el deflector izquierdo al lateral de la carcasa de corte con 1 perno de cuello cuadrado (3/8" x 1") y una tuerca con arandela prensada (3/8"), según se muestra en la Figura 3.



Coloque el deflector central dentro de la carcasa de corte.
Sujete provisionalmente el deflector central al deflector izquierdo con 1 perno de cuello cuadrado (3/8" x 1") y una tuerca con arandela prensada (3/8"), según se muestra en la Figura 6. Consulte en Figura 4 y Figura 5 los taladros correctos a utilizar.
Sujete provisionalmente el deflector central al deflector derecho con 1 perno de cuello cuadrado (3/8" x 1") y una tuerca con arandela prensada (3/8"), según se muestra en la Figura 6.
Sujete provisionalmente el deflector central a la parte superior de la carcasa de corte con 1 perno (3/8" x 1") y una tuerca con arandela prensada (3/8"), según se muestra en la Figura 6. Consulte en Figura 4 y Figura 5 los taladros correctos a utilizar.

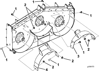
Piezas necesarias en este paso:
| Deflector izquierdo | 1 |
| Deflector central | 1 |
| Deflector derecho | 1 |
| Tuerca con arandela prensada (3/8") | 9 |
| Perno de cuello cuadrado (3/8" x 1") | 9 |
Note: Instale provisionalmente los deflectores alineándolos con todos los taladros del cortacésped (Figura 7).
Coloque el deflector derecho dentro del cortacésped.
Sujete provisionalmente el deflector derecho a la placa de descarga con 1 perno de cuello cuadrado (3/8" x 1") y una tuerca con arandela prensada (3/8"), según se muestra en la Figura 7.
Sujete provisionalmente el deflector derecho a la parte superior de la carcasa de corte con 1 perno de cuello cuadrado (3/8" x 1") y una tuerca con arandela prensada (3/8"). Consulte Figura 7 y Figura 8.
Sujete provisionalmente el deflector derecho a la carcasa de corte con 1 perno de cuello cuadrado (3/8" x 1") y una tuerca con arandela prensada (3/8"), según se muestra en la Figura 7.
Coloque el deflector izquierdo dentro del cortacésped.
Sujete provisionalmente el deflector izquierdo a la parte superior de la carcasa de corte con 1 perno (3/8" x 1") y una tuerca con arandela prensada (3/8"), según se muestra en la Figura 7.
Sujete provisionalmente el deflector izquierdo a la carcasa de corte con 1 perno de cuello cuadrado (3/8" x 1") y 1 tuerca con arandela prensada (3/8"), según se muestra en la Figura 7.
Sujete provisionalmente el deflector izquierdo al lateral de la carcasa de corte con 1 perno de cuello cuadrado (3/8" x 1") y una tuerca con arandela prensada (3/8"), según se muestra en la Figura 7.


Coloque el deflector central en la carcasa.
Sujete provisionalmente el deflector central al deflector izquierdo con 1 perno de cuello cuadrado (3/8" x 1") y una tuerca con arandela prensada (3/8"), según se muestra en la Figura 9.
Sujete provisionalmente el deflector central al deflector derecho con 1 perno de cuello cuadrado (3/8" x 1") y una tuerca con arandela prensada (3/8"), según se muestra en la Figura 9.
Sujete provisionalmente el deflector central a la parte superior de la carcasa de corte con 1 perno (3/8" x 1") y una tuerca con arandela prensada (3/8"), según se muestra en la Figura 8 y Figura 9.

Las cuchillas están afiladas. El contacto con una cuchilla afilada puede causar graves lesiones personales.
Lleve guantes, o envuelva los bordes cortantes de la cuchilla con un trapo.
Consulte en el Manual del operador las instrucciones para la instalación de las cuchillas.
Las cuchillas de reciclado se venden por separado. Póngase en contacto con su Servicio Técnico Autorizado.
Corte aproximadamente 25 mm, o no más de un tercio, de la hoja de hierba. Si la hierba es excepcionalmente densa y frondosa, puede ser necesario aumentar la altura de corte o segar en modo de descarga lateral o ensacado.
Se requiere aire para picar bien la hierba dentro de la carcasa de corte, así que no ponga la altura de corte demasiado baja ni rodee la carcasa de hierba sin cortar. Trate siempre de tener un lado de la carcasa de corte libre de hierba sin cortar, para permitir la entrada de aire en el mismo. Al hacer el primer corte por el centro de una zona sin cortar, vaya más despacio y retroceda si la máquina empieza a atascarse.
La hierba crece a velocidades distintas según la estación del año. Para mantener la misma altura de corte, siegue con más frecuencia a principios de la primavera. A medida que avanza el verano, la velocidad de crecimiento de la hierba decrece, por ello debe cortarse con menor frecuencia. Si no puede segar durante un período de tiempo prolongado, siegue primero con una altura de corte alta y, después de dos días, vuelva a segar con un ajuste más bajo.
Una cuchilla afilada corta limpiamente sin desgarrar o deshilachar la hierba. Una cuchilla roma desgarra y deshilacha la hierba. Si se rasgan o se deshilachan, los bordes de las hojas se secarán, y se retardará su crecimiento y se favorecerá la aparición de enfermedades.
Para asegurar el mejor rendimiento, limpie los bajos de la carcasa de corte después de cada uso. Si se acumulan residuos dentro de la carcasa de corte, se reduce el rendimiento de corte.