Wenn ein Ablenkblech, eine Auswurfkanalabdeckung oder ein Fangsystem nicht montiert sind, sind der Bediener und Unbeteiligte der Gefahr eines Kontakts mit dem Messer und ausgeschleuderten Gegenständen ausgesetzt. Kontakt mit dem drehenden Mähmesser oder ausgeschleuderten Gegenständen führt zu Verletzungen (möglicherweise tödlichen Verletzungen).
Entfernen Sie nie das Ablenkblech vom Mähwerk, da das Ablenkblech Material nach unten auf die Grünfläche lenkt. Wechseln Sie das Ablenkblech sofort aus, wenn es beschädigt ist.
Stecken Sie nie Hände oder Füße unter das Mähwerk.
Versuchen Sie nie, den Auswurfbereich oder die Schnittmesser zu räumen, ohne den Zapfwellenantriebsschalter in die AUS-Stellung zu schieben, das Zündschloss in die AUS-Stellung zu drehen und den Schlüssel aus dem Zündschloss zu ziehen.
Stellen Sie sicher, dass das Ablenkblech nach unten abgesenkt ist.
Parken Sie die Maschine auf einer ebenen Fläche.
Schieben Sie die Fahrantriebshebel in die ARRETIERTEN NEUTRAL-Stellung.
Aktivieren Sie die Feststellbremse.
Stellen Sie den Motor ab und ziehen Sie den Schlüssel ab.
Reinigen Sie das Mähwerk gründlich. Entfernen Sie alle Rückstände, damit die Ablenkbleche richtig passen.
Reparieren Sie verbogene oder beschädigte Bereiche des Mähwerks und tauschen Sie fehlende Teile aus.
Die Messer sind scharf. Der Kontakt mit einem scharfen Messer kann zu schweren Verletzungen führen.
Tragen Sie Handschuhe oder wickeln einen Lappen um die scharfen Messerkanten.
Anweisungen zum Entfernen der Messer finden Sie in der Bedienungsanleitung.
Die Recyclermesser sind separat erhältlich. Wenden Sie sich an den offiziellen Vertragshändler.
Entfernen Sie die Bundmuttern, mit denen das Ablenkblech befestigt ist (Bild 1).
Entfernen Sie die Schrauben, mit denen das Ablenkblech befestigt ist (Bild 1).
Entfernen Sie das Ablenkblech und setzen Sie die Schrauben und Muttern in die Löcher für das Ablenkblech (Bild 1).
Nehmen Sie die Befestigungen ab, wie in Bild 1 abgebildet. Bewahren Sie die Befestigungen auf.
Note: Bewahren Sie das Ablenkblech und die Befestigungen für das Umrüsten auf den Seitenauswurf auf.

Für diesen Arbeitsschritt erforderliche Teile:
| Auswurfplatte | 1 |
| Schlossschraube (5/16" x ⅞") | 1 |
| Bundmutter (5/16") | 1 |
| Bundmutter (⅜") | 2 |
| Schlossschraube (⅜" x 1") | 2 |
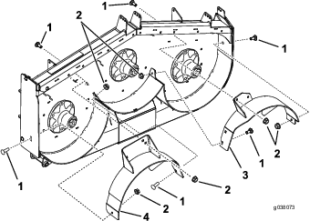
Befestigen Sie die Auswurfplatte mit zwei Schlossschrauben (⅜" x 1¼") und zwei Bundmuttern (kleiner Bund, ⅜") an der Außenseite der Befestigungshalterung, wie in Bild 2 abgebildet.
Befestigen Sie die Nase mit einer Schlossschraube (5/16" x 7/8") und einer Bundmutter (5/16") an der Innenseite des Mähwerks, wie in Bild 2 abgebildet.

Für diesen Arbeitsschritt erforderliche Teile:
| Linkes Ablenkblech | 1 |
| Mittleres Ablenkblech | 1 |
| Rechtes Ablenkblech | 1 |
| Bundmutter (⅜") | 9 |
| Schlossschraube (⅜" x 1") | 9 |
Note: Befestigen Sie die Ablenkbleche lose, um sie mit den Löchern im Mähwerk auszufluchten (Bild 3).
Positionieren Sie das rechte Ablenkblech im Mähwerk.
Befestigen Sie das rechte Ablenkblech mit einer Schlossschraube (⅜" x 1") und einer Bundmutter (⅜") lose an der Auswurfplatte, wie in Bild 3 abgebildet.
Befestigen Sie das rechte Ablenkblech mit einer Schlossschraube (⅜" x 1") und einer Bundmutter (⅜") lose an der Oberseite des Mähwerks, wie in Bild 3 abgebildet. Ermitteln Sie die richtigen Löcher mit Bild 4 und Bild 5.
Befestigen Sie das rechte Ablenkblech mit einer Schlossschraube (⅜" x 1") und einer Bundmutter (⅜") lose am Mähwerk, wie in Bild 3 abgebildet.
Positionieren Sie das linke Ablenkblech im Mähwerk.
Befestigen Sie das linke Ablenkblech mit einer Schraube (⅜" x 1") und einer Bundmutter (⅜") lose an der Oberseite des Mähwerks, wie in Bild 3 abgebildet. Ermitteln Sie die richtigen Löcher mit Bild 4 und Bild 5.
Befestigen Sie das linke Ablenkblech mit einer Schlossschraube (⅜" x 1") und einer Bundmutter (⅜") lose am Mähwerk, wie in Bild 3 abgebildet.
Befestigen Sie das linke Ablenkblech mit einer Schlossschraube (⅜" x 1") und einer Bundmutter (⅜") lose an der Seite des Mähwerks, wie in Bild 3 abgebildet.



Positionieren Sie das mittlere Ablenkblech im Mähwerk.
Befestigen Sie das mittlere Ablenkblech mit einer Schlossschraube (⅜" x 1") und einer Bundmutter (⅜") lose am linken Ablenkblech, wie in Bild 6 abgebildet. Ermitteln Sie die richtigen Löcher mit Bild 4 und Bild 5.
Befestigen Sie das mittlere Ablenkblech mit einer Schlossschraube (⅜" x 1") und einer Bundmutter (⅜") lose am rechten Ablenkblech, wie in Bild 6 abgebildet.
Befestigen Sie das mittlere Ablenkblech mit einer Schraube (⅜" x 1") und einer Bundmutter (⅜") lose an der Oberseite des Mähwerks, wie in Bild 6 abgebildet. Ermitteln Sie die richtigen Löcher mit Bild 4 und Bild 5.

Für diesen Arbeitsschritt erforderliche Teile:
| Linkes Ablenkblech | 1 |
| Mittleres Ablenkblech | 1 |
| Rechtes Ablenkblech | 1 |
| Bundmutter (⅜") | 9 |
| Schlossschraube (⅜" x 1") | 9 |
Note: Befestigen Sie die Ablenkbleche lose, um sie mit allen Löchern im Mähwerk auszufluchten (Bild 7).
Positionieren Sie das rechte Ablenkblech im Mähwerk.
Befestigen Sie das rechte Ablenkblech mit einer Schlossschraube (⅜" x 1") und einer Bundmutter (⅜") lose an der Auswurfplatte, wie in Bild 7 abgebildet.
Befestigen Sie das rechte Ablenkblech mit einer Schlossschraube (⅜" x 1") und einer Bundmutter (⅜") lose an der Oberseite des Mähwerks. Siehe Bild 7 und Bild 8.
Befestigen Sie das rechte Ablenkblech mit einer Schlossschraube (⅜" x 1") und einer Bundmutter (⅜") lose am Mähwerk, wie in Bild 7 abgebildet.
Positionieren Sie das linke Ablenkblech im Mähwerk.
Befestigen Sie das linke Ablenkblech mit einer Schraube (⅜" x 1") und einer Bundmutter (⅜") lose an der Oberseite des Mähwerks, wie in Bild 7 abgebildet.
Befestigen Sie das linke Ablenkblech mit einer Schlossschraube (⅜" x 1") und einer Bundmutter (⅜") lose am Mähwerk, wie in Bild 7 abgebildet.
Befestigen Sie das linke Ablenkblech mit einer Schlossschraube (⅜" x 1") und einer Bundmutter (⅜") lose an der Seite des Mähwerks, wie in Bild 7 abgebildet.


Positionieren Sie das mittlere Ablenkblech im Mähwerk.
Befestigen Sie das mittlere Ablenkblech mit einer Schlossschraube (⅜" x 1") und einer Bundmutter (⅜") lose am linken Ablenkblech, wie in Bild 9 abgebildet.
Befestigen Sie das mittlere Ablenkblech mit einer Schlossschraube (⅜" x 1") und einer Bundmutter (⅜") lose am rechten Ablenkblech, wie in Bild 9 abgebildet.
Befestigen Sie das mittlere Ablenkblech mit einer Schraube (⅜" x 1") und einer Bundmutter (⅜") lose an der Oberseite des Mähwerks, wie in Bild 8 und Bild 9abgebildet.

Die Messer sind scharf. Der Kontakt mit einem scharfen Messer kann zu schweren Verletzungen führen.
Tragen Sie Handschuhe oder wickeln einen Lappen um die scharfen Messerkanten.
Anweisungen zum Einbau der Messer finden Sie in der Bedienungsanleitung.
Die Recyclermesser sind separat erhältlich. Wenden Sie sich an den offiziellen Vertragshändler.
Mähen Sie ca. 25 mm, aber nie mehr als ⅓ der Grashalme. Sie müssen bei extrem sattem und dichtem Gras u. U. die Schnitthöhe um eine weitere Stufe erhöhen oder den Seitenauswurf oder das Heckfangsystem verwenden.
Das Schnittgut wird im Mähwerkgehäuse mit Luft zerkleinert. Stellen Sie aus diesem Grund die Schnitthöhe nicht zu niedrig ein, damit das Mähwerk nicht vollständig von ungeschnittenem Gras umgeben ist. Eine Seite des Mähwerks sollte immer von ungeschnittenem Gras frei gehalten werden, damit Luft in das Gehäuse gezogen werden kann. Wenn Sie die erste Bahn in der Mitte eines nicht gemähten Bereichs mähen, fahren Sie langsamer und fahren Sie etwas rückwärts, wenn das Mähwerk erste Zeichen von Verstopfungen aufweist.
Gras wächst zu verschiedenen Zeiten während der Saison unterschiedlich schnell. Mähen Sie zum Beibehalten derselben Schnitthöhe zu Beginn des Frühlings häufiger. Sie können jedoch nicht so häufig mähen, wenn die Wachstumsrate des Grases im Sommer abnimmt. Mähen Sie zunächst, wenn der Rasen längere Zeit nicht gemäht wurde, bei einer höheren Schnitthöheneinstellung und dann zwei Tage später mit einer niedrigeren Einstellung noch einmal.
Ein scharfes Messer mäht sauber, ohne Grashalme zu zerreißen oder zu zerschnetzeln. Ein stumpfes Messer reißt Grashalme ab und zerschnetzelt sie. Abgerissene und zerschnetzelte Grashalme werden an den Kanten braun. Dadurch reduziert sich das Wachstum, und die Anfälligkeit des Rasens für Krankheiten steigt.
Reinigen Sie die Unterseite des Mähergehäuses nach jedem Einsatz, um die beste Leistung sicherzustellen. Wenn sich Rückstände im Mähwerkgehäuse ansammeln, wird die Schnittleistung verringert.