A fűterelő lemez, kidobónyílás-fedél vagy fűgyűjtő rendszer nélkül Ön és a közelben levők ki lehetnek téve a késekkel és a kirepülő hulladékkal való érintkezésnek. A forgó fűnyírókések és a kirepülő törmelék személyi sérülést okozhatnak, akár végzeteset is.
Ne távolítsa el a fűterelő lemezt a nyíróasztalról, mert a fűterelő lemez irányítja lefelé az anyagot a gyep felé. Ha a fűterelő lap bármikor megsérül, azonnal cserélje le.
Ne nyúljon kezével vagy lábával a nyíróasztal alá.
Ne kísérelje meg a kidobási terület vagy a kések környékének tisztítását, csak ha a késkapcsolót (TLT) KI helyzetbe kapcsolta, a gyújtáskapcsolót KI helyzetbe fordította és kivette az indítókulcsot a gyújtáskapcsolóból.
Ügyeljen rá, hogy a fűterelő lap lehajtott helyzetben legyen.
Parkolja le a gépet sík talajon.
Állítsa SEMLEGES-RETESZELT helyzetbe a haladásvezérlő karokat.
Húzza be a rögzítőféket.
Állítsa le a motort, és vegye ki az indítókulcsot.
Tisztítsa meg alaposan a nyíróasztalt. Távolítsa el az összes törmeléket, hogy a terelőlapok megfelelően illeszkedjenek.
Javítsa ki a nyíróasztal összes elgörbült vagy károsodott területét, és pótoljon minden hiányzó alkatrészt.
A kések élesek. Az éles kés érintése súlyos személyi sérülést okozhat.
Viseljen védőkesztyűt, vagy tekerje be ronggyal a kés élét.
A kések eltávolítása kapcsán olvassa el a Kezelői kézikönyvet.
A mulcsozó késeket külön kell beszerezni. Vegye fel a kapcsolatot a hivatalos márkakereskedővel.
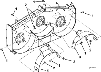
Távolítsa el a terelőlemezt rögzítő peremes anyákat (Ábra 1).
Távolítsa el a terelőlemezt rögzítő csavarokat (Ábra 1).
Távolítsa el a terelőlemezt, majd cserélje ki a csavarfuratokba tartozó csavarokat és anyákat (Ábra 1).
Távolítsa el a kötőelemeket az Ábra 1 alapján. Őrizze meg a kötőelemeket.
Note: Amikor átvált oldalsó kidobású módba, őrizze meg a terelőlemezt és a kötőelemeket.

Ehhez az eljáráshoz szükséges alkatrészek:
| Kimeneti nyílás lemeze | 1 |
| Kapupántcsavar (5/16" × ⅞") | 1 |
| Peremes anya (5/16") | 1 |
| Peremes anya (⅜") | 2 |
| Kapupántcsavar (⅜" × 1") | 2 |
Ehhez az eljáráshoz szükséges alkatrészek:
| Bal oldali terelőlemez | 1 |
| Középső terelőlemez | 1 |
| Jobb oldali terelőlemez | 1 |
| Peremes anya (⅜") | 9 |
| Kapupántcsavar (⅜" × 1") | 9 |
Note: Szerelje fel lazán a terelőlemezeket, összeigazítva azokat a nyíróasztal összes furatával (Ábra 3).
Illessze be a jobb oldali terelőlemezt a nyíróasztalba.
Rögzítse lazán a jobb oldali terelőlemezt a kimeneti nyílás lemezéhez 1 kapupántcsavar (⅜" × 1") és egy peremes anya (⅜") segítségével a Ábra 3 alapján.
Rögzítse lazán a jobb oldali terelőlemezt a nyíróasztal tetejéhez 1 kapupántcsavar (⅜" × 1") és 1 peremes anya (⅜") segítségével a Ábra 3 szerint. A Ábra 4 és Ábra 5 ábra alapján határozza meg a megfelelő furatokat.
Rögzítse lazán a jobb oldali terelőlemezt a nyíróasztalhoz 1 kapupántcsavar (⅜" × 1") és 1 peremes anya (⅜") segítségével a Ábra 3 alapján.
Illessze be a bal oldali terelőlemezt a nyíróasztalba.
Rögzítse lazán a bal oldali terelőlemezt a nyíróasztal tetejéhez 1 csavar (⅜" × 1") és 1 peremes anya (⅜") segítségével a Ábra 3 szerint. A Ábra 4 és Ábra 5 ábra alapján határozza meg a megfelelő furatokat.
Rögzítse lazán a bal oldali terelőlemezt a nyíróasztalhoz 1 kapupántcsavar (⅜" × 1") és 1 peremes anya (⅜") segítségével a Ábra 3 alapján.
Rögzítse lazán a bal oldali terelőlemezt a nyíróasztal oldalához 1 kapupántcsavar (⅜" × 1") és 1 peremes anya (⅜") segítségével a Ábra 3 szerint.



Illessze be a középső terelőlemezt a nyíróasztalba.
Rögzítse lazán a középső terelőlemezt a nyíróasztalhoz 1 kapupántcsavar (⅜" × 1") és 1 peremes anya (⅜") segítségével a Ábra 6 alapján. A Ábra 4 és Ábra 5 ábra alapján határozza meg a megfelelő furatokat.
Rögzítse lazán a középső terelőlemezt a jobb oldali terelőlemezhez 1 kapupántcsavar (⅜" × 1") és 1 peremes anya (⅜") segítségével a Ábra 6 alapján.
Rögzítse lazán a középső terelőlemezt a nyíróasztal tetejéhez 1 csavar (⅜" × 1") és 1 peremes anya (⅜") segítségével a Ábra 6 szerint. A Ábra 4 és Ábra 5 ábra alapján határozza meg a megfelelő furatokat.

Ehhez az eljáráshoz szükséges alkatrészek:
| Bal oldali terelőlemez | 1 |
| Középső terelőlemez | 1 |
| Jobb oldali terelőlemez | 1 |
| Peremes anya (⅜") | 9 |
| Kapupántcsavar (⅜" × 1") | 9 |
Note: Szerelje fel lazán a terelőlemezeket, összeigazítva azokat a nyíróasztal összes furatával (Ábra 7).
Illessze be a jobb oldali terelőlemezt a nyíróasztalba.
Rögzítse lazán a jobb oldali terelőlemezt a kimeneti nyílás lemezéhez 1 kapupántcsavar (⅜" × 1") és 1 peremes anya (⅜") segítségével a Ábra 7 alapján.
Rögzítse lazán a jobb oldali terelőlemezt a nyíróasztal tetejéhez 1 kapupántcsavar (⅜" × 1") és 1 peremes anya (⅜") segítségével. Lásd Ábra 7 és Ábra 8.
Rögzítse lazán a jobb oldali terelőlemezt a nyíróasztalhoz 1 kapupántcsavar (⅜" × 1") és 1 peremes anya (⅜") segítségével a Ábra 7 alapján.
Illessze be a bal oldali terelőlemezt a nyíróasztalba.
Rögzítse lazán a bal oldali terelőlemezt a nyíróasztal tetejéhez 1 csavar (⅜" × 1") és 1 peremes anya (⅜") segítségével a Ábra 7 szerint.
Rögzítse lazán a bal oldali terelőlemezt a nyíróasztalhoz 1 kapupántcsavar (⅜" × 1") és 1 peremes anya (⅜") segítségével a Ábra 7 alapján.
Rögzítse lazán a bal oldali terelőlemezt a nyíróasztal oldalához 1 kapupántcsavar (⅜" × 1") és 1 peremes anya (⅜") segítségével a Ábra 7 szerint.


Illessze be a középső terelőlemezt a nyíróasztalba.
Rögzítse lazán a középső terelőlemezt a nyíróasztalhoz 1 kapupántcsavar (⅜" × 1") és 1 peremes anya (⅜") segítségével a Ábra 9 alapján.
Rögzítse lazán a középső terelőlemezt a jobb oldali terelőlemezhez 1 kapupántcsavar (⅜" × 1") és 1 peremes anya (⅜") segítségével a Ábra 9 alapján.
Rögzítse lazán a középső terelőlemezt a nyíróasztal tetejéhez 1 csavar (⅜" × 1") és 1 peremes anya (⅜") segítségével a Ábra 8 és Ábra 9 szerint.

A kések élesek. Az éles kés érintése súlyos személyi sérülést okozhat.
Viseljen védőkesztyűt, vagy tekerje be ronggyal a kés élét.
A kések cseréjére vonatkozó utasításokat lásd a Kezelői kézikönyvben.
A mulcsozó késeket külön kell beszerezni. Vegye fel a kapcsolatot a hivatalos márkakereskedővel.
Fűnyíráskor nagyjából 25 mm-t vágjon le a fűszálból, de a hossza ⅓-ánál ne többet. Kivételesen nagyra nőtt és sűrű fű esetén előfordulhat, hogy magasabbra kell állítania a vágásmagasságot, vagy oldalsó kidobású működésről fűgyűjtésre kell váltania.
Mivel a fűkaszálék alapos lenyírásához levegőre van szükség, ne állítsa annyira alacsonyra a vágásmagasságot, hogy teljesen körülvegye a nyíróasztalt a nyíratlan fű. Igyekezzen elérni, hogy a nyíróasztal egyik oldalánál ne legyen nyíratlan fű, hogy a levegőt a gép beszívhassa a nyíróasztalba. Amikor belefog az első nyírásba a nyíratlan terület közepén, haladjon lassabban, és tolasson egy keveset, ha a fűnyíró kezd eltömődni.
A fű eltérő sebességgel nő az év különböző szakaszaiban. Az azonos vágásmagasság megtartása érdekében kora tavasszal végezze gyakrabban a fűnyírást. Ahogy a fű növekedése nyár közepére lelassul, a fűnyírás is ritkulhat. Ha hosszabb ideig nem került sor fűnyírásra, először végezze azt nagy vágásmagasságon, majd 2 nappal később alacsonyabb beállítás mellett.
Az éles kés tisztán vág, anélkül, hogy tépné vagy zúzná a fűszálakat. A tompa kés tépi és szakítja a füvet. A tépés és szakítás helye a fűszálakon bebarnul, ami lassítja a növést és növeli a megbetegedés kockázatát.
Az optimális teljesítmény fenntartása érdekében minden használat után tisztítsa ki a fűnyíróházat. Ha hulladék gyűlik fel a fűnyíróházban, a vágási teljesítmény csökken.