Hvis ikke der er monteret græsdeflektor, udblæsningsdæksel eller komplet græsopsamler, udsætter du dig selv og andre for kontakt med skæreknivene og udslyngede genstande. Kontakt med plæneklipperens roterende skærekniv(e) og udslyngede genstande vil medføre personskade eller død.
Fjern aldrig græsdeflektoren fra plæneklipperskjoldet, da deflektoren leder materialerne ned mod plænen. Hvis græsdeflektoren beskadiges, skal den straks udskiftes.
Placer aldrig hænder eller fødder under plæneklipperskjoldet.
Forsøg aldrig at rense udblæsningsområdet eller skæreknivene, før du har sat kontakten til regulering af skæreknivene (kraftudtag) i positionen OFF (fra), drejet tændingskontakten til positionen OFF og taget nøglen ud af tændingskontakten.
Sørg for, at græsdeflektoren er i sænket position.
Parker maskinen på en plan overflade.
Flyt bevægelseshåndtagene til den NEUTRALE LåSEPOSITION.
Aktiver parkeringsbremsen.
Sluk motoren, og tag nøglen ud.
Rengør plæneklipperskjoldet grundigt. Fjern alt affald for at sikre, at afskærmningerne kan sidde rigtigt.
Reparer alle bøjede eller beskadigede områder på plæneklipperskjoldet, og udskift evt. manglende dele.
Skæreknivene er skarpe. Kontakt med en skarp kniv kan forårsage alvorlig personskade.
Bær handsker, eller pak skæreknivens skarpe kanter ind i en klud.
Se betjeningsvejledningen for anvisninger om afmontering af skæreknive.
Recycler-skæreknivene sælges separat. Kontakt en autoriseret serviceforhandler.
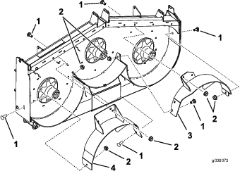
Fjern flangemøtrikkerne, der holder afskærmningen på plads (Figur 1).
Fjern boltene, der holder afskærmningen på plads (Figur 1).
Fjern afskærmningen, og udskift møtrikkerne og boltene i hullerne til afskærmningen (Figur 1).
Fjern skruerne og møtrikkerne som vist i Figur 1. Gem skruer og møtrikker.
Note: Gem afskærmningen samt skruer og møtrikker, da de skal bruges, når der skiftes til sideudblæsningstilstand.

Dele, der skal bruges til dette trin:
| Udblæsningsplade | 1 |
| Bræddebolt (5/16" x ⅞") | 1 |
| Flangemøtrik (5/16") | 1 |
| Flangemøtrik (⅜") | 2 |
| Bræddebolt (⅜" x 1") | 2 |
Dele, der skal bruges til dette trin:
| Venstre skærm | 1 |
| Midterste skærm | 1 |
| Højre skærm | 1 |
| Flangemøtrik (⅜") | 9 |
| Bræddebolt (⅜" x 1") | 9 |
Note: Monter afskærmningerne løst, så de rettes ind efter alle hullerne i plæneklipperskjoldet (Figur 3).
Placer den højre afskærmning på plæneklipperskjoldet.
Monter den højre afskærmning løst på udblæsningspladen med 1 bræddebolt (⅜" x 1") og 1 flangemøtrik (⅜") som vist i Figur 3.
Monter den højre afskærmning løst øverst på plæneklipperskjoldet med 1 bræddebolt (⅜" x 1") og 1 flangemøtrik (⅜") som vist i Figur 3. Figur 4 og Figur 5 viser, hvilke huller der skal bruges.
Monter den højre afskærmning løst på plæneklipperskjoldet med 1 bræddebolt (⅜" x 1") og 1 flangemøtrik (⅜") som vist i Figur 3.
Monter den venstre afskærmning på plæneklipperskjoldet.
Monter den venstre afskærmning løst øverst på plæneklipperskjoldet med 1 bolt (⅜" x 1") og 1 flangemøtrik (⅜") som vist i Figur 3. Figur 4 og Figur 5 viser, hvilke huller der skal bruges.
Monter den venstre afskærmning løst på plæneklipperskjoldet med 1 bræddebolt (⅜" x 1") og 1 flangemøtrik (⅜") som vist i Figur 3.
Monter den venstre afskærmning løst på siden af plæneklipperskjoldet med 1 bræddebolt (⅜" x 1") og 1 flangemøtrik (⅜") som vist i Figur 3.



Placer den midterste afskærmning på plæneklipperen
Monter den midterste afskærmning løst på den venstre afskærmning med 1 bræddebolt (⅜" x 1") og 1 flangemøtrik (⅜") som vist i Figur 6. Figur 4 og Figur 5 viser, hvilke huller der skal bruges.
Monter den midterste afskærmning løst på den højre afskærmning med 1 bræddebolt (⅜" x 1") og 1 flangemøtrik (⅜") som vist i Figur 6.
Monter den midterste afskærmning løst øverst på plæneklipperskjoldet med 1 bolt (⅜" x 1") og 1 flangemøtrik (⅜") som vist i Figur 6. Figur 4 og Figur 5 viser, hvilke huller der skal bruges.

Dele, der skal bruges til dette trin:
| Venstre skærm | 1 |
| Midterste skærm | 1 |
| Højre skærm | 1 |
| Flangemøtrik (⅜") | 9 |
| Bræddebolt (⅜" x 1") | 9 |
Note: Monter afskærmningerne løst, så de rettes ind efter alle hullerne i plæneklipperen (Figur 7).
Placer den højre afskærmning på plæneklipperen.
Monter den højre afskærmning løst på udblæsningspladen med 1 bræddebolt (⅜" x 1") og 1 flangemøtrik (⅜") som vist i Figur 7.
Monter den højre afskærmning løst øverst på plæneklipperskjoldet med 1 bræddebolt (⅜" x 1") og 1 flangemøtrik (⅜"). Se Figur 7 og Figur 8.
Monter den højre afskærmning løst på plæneklipperskjoldet med 1 bræddebolt (⅜" x 1") og 1 flangemøtrik (⅜") som vist i Figur 7.
Monter den venstre afskærmning på plæneklipperen.
Monter den venstre afskærmning løst øverst på plæneklipperskjoldet med 1 bolt (⅜" x 1") og 1 flangemøtrik (⅜") som vist i Figur 7.
Monter den venstre afskærmning løst på plæneklipperskjoldet med 1 bræddebolt (⅜" x 1") og 1 flangemøtrik (⅜") som vist i Figur 7.
Monter den venstre afskærmning løst på siden af plæneklipperskjoldet med 1 bræddebolt (⅜" x 1") og 1 flangemøtrik (⅜") som vist i Figur 7.


Placer den midterste afskærmning på plæneklipperen.
Monter den midterste afskærmning løst på den venstre afskærmning med 1 bræddebolt (⅜" x 1") og 1 flangemøtrik (⅜") som vist i Figur 9.
Monter den midterste afskærmning løst på den højre afskærmning med 1 bræddebolt (⅜" x 1") og 1 flangemøtrik (⅜") som vist i Figur 9.
Monter den midterste afskærmning løst øverst på plæneklipperskjoldet med 1 bolt (⅜" x 1") og 1 flangemøtrik (⅜") som vist i Figur 8 og Figur 9.

Skæreknivene er skarpe. Kontakt med en skarp kniv kan forårsage alvorlig personskade.
Bær handsker, eller pak skæreknivens skarpe kanter ind i en klud.
Se betjeningsvejledningen for anvisninger om montering af skæreknive.
Recycler-skæreknivene sælges separat. Kontakt en autoriseret serviceforhandler.
Fjern ca. 25 mm eller højst ⅓ af græsstrået, når du klipper. I usædvanligt frodigt og tæt græs kan det være nødvendigt at hæve klippehøjdeindstillingen eller skifte over til sideudblæsning eller opsamling.
Luft er nødvendig for at kunne klippe og findele græsset i plæneklipperhuset, og derfor må du ikke indstille klippehøjden for lavt eller lade huset være omgivet af uklippet græs. Forsøg altid at holde den ene side af plæneklipperhuset fri for uklippet græs, så den nødvendige luft kan trækkes ind i huset. Når du klipper første bane midt gennem et uklippet område, så kør langsommere, og bak lidt, hvis plæneklipperen begynder at blive blokeret.
Græs vokser med forskellig hastighed på forskellige tider af året. Hvis du vil bevare den samme klippehøjde, skal græsset slås oftere i det tidlige forår. Når græssets væksthastighed falder midt på sommeren, skal du ikke slå græsset så tit. Hvis du ikke har mulighed for at slå græs over en længere periode, skal du først slå det med en høj klippehøjde og derefter igen to dage senere med en lavere højdeindstilling.
En skarp kniv skærer rent og uden at sønderrive græsset. En sløv kniv sønderriver græsset. Sønderrivning får græsset til at blive brunt i kanterne, hvilket forringer væksten og øger modtageligheden for sygdomme.
Rengør undersiden af plæneklipperhuset efter hver brug for at sikre optimal ydeevne. Hvis der samler sig bundfald i plæneklipperhuset, forringes klippeydeevnen.