Bakım
Kesim Ünitesine Erişilmesi
Bakım için alt bıçak ve silindire şöyle erişebilirsiniz:
Silindir Tahrik Mili Gres Noktasının Kontrol Edilmesi
| Bakım Servisi Aralıkları | Bakım Prosedürü |
|---|---|
| Yıllık |
|
-
Silindir tahrik grubunu yan plakaya sabitleyen donanımı sökün (Şekil 6).

-
Yan plakanın iç kısmındaki somunları sökün (Şekil 6).
-
Silindir tahrik milinin iç kısmında kalan gres miktarını kontrol edin (Şekil 7).
Yeterli miktarda gres görmüyorsanız, erkek ve dişi kamalı mile gres ekleyin.

-
Daha önce söktüğünüz düz başlı vida ve somunları kullanarak silindir tahrik grubunu yan plakaya sabitleyin.
-
Kesim ünitesini çekiş ünitesine takın; bkz. çekiş ünitesi Kullanma Kılavuzu.
Alt Bıçak-Silindir Temasının Ayarlanması
Alt Bıçağın Her Gün Ayarlanması
Her gün çim biçmeden önce veya gerektiğinde, alt bıçak-silindir temasının düzgün olduğunu teyit edin. Bu işlemi, kesim kalitesi kabul edilebilir olduğunda bile yapın.
Note: Bu işlemi, kesim ünitesi çekiş ünitesine takılı halde gerçekleştirebilirsiniz.
-
Çekiş ünitesini kapatın.
-
Kesim ünitesine erişin; bkz. Kesim Ünitesine Erişilmesi.
-
Silindiri ters yönde yavaşça döndürerek, silindir-alt bıçak teması sesi gelip gelmediğini kontrol edin.
-
Hiçbir temas yoksa, alt bıçağı şöyle ayarlayın:
-
Alt bıçak yatağı ayar vidalarını (Şekil 8), her seferinde 1 tık ilerleyerek, hafif bir temas duyana ve hissedene kadar saat yönünde döndürün.
Note: Alt bıçak yatağı ayar vidalarında, endekslenen her bir konum için 0,018 mm alt bıçak hareketine karşılık gelen oyuklar vardır.

-
Silindir ile alt bıçağın arasına, alt bıçağa dik olacak biçimde uzun bir kesim performansı kağıdı şeridi (Toro Parça No. 125-5610) yerleştirin (Şekil 9) ve silindiri yavaşça ileri döndürün; kağıdı kesmelidir. Kesmiyorsa, kesene kadar 1 - 2 arası adımları tekrarlayın.
-
-
Aşırı temas/silindir sürüklenmesi fark ederseniz, ters bileyleme yapın veya alt bıçağın ön yüzünü bileyleyin ya da kesim ünitesini hassas bir kesim için gerekli keskin kenarlar elde edilecek biçimde zımparalayın; bkz. Toro Silindir ve Döner Çim Biçme Makinesi Bileyleme Kılavuzu, Form No. 09168SL.
Important: Her zaman, hafif bir temas tercih edilir. Hafif temas elde edilemezse, alt bıçak ve silindir kenarları kendi kendilerini yeterince bileylemez ve belli bir süre çalıştıktan sonra körelirler. Aşırı temas olması halinde ise, alt bıçak/silindir aşınması hızlanır, eşit olmayan aşınma meydana gelebilir ve kesim kalitesi düşebilir.
Note: eFlex kesim ünitelerinde, silindir-alt bıçak teması, enerji tüketimi üzerinde önemli bir etkiye sahiptir. Kesim performansı ve akü tüketimi açısından, çok hafif bir temas en iyisidir.
Note: Silindir bıçakları alt bıçağa karşı çalışmaya devam ettikçe, ön kesim kenarında, alt bıçağın tüm uzunluğu boyunca hafif bir çapak görünecektir. Kesimi güçlendirmek için ara sıra ön kenarı eğeleyerek bu çapağı giderin.Uzun bir süre sonra ise, alt bıçağın her iki ucunda da bir çıkıntı oluşur. Sorunsuz bir çalışma için, bu tür çapakları, alt bıçağın kesim kenarı ile aynı düzlüğe gelecek biçimde yuvarlak hale getirin veya eğeleyin.
-
Bileyleme, Ters Bileyleme veya Sökmeden Sonra Alt Bıçağı Ayarlama
İlk kesim ünitesi ayarları sırasında ve ayrıca silindiri bileyledikten, ters bileyleme yaptıktan veya söktükten sonra bu işlemi uygulayın. Bu, günlük bir ayar değildir.
Note: Bu işlemi, kesim ünitesi çekiş ünitesine takılı halde gerçekleştirebilirsiniz.
Note: eFlex kesim ünitelerinde, silindir-alt bıçak teması, enerji tüketimi üzerinde önemli bir etkiye sahiptir. Kesim performansı ve akü tüketimi açısından, çok hafif bir temas en iyisidir.
-
Çekiş ünitesini kapatın.
-
Kesim ünitesine erişin; bkz. Kesim Ünitesine Erişilmesi.
-
Silindiri, bıçaklardan biri, kesim ünitesinin sağında bulunan birinci ve ikinci alt bıçak vida başlarının arasından alt bıçak kenarına temas edip geçecek biçimde döndürün.
-
Alt bıçak kenarına temas edip geçtiği noktada bıçağı işaretleyin.
Note: Bu, sonraki ayarlama işlerini kolaylaştıracaktır.
-
Bıçak ile alt bıçak kenarının arasına, 4 adımında işaretlenen noktaya bir adet 0,05 mm ayar pulu yerleştirin.
-
Sağ alt bıçak yatağı ayar vidasını (Şekil 8), ayar pulunu yandan yana kaydırırken üzerinde hafif bir basınç hissedene kadar döndürün. Ayar pulunu çıkarın.
-
Kesim ünitesinin sol tarafında, silindiri, en yakın bıçak birinci ve ikinci vida başlarının arasında alt bıçak kenarına temas edip geçecek biçimde yavaşça döndürün.
-
Kesim ünitesinin sol tarafı ile sol alt bıçak yatağı için de 4 - 6 arası adımları tekrarlayın.
-
Kesim ünitesinin sağ ve sol taraflarındaki temas noktalarında hafif bir basınç hissedene kadar 5 ila 6 arası adımları tekrarlayın.
-
Silindir ile alt bıçak arasında hafif bir temas elde etmek için, her bir alt bıçak yatağı ayar vidasını saat yönünde 3 tık döndürün.
Note: Alt bıçak yatağı ayar vidasındaki her tık, alt bıçağı 0,018 mm hareket ettirir. Ayar vidalarını aşırı sıkmayın.Ayar vidası saat yönünde döndürülünce, alt bıçak kenarı silindire yaklaşır. Ayar vidası saatin aksi yönünde döndürülünce, alt bıçak kenarı silindirden uzaklaşır.
-
Silindir ile alt bıçağın arasına, alt bıçağa dik olacak biçimde uzun bir kesim performansı kağıdı şeridi (Toro Parça No. 125-5610) yerleştirin (Şekil 9) ve silindiri yavaşça ileri döndürün; kağıdı kesmelidir. Kesmiyorsa, alt bıçak yatağı ayar vidasını saat yönünde 1 tık döndürün ve kağıdı kesene kadar bu adımı tekrarlayın.

Note: Aşırı temas/silindir sürüklenmesi fark ederseniz, ters bileyleme yapın veya alt bıçağın ön yüzünü bileyleyin ya da kesim ünitesini hassas bir kesim için gerekli keskin kenarlar elde edilecek biçimde zımparalayın (bkz. Toro Silindir ve Döner Çim Biçme Makinesi Bileyleme Kılavuzu, Form No. 09168SL).
Kesim Ünitesinin Çim Koşullarına Göre Ayarlanması
Çim koşullarınıza uygun alt bıçağı belirlemek için aşağıdaki tabloyu kullanın. Ek alt bıçaklar ve silindirler satın almak için yetkili Toro distribütörünüze danışın.
Çim koşullarınıza uygun bir kırpma oranı ayarlamak için bkz. Kırpma Oranının Ayarlanması.
| Tavsiye Edilen Alt Bıçak/Kesim Yüksekliği Tablosu | |
| Alt Bıçak | Kesim Yüksekliği |
| Edgemax Micro-cut (Standart) | 1,5 ila 4,7 mm |
| Edgemax Tournament (Opsiyonel) | 3,1 ila 12,7 mm |
| Micro-cut (Opsiyonel) | 1,5 ila 4,7 mm |
| Tournament (Opsiyonel) | 3,1 ila 12,7 mm |
| Extended Micro-cut (Opsiyonel) | 1,5 ila 4,7 mm |
| Extended Tournament (Opsiyonel) | 3,1 ila 12,7 mm |
| Low-cut (Opsiyonel) | 4,7 ila 25,4 mm |
Kesim Yüksekliği Ayarının Yapılması
Kesim yüksekliği göstergesini kullanarak kesim yüksekliğini dilediğiniz yüksekliğe ayarlayın ve kesim ünitenizin istediğiniz kesim yüksekliğine en uygun alt bıçakla donatıldığından emin olun; bkz. Kesim Ünitesinin Çim Koşullarına Göre Ayarlanması.
Arka Silindir Yüksekliğinin Ayarlanması
İstediğiniz kesim yüksekliği aralığına bağlı olarak, arka silindir braketlerini (Şekil 10 veya Şekil 11) düşük veya yüksek konuma ayarlayın:
-
Kesim yüksekliği ayarları 1,5 mm ila 6 mm arasında olunca, Şekil Şekil 10'da gösterildiği gibi ara parçayı yan plaka montaj flanşının üzerine (fabrika ayarı) yerleştirin.

-
Kesim yüksekliği ayarları 3 mm ila 25 mm arasında olunca, Şekil Şekil 11'de gösterildiği gibi ara parçayı yan plaka montaj flanşının altına yerleştirin.

-
Kesim ünitesinin arkasını yükseltin ve alt bıçağın altına bir takoz yerleştirin.
-
Her bir silindir braketini ve ara parçayı her bir yan plaka montaj flanşına sabitleyen 2 somunu sökün.
-
Silindiri ve vidaları, yan plaka montaj flanşlarından ve ara parçalardan indirin.
-
Ara parçaları, ihtiyaca bağlı olarak silindir braketlerinin altındaki veya üstündeki vidaların üzerine yerleştirin (Şekil 10 veya Şekil 11).
-
Silindir braketini ve ara parçaları, daha önce söktüğünüz somunları kullanarak montaj flanşlarının alt kısmına sabitleyin.
-
Alt bıçak-silindir temasının doğru olduğunu teyit edin. Çim biçme makinesini yan yatırarak, ön ve arka silindirler ile alt bıçağı ortaya çıkarın.
Note: Arka silindirin ana silindire göre konumu, monte edilen parçaların makinede işleme toleranslarına göre kontrol edilir, bu nedenle de paralel hale getirmek getirmez. Kesim ünitesi bir yüzey plakasına yerleştirilip yan plaka montaj cıvataları gevşetilerek sınırlı bir ayar yapılabilir (Şekil 12). Bitince, cıvataları ayarlayıp sıkın.

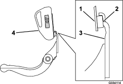
Important: Alt bıçak/silindir grubunu ortaya çıkarmak için kesim ünitesini yana yatırmanız gereken durumlarda, kesim ünitesinin arkasını manivelayla kaldırarak, alt bıçak yatağı ayar vidalarının arka ucundaki somunların çalışma yüzeyine temas etmesini önleyin (Şekil 4).
Kesim Yüksekliği Göstergesinin Ayarlanması
Kesim yüksekliğini ayarlamadan önce, kesim yüksekliği göstergesini şu şekilde ayarlayın:
-
Gösterge çubuğundaki somunu gevşetin ve ayar vidasını istediğiniz kesim yüksekliğine ayarlayın (Şekil 13).
Note: Vida başının dibi ile çubuğun yüzeyi arasındaki mesafe, kesim yüksekliğidir.

-
Somunu sıkın.
Kesim Yüksekliğinin Ayarlanması
Bu kesim ünitesi, standart olarak Edgemax Micro-cut alt bıçak ve standart alt bıçak yatağıyla birlikte sunulur. Etkin kesim yüksekliği, önceki çim biçme makinesi konfigürasyonlarına ve çim koşullarına bağlı olarak değişir (örn. silindir tipi, alt bıçağın orta mesafenin arkasında olması, yumuşak veya sert green'ler, mevsimsel koşullar vs.). Başlangıçtaki kesim yüksekliğini önceki ayardan 0,25 mm ila 0,38 mm daha yükseğe getirin ve mevcut koşullara göre ayarlayın.
Note: 13 mm'den yüksek kesim yükseklikleri için, yüksek kesim yüksekliği setini takın.
İstediğiniz kesim yüksekliğine en uygun alt bıçağı belirlemek için bkz. Kesim Ünitesinin Çim Koşullarına Göre Ayarlanması.
-
Kesim yüksekliği kollarını kesim ünitesi yan plakalarına sabitleyen kilit somunlarını gevşetin (Şekil 14).

-
Kesim yüksekliği gösterge çubuğunun vida başını alt bıçağın kesim kenarının sağ kısmına geçirin ve çubuğun arka ucunu arka silindirin üzerine bırakın (Şekil 15).

-
Ayar vidasını, silindir ile gösterge çubuğunun ön kısmı temas edene kadar döndürün.
-
2 - arası adımları sol taraf için de tekrarlayın.
-
Silindirin her iki ucunu da, tüm silindir alt bıçağa paralel olana kadar ayarlayın.
Important: Düzgün ayarlama yapılınca, ön ve arka silindirler gösterge çubuğuna temas eder ve vida alt bıçağa karşı tam oturur. Bu da, kesim yüksekliğinin, alt bıçağın her iki ucunda da aynı olmasını sağlar.
-
Kesim yüksekliği kollarındaki kilit somunlarını sıkarak ayarı rondeladaki boşluğun alınmasına yetecek kadar sabitleyin.
-
Kesim yüksekliğinin doğru olduğunu teyit edin, gerekiyorsa bu işlemi tekrarlayın
Kırpma Oranının Ayarlanması
Kırpma oranı şu makine ayarlarına göre belirlenir:
-
Silindir hızı: Silindir hızı yüksek veya düşük bir değere ayarlanabilir; bkz. çekiş ünitesi Kullanma Kılavuzu.
-
Silindir tahrik kasnağı konumu: Silindir tahrik kasnakları (22 dişli ve 24 dişli) 2 konuma ayarlanabilir:
Note: Kasnak konumu fabrikada ALçAK konum olarak ayarlanır.

Kasnakların konumunu ayarlamak için şu adımları uygulayın:
-
Kayışı ortaya çıkarmak için kayış kapağını çıkarın (Şekil 17).

-
Avara kolu cıvatasını gevşetin ve avara kolunu (Şekil 17) döndürerek kayışın üzerindeki gergiyi alın.
-
Kayışı yerinden çıkarın (Şekil 17).
-
Her bir kasnağın somununu gevşetin, kasnakları yerinden çıkarın ve somunları kullanarak kasnakları istediğiniz konfigürasyona takın.

-
Kasnak somunlarını 37 ila 45 N∙m torkla sıkın.
-
Kayışı takın ve Şekil 17 şeklinde gösterildiği gibi avara kolu iç altıgen cıvatasına 4 ila 5 N∙m kuvvet uygulayarak kayışı gerdirin.
-
Avara kolu cıvatasını sıkın ve kayış kapağını takın.
Kesme Çubuğunun Ayarlanması
Kırpıntıların silindir bölgesinden temiz bir şekilde boşaltılması için kesim çubuğunu şöyle ayarlayın:
Note: Çubuk, çim koşullarındaki değişiklikleri dengeleyecek biçimde ayarlanabilir. Çim aşırı derecede kuruysa çubuğu silindire yakın ayarlayın. Veya, çim aşırı derecede ıslaksa çubuğu silindirden uzağa ayarlayın. Optimum performans için çubuk silindire paralel olmalıdır. Çubuğu, silindiri bir silindir zımparasında bileyledikten sonra ayarlayın.
-
Üst çubuğu (Şekil 19) kesim ünitesine sabitleyen vidaları gevşetin.

-
Silindirin en üst kısmı ile çubuğun arasına 1,5 mm'lik bir kalınlık ölçer yerleştirin ve vidaları sıkın.
Important: Çubuğun ve silindirin, tüm silindir boyunca birbirlerine eşit uzaklıkta olduklarını kontrol edin.
Alt Bıçak Yatağının Bakımı
Silindirin, alt bıçak yatağının veya alt bıçağın hasar görmemesi için, alt bıçağa ve alt bıçak yatağına sadece eğitimli bir teknisyen bakım yapmalıdır. Tercihen, kesim ünitenizi bakım için yetkili Toro distribütörüne götürün. Tüm talimatlar, özel aletler ve alt bıçak bakım şemaları için bkz. çekiş ünitesi Bakım Kılavuzu. Alt bıçak yatağını kendi başınıza sökmeniz gerekirse, alt bıçak bakım talimatlarını da içeren aşağıdaki talimatları uygulayın.
Important: Alt bıçağa bakım yaparken, Bakım Kılavuzunda detaylı olarak açıklanan alt bıçak prosedürlerini mutlaka uygulayın. Alt bıçağın doğru takılmaması ve bileylenmemesi silindire, alt bıçak yatağına veya alt bıçağa hasar verebilir.
Alt Bıçak Yatağının Yerinden Çıkarılması
-
Alt bıçak yatağı ayar vidasını saatin aksi yönünde döndürerek alt bıçağı silindirden uzaklaştırın (Şekil 20).

-
Yay gergisi somununu, rondelanın alt çubuğa karşı gerginliği ortadan kalkana kadar geriye doğru döndürüp çıkarın (Şekil 20).
-
Makinenin her bir tarafında, kilit somununu Şekil 21 şeklinde gösterildiği gibi gevşetin.

-
Alt bıçak yatağının aşağı doğru çekilebilmesini ve kesim ünitesinden çıkarılabilmesini sağlamak için her bir alt bıçak yatağı cıvatasını sökün (Şekil 21).
Alt bıçak yatağının her iki ucundaki 2 plastik rondela ile 1 çelik rondelayı da hesaba katın (Şekil 21).
Alt Bıçak Yatağının Takılması
-
Montaj kulaklarını rondelalar ile alt bıçak yatağı ayar vidasının arasına yerleştirerek alt bıçak yatağını takın (Şekil 20).
-
Alt bıçak yatağı cıvatalarını (cıvatalardaki somunlarla birlikte) ve 3 rondelayı (toplam 6 adettir) kullanarak alt bıçağı yatağını her bir yan plaka sabitleyin.
-
Yan plaka çıkıntısının her bir tarafına plastik bir rondela yerleştirin. Her bir plastik rondelanın dış kısmına birer adet çelik rondela yerleştirin (Şekil 21).
-
Alt bıçak yatağı cıvatalarını 27 ila 36 N∙m torkla sıkın.
-
Kilit somunlarını, çelik rondelaların uç boşluğunu alana fakat rondelaları elinizle döndüremeyene kadar sıkın. İç kısımdaki rondelalarda bir boşluk olabilir.
Important: Kilit somunlarını aşırı sıkmayın, aksi takdirde yan plakaları deforme edebilirler.
-
Yay gergisi somununu yay çökene kadar sıkın, ardından tekrar 1/2 tur gevşetin (Şekil 22).

-
Alt bıçağı silindire göre ayarlayın; bkz. Bileyleme, Ters Bileyleme veya Sökmeden Sonra Alt Bıçağı Ayarlama.
Alt Bıçağa Bakım Uygulanması
Alt Bıçağın Takılması
-
Alt bıçak yüzeyindeki pas, döküntü ve korozyonu giderin ve alt bıçak yüzeyine ince bir tabaka yağ sürün.
-
Vida dişlerini temizleyin.
-
Vidalara yağlayıcı madde sürün ve alt bıçağı alt bıçak yatağına takın.

-
2 dış vidayı 1 N∙m torkla sıkın.
-
Alt bıçağın tam ortasından çalışarak, vidaları 23 ila 28 N∙m torkla sıkın.

-
Alt bıçağı bileyin.
Silindirin Bileme için Hazırlanması
-
Bileme işleminden önce, tüm kesim ünitesi bileşenlerinin iyi durumda olduğunu kontrol edin ve varsa sorunları giderin.
-
Kesim silindirini aşağıdaki teknik özelliklere göre bilemek için, silindir bileme makinesi üreticisinin talimatlarını uygulayın.
Silindir Bileme Özellikleri Yeni Silindir Çapı 128,5 mm Silindir Çapı Servis Limiti 114,3 mm Bıçak Destek Bilemesi Açısı 30° ± 5° Bıçak Taban Genişliği 1,0 mm Bıçak Taban Genişliği Aralığı 0,76 ila 1,27 mm Silindir Çapı Konikliği Servis Limiti 0,25 mm
Silindire Destek Bilemesi Yapılması
Yeni silindirin taban genişliği 0,76 ila 1,27 mm, destek bilemesi açısı ise 30° derecedir.
Taban genişliği 3 mm'yi aşınca şunları yapın:
-
Taban genişliği 1,3 mm olana kadar tüm silindir bıçaklarına 30° derece destek bilemesi yapın (Şekil 25).

-
Silindire, <0,025 mm silindir taşması elde edilecek biçimde dairesel bileme yapın.
Note: Bu, taban genişliğinin biraz artmasına neden olacaktır.
-
Kesim ünitesini ayarlayın; bkz. kesim ünitesi Kullanma Kılavuzu.
Note: Silindir kenarı keskinliğinin ve alt bıçağın ömrünü uzatmak için, silindiri ve/veya alt bıçağı biledikten sonra 2 green kesin ve silindir-alt bıçak temasını tekrar kontrol edin (varsa çapaklar bu şekilde giderilecektir). Çapaklar silindir ile alt bıçak arasındaki mesafeyi bozabilir, bu da aşınmayı hızlandırabilir.
Alt Bıçak Bileme Özellikleri

| Standart alt bıçak destek bilemesi açısı | 3°minimum |
| Genişletilmiş alt bıçak destek bilemesi açısı | 7°minimum |
| Ön Açı Aralığı | 13° ila 17° |
Üst Bileme Açısının Kontrol Edilmesi
Alt bıçaklarınızı bilemek için kullandığınız açı çok önemlidir.
Bileme makinenizin ürettiği açıyı kontrol etmek için açı göstergesini (Toro Parça No. 131-6828) ve açı göstergesi montaj elemanı (Toro Parça No. 131-6829) kullanın ve varsa bileme makinesi hatalarını düzeltin.
-
Açı göstergesini, Şekil 27 bölümünde gösterildiği gibi alt bıçağın en alt kısmına yerleştirin.

-
Açı göstergesinde Alt Zero düğmesine basın.
-
Açı göstergesi montaj elemanını, mıknatısın kenarı alt bıçağın kenarıyla eşleşecek biçimde alt bıçağın kenarına yerleştirin (Şekil 28).
Note: Bu adımda, dijital gösterge 1 adımındaki ile aynı taraftan görülebiliyor olmalıdır.

-
Açı göstergesini, Şekil 28 şeklinde gösterildiği gibi montaj elemanına yerleştirin.
Note: Bu, bileme makinenizin ürettiği açıdır ve tavsiye edilen üst bileme açısının 2 derece içinde olmalıdır.
Kesim Ünitesine Ters Bileyleme Yapılması
Kesin ünitesine ters bileyleme yapmak için Access Ters Bileyleme Setini (Model No.: 139-4342) kullanın; setin Montaj Talimatlarında belirtilen talimatlara bakın. Bu seti almak için yetkili Toro distribütörünüze danışın.


her zaman dikkat edin.
Talimatlara uyulmaması bedensel yaralanmalara veya ölüme
yol açabilir.




