Manutenzione
Accesso all'apparato di taglio
Accedete alla controlama e al cilindro per effettuare la manutenzione come segue:
-
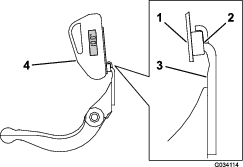
Con l’apparato di taglio rimosso dalla macchina, supportate la parte posteriore dell'apparato di taglio per evitare che i dadi sul retro delle viti di regolazione della barra di appoggio tocchino il piano di lavoro (Figura 4).

-
Con l’apparato di taglio collegato alla macchina, abbassate l’impugnatura del trattorino al suolo (Figura 5).

Controllo del punto di ingrassaggio dell'albero di trasmissione del cilindro
| Cadenza di manutenzione | Procedura di manutenzione |
|---|---|
| Ogni anno |
|
-
Rimuovete la bulloneria che fissa il gruppo di rotazione del cilindro alla piastra laterale (Figura 6).

-
Rimuovete i dadi dalla parte interna della piastra laterale (Figura 6).
-
Verificate la quantità di grasso rimanente all'interno dell'albero di trasmissione del cilindro (Figura 7).
Se la quantità di grasso non è sufficiente, aggiungetene di nuovo nella scanalatura maschio e femmina dell'albero.

-
Utilizzate le viti a brugola e i dadi rimossi in precedenza per fissare il gruppo di trasmissione del cilindro alla piastra laterale.
-
Montate l'apparato di taglio sulla motrice; fate riferimento al relativo Manuale dell'operatore.
Regolazione del contatto tra controlama e cilindro
Regolazione giornaliera della controlama
Prima dell’uso ogni giorno, o in base alle necessità, verificate il corretto contatto controlama/cilindro. Effettuate questa procedura anche se la qualità del taglio è accettabile.
Note: Questa procedura può essere eseguita con l'apparato di taglio installato sull'unità motrice.
-
Spegnete il trattorino.
-
Accedete all'apparato di taglio; fate riferimento a Accesso all'apparato di taglio.
-
Ruotate lentamente il cilindro in direzione contraria e verificate il contatto cilindro/controlama.
-
Se non risulta evidente alcun contatto, regolate la controlama nel modo seguente:
-
Ruotate le viti di regolazione della barra di appoggio in senso orario (Figura 8), uno scatto alla volta, fino ad avvertire e udire un leggero contatto.
Note: Le viti di regolazione della controlama sono dotate di denti di arresto che corrispondono a uno spostamento della controlama di 0,018 mm per ogni posizione indicizzata.

-
Inserite una lunga striscia di carta di verifica del taglio (n. cat. Toro 125-5610) tra il cilindro e la controlama, perpendicolarmente alla controlama (Figura 9), poi lentamente ruotate il cilindro in avanti: dovrebbe tagliare la carta; in caso contrario, ripetete i passaggi 1 e 2 finché non la taglia.
-
-
Se la resistenza del cilindro o il contatto sono eccessivi, dovete lappare, rimettere a nuovo la parte anteriore della controlama o levigare l'apparato di taglio per ottenere l'affilatura che consente di eseguire un taglio preciso (fate riferimento al Manuale per l'affilatura dei cilindri e dei tosaerba rotanti Toro, libretto n. 09168SL).
Important: È sempre preferibile un leggero contatto. Se non viene mantenuto un leggero contatto, i taglienti controlama/cilindro non si autoaffileranno sufficientemente e dopo un certo periodo di funzionamento risulteranno smussati. Se mantenete un contatto eccessivo, si accelererà l’usura della controlama/del cilindro, che causerà un’usura irregolare compromettendo la qualità del taglio.
Note: Sugli apparati di taglio eFlex il contatto tra cilindro e controlama ha un impatto significativo sul consumo di energia. Affinché le prestazioni di taglio e il consumo della batteria siano ottimali si consiglia di impostare un contatto molto leggero.
Note: Mentre le lame del cilindro continuano a girare contro la controlama, una leggera bava comparirà sulla superficie anteriore del tagliente su tutta la lunghezza della controlama. Occasionalmente ponete una lima sul bordo anteriore per eliminare questa bava e migliorare il taglio.Dopo un funzionamento prolungato, alla fine si formerà una cresta ad entrambe le estremità della controlama. Per garantire un funzionamento regolare, arrotondate o limate questi incavi con il tagliente della controlama.
-
Regolazione della controlama dopo la molatura, la lappatura o lo smontaggio
Seguite questa procedura durante la configurazione iniziale dell'apparato di taglio e dopo la levigatura, la lappatura o lo smontaggio del cilindro. Non si tratta di una regolazione quotidiana.
Note: Questa procedura può essere eseguita con l'apparato di taglio installato sull'unità motrice.
Note: Sugli apparati di taglio eFlex il contatto tra cilindro e controlama ha un impatto significativo sul consumo di energia. Affinché le prestazioni di taglio e il consumo della batteria siano ottimali si consiglia di impostare un contatto molto leggero.
-
Spegnete il trattorino.
-
Accedete all'apparato di taglio; fate riferimento a Accesso all'apparato di taglio.
-
Ruotate il cilindro in modo che una delle lame intersechi il tagliente della controlama tra la prima e la seconda testa della vite della controlama sul lato destro dell'apparato di taglio.
-
Tracciate un segno identificativo sulla lama nel punto in cui interseca il tagliente della controlama.
Note: Ciò faciliterà le regolazioni.
-
Inserite uno spessore da 0,05 mm tra la lama e il tagliente della controlama nel punto contrassegnato nel passaggio 4.
-
Ruotate la vite di regolazione della barra di appoggio destra (Figura 8) fino a quando non sentite una leggera pressione sullo spessore facendolo scorrere da lato a lato. Rimuovete lo spessore.
-
Dal lato sinistro dell'apparato di taglio, ruotate lentamente il cilindro in modo che la lama più vicina intersechi il tagliente della controlama tra la prima e la seconda testa della vite.
-
Ripetete i passaggi da 4 a 6 per il lato sinistro dell'apparato di taglio e la vite di regolazione della barra di appoggio sinistra.
-
Ripetete i passaggi 5 e 6 fino a quando non avvertite una leggera pressione nei punti di contatto sui lati sinistro e destro dell'apparato di taglio.
-
Per ottenere il contatto tra cilindro e controlama, ruotate ciascuna vite di regolazione della barra di appoggio in senso orario di 3 scatti.
Note: Ciascuno scatto sulla vite di regolazione della barra di appoggio sposta la controlama di 0,018 mm. Non serrate eccessivamente le viti di regolazione.Ogni volta che girate la vite di regolazione in senso orario, la controlama si avvicina al cilindro. Ogni volta che girate la vite di regolazione in senso antiorario, la controlama si allontana dal cilindro.
-
Inserite una lunga striscia di carta di verifica del taglio (n. cat. Toro 125-5610) tra il cilindro e la controlama, perpendicolarmente alla controlama (Figura 9), poi lentamente ruotate il cilindro in avanti: dovrebbe tagliare la carta; in caso contrario, ruotate ciascuna vite di regolazione della barra di appoggio di uno scatto e ripetete questo passaggio fino a quando la carta non viene tagliata.

Note: Se risulta evidente una resistenza del cilindro/un contatto eccessivo, potreste dover lappare, rettificare la parte anteriore della controlama o molare l'apparato di taglio per ottenere l'affilatura che consente di eseguire un taglio preciso (fate riferimento al Manuale per l'affilatura dei cilindri e dei tosaerba rotanti Toro, libretto n. 09168SL).
Preparazione dell'apparato di taglio in relazione alle condizioni del tappeto erboso
In base alla tabella seguente potrete individuare la controlama adatta in base alle condizioni del vostro tappeto erboso. Contattate il vostro distributore Toro autorizzato per l'acquisto di ulteriori controlame e rulli.
Fate riferimento a Regolazione della velocità di taglio per le istruzioni su come impostare la velocità di taglio corretta in base alle condizioni del tappeto erboso.
| Tabella di corrispondenza controlama/altezza di taglio consigliata | |
| Controlama | Altezza di taglio |
| Microcut EdgeMax (Standard) | 1,5–4,7 mm |
| Torneo EdgeMax (opzionale) | 3,1–12,7 mm |
| Microcut (opzionale) | 1,5–4,7 mm |
| Torneo (opzionale) | 3,1–12,7 mm |
| Microcut lungo (opzionale) | 1,5–4,7 mm |
| Torneo esteso (opzionale) | 3,1–12,7 mm |
| Taglio basso (opzionale) | 4,7–25,4 mm |
Regolazione dell'altezza di taglio
Regolate l'altezza di taglio che desiderate ottenere con il misuratore dell'altezza di taglio ed assicuratevi che il vostro apparato di taglio sia dotato della controlama più adatta a tale scopo; fate riferimento a Preparazione dell'apparato di taglio in relazione alle condizioni del tappeto erboso.
Regolazione dell'altezza del rullo posteriore
In base all'altezza di taglio desiderata regolate le staffe del rullo posteriore (Figura 10 o Figura 11) nella posizione bassa o alta:
-
Collocate il distanziale sopra la flangia di montaggio della piastra laterale (impostazione di fabbrica) se l'altezza di taglio è compresa tra 1,5 mm e 6 mm, come illustrato nella Figura 10.

-
Collocate il distanziale sotto la flangia di montaggio della piastra laterale se l'altezza di taglio è compresa tra 3 mm e 25 mm, come illustrato nella Figura 11.

-
Alzate l'apparato di taglio posteriore e inserite un blocco sotto la controlama.
-
Rimuovete i 2 dadi che fissano ogni staffa del rullo e ogni distanziale a ciascuna flangia di montaggio della piastra laterale.
-
Abbassate e allontanate il rullo e le viti dalle flange e dai distanziali di montaggio della piastra laterale.
-
Collocate i distanziali sulle viti al di sopra o al di sotto delle staffe del rullo, come opportuno (Figura 10 o Figura 11).
-
Fissate la staffa del rullo e i distanziali sulla parte inferiore delle flange di montaggio con i dadi precedentemente rimossi.
-
Controllate l'esattezza del contatto tra controlama e cilindro. Inclinate il tosaerba per accedere ai rulli anteriore e posteriore ed alla controlama.
Note: La posizione del rullo posteriore rispetto al cilindro viene controllata mediante le tolleranze di lavorazione dei componenti assemblati, pertanto non è necessario eseguire la messa in parallelo. È tuttavia possibile eseguire una certa regolazione, collocando l'apparato di taglio su un piano di riscontro ed allentando i bulloni di montaggio della piastra laterale (Figura 12). Regolate e serrate i bulloni a operazione conclusa.

Important: Ogni volta che dovete inclinare l'apparato di taglio per esporre la controlama o il cilindro, supportate la parte posteriore dell'apparato di taglio per evitare che i dadi sul retro delle viti di regolazione della barra di appoggio tocchino il piano di lavoro (Figura 4).
Regolazione dell'indicatore dell'altezza di taglio
Prima di regolare l'altezza di taglio, impostate l'indicatore dell'altezza di taglio nel modo seguente:
-
Allentate il dado sulla barra di misura e posizionate la vite di regolazione all'altezza di taglio opportuna (Figura 13).
Note: La distanza tra l'estremità inferiore della testa della vite e la parte frontale della barra corrisponde all'altezza di taglio.

-
Serrate il dado.
Regolazione dell'altezza di taglio
Il presente apparato di taglio è fornito di serie con la controlama taglio micro EdgeMax e una barra di appoggio standard. L'altezza di taglio effettiva dipende dalle precedenti configurazioni del tosaerba e dalle condizioni del tappeto erboso (ovvero dal tipo di rullo, dalla distanza tra il punto di contatto della controlama e l'asse verticale del cilindro, dalla morbidezza o rigidità dei green, dalla stagione). Impostate un'altezza di taglio iniziale 0,25–0,38 mm maggiore dell'impostazione precedente e regolatela a seconda delle condizioni.
Note: Per altezze di taglio superiori a 13 mm, montate il kit per altezze di taglio superiori.
Fate riferimento a Preparazione dell'apparato di taglio in relazione alle condizioni del tappeto erboso per scegliere la controlama più adatta all’altezza di taglio preferita.
-
Allentate i dadi di bloccaggio che fissano i bracci dell'altezza di taglio alle piastre laterali dell'apparato di taglio (Figura 14).

-
Agganciate la testa della vite della barra dell’indicatore dell’altezza di taglio sul lato destro del tagliente della controlama e appoggiate la parte posteriore della barra sul rullo posteriore (Figura 15).

-
Girate la vite di regolazione finché il rullo non tocca la parte anteriore della barra di misura.
-
Ripetete i passaggi 2 e per il lato sinistro.
-
Regolate entrambi i lati del rullo finché quest'ultimo non sarà completamente parallelo alla controlama.
Important: Quando la regolazione è corretta, i rulli anteriore e posteriore toccano la barra di misura e la vite tocca la controlama senza gioco. Ciò garantisce che l'altezza di taglio sia identica da ambo i lati della controlama.
-
Serrate i dadi di bloccaggio sui bracci dell’altezza di taglio per fissare la regolazione a sufficienza in modo da eliminare il gioco dalla rondella.
-
Verificate che l'impostazione dell'altezza di taglio sia corretta; ripetete questa procedura se necessario.
Regolazione della velocità di taglio
La velocità di taglio viene determinata dalle seguenti impostazioni della macchina:
-
Velocità del cilindro: la velocità del cilindro può essere regolata su alta o bassa; fate riferimento al Manuale dell'operatore del vostro trattorino.
-
Posizione della puleggia della trasmissione del cilindro: le pulegge della trasmissione del cilindro (22 e 24 denti) possono essere portate in 2 posizioni:
Note: La posizione della puleggia è impostata sulla POSIZIONE INFERIORE per impostazione di fabbrica.

Eseguite i seguenti passaggi per modificare la posizione delle pulegge.
-
Togliete il copricinghia per accedere alla cinghia (Figura 17).

-
Allentate il bullone del braccio di rinvio e ruotate il braccio (Figura 17) per allentare la tensione sulla cinghia.
-
Rimuovete la cinghia (Figura 17).
-
Allentate i dadi su tutte le pulegge, rimuovetele e utilizzate i bulloni per montarle nella configurazione da voi prescelta.

-
Serrate i dadi delle pulegge a una coppia compresa tra 37 e 45 N∙m.
-
Montate e tendete la cinghia applicando una coppia compresa tra 4 e 5 N∙m all'esagono interno del braccio di rinvio illustrato nella Figura 17.
-
Montate il bullone del braccio di rinvio e il paracinghia.
Regolazione della barra di scarico
Regolate la barra di scarico in modo da garantire che lo sfalcio venga completamente scaricato dall'area del cilindro, come qui di seguito:
Note: La barra è regolabile per compensare le varie condizioni del tappeto erboso. Avvicinatela al cilindro quando il tappeto erboso è molto asciutto, ed allontanatela dal cilindro quando il tappeto erboso è bagnato. Otterrete prestazioni ottimali quando la barra è parallela al cilindro. Regolatela dopo che avete affilato il cilindro su un'apposita mola.
-
Allentate le viti che fissano la barra superiore (Figura 19) all'apparato di taglio.

-
Inserite uno spessimetro da 1,5 mm tra la parte superiore del cilindro e la barra, quindi serrate le viti.
Important: Accertatevi che la distanza tra la barra e il cilindro sia identica lungo tutto il cilindro.
Revisione della barra di appoggio
Solo un meccanico appositamente addestrato deve effettuare la manutenzione della barra di appoggio e della controlama per evitare danni a cilindro, barra di appoggio o controlama. Se possibile, portate l'apparato di taglio dal distributore Toro di zona autorizzato per la manutenzione. Fate riferimento al Manuale di manutenzione del vostro trattorino per le istruzioni complete, strumenti speciali e schemi per la manutenzione della controlama. Se dovete rimuovere o montare la barra di appoggio da soli, di seguito sono fornite le istruzioni, così come le specifiche per la manutenzione della controlama.
Important: Seguite sempre le procedure per la controlama indicate nel vostro Manuale di manutenzione quando effettuate la manutenzione della controlama. Se il montaggio e l'affilatura della controlama vengono effettuati in modo non idoneo, cilindro, barra di appoggio o controlama potrebbero subire danni.
Rimozione della barra di appoggio
-
Ruotate la vite di regolazione della barra di appoggio in senso antiorario per allontanare la controlama dal cilindro (Figura 20).

-
Allentate il dado di tensione della molla, finché la rondella non sarà più in tensione contro la barra di appoggio (Figura 20).
-
Allentate il dado di bloccaggio riprodotto nella Figura 21 su ciascun lato della macchina.

-
Togliete tutti i bulloni della barra di appoggio perché quest'ultima possa essere tirata in giù e rimossa dall'apparato di taglio (Figura 21).
Tenete in considerazione le 2 rondelle di plastica e la rondella in acciaio su ciascuna estremità della barra di appoggio (Figura 21).
Montaggio della barra di appoggio
-
Montate la barra di appoggio posizionando i supporti di montaggio tra le rondelle e la vite di regolazione della barra di appoggio (Figura 20).
-
Fissate la barra di appoggio su ciascuna piastra laterale mediante gli appositi bulloni (dadi sui bulloni) e 3 rondelle (6 in tutto).
-
Collocate una rondella di nylon su ciascun lato del risalto della piastra laterale. Posizionate una rondella di acciaio all’esterno di ciascuna rondella di nylon (Figura 21).
-
Serrate i bulloni della barra di appoggio a un valore compreso tra 27 e 36 N∙m.
-
Serrate i dadi di bloccaggio fino a eliminare il gioco all'estremità delle rondelle in acciaio ma mantenendo la possibilità di ruotarle a mano. Le rondelle all’interno possono avere del gioco.
Important: Non serrate eccessivamente i dadi di bloccaggio, altrimenti devierete le piastre laterali.
-
Serrate il dado di tensionamento della molla finché questa non è a riposo, quindi allentatelo di mezzo giro (Figura 22).

-
Regolate la controlama rispetto al cilindro; fate riferimento a Regolazione della controlama dopo la molatura, la lappatura o lo smontaggio.
Manutenzione della controlama
Montaggio della controlama
-
Rimuovete la ruggine, il calcare e la corrosione dalla superficie della controlama e applicate un sottile strato di olio alla superficie della controlama.
-
Pulite i filetti delle viti.
-
Applicate un composto antigrippaggio sulle viti e montate la controlama sulla barra di appoggio.

-
Serrate le 2 viti esterne a una coppia di 1 N∙m.
-
Procedendo dal centro della controlama, serrate le viti a una coppia compresa tra 23 e 28 N∙m.

-
Rettificate la controlama.
Preparazione del cilindro per l'affilatura
-
Assicuratevi che tutti i componenti degli apparati di taglio siano in buone condizioni e correggete eventuali problemi prima della molatura.
-
Seguite le istruzioni del produttore della mola per cilindri per molare il cilindro di taglio in base alle seguenti specifiche.
Specifiche di affilatura del cilindro Nuovo diametro del cilindro 128,5 mm Limite di servizio del diametro del cilindro 114,3 mm Angolo di spoglia della lama 30° ± 5° Larghezza della superficie della lama 1,0 mm Intervallo delle larghezze della superficie della lama Da 0,76 a 1,27 mm Limite di servizio della rastrematura del diametro del cilindro 0,25 mm
Rettifica del cilindro
Il nuovo cilindro ha una larghezza di superficie compresa tra 0,76 e 1,27 mm e una rettifica di 30°.
Quando la larghezza della superficie diventa superiore a 3 mm, effettuate le seguenti operazioni:
-
Applicate un angolo di spoglia di 30° su tutte le lame del cilindro fino a quando la larghezza della superficie non è pari a 1,3 mm (Figura 25).

-
Molate a rotazione il cilindro per ottenere un'eccentricità del cilindro di <0,025 mm.
Note: Questo determina un leggero incremento della larghezza della superficie.
-
Regolate l'apparato di taglio; fate riferimento al Manuale dell'operatore del vostro apparato di taglio.
Note: Per estendere la longevità dell'affilatura del tagliente del cilindro e della controlama, dopo la molatura del cilindro e/o della controlama verificate di nuovo il contatto cilindro-controlama dopo il taglio di 2 green, dal momento che saranno rimosse eventuali bavature. Le bave possono creare un gioco scorretto tra cilindro e controlama, accelerando l'usura.
Specifiche di affilatura della controlama

| Angolo di spoglia della controlama standard | 3° minimo |
| Angolo di spoglia della controlama estesa | 7° minimo |
| Intervallo dell'angolo anteriore | Da 13° a 17° |
Verifica dell'angolo di molatura superiore
L'angolo che utilizzate per molare le vostre controlame è molto importante.
Utilizzate il goniometro (n. cat. Toro 131-6828) e il supporto del goniometro (n. cat. Toro 131-6829) per verificare l'angolo prodotto dalla vostra mola e, quindi, correggete eventuali imprecisioni della mola.
-
Posizionate il goniometro sul lato inferiore della controlama, come illustrato nella Figura 27.

-
Premete il pulsante Alt Zero sul goniometro.
-
Posizionate il supporto del goniometro sul tagliente della controlama, in modo che il bordo del magnete si accoppi con il tagliente della controlama (Figura 28).
Note: Durante questo passaggio, il display digitale deve essere visibile dallo stesso lato del passaggio 1.

-
Posizionate il goniometro sul supporto, come illustrato nella Figura 28.
Note: Questo è l'angolo prodotto dalla vostra mola e deve essere compreso entro 2 gradi dall'angolo di molatura superiore raccomandato.
Lappatura dell'apparato di taglio
Per la lappatura dell’apparato di taglio, utilizzate il kit lappatura di accesso (n. modello 139-4342); fate riferimento alle istruzioni operative nelle Istruzioni di installazione del kit. Contattate il vostro distributore Toro autorizzato per l'acquisto.


), che indica: Attenzione, Avvertenza o Pericolo
– “norme di sicurezza”. La mancanza di rispetto
delle presenti istruzioni può provocare infortuni o la morte.


