Kunnossapito
Leikkuuyksikön käsittely
Kelan vetoakselin rasvauskohdan tarkistus
| Huoltoväli | Huoltotoimenpide |
|---|---|
| Vuosittain |
|
-
Irrota kiinnitystarvikkeet, joilla kelan käyttökokoonpano on kiinnitetty sivulevyyn (Kuva 6).

-
Irrota mutterit sivulevyn sisäpuolelta (Kuva 6).
-
Tarkista kelan vetoakselin sisäpuoli (Kuva 7) jäljelle jääneen rasvan varalta.
Jos rasvaa ei näy riittävästi, lisää rasvaa uros- ja naarasura-akseliin.

-
Kiinnitä kelan käyttökokoonpano sivulevyyn aikaisemmin irrotetuilla kuusiokoloruuveilla ja muttereilla.
-
Asenna leikkuuyksikkö ajoyksikköön. Katso ajoyksikön käyttöopas.
Kiinteän terän ja kelan kosketuksen säätö
Kiinteän terän päivittäinen säätö
Ennen ruohonleikkuuta (päivittäin tai tarvittaessa) on tarkistettava, että kiinteän terän ja kelan kosketus on oikea. Suorita tämä toimenpide, vaikka leikkuujäljen laatu on hyväksyttävä.
Note: Tämä toimenpide voidaan suorittaa leikkuuyksikkö asennettuna ajoyksikköön.
-
Sammuta ajoyksikön moottori.
-
Siirry käsittelemään leikkuuyksikköä. Katso kohta Leikkuuyksikön käsittely.
-
Pyöritä kelaa varovasti vastakkaiseen suuntaan ja kuuntele samalla, koskettaako kela kiinteään terään.
-
Jos kosketusta ei ole, säädä kiinteää terää seuraavalla tavalla:
-
Käännä runkopalkin säätöruuveja myötäpäivään (Kuva 8) yksi pykälä kerrallaan, kunnes lievä kosketus tuntuu ja kuuluu.
Note: Runkopalkin säätöruuvien hampaat vastaavat kiinteän terän 0,018 mm:n liikettä kussakin osoitetussa asennossa.

-
Aseta pitkä liuska leikkaustuloksen testauspaperia (Toro-osanro 125-5610) kelan ja kiinteän terän väliin kohtisuoraan kiinteän terän suhteen (Kuva 9). Kierrä sitten kelaa hitaasti eteenpäin. Sen pitäisi leikata paperia. Jos näin ei tapahdu, toista vaiheet 1 ja 2, kunnes kela leikkaa paperia.
-
-
Jos kosketus / kelan vastus on voimakas, voidaan joko läpätä, hioa kiinteän terän etureuna tai hioa leikkuuyksikkö, kunnes saadaan tarkassa leikkuussa tarvittavat terävät särmät (katso Toron opas Sharpening Reel and Rotary Mowers, lomakenro 09168SL).
Important: Suosittelemme jatkuvaa kevyttä kosketusta. Jos kevyttä kosketusta ei säilytetä, kiinteän terän / kelan särmät eivät teroitu riittävästi, ja leikkuusärmät tylsistyvät jonkin ajan kuluttua. Jos kosketus on jatkuvasti liian voimakas, kiinteä terä / kela kuluvat nopeammin ja epätasaisesti, jolloin leikkuulaatu saattaa heikentyä.
Note: eFlex-leikkuuyksiköissä kelan ja kiinteän terän kosketus vaikuttaa huomattavasti energiankulutukseen. Erittäin kevyt kosketus takaa optimaalisen leikkuutuloksen ja akun keston.
Note: Kun kelaterät käyvät jatkuvasti kiinteää terää vasten, leikkuusärmän etupinnalle muodostuu jäystettä kiinteän terän koko pituudelle. Leikkuujälkeä voi parantaa poistamalla ajoittain jäysteet etureunasta viilaamalla.Pitkään jatkuneen käytön jälkeen kiinteän terän molempiin päihin muodostuu harjanne. Pyöristä tai hio nämä pykälät samalle tasolle kiinteän terän leikkuusärmän kanssa, jotta laite toimisi tasaisesti.
-
Kiinteän terän säätö hionnan, läppäyksen tai purkamisen jälkeen
Noudata näitä ohjeita leikkuuyksikön alkuasennuksen ja kelan hionnan, läppäyksen tai purkamisen jälkeen. Tämä ei ole päivittäinen säätö.
Note: Tämä toimenpide voidaan suorittaa leikkuuyksikkö asennettuna ajoyksikköön.
Note: eFlex-leikkuuyksiköissä kelan ja kiinteän terän kosketus vaikuttaa huomattavasti energiankulutukseen. Erittäin kevyt kosketus takaa optimaalisen leikkuutuloksen ja akun keston.
-
Sammuta ajoyksikön moottori.
-
Siirry käsittelemään leikkuuyksikköä. Katso kohta Leikkuuyksikön käsittely.
-
Käännä kelaa siten, että yksi teristä ylittää kiinteän terän särmän ensimmäisen ja toisen kiinteän terän ruuvin kannan välissä leikkuuyksikön oikealla puolella.
-
Merkitse terä kohdassa, jossa se ylittää kiinteän terän särmän.
Note: Tämä helpottaa myöhempien säätöjen tekemistä.
-
Aseta 0,05 mm:n välilevy merkityn terän ja kiinteän terän särmän väliin kohdassa, joka on merkitty vaiheessa 4.
-
Käännä runkopalkin oikeanpuoleista säätöruuvia, kunnes tunnet kevyen paineen välilevyssä, kun liikutat sitä sivulta toiselle (Kuva 8). Irrota välilevy.
-
Siirry leikkuuyksikön vasemmalle puolelle ja käännä kelaa hitaasti siten, että lähin terä ylittää kiinteän terän särmän ensimmäisen ja toisen ruuvin kannan välistä.
-
Toista vaiheet 4–6 leikkuuyksikön vasemmalla puolella ja runkopalkin vasemmanpuoleiselle säätöruuville.
-
Toista vaiheet 5 ja 6, kunnes tunnet kontaktikohdissa kevyen vastuksen sekä leikkuuyksikön oikealla että vasemmalla puolella.
-
Luo kelan ja kiinteän terän välille kevyt kosketus kääntämällä kumpaakin runkopalkin säätöruuvia myötäpäivään kolme pykälää.
Note: Yksi runkopalkin säätöruuvin pykälä liikuttaa kiinteää terää 0,018 mm. Älä kiristä säätöruuveja liikaa.Säätöruuvin myötäpäivään kääntäminen siirtää kiinteän terän reunaa lähemmäksi kelaa. Säätöruuvin vastapäivään kääntäminen siirtää kiinteän terän reunaa kauemmaksi kelasta.
-
Aseta pitkä liuska leikkaustuloksen testauspaperia (Toro-osanro 125-5610) kelan ja kiinteän terän väliin kohtisuoraan kiinteän terän suhteen (Kuva 9). Kierrä sitten kelaa hitaasti eteenpäin. Sen pitäisi leikata paperia. Jos näin ei tapahdu, käännä jokaista runkopalkin säätöruuvia myötäpäivään yhden pykälän verran ja toista tämä vaihe, kunnes kela leikkaa paperia.

Note: Jos kosketus tai kelan vastus on voimakas, voidaan joko läpätä, hioa kiinteän terän etureuna tai hioa leikkuuyksikkö, kunnes saadaan tarkassa leikkuussa tarvittavat terävät särmät (katso Toron opas Sharpening Reel and Rotary Mowers, lomakenro 09168SL).
Leikkuuyksikön varustelu nurmiolosuhteiden mukaan
Määritä nurmiolosuhteiden mukainen kiinteä terä seuraavan taulukon mukaan. Hanki lisää kiinteitä teriä ja rullia ottamalla yhteys valtuutettuun Toro-jälleenmyyjään.
Kohdassa Leikkuunopeuden säätö on ohjeet nurmiolosuhteiden mukaisen leikkuunopeuden asetusta varten.
| Leikkuukorkeudelle suositeltu kiinteä terä | |
| Kiinteä terä | Leikkuukorkeus |
| Edgemax-mikroleikkuu (vakio) | 1,5–4,7 mm |
| Edgemax Tournament (lisävaruste) | 3,1–12,7 mm |
| Mikroleikkuu (lisävaruste) | 1,5–4,7 mm |
| Tournament (lisävaruste) | 3,1–12,7 mm |
| Pitkä mikroleikkuu (lisävaruste) | 1,5–4,7 mm |
| Pitkä Tournament (lisävaruste) | 3,1–12,7 mm |
| Matalaleikkuu (lisävaruste) | 4,7–25,4 mm |
Leikkuukorkeuden säädön suoritus
Aseta leikkuukorkeus haluttuun korkeuteen leikkuukorkeuden mittarilla ja varmista, että leikkuuyksikkö on varustettu kiinteällä terällä, joka sopii parhaiten haluttuun leikkuukorkeuteen. Katso kohta Leikkuuyksikön varustelu nurmiolosuhteiden mukaan.
Takarullan korkeuden säätö
Säädä takarullan kannattimet (Kuva 10 tai Kuva 11) ylempään tai alempaan asentoon halutun leikkuukorkeuden mukaan:
-
Aseta välikappale sivulevyn kiinnityslaipan yläpuolelle (tehdasasetus), kun leikkuukorkeusasetus on 1,5–6 mm kuvan mukaisesti (Kuva 10).

-
Aseta välikappale sivulevyn kiinnityslaipan alapuolelle, kun leikkuukorkeusasetus on 3–25 mm kuvan mukaisesti (Kuva 11).

-
Nosta leikkuuyksikön takaosa ja aseta kiinteän terän alle puukappale.
-
Irrota kaksi mutteria, joilla rullan kannattimet ja välikappaleet on kiinnitetty sivulevyn kiinnityslaippoihin.
-
Laske rulla ja ruuvit sivulevyn kiinnityslaipoista ja välikappaleista.
-
Aseta välikappaleet tarpeen mukaan rullan kannattimien ylä- tai alapuolella oleviin ruuveihin (Kuva 10 tai Kuva 11).
-
Kiinnitä rullan kannatin ja välikappaleet kiinnityslaippojen alapuolelle aiemmin irrotetuilla muttereilla.
-
Varmista, että kiinteän terän kosketus kelaan on säädetty oikein. Kallista ruohonleikkuria, jotta etu- ja takarullat ja kiinteä terä tulevat näkyviin.
Note: Takarullan kohdistus kelaan määräytyy kokoonpanon osien työstötoleranssien mukaan, ja kohdistusta ei tarvitse tehdä. Vähäisiä säätöjä voidaan tehdä asettamalla leikkuuyksikkö tasaiselle alustalle ja löysäämällä sivulevyn kiinnityspultteja (Kuva 12). Säädä ja kiristä pultit lopuksi.

Important: Jos leikkuuyksikköä on kallistettava kiinteän terän tai kelan esiin saamiseksi, tue leikkuuyksikön takaosa siten, että runkopalkin säätöruuvien mutterit eivät nojaa työpintaan (Kuva 4).
Leikkuukorkeuden mittarin säätö
Aseta leikkuukorkeuden mittari seuraavalla tavalla ennen leikkuukorkeuden säätöä:
-
Löysää mittapalkin mutteria ja aseta säätöruuvi haluamaasi leikkuukorkeuteen (Kuva 13).
Note: Ruuvin kannan alaosan ja palkin etupuolen välinen etäisyys ilmaisee leikkuukorkeuden.

-
Kiristä mutteri.
Leikkuukorkeuden säätö
Leikkuuyksikössä on kiinteä Edgemax-mikroleikkuuterä ja normaali runkopalkki vakiovarusteina. Tehokas leikkuukorkeus riippuu aikaisemmista leikkurimäärityksistä ja nurmen olosuhteista (eli rullatyypistä, kiinteän terän sijainnista keskilinjaan nähden, nurmen pehmeydestä tai kiinteydestä ja vuodenajasta). Aseta aloitusleikkuukorkeus 0,25–0,38 mm edellistä viheriöleikkuriasetusta korkeammalle ja säädä olosuhteiden mukaan.
Note: Jos leikkuukorkeus on yli 13 mm, asenna suuren leikkuukorkeuden välineet.
Valitse halutulle leikkuukorkeudelle sopivin kiinteä terä kohdan Leikkuuyksikön varustelu nurmiolosuhteiden mukaan avulla.
-
Löysää lukkomuttereita, jotka kiinnittävät leikkuukorkeusvarret leikkuuyksikön sivulevyihin (Kuva 14).

-
Kiinnitä leikkuukorkeuden mittapalkin ruuvin kanta kiinteän terän leikkuusärmään oikealle puolelle ja aseta palkin takapää takarullalle (Kuva 15).

-
Pyöritä säätöruuvia, kunnes rulla koskettaa mittapalkin etuosaa.
-
Toista vaiheet 2 ja vasemmalle puolelle.
-
Säädä rullan molempia päitä, kunnes koko rulla on yhdensuuntainen kiinteän terän kanssa.
Important: Kun asetus on oikein, etu- ja takarullat koskettavat mittapalkkia ja ruuvi on tiiviisti kiinteää terää vasten. Näin varmistetaan, että leikkuukorkeus on sama kiinteän terän kummassakin päässä.
-
Lukitse säätö kiristämällä leikkuukorkeusvarsien lukkomuttereita sen verran, että aluslaatassa ei ole välystä.
-
Varmista, että leikkuukorkeuden asetus on oikea. Toista menettely tarvittaessa.
Leikkuunopeuden säätö
Leikkuunopeus määräytyy seuraavien koneen asetusten mukaan:
-
Kelanopeus: Kelan nopeuden voi säätää korkeaksi tai matalaksi. Katso ajoyksikön käyttöopas.
-
Kelan käyttöpyörän asento: Kelan käyttöpyörät (22-hampainen ja 24-hampainen) voi asettaa kahteen asentoon:
Note: Hihnapyörän asento on asetettu tehtaalla MATALA-asentoon.

Jos haluat säätää hihnapyörien asentoa, toimi seuraavien vaiheiden mukaisesti:
-
Irrota hihnasuojus, jotta saat hihnan näkyviin (Kuva 17).

-
Vapauta hihnan jännitys löysäämällä kiristinpyörän varren pulttia ja kiertämällä kiristinpyörän vartta (Kuva 17).
-
Irrota hihna (Kuva 17).
-
Löysää kunkin hihnapyörän mutteri, irrota hihnapyörät ja asenna hihnapyörät haluttuun kokoonpanoon muttereilla.

-
Kiristä hihnapyörien mutterit momenttiin 37–45 N·m.
-
Asenna hihna ja kiristä hihna käyttämällä momenttia 4–5 N·m kiristinpyörän varren sisäiseen kuusiokoloon kuvan mukaisesti (Kuva 17).
-
Kiristä kiristinpyörän varren pultti ja asenna hihnasuojus.
Leikkuutangon säätö
Säädä leikkuutanko seuraavasti, jotta leikkuujätteet poistuisivat siististi kelan alueelta:
Note: Tankoa voidaan säätää vastaamaan nurmen olosuhteissa tapahtuvia muutoksia. Tanko on säädettävä lähemmäs kelaa, kun nurmi on erittäin kuivaa. Vastaavasti tanko on säädettävä kauemmas kelasta, kun nurmi on märkää. Tangon on oltava yhdensuuntainen kelan kanssa, jotta lopputulos olisi paras mahdollinen. Säädä se, kun kela on teroitettu hiomalla.
-
Löysää ruuveja, jotka kiinnittävät ylätangon leikkuuyksikköön (Kuva 19).

-
Aseta 1,5 mm:n rakotulkki kelan yläosan ja tangon väliin ja kiristä ruuvit.
Important: Varmista, että tangon ja kelan etäisyys pysyy samana koko kelan pituudelta.
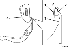
Runkopalkin huolto
Vain asianmukaisesti koulutettu mekaanikko saa huoltaa runkopalkin ja kiinteän terän, jotta kela, runkopalkki tai kiinteä terä eivät vaurioidu. Leikkuuyksikkö on paras huollattaa valtuutetulla Toro-jälleenmyyjällä. Kattavat ohjeet, erikoistyökalut ja kaaviot kiinteän terän huoltoon ovat ajoyksikön huolto-oppaassa. Jos runkopalkki on irrotettava tai koottava itse, alla on tähän ohjeet sekä lisäksi kiinteän terän huoltotiedot.
Important: Noudata huolto-oppaan kiinteän terän huoltomenettelyä sitä huollettaessa. Jos kiinteää terää ei asenneta ja hiota oikein, kela, runkopalkki tai kiinteä terä saattavat vaurioitua.
Runkopalkin irrotus
-
Käännä runkopalkin säätöruuvia vastapäivään, jotta kiinteä terä siirtyy etäämmälle kelasta (Kuva 20).

-
Löysää jousen kiristysmutteria, kunnes aluslaatta ei ole enää painunut runkopalkkia vasten (Kuva 20).
-
Löysää lukkomutteria koneen molemmilta puolilta (Kuva 21).

-
Irrota kaikki runkopalkin pultit, jotta runkopalkki voidaan vetää alaspäin ja irrottaa leikkuuyksiköstä (Kuva 21).
Ota talteen kaksi muovista aluslaattaa ja yksi teräsaluslaatta runkopalkin kummastakin päästä (Kuva 21).
Runkopalkin asennus
-
Asenna runkopalkki asettamalla asennuskorvakkeet aluslaattojen ja runkopalkin säätöruuvien väliin (Kuva 20).
-
Kiinnitä runkopalkki molempiin sivulevyihin runkopalkin pulteilla (pulteissa mutterit) ja kolmella aluslaatalla (kuusi yhteensä).
-
Aseta nailoninen aluslaatta sivulevyn keskiön kummallekin puolelle. Aseta teräksinen aluslaatta jokaisen nailonisen aluslaatan ulkopuolelle (Kuva 21).
-
Kiristä runkopalkin pultit momenttiin 27–36 N m.
-
Kiristä lukkomuttereita, kunnes teräsaluslaattojen päittäisvälys katoaa, mutta niitä voidaan kääntää käsin. Sisäpuolella olevissa aluslaatoissa saa olla rako.
Important: Älä kiristä lukkomuttereita liikaa, sillä muuten sivulevyt voivat taipua.
-
Kiristä jousen kiristysmutteria, kunnes jousi on painunut kokoon, ja löysää sitten mutteria puoli kierrosta (Kuva 22).

-
Säädä kiinteä terä kelaan. Katso kohta Kiinteän terän säätö hionnan, läppäyksen tai purkamisen jälkeen.
Kiinteän terän huolto
Kiinteän terän asennus
-
Poista ruoste, karsta ja korroosio runkopalkin pinnasta ja levitä ohut kerros öljyä runkopalkin pinnalle.
-
Puhdista ruuvikierteet.
-
Levitä ruuveihin lukkiintumisen estoainetta ja asenna kiinteä terä runkopalkkiin.

-
Kiristä kaksi ulompaa ruuvia momenttiin 1 N·m.
-
Aloita kiinteän terän keskeltä ja kiristä ruuvit momenttiin 23–28 N·m.

-
Hio kiinteä terä.
Kelan valmistelu hiomista varten
-
Varmista, että kaikki leikkuuyksikön osat ovat kunnossa, ja korjaa mahdolliset ongelmat ennen hiomista.
-
Noudata kelahiomakoneen valmistajan ohjeita ja hio leikkuukela seuraavien määritysten mukaan.
Kelan hiomistiedot Uusi kelan läpimitta 128,5 mm Kelan läpimitan huoltoraja 114,3 mm Terän takakulma 30° ± 5° Terän kierreleveys 1,0 mm Terän kierreleveyden alue 0,76–1,27 mm Kelan läpimitan kaventuman huoltoraja 0,25 mm
Kelan takatahkoaminen
Uudessa kelassa on 0,76–1,27 mm:n kierreleveys ja 30 asteen takatahkous.
Kun kierreleveys on suurempi kuin 3 mm, on tehtävä seuraavat toimenpiteet:
-
Tee kaikkiin kelan lehtiin 30 asteen takatahkous, kunnes kierreleveys on 1,3 mm (Kuva 25).

-
Hio kelaa, kunnes sen jättö on <0,025 mm.
Note: Tämä kasvattaa hieman kierreleveyttä.
-
Säädä leikkuuyksikkö. Katso lisätietoja leikkuuyksikön käyttöoppaasta.
Note: Kelan ja kiinteän terän leikkuusärmän pysymistä terävänä voi pidentää tarkistamalla kelan ja/tai kiinteän terän hionnan jälkeen kelan ja kiinteän terän kosketuksen uudelleen kahden viheriön leikkaamisen jälkeen. Tämä poistaa mahdolliset jäysteet. Jäysteet voivat aiheuttaa virheellisen kelan ja kiinteän terän välyksen ja siten nopeuttaa kulumista.
Kiinteän terän hiomistiedot

| Vakiomallisen kiinteän terän takakulma | Vähintään 3° |
| Jatketun kiinteän terän takakulma | Vähintään 7° |
| Etukulman alue | 13–17° |
Yläosan hiontakulman tarkistus
Kiinteän terän hiontakulma on erittäin tärkeä.
Hiontalaitteen kulma on tarkistettava kulman osoittimella (Toro-osanro 131-6828) ja kulman osoittimen kiinnittimellä (Toro-osanro 131-6829) ja mahdollinen epätarkkuus on korjattava.
-
Aseta kulman osoitin kiinteän terän alaosaan kuvan mukaisesti (Kuva 27).

-
Paina kulman osoittimen Alt Zero -painiketta.
-
Aseta kulman osoittimen kiinnitin kiinteän terän reunaan siten, että magneetin reuna kiinnittyy kiinteän terän reunaan (Kuva 28).
Note: Digitaalinäytön tulee näkyä samalta puolelta tämän vaiheen aikana kuin vaiheessa 1.

-
Aseta kulman osoitin kiinnittimeen kuvan mukaisesti (Kuva 28).
Note: Tämä on hiontalaitteen kulma, joka saa poiketa enintään kaksi astetta suositellusta yläosan hiontakulmasta.
Leikkuuyksikön läppäys
Leikkuuyksikön läppäyksessä voidaan käyttää Access-läppäyssarjaa (mallinro 139-4342). Lisätietoja on sarjan asennusohjeissa. Hanki sarja ottamalla yhteys valtuutettuun Toro-jälleenmyyjään.


, joka tarkoittaa varoitusta,
vaaraa tai hengenvaaraa – henkilöturvallisuusohjeet. Ohjeiden
noudattamatta jättäminen saattaa johtaa henkilövahinkoon
tai kuolemaan.




