Konserwacja
Dostęp do zespołu tnącego
Aby przeprowadzić konserwację, uzyskaj dostęp do noża dolnego i wrzeciona:
-
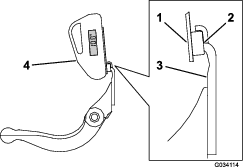
Po zdemontowaniu zespołu tnącego z maszyny, podeprzyj tylną część zespołu tnącego tak, aby nakrętki śrub regulacyjnych na tylnej części listwy noża dolnego nie opierały się o powierzchnię roboczą (Rysunek 4).

-
Po zamontowaniu zespołu tnącego na maszynie opuść dźwignię jednostki trakcyjnej na podłoże (Rysunek 5).

Sprawdzanie punktu smarowania wału napędowego wrzeciona
| Częstotliwość serwisowania | Procedura konserwacji |
|---|---|
| Co rok |
|
-
Odkręć elementy mocujące zespół napędu wrzeciona do płyty bocznej (Rysunek 6).

-
Odkręć nakrętki od wnętrza płyty bocznej (Rysunek 6).
-
Sprawdź, czy w środku wału napędowego wrzeciona (Rysunek 7) nie pozostaje smar.
Jeżeli nie widać odpowiedniej ilości smaru, dodaj smaru do męskiej i żeńskiej części wału wielowypustowego.

-
Zamocuj zespół napędu wrzeciona do płyty bocznej z wykorzystaniem odkręconych wcześniej śrub imbusowych i nakrętek.
-
Zamontuj zespół tnący w jednostce jezdnej, patrz instrukcja obsługi jednostki jezdnej.
Regulacja siły docisku noża dolnego do wrzeciona
Nóż dolny należy regulować każdego dnia
Każdego dnia przed koszeniem lub w razie potrzeby należy sprawdzić, czy nóż dolny prawidłowo styka się z wrzecionem. Tą kontrolę przeprowadzaj również wtedy, gdy jakość koszenia jest zadowalająca.
Note: Procedurę można wykonać, gdy zespół tnący zamontowany jest na jednostce jezdnej.
-
Wyłącz jednostkę jezdną.
-
Uzyskaj dostęp do zespołu tnącego, patrz rozdział Dostęp do zespołu tnącego.
-
Powoli obracaj wrzeciono w odwrotnym kierunku i nasłuchuj dźwięku wydawanego przy kontakcie wrzeciona z nożem dolnym.
-
Jeżeli nie da się poza wszelką wątpliwość stwierdzić kontaktu noża z wirnikiem, należy przeprowadzić regulację noża dolnego w sposób opisany poniżej.
-
Obracaj śruby regulacyjne noża dolnego w prawo (Rysunek 8), po jednym kliknięciu na raz, aż da się odczuć i będzie słychać lekki docisk.
Note: Śruby regulacyjne posiadają zapadki w pozycjach odpowiadających przesunięciu noża dolnego o 0,018 mm.

-
Wsuń długi pasek papieru do testu cięcia (część zamienna Toro o numerze katalogowym 125-5610) między wrzeciono a nóż dolny, prostopadle do jego krawędzi (Rysunek 9), a następnie powoli przekręcaj wrzeciono w kierunku do przodu, pasek papieru powinien zostać przecięty. Jeśli to nie nastąpi, powtórz kroki 1 oraz 2 aż do uzyskania przecięcia papieru.
-
-
Jeżeli występuje nadmierny docisk noża do wrzeciona lub opór przy obracaniu wrzeciona, konieczne będzie ostrzenie wsteczne, ponowne zlicowanie przedniej krawędzi noża dolnego lub przeszlifowanie jednostki tnącej w celu uzyskania ostrych krawędzi niezbędnych do precyzyjnego cięcia. Procedura jest opisana w Instrukcji ostrzenia kosiarek wrzecionowych i rotacyjnych Toro, Formularz nr 09168SL.
Important: Zawsze preferowany jest lekki docisk. Jeżeli nie zostanie zachowany lekki docisk, krawędzie noża dolnego/ostrzy wrzeciona nie będą się samoczynnie ostrzyć, co po pewnym czasie będzie skutkować stępieniem krawędzi tnących. Jeżeli docisk będzie zbyt duży, nastąpi przyśpieszone zużycie noża dolnego/ostrzy wrzeciona z możliwością nierównomiernego zużycia, co będzie miało negatywny wpływ na jakość koszenia.
Note: W przypadku jednostek tnących eFlex styczność wrzeciona i noża dolnego ma znaczący wpływ na zużycie energii. Bardzo niewielki docisk pozwoli uzyskać najlepszą wydajność koszenia i najniższe zużycie energii elektrycznej.
Note: W miarę przesuwania się ostrzy wrzeciona wzdłuż noża dolnego na całej długości powierzchni przedniej krawędzi tnącej noża dolnego pojawią się niewielkie zadziory. Okresowe usunięcie tych zadziorów za pomocą pilnika pozwoli poprawić jakość koszenia.Po dłuższym okresie eksploatacji przy obu końcach noża dolnego powstaną niewielkie uskoki. Aby zapewnić płynne działanie, występy te należy zaokrąglić lub spiłować na równo z krawędzią tnącą noża dolnego.
-
Regulacja noża dolnego po szlifowaniu, ostrzeniu na obrotach wstecznych lub demontażu
Zastosuj tę procedurę po pierwszym ustawieniu jednostki tnącej oraz po szlifowaniu, ostrzeniu na obrotach wstecznych lub demontażu wrzeciona. Nie stanowi ona codziennej czynności regulacyjnej.
Note: Procedurę można wykonać, gdy zespół tnący zamontowany jest na jednostce jezdnej.
Note: W przypadku jednostek tnących eFlex styczność wrzeciona i noża dolnego ma znaczący wpływ na zużycie energii. Bardzo niewielki docisk pozwoli uzyskać najlepszą wydajność koszenia i najniższe zużycie energii elektrycznej.
-
Wyłącz jednostkę jezdną.
-
Uzyskaj dostęp do zespołu tnącego, patrz rozdział Dostęp do zespołu tnącego.
-
Obróć wrzeciono, aby ostrze przechodziło między łbami pierwszej i drugiej śruby noża dolnego po prawej stronie zespołu tnącego.
-
Nanieś znak na to ostrze w miejscu, w którym przechodzi obok krawędzi noża dolnego.
Note: Ułatwi to późniejsze regulacje.
-
Wsuń podkładkę o wymiarze 0,05 mm między oznaczone ostrze a krawędź noża dolnego w punkcie, w którym oznaczone ostrze przechodzi przez krawędź noża dolnego 4.
-
Obróć prawą śrubę regulacyjną noża dolnego (Rysunek 8) do momentu, aż poczujesz lekki opór na podkładce przy przesuwaniu jej z jednej strony na drugą. Zdemontuj podkładkę.
-
Odnośnie do lewej strony zespołu tnącego, powoli obróć wrzeciono tak, aby najbliższe ostrze przechodziło przez krawędź noża dolnego między łbami pierwszej i drugiej śruby.
-
Powtórz kroki od 4 do 6 dla lewej strony zespołu tnącego i lewej śruby regulacyjnej listwy noża dolnego.
-
Powtarzaj kroki 5 i 6 do momentu, aż poczujesz lekki opór w miejscach styku po lewej i prawej stronie zespołu tnącego.
-
Aby uzyskać lekką styczność między wrzecionem a nożem dolnym, obróć każdą śrubę regulacyjną noża dolnego w prawo o 3 kliknięcia.
Note: Każde kliknięcie śruby regulacyjnej listwy noża dolnego przesuwa nóż dolny o 0,018 mm. Nie dokręcaj śrub regulacyjnych zbyt mocno.Obracanie śruby regulacyjnej w kierunku zgodnym z kierunkiem ruchu wskazówek zegara przesuwa krawędź noża dolnego bliżej wrzeciona. Obracanie śruby regulacyjnej w kierunku przeciwnym do kierunku ruchu wskazówek zegara odsuwa krawędź noża dolnego od wrzeciona.
-
Wsuń długi pasek papieru do testu cięcia (część zamienna Toro o numerze katalogowym 125-5610) między wrzeciono a nóż dolny, prostopadle do jego krawędzi (Rysunek 9), a następnie powoli przekręcaj wrzeciono w kierunku do przodu, pasek papieru powinien zostać przecięty. Jeśli to nie nastąpi, przekręć każdą ze śrub regulacyjnych noża dolnego w prawo o jedno kliknięcie i powtarzaj sprawdzanie aż do uzyskania przecięcia papieru.

Note: W razie zauważenia nadmiernego docisku noża do wrzeciona lub oporu przy obracaniu wrzeciona konieczne będzie ostrzenie na obrotach wstecznych, ponowne zlicowanie przedniej krawędzi noża dolnego lub przeszlifowanie zespołu tnącego w celu uzyskania ostrych krawędzi niezbędnych do precyzyjnego cięcia (zapoznaj się z Instrukcją ostrzenia kosiarek wrzecionowych i rotacyjnych Toro, Formularz nr 09168SL).
Regulacja zespołu tnącego względem uwarunkowań murawy
Korzystając z poniższej tabeli określ odpowiedni nóż dolny, który odpowiada warunkom murawy. Skontaktuj się z autoryzowanym dystrybutorem firmy Toro, aby nabyć dodatkowe noże dolne i rolki.
Instrukcje dotyczące ustawiania odpowiedniego tempa przycinania w zależności od stanu darni opisano w Regulacja tempa koszenia.
| Tabela noży dolnych/wysokości koszenia | |
| Nóż dolny | Wysokość koszenia |
| Edgemax Micro-cut (część standardowa) | od 1,5 mm do 4,7 mm |
| EdgeMax Tournament (opcjonalnie) | od 3,1 mm do 12,7 mm |
| Micro-cut (opcjonalnie) | od 1,5 mm do 4,7 mm |
| Tournament (opcjonalnie) | od 3,1 mm do 12,7 mm |
| Extended Micro-cut (opcjonalnie) | od 1,5 mm do 4,7 mm |
| Extended Tournament (opcjonalnie) | od 3,1 mm do 12,7 mm |
| Low-cut (opcjonalnie) | od 4,7 mm do 25,4 mm |
Ustawianie wysokości koszenia
Ustaw wysokość koszenia na wybraną wysokość za pomocą wskaźnika wysokości koszenia. Dopilnuj, aby zespół tnący był wyposażony w nóż dolny najlepiej dostosowany do wybranej wysokości koszenia, patrz Regulacja zespołu tnącego względem uwarunkowań murawy.
Regulacja wysokości tylnej rolki
W zależności od pożądanego zakresu wysokości koszenia uchwyty tylnej rolki (Rysunek 10 lub Rysunek 11) należy ustawić w niskim lub wysokim położeniu:
-
Umieść podkładkę dystansową nad kołnierzem montażowym płyty bocznej (ustawienie fabryczne) w sposób przedstawiony na Rysunek 10, aby uzyskać zakres wysokości cięcia od 1,5 mm do 6 mm.

-
Umieść podkładkę dystansową pod kołnierzem montażowym płyty bocznej w sposób przedstawiony na Rysunek 11, aby uzyskać zakres wysokości cięcia od 3 mm do 25 mm.

-
Unieś tylną część jednostki tnącej i podłóż klocek pod nóż dolny.
-
Odkręć 2 nakrętki mocujące każdy uchwyt rolki i zdejmij podkładki dystansowe po obu stronach kołnierza montażowego płyty bocznej.
-
Opuść rolkę i usuń śruby z kołnierzy montażowych i podkładek dystansowych płyty bocznej.
-
Umieść podkładki dystansowe na śrubach powyżej lub poniżej uchwytów rolki zgodnie z wymaganiami (Rysunek 10 lub Rysunek 11).
-
Dokręć uchwyt rolki i podkładki dystansowe po spodniej stronie kołnierza montażowego płyty bocznej za pomocą wcześniej odkręconych nakrętek.
-
Sprawdź, czy kontakt noża dolnego z wrzecionem jest prawidłowy. Przechyl kosiarkę do tyłu, aby odsłonić przednią i tylną rolkę oraz nóż dolny.
Note: Położenie tylnej rolki względem wrzeciona jest zależne od tolerancji wykonania użytych podzespołów, a ich równoległe ustawienie nie jest wymagane. Możliwa jest regulacja w niewielkim zakresie po umieszczeniu jednostki tnącej na płaskiej powierzchni i poluzowaniu śrub mocujących płytę boczną (Rysunek 12). Wyreguluj i dokręć śruby po zakończeniu.

Important: W przypadku konieczności przechylenia jednostki tnącej w celu odsłonięcia noża dolnego/wrzeciona należy podeprzeć tylną część jednostki tnącej za pomocą podpory tak, aby nakrętki śrub regulujących na tylnej części listwy ostrza nie opierały się o powierzchnię roboczą (Rysunek 4).
Regulacja wskaźnika wysokości koszenia
Przed przystąpieniem do regulacji wysokości koszenia należy ustawić wskaźnik wysokości koszenia w sposób opisany poniżej:
-
Poluzuj nakrętkę na pręcie wskaźnika i ustaw śrubę regulacyjną na wymaganą wysokość cięcia (Rysunek 13).
Note: Odległość między spodem łba śruby a czołem pręta stanowi wysokość cięcia.

-
Dokręć nakrętkę.
Regulacja wysokości cięcia.
Niniejsza jednostka tnąca jest standardowo wyposażona w nóż dolny Edgemax Micro-cut i standardową listwę nożową. Skuteczna wysokość koszenia zależy od wcześniejszych konfiguracji kosiarki i stanu murawy (takich jak rodzaj rolki, umiejscowienie noża dolnego względem odległości międzyosiowej, miękkie czy twarde tereny zielone, warunki zależne od pory roku). Ustaw wstępną wysokość koszenia o 0,25–0,38 mm wyżej niż w przypadku poprzednich ustawień kosiarki i dostosuj ją do panujących warunków.
Note: W przypadku wysokości cięcia przekraczającej 13 mm zamontuj podzespół wysokości koszenia dla koszenia wysokiego.
Na podstawie Regulacja zespołu tnącego względem uwarunkowań murawy ustal, który nóż dolny nadaje się najlepiej do pożądanej wysokości cięcia.
-
Poluzuj nakrętki zabezpieczające mocujące ramiona wysokości cięcia do płyt bocznych jednostki tnącej (Rysunek 14).

-
Zaczep łeb śruby listwy wskaźnika wysokości cięcia o prawą stronę krawędzi tnącej noża dolnego i oprzyj tylny koniec listwy tylnej rolce (Rysunek 15).

-
Obróć śrubę regulacyjną aż do uzyskania styczności rolki z przednią częścią drążka wskaźnika.
-
Powtórz kroki 2 oraz dla lewej strony.
-
Wyreguluj oba końce rolki aż do uzyskania równoległości całej rolki względem noża dolnego.
Important: Przy prawidłowym ustawieniu rolki tylna i przednia będą się stykać z drążkiem wskaźnika, a śruba będzie dociśnięta do noża dolnego. To gwarantuje, że wysokość cięcia jest identyczna po obu końcach noża dolnego.
-
Dokręć nakrętki zabezpieczające na ramionach wysokości cięcia w celu unieruchomienia po regulacji jedynie na tyle, aby wyeliminować luz na podkładce.
-
Upewnij się, że ustawienie wysokości cięcia jest prawidłowe, w razie potrzeby wykonaj procedurę ponownie.
Regulacja tempa koszenia
Następujące ustawienia maszyny określają tempo koszenia:
-
Prędkość wrzeciona: Prędkość wrzeciona można ustawić na szybką lub wolną, patrz instrukcja obsługi jednostki jezdnej.
-
Położenie koła pasowego napędowego wrzeciona: Koła pasowe napędowe wrzeciona (22- i 24-zębowe) można ustawić w 2 położeniach:
Note: Fabrycznie koło pasowe jest ustawione w położeniu NISKIM.

Aby zmienić położenie kół pasowych:
-
Zdejmij pokrywę paska, aby uzyskać do niego dostęp (Rysunek 17).

-
Poluzuj śrubę ramienia koła pasowego luźnego i obróć ramię koła pasowego luźnego (Rysunek 17), aby poluzować pasek.
-
Zdejmij pasek (Rysunek 17).
-
Poluzuj nakrętkę na każdym kole pasowym, zdejmij koła pasowe i zamontuj koła pasowe w wybranej konfiguracji, przykręcając je nakrętkami.

-
Dokręć nakrętki kół pasowych z momentem od 37 do 45 N∙m.
-
Załóż pasek i naciągnij go, dokręcając imbus ramienia koła pasowego luźnego z momentem od 4 do 5 N∙m, jak pokazano na Rysunek 17.
-
Dokręć śrubę ramienia koła pasowego luźnego i załóż pokrywę paska.
Regulacja noża odcinającego
Wyreguluj nóż odcinający tak, aby zapewnić równy strumień wyrzutu ścinków z obszaru wrzeciona:
Note: Nóż można regulować w celu dostosowania do zmian w ukształtowaniu murawy. W przypadku gdy murawa jest szczególnie sucha, przybliż nóż do wrzeciona. I odwrotnie, w przypadku gdy murawa jest mokra, oddal nóż od wrzeciona Aby zapewnić optymalną efektywność, nóż powinien być równoległy do wrzeciona. Wyreguluj nóż po każdym ostrzeniu wrzeciona na szlifierce do wrzecion.
-
Poluzuj śruby mocujące belkę górną (Rysunek 19) do zespołu tnącego.

-
Wsuń szczelinomierz o wymiarze 1,5 mm między górną część wrzeciona a listwę noża i dokręć śruby.
Important: Upewnij się, że nóż i wrzeciono znajdują się w równej odległości od siebie na długości całego wrzeciona.
Serwisowanie noża dolnego
Aby zapobiec uszkodzeniu wrzeciona, listwy lub noża dolnego, listwa i nóż dolny mogą być serwisowane wyłącznie przez odpowiednio przeszkolonego mechanika. Najlepszym rozwiązaniem jest oddanie jednostki tnącej do serwisowania u autoryzowanego dystrybutora firmy Toro. Kompletne instrukcje, narzędzia specjalne i schematy dotyczące serwisowania noża dolnego można znaleźć w Instrukcji serwisowej do posiadanego zespołu jezdnego. Na wypadek konieczności samodzielnego zdemontowania lub zamontowania listwy noża dolnego poniżej podane są instrukcje i specyfikacje dotyczące serwisowania noża dolnego.
Important: Przy serwisowaniu noża dolnego należy zawsze przestrzegać procedur opisanych w Instrukcji serwisowej. Nieprawidłowe zamontowanie lub przeszlifowanie noża dolnego może doprowadzić do uszkodzenia wrzeciona, listwy lub noża dolnego.
Demontaż noża dolnego
-
Obróć śrubę regulacyjną w lewo, aby odsunąć nóż dolny od wrzeciona (Rysunek 20).

-
Odkręcaj nakrętkę naciągu sprężyny do momentu, gdy podkładka nie będzie już dociśnięta do listwy noża dolnego (Rysunek 20).
-
Poluzuj nakrętkę zabezpieczającą pokazaną na Rysunek 21 po każdej stronie maszyny.

-
Odkręć każdą śrubę listwy noża dolnego, umożliwiając tym samym wyciągnięcie w dół i demontaż noża dolnego z urządzenia (Rysunek 21).
Pozostaw 2 podkładki plastikowe i 1 podkładkę stalową na każdym końcu noża dolnego (Rysunek 21).
Montaż noża dolnego
-
Zamontuj nóż dolny, ustawiając ucha mocujące między podkładką a śrubą regulacyjną listwy noża dolnego (Rysunek 20).
-
Zamocuj listwę noża dolnego do każdej płyty bocznej za pomocą śrub noża dolnego (nakrętki na śrubach) i 3 podkładek (łącznie 6).
-
Załóż po jednej podkładce nylonowej po każdej stronie wypukłości płyty bocznej. Załóż podkładkę stalową na zewnątrz każdej z podkładek nylonowych (Rysunek 21).
-
Dokręć śruby listwy noża dolnego momentem o wartości od 27 do 36 N·m.
-
Dokręcaj nakrętki zabezpieczające do momentu zlikwidowania luzu na podkładkach stalowych, jednak nie na tyle mocno, żeby nie dało się ich przekręcić ręką. Przy podkładkach po wewnętrznej stronie może być niewielki odstęp.
Important: Nie dokręcaj nakrętek zbyt mocno, gdyż może dojść do wygięcia płyt bocznych.
-
Dokręć nakrętkę regulacyjną naprężenia sprężyny do momentu opadnięcia sprężyny, a następnie cofnij ją o 1/2 obrotu (Rysunek 22).

-
Wyreguluj nóż dolny względem wrzeciona, patrz rozdział Regulacja noża dolnego po szlifowaniu, ostrzeniu na obrotach wstecznych lub demontażu.
Serwisowanie noża dolnego
Montaż noża dolnego
-
Usuń rdzę, osady i korozję z powierzchni listwy noża dolnego i nałóż na nią cienką warstwę oleju.
-
Wyczyść gwinty śrub.
-
Nałóż preparat zapobiegający zapiekaniu na śruby i zamontuj nóż dolny na listwie noża dolnego.

-
Dokręć 2 śruby zewnętrzne z momentem 1 N∙m.
-
Postępując od środka noża dolnego, dokręcaj śruby z momentem od 23 od 28 N∙m.

-
Wyszlifuj nóż dolny.
Przygotowanie wrzeciona do szlifowania
-
Przed szlifowaniem upewnij się, że wszystkie elementy zespołu tnącego są w dobrym stanie i usuń wszelkie usterki.
-
Postępuj zgodnie z instrukcjami producenta szlifierki do wrzecion i przeszlifuj wrzeciono tnące zgodnie z poniższymi parametrami.
Specyfikacja ostrzenia wrzeciona Średnica nowego wrzeciona 128,5 mm Minimalna dopuszczalna średnica zużytego wrzeciona 114,3 mm Kąt przyłożenia ostrza 30° ± 5° Szerokość powierzchni czołowej ostrza 1,0 mm Zakres szerokości powierzchni czołowej ostrza od 0,76 do 1,27 mm Minimalna dopuszczalna różnica średnic po obu stronach wrzeciona 0,25 mm
Szlifowanie profilujące wrzeciona
Nowe wrzeciono ma szerokość powierzchni czołowej od 0,76 do 1,27 mm i kąt profilu szlifowania 30°.
Gdy powierzchnia czołowa krawędzi zwiększy się powyżej 3 mm, należy wykonać następujące czynności:
-
Przeprowadzić szlifowanie profilujące wszystkich ostrzy wrzeciona pod kątem 30°, aż szerokość powierzchni czołowej wyniesie 1,3 mm (Rysunek 25.

-
Przeprowadzić szlifowanie obrotowe wrzeciona w celu uzyskania bicia promieniowego na poziomie poniżej 0,025 mm.
Note: Spowoduje to nieznaczne zwiększenie szerokości powierzchni czołowej ostrzy.
-
Wyreguluj zespół tnący, patrz instrukcja obsługi zespołu tnącego.
Note: W celu dłuższego zachowania ostrości krawędzi tnących wrzeciona i noża dolnego należy po szlifowaniu wrzeciona lub noża dolnego ponownie sprawdzić docisk wrzeciona do noża dolnego po skoszeniu dwóch (2) obszarów green, ponieważ usunie to zadziory. Zadziory mogą powodować nieprawidłowy dystans pomiędzy wrzecionem a nożem dolnym powodujący przyspieszone zużycie.
Specyfikacja ostrzenia noża dolnego

| Kąt przyłożenia dla standardowego noża dolnego | 3° minimum |
| Kąt przyłożenia dla przedłużonego noża dolnego | 7° minimum |
| Zakres kąta szlifowania przedniej krawędzi | Od 13° do 17° |
Sprawdzanie kąta zeszlifowania górnej krawędzi.
Niezmiernie ważny jest właściwy dobór kąta szlifowania noży dolnych.
Aby sprawdzić kąt uzyskiwany za pomocą danej szlifierki, użyj wskaźnika nachylenia (numer części Toro 131-6828) oraz wspornika wskaźnika nachylenia (numer części Toro 131-6829); w razie potrzeby skoryguj niedokładności ustawienia szlifierki.
-
Umieść wskaźnik nachylenia na dolnej powierzchni noża dolnego w sposób pokazany na Rysunek 27.

-
Naciśnij przycisk Alt Zero (Ustaw zero) na wskaźniku nachylenia.
-
Przyłóż wspornik wskaźnika nachylenia na krawędzi noża dolnego w taki sposób, aby krawędź magnesu zrównała się z krawędzią noża dolnego (Rysunek 28).
Note: Na tym etapie wyświetlacz cyfrowy powinien być widoczny z tej samej strony co w kroku 1.

-
Przyłóż wskaźnik nachylenia do wspornika w sposób podany na Rysunek 28.
Note: Wyświetlana wartość to kąt wytwarzany przez daną szlifierkę, powinien on różnić się od zalecanego kąta szlifowania górnej krawędzi o maksymalnie 2° stopnie.
Ostrzenie jednostki tnącej na obrotach wstecznych
Ostrzenie wsteczne jednostki tnącej wymaga zestawu ostrzenia wstecznego Access (model nr 139-4342), instrukcję obsługi znajdziesz w instrukcji montażu zestawu. Skontaktuj się z autoryzowanym dystrybutorem firmy Toro, aby zakupić zestaw.


, który oznacza: Uwaga, Ostrzeżenie
lub Niebezpieczeństwo – zasady bezpieczeństwa
osobistego. Nieprzestrzeganie powyższych zasad może doprowadzić
do obrażeń ciała lub śmierci.


