| 维护间隔时间 | 维护程序 |
|---|---|
| 在每次使用之前或每日 |
|
| 每50个小时 |
|
此连枷式刀片草坪剪草刀盘安装在驾乘式机器上,需由商业应用中雇用的专业操作员来进行操作。主要为了在公园、运动场及商业用地保养得很好的草坪上进行剪草作业而设计。将本产品用于指定用途以外的其他目的可能会对您和旁观者造成危害。
请仔细阅读本手册,了解如何正确操作及维护您的产品,避免人身伤害和产品损坏。正确并安全地操作本产品是您的责任.
可访问 www.Toro.com,获取产品安全和操作培训材料、附件信息,查找代理商或注册产品。
当您需要关于维修保养,Toro 真品零件或其他方面的信息时,请联系授权服务经销商或 Toro 客户服务中心,并准备好有关您的产品的型号和序列号等资料。图 1显示了产品上型号和序列号的位置。将型号、序列号写在提供的空白处。
Important: 您可以使用移动设备扫描序列号铭牌上的二维码(如配备),以查阅保修、零售及其他产品信息。

本手册旨在确定潜在危险并列出安全警告标志(图 2)所标示的安全信息,该标志表明了在不遵循建议的预防措施进行操作时可能造成的严重伤害或死亡事故。

本手册使用两个词语来突出信息。重要事项唤起人们对特殊机械信息的注意,而注意则强调值得特别关注的一般信息。
此产品符合欧盟所有相关指令。若要了解详情,请参阅本手册封底的注册声明 (DOI)。
加利福尼亚州
第65号提案中警告称:
使用此产品可能导致接触加利福尼亚州已知的能致癌、致出生缺陷或损害生殖系统的化学物质。
本机器的设计符合 ANSI B71.4-2017 标准和安全指令 2006/46/EC。
本产品可能切断手脚。请始终遵循所有安全说明,避免严重的人身伤害。
在启动机器之前,请首先阅读并理解本操作员手册的内容。
操作机器时应全神贯注。不要从事任何引起分心的活动;否则,可能会造成人身伤害或财产损失。
切勿将手脚放在机器的活动组件附近。
请仅在所有防护装置和其他安全装置到位且可在机器上正常工作的情况下才操作机器。
始终保持任何排放口通畅。
让旁观者和儿童远离操作区。切勿让儿童操作机器。
离开操作员位置之前,请执行以下操作:
将机器停在水平地面上。
放低滚刀组。
分离驱动装置。
设好手刹(如配备)。
关闭发动机并拔下钥匙。
等待所有移动完全停止。
不当使用或维护本机器可能导致人身伤害。若要减少潜在伤害,请遵循这些安全说明并始终注意安全警告标志
,即小心、警告或危险等个人安全指示。不遵循这些说明可能导致人身伤害甚至死亡事故。
当安装在主机上时,滚刀组仅是一台完整的机器。请仔细阅读主机《操作员手册》,了解安全使用机器的完整说明。
机器撞击物体或内部出现异常振动后,应停止机器、拔出钥匙(如配备)、放下滚刀组并等待所有活动都停止,然后再检查附件。恢复操作之前请执行所有必需的修理。
确保所有零件都处于良好工作状况,保持所有紧固件拧紧。更换所有磨损或损坏的标贴。
仅使用 Toro 批准的附件、配件和更换零件。
磨损或受损的刀片可能会断裂,刀片碎片可能被抛掷到您或旁观者所在的区域,导致严重人身伤害甚至死亡事故。
定期检查刀片是否磨损或损坏。
检查刀片时需小心谨慎。维护刀片时,请把刀片包起来或戴上手套并极其小心。仅更换或磨快刀片。
![]() |
任何潜在危险区附近均贴有操作员清晰可见的安全标贴和说明。更换受损或丢失的标贴。 |









Note: 保留所有卸下的零件,除非另有说明。
将机器停放在水平地面上,分离 PTO、将提升臂移至最低位置、接合手刹、关闭发动机,然后拔下钥匙。
等所有移动完全停止后,并等待机器冷却,然后再进行调整、清洁、存放或维修。
如果配备有滚刀组,请从机器提升臂上拆卸滚刀组;请参阅滚刀组 《操作员手册》。
在 PTO 轴的两半上都标记一条直线,以表示正确方向,并卸下 PTO 轴的前半部分(图 3)。
Note: 支撑住轴的两端,并确保不要损坏花键或轴轭。

以现有的孔为基础,钻直径为 12.5mm 的孔,如 图 4所示。
Important: 这些孔的直径必须扩大为 12.5mm;不得使用英制钻头,因为尺寸会不相等。
Note: 确保钻出的孔是笔直的,在安装轴的两半时没有残留的钻孔导致的切削或碎屑。

使用在第 4步做的标记对齐轴的两半,并将前半部分滑入后半部分。
Important: 确保轴的两半安装方向正确;错误安装的 PTO 轴可能无法平衡,导致振动或损坏。
如果提升臂安装在主机上,请按照如下方式卸下提升臂:
此程序中需要的物件:
| 脚轮叉 | 2 |
| 脚轮螺栓 | 2 |
| 轴承 | 4 |
| 轴承隔片 | 2 |
| 大锁紧螺母 | 2 |
| 脚轮臂 | 2 |
| 托架螺栓 (M10) | 12 |
| 锁紧螺母 (M10) | 12 |
| 张紧帽 | 2 |
| 剪草高度隔片 | 14 |
| 薄垫片 | 4 |
此程序中需要的物件:
| 提升臂 | 2 |
| 大销钉 | 2 |
| 长螺栓(⅜ x 2¾ 英寸) | 2 |
| 螺母(⅜ 英寸) | 6 |
| 小销钉 | 2 |
| 螺栓(⅜ x 1¼ 英寸) | 2 |
| 托架螺栓(⅜ x 1¼ 英寸) | 2 |
| PTO 螺栓(⅜ x 2 英寸) | 2 |
| PTO 锁紧螺母(⅜ 英寸) | 2 |
| 提升臂销 | 2 |
| 保险销 | 2 |
升起机器前面,卸下机器的前轮;请参阅主机 《操作员手册》。
将提升臂和大销钉安装到机器机架上(图 12)。

如图 13所示,用一对螺母和螺栓将大销钉固定到提升臂。

如图 14所示,用小销钉、螺栓(⅜ x 1¼ 英寸)和螺母(⅜ 英寸)将各个油缸杆端固定到各个提升臂上。
Note: 手动旋转提升臂,使之与油缸杆端对齐。
如 图 14所示,用 2 个托架螺栓和 2 个螺母(⅜ 英寸)将之前在准备机器 中移除的传感器支架固定到右提升臂。
Note: 确保传感器支架不会干扰传感器;必要时参阅调节传感器支架。

将机器机架前面的滚刀组与 PTO 轴对齐。
如图 15所示,将 PTO 轴轭安装到滚刀组齿轮箱轴。
上紧螺栓扭矩至 57N∙m。
Important: 必须将 PTO 轴轭螺栓拧紧至指定扭矩。未能正确拧紧螺栓将导致关键零部件过早出现故障。

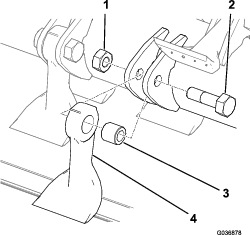
用提升臂销和保险销将甩刀固定到提升臂(图 29)。
传感器和传感器板的间隔应为 3.3~3.8mm。
必要时,松开将开关固定到开关支架的锁紧螺母,然后进行调节,使传感器和传感器板之间具有正确的间隔。
上紧传感器锁紧螺母扭矩至 19~21 N∙m。
调节附件的重量转移;请参阅主机《操作员手册》。
确保齿轮箱有正确的油量;请参阅检查齿轮箱润滑油。
确保脚轮轮胎充气至 2~3.5bar;请参阅检查脚轮轮胎气压。
首次操作之前请润滑机器;请参阅滚刀组润滑。 未能正确润滑机器会导致关键零部件过早出现故障。
Note: 规格与设计如有变更,恕不另行通知。
| 剪草宽度 |
1.52m |
| 剪草高度 | 可在 19~102mm 范围内调节,以 13mm 递增 |
| 净重 |
260kg |
Toro 批准的一系列附件和配件可与机器一同使用,以提升和扩大其能力。请联系您的授权服务代理商或 Toro 授权经销商,或访问 www.Toro.com,获取所有经批准附件和配件的清单。
为保持机器的最佳性能和持续安全证明、请仅使用 Toro 真品更换零件和附件。其他制造商制造的更换件和附件可能引发危险、而且使用非真品可能使产品保修失效。
保持连枷刀片始终处于锋利和良好状况,从而确保良好的剪切性能、最低能耗和良好剪草质量。
滚刀组浮动以沿地面轮廓作业。
在发动机全速运转的情况下操作滚刀组。调整前进速度以适合草地状况,不要在滚刀组放置过重的东西。前进速度越低,剪草质量和剪草效果越好。
Note: 剪草高度由后滚筒和前脚轮决定。刀片磨损、轮胎压力和脚轮臂弯曲/损坏都会影响剪草高度设置。

| 维护间隔时间 | 维护程序 |
|---|---|
| 在每次使用之前或每日 |
|
| 每50个小时 |
|
Important: 如果单个刀片损坏,应将该刀片及其对面的刀片同时拆下并成对更换,以保持平衡。
将机器停放在水平地面上,升起滚刀组、接合手刹、关闭发动机,然后从点火开关上拔下钥匙。
用顶车架支撑升起的滚刀组。
检查每个刀片是否受损,特别留意紧固件、刀刃和安装孔(图 20)。更换所有受损的刀片和紧固件。

利用磨损线检查每个刀片是否过度磨损(图 21)。当刀片向下磨损至磨损线时,请更换刀片。

确保每个刀片螺栓的扭矩都是 45N∙m。
抓住每个刀片,确保从转子向任一方向的自由移动距离总计不超过 3mm。如果自由移动距离总计超过 3mm,请更换刀片。
检查每对相反刀片之间是否存在重量差。
Note: 每对相反刀片之间的重量差不得超过 10g。
磨损或受损的刀片可能会断裂,刀片碎片可能被抛掷到您或旁观者所在的区域,导致严重人身伤害甚至死亡事故。
定期检查刀片是否磨损或损坏。
更换磨损或损坏的刀片。
要在剪草时保持机器和滚刀组有足够的动力,应以快速油门位置操作发动机,并根据条件调节地面行驶速度。随着滚刀组负载的增加,降低地面行驶速度。随着滚刀组负载的减少,提高地面行驶速度。
交替更换剪草方向,避免逐步在草坪上形成沟槽。这还有助于分散草屑,提高分解能力,增加肥力。
要提升剪草质量,应使用较慢的地面行驶速度。
如果本滚刀组的剪草宽度比您之前使用的滚刀组宽,应提升剪草高度,确保起伏不平的草坪不会被剪得太短。
剪草时,大约剪去 25mm 或不超过草叶的三分之一。对于特别浓密茂盛的草地,您可能必须放慢前进速度和/或提高剪草高度设置。
如果草曾被允许长到略高于正常水平,或其含水量较高,请将剪草高度提升到高于正常设置,并在此情况下剪草。然后使用较低的正常设置再次剪草。
在每次使用后,清除滚刀组下面的草屑和灰尘。如果草和杂物堆积在滚刀组内部,剪草质量最终会变得难以令人满意。
要降低火灾危险,请清除发动机、消声器、电池盒、驻车刹车、滚刀组及燃油存储区的草屑、树叶或过多的油脂。擦干净溅出的任何机油或燃油。
在整个剪草季节保持刀片锋利,因为锋利的刀片能利落地剪掉草叶,不会撕扯或撕碎草叶。撕扯和撕碎草叶会导致草叶边缘变成棕色,这可能会减缓生长速度,并增加患病的机率。
每日检查刀片的锋利程度,观察是否磨损或损坏。如有必要,请磨快刀片。
如果刀片受到损坏或磨损,请立即使用真品 Toro 更换刀片更换。请参阅 更换刀片。
| 维护间隔时间 | 维护程序 |
|---|---|
| 初次使用2小时后 |
|
| 初次使用10小时后 |
|
| 在每次使用之前或每日 |
|
| 每50个小时 |
|
| 每250个小时 |
|
| 每400个小时 |
|
| 每年一次 |
|
如果将钥匙留在点火开关上,可能会有人无意中启动发动机,对您或其他旁观者造成严重伤害。
执行任何维护前,请拔下点火钥匙。
复印本页以供日常使用。
| 维护检查项 | 第____周: | ||||||
|---|---|---|---|---|---|---|---|
| 周一 | 周二 | 周三 | 周四 | 周五 | 周六 | 周日 | |
| 检查刀片的状况。 | |||||||
| 给所有黄油嘴加润滑脂。1 | |||||||
| 为掉漆部分补漆。 | |||||||
|
1. 不管间隔多久,每次清洗后立即执行。 |
|||||||
| 疑点记录 | ||
| 检查人员: | ||
| 项目 | 日期 | 情况 |
| 维护间隔时间 | 维护程序 |
|---|---|
| 在每次使用之前或每日 |
|
润滑脂类型: 2 号锂基润滑脂
更换任何受损的黄油嘴。
请参阅图 22,了解滚刀组上每对黄油嘴的位置。

| 维护间隔时间 | 维护程序 |
|---|---|
| 每50个小时 |
|
齿轮箱经专门设计,可使用石油或合成 SAE 80W–90 齿轮润滑油。尽管齿轮箱在出厂时带有润滑油,但在操作滚刀组之前,请检查油位。齿轮箱容量为 0.33L。
将机器停放在水平地面上,放下滚刀组,接合手刹,关闭发动机,然后从点火开关上拔下钥匙。
请从齿轮箱顶部拆下通气塞(图 23),确保润滑油介于通气塞下部的加注标记之间。如果润滑油油位较低,请添加足够的润滑油,直至油位介于标记之间。

安装通气塞,并上紧扭矩至 9 N∙m。
| 维护间隔时间 | 维护程序 |
|---|---|
| 每250个小时 |
|
将机器停放在水平地面上,放下滚刀组,接合手刹,关闭发动机,然后从点火开关上拔下钥匙。
松开将皮带罩顶部和底部固定到机器的 4 个固定螺栓(图 25)。


拧松怠轮皮带轮螺母,但不要取下(图 26)。
Note: 要拧松怠轮皮带轮螺母,需要将固定该螺母的螺栓在刀盘内侧固定到位。
调节怠轮皮带轮柱上的螺母,以张紧皮带(图 26)。
向下按压皮带以检查张力,如下所示(图 27):
如果是新皮带,使用 6.0~6.5kg 的力应能够将皮带下按 5mm。
如果是旧皮带,使用 5.1~5.6kg 的力应能够将皮带下按 5mm。

Note: 使用单筒张力计测量张力。
必要时调节怠轮皮带轮柱上的螺母,以紧固或松开皮带。
将转子手动转动几圈,再次检查皮带张力;如果张力不正确,检查并调节,直到正确为止。
上紧怠轮皮带轮螺母扭矩至 47~57N·m。
安装皮带罩(图 25)。
| 维护间隔时间 | 维护程序 |
|---|---|
| 每250个小时 |
|
将机器停放在水平地面上,放下滚刀组,接合手刹,关闭发动机,然后从点火开关上拔下钥匙。
卸下皮带罩(图 25)。
将固定锥形锁轴套的固定螺丝上紧扭矩至 30N∙m。

安装皮带罩。
脚轮臂将轴套压入管的顶部和底部,运行几个小时后,轴套会磨损。
要检查轴套,请前后左右移动脚轮叉。如果脚轮锭轴在轴套内松动,表明轴套磨损;请更换轴套。
将机器停放在水平地面上,升起滚刀组并用顶车架支撑,接合手刹,关闭发动机,然后从点火开关上拔下钥匙。
从脚轮锭轴顶部卸下张紧帽、隔片和止推垫圈。
将脚轮锭轴拉出安装管。止推垫圈和隔片可以保留在锭轴的底部。
将销冲头插入安装管的顶部或底部,然后将轴套从管中推出(图 30)。以同样的方式,将另一个轴套推出安装管。清洁安装管内部的任何污垢。

在新轴套的内外涂抹润滑脂。使用锤子和平板将轴套敲入安装管。
检查脚轮锭轴是否磨损,如果损坏则更换。
将脚轮锭轴推过轴套和安装管,将止推垫圈和隔片滑到锭轴上,然后将张紧帽安装到脚轮锭轴上。
| 维护间隔时间 | 维护程序 |
|---|---|
| 初次使用2小时后 |
|
| 初次使用10小时后 |
|
| 每50个小时 |
|
| 维护间隔时间 | 维护程序 |
|---|---|
| 每50个小时 |
|
确保所有刀片螺栓的扭矩都上紧至 45N∙m。
| 维护间隔时间 | 维护程序 |
|---|---|
| 在每次使用之前或每日 |
|
确保所有挡板没有损坏并且可以自由旋转;更换所有损坏的挡板。
当堵塞物拿掉后,甩刀转子系统内的剩余功率可能导致甩刀转子突然移动,从而造成伤害。
切勿试图用手转动甩刀转子,或清除甩刀转子的堵塞物。
始终要佩戴防护手套,并使用木杆。
确保木杆适合甩刀转子,且长度足以提供释放堵塞物所需的杠杆作用。
将 PTO 开关设置至关闭位置。
将机器停放在水平地面上,将油门控制设定至低发动机速度位置,然后接合驻车刹车。
必要时提起滚刀组以取出堵塞物。
关闭发动机,拔下点火钥匙,并等待所有活动件停止。
用顶车架支撑升起的滚刀组。
使用木杆小心地清除堵塞物。
Important: 放开堵塞物后,甩刀转子可能会转动。
Important: 清除堵塞物时避免用力过大。
从滚刀组中取出木杆,然后再启动发动机。
必要时维修或调节滚刀组。
| 维护间隔时间 | 维护程序 |
|---|---|
| 每50个小时 |
|
确保脚轮轮胎充气至 2.~3.5bar。
| 维护间隔时间 | 维护程序 |
|---|---|
| 在每次使用之前或每日 |
|
要检查转子是否存在任何异常振动,应在发动机全速运转的情况下运行滚刀组。
启动发动机并将机器移动到水平开阔的区域,远离旁观者。
放下滚刀组并接合手刹。
接合 PTO 并以最大油门运行发动机,同时观察是否有任何异常的转子振动。
如果转子振动异常,请执行以下步骤:
将油门设置为空转,关闭 PTO,然后升起滚刀组。
关闭发动机,拔下钥匙,并等待所有活动件停止。
检查滚刀组中是否有:
Important: 如果您无法纠正导致转子异常振动的原因,请联系您的 Toro 授权经销商。
| 维护间隔时间 | 维护程序 |
|---|---|
| 每50个小时 |
|
Important: 检查转子轴承时要佩戴手套。
将机器移动到水平地面上并接合手刹。
升起滚刀组,关闭发动机,拔下钥匙,并等待所有活动件停止。
用顶车架支撑滚刀组。
抓住转子的两端,检查是否有多余的轴端余隙;如果转子有多余的轴端余隙,则可能需要更换;请联系您的 Toro 授权经销商。
| 维护间隔时间 | 维护程序 |
|---|---|
| 每年一次 |
|
为了保持平衡,更换刀片时只应该同时更换相反的一对或整个转子进行更换。更换刀片时还要更换轴套、螺栓和锁紧螺母。有 2 个用于刀片更换的服务套件;请参阅零件目录。
| 维护间隔时间 | 维护程序 |
|---|---|
| 在每次使用之前或每日 |
|
每天都要清除滚刀组下方堆积的草。
将机器停放在水平地面上,将滚刀组提升至行走位置,接合手刹,关闭发动机,然后拔下钥匙。
用水彻底清洁滚刀组的下侧。