유지보수
부착 장치 어댑터 그리스 윤활
부착 장치 어댑터의 잠금 레버가 편하고 자유롭게 회전하지 않으면 그림 15에 표시된 구역에 그리스를 얇게 칠하십시오.

이 정보를 주의 깊게 읽고 제품을 제대로 조작 및 유지관리하는 방법과 부상 및 제품 손상을 방지하는 방법에 대해 익히십시오. 사용자는 제품을 제대로 안전하게 조작해야 할 책임이 있습니다.
www.Toro.com에서 Toro에 직접 문의하면 제품 및 액세서리 관련 정보와 판매점 연락처 정보를 얻고 제품을 등록할 수도 있습니다.
서비스, Toro 순정 부품 또는 추가 정보가 필요하면 지정 서비스점이나 Toro 고객 서비스에 연락하여 제품의 모델 번호와 일련 번호를 알려 주십시오. 그림 1은 제품의 모델 번호와 일련번호의 위치를 보여 줍니다. 마련된 빈칸에 이 번호를 적어 두십시오.

본 설명서는 잠재적인 위험에 대해 설명하고 있으며, 권장 예방 조치를 따르지 않을 경우 심각한 부상이나 사망을 초래할 수 있는 위험에 대해서는 안전 경고 기호(그림 2)로 표시합니다.

본 설명서에서는 2가지 단어를 사용하여 정보를 강조합니다. 중요는 특별한 기계적 정보에 대한 주의를 환기시키며 참고는 특별한 주의를 기울일 필요가 있는 일반 정보를 강조합니다.
![]() |
안전 문구 데칼과 지침은 작업자의 눈에 쉽게 보이며 잠재적인 위험이 있는 모든 부분에 부착되어 있습니다. 손상되거나 유실된 데칼은 교체하십시오. |

이 절차를 수행하는 데 필요한 부품:
| 투스 레이크 어셈블리 | 1 |
| 드로바 | 1 |
| 볼트(1/2 x 1-3/4 인치) | 1 |
| 플랜지 너트(1/2 인치) | 1 |
| 육각 너트(1/2 인치) | 1 |
| 플랜지 헤드 볼트(3/8 x 1 인치) | 1 |
| 플랜지 너트(⅜인치) | 1 |
| 부착 장치 어댑터 어셈블리 | 1 |
| 코터 핀 | 2 |
| 리프트 암 어셈블리 | 1 |
| 피벗 바 | 1 |
| 볼트(3/8 x 1-1/4 인치) | 1 |
| 록너트(3/8 인치) | 1 |
볼트(1/2 x 1-3/4 인치), 플랜지 너트(1/2 인치) 및 육각 너트(1/2 인치)로 행거 어셈블리의 전방 구멍에 드로바를 느슨하게 장착합니다(그림 3).

플랜지 헤드 볼트(3/8 x 1 인치) 및 플랜지 너트(3/8 인치)로 행거 어셈블리 후방 구멍에 텅 튜브를 느슨하게 장착합니다.
너트를 다음과 같이 조입니다.
플랜지 너트(1/2 인치) — 104~126 N∙m
육각 너트(1/2 인치) — 91~113 N∙m
플랜지 너트(3/8 인치) — 22~27 N∙m
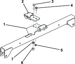
브래킷과 리프트 암을 부착 장치 어댑터에 정렬하고(그림 4) 그림 5와 같이 피벗 바를 사용하여 연결합니다.
Note: 부착 장치 어댑터를 움직일 때 어댑터 후방에 있는 핸들을 사용하십시오(그림 4).


코터 핀 3개, 볼트(3/8 x 1-1/4 인치) 및 록너트(3/8 인치)를 사용하여 피벗 바를 고정합니다(그림 5).
이 절차를 수행하는 데 필요한 부품:
| 볼트(3/8 x 2-1/2 인치) | 2 |
| 와셔(3/8 x 7/8 인치) | 4 |
| 스페이서 | 2 |
| 록너트(⅜ 인치) | 2 |
장비 후방에서 부착 장치를 제거합니다.
트랙션 유닛 어댑터를 내린 다음 트랙션 유닛을 부착 장치 어댑터 전방으로 후진합니다.
Note: 잠금 레버를 장비 후방에서 봤을 때 좌측으로 회전시킵니다(잠금 해제 위치).
부착 장치 어댑터를 트랙션 어댑터 위로 밀어 넣습니다.
Important: 리프트 암의 긴 암 부분이 트랙션 유닛 후방 프레임 어셈블리 아래에 놓여야 합니다(그림 6).
부착 장치 및 트랙션 유닛 어댑터 사이에 손가락이 끼일 수 있습니다.
항상 부착 장치 후방의 핸들을 사용하여 부착 장치를 들어 올리고 움직여야 합니다(그림 6).
잠금 레버를 우측으로 회전시켜 어댑터를 함께 잠금니다.
볼트(3/8 x 2-1/2 인치) 1개, 와셔(3/8 x 7/8 인치) 2개, 스페이서 1개 및 록 너트(3/8 인치) 1개를 사용하여 리프트 암 외부로 각 체인의 상단 링크를 고정합니다(그림 6).

Note: 레이크가 적절하게 동작하려면 레이크가 내림(작업) 위치에 있을 때 체인은 처진 상태여야 합니다.
Note: 모든 피니싱 레이크가 적절하게 겹쳐져 있으며 꼬였거나 휘어진 체인이 없이 평평하게 놓여야 합니다.

벙커를 레이킹하기 전에 이 레이킹 섹션을 읽으십시오. 투스 레이크 부착 장치의 조정값을 결정하는 다양한 조건이 존재합니다. 모래의 질감과 깊이, 수분 함량, 잡초, 다짐 정도 등 코스마다 모든 조건이 다르면 같은 코스에서도 벙커마다 다를 수 있습니다. 작업 구역에서 최상의 결과를 얻기 위해 레이크를 조정하십시오.
코스 내의 넓고 평평한 벙커에서 레이킹을 연습하십시오. 레이킹 시작하기, 멈추기, 레이크 회전, 들어 올리기, 내리기, 벙커에 들어가기, 나오기 등을 연습하고 일반 엔진 속도 및 느린 이동 속도로 연습하십시오. 훈련 기간을 거치면 장비를 자신감 있게 운전할 수 있습니다.
Note: 부착 장치를 내린 상태에서 트랙션 유닛을 후진하지 마십시오. 부착 장치가 손상될 수 있습니다.
모래가 충분히 깊다면 평평한 구역에 있는 벙커 모서리 바로 위에서 레이킹을 할 수 있습니다.
모래가 잔디와 연결되어 있다면 모서리와 충분히 떨어져서 작업해야 기반 토양을 훼손하지 않습니다.
짧고 가파른 비탈과 너무 가까운 곳에서 레이킹하지 마십시오. 벙커 바닥으로 모래가 흘러내립니다.
가파른 사면, 소형 포켓 등은 핸드 레이크로 손볼 수 있습니다.
그림 9와 같은 패턴으로 벙커에 갈퀴질합니다. 이 패턴을 사용하면 불필요하게 겹치지 않으며 다짐을 최소화하고, 모래에 단정하고 보기 좋은 자국을 남깁니다.
벙커가 가파르지 않으면 벙커의 긴 쪽에서 직선으로 들어갑니다. 벙커 중앙에서 거의 끝까지 운전하고, 최대한 가파르게 회전한 다음 처음 통과한 바로 옆 길로 돌아옵니다. 그림과 같이 바깥 쪽으로 나선형으로 운전하고 평평한 구역의 우측으로 비스듬하게 벙커에서 나옵니다.
가파르고 짧은 사면과 소형 포켓은 핸드 레이크로 정리합니다.

벙커에 들어갈 때 레이크가 모래 위에 놓일 때까지 레이크를 내리지 마십시오. 이렇게 해야 잔디가 깎이지 않고, 벙커에 잔디 예지물 또는 잔해를 벙커에 끌어들이지 않습니다. 장비를 움직이면서 레이크를 내립니다.
벙커에서 나올 때 앞바퀴가 벙커에서 나올 때 레이크를 들어 올리기 시작합니다. 장비가 밖으로 나오면서 레이크를 들어 올리면 모래를 잔디에 끌고 가지 않습니다.
경험과 연습을 통해 벙커에서 들어가고 나오는 적절한 시간을 곧 익히게 됩니다.
잼 너트를 풀고 레이크 스톱 볼트를 회전시켜 좌우 회전 레이크 끝까지 빼냅니다(그림 13). 잼 너트를 조여 조정치를 고정합니다.

모래가 축축하거나 거친 경우, 또는 벙커 내에 발자국이 깊은 경우, 피니싱 레이크에 웨이트(옵션)를 부착할 수 있습니다. Toro 공식 판매 대리점에서 부품 번호가 18-7570인 부품을 주문하십시오.
이동할 때 다음 절차를 수행하여 레이크 높이를 올립니다.
레이크와 리프트 어셈블리를 최대한 내립니다.
리프트 암에서 체인을 분리하고 높은 곳에 연결합니다.
Note: 레이크를 적절하게 작동시키려면 레이크를 작동하기 전에 원래의 느슨한 위치로 체인을 되돌립니다.
갈퀴질을 마친 후 장비를 철저히 청소합니다. 이 장비는 기본적으로 모래에서 사용하며 모래의 마모성이 매우 높으므로 사용 후 항상 모래를 씻어내십시오. 장비를 자주 청소할 경우(모래가 두껍게 쌓이기 전에), 노즐을 제거한 호스에서 나오는 물줄기로 청소합니다. 고압 물줄기를 사용하면 마모 구역으로 모래가 침투하여 연마 컴파운드 역할을 할 수 있습니다.
Note: 부착 장치 어댑터가 트랙션 유닛 어댑터에 걸리면 프라이 슬롯에 쇠지레 또는 드라이버를 끼워서 부품을 분리하십시오(그림 14).

부착 장치 어댑터의 잠금 레버가 편하고 자유롭게 회전하지 않으면 그림 15에 표시된 구역에 그리스를 얇게 칠하십시오.
