จอดรถบนพื้นราบ
ดึงเบรกมือ
ดับเครื่องยนต์และดึงกุญแจออก
ถอดขั้วแบตเตอรี่ โปรดดูคู่มือผู้ใช้
ยกกระบะท้ายให้อยู่ในตำแหน่งเท และยึดให้แน่นหนาด้วยก้านค้ำยัน
ชิ้นส่วนที่ต้องใช้สำหรับขั้นตอนนี้:
| ท่อยึดส่วนหน้า | 2 |
| สลักเกลียวติดจาน (5/16 x 3 นิ้ว) | 2 |
| ตัวคั่น (⅝ x 1 นิ้ว) | 2 |
| น็อตมีบ่า(5/16 นิ้ว) | 4 |
| สลักคอสี่เหลี่ยม (5/16 x 2 นิ้ว) | 2 |
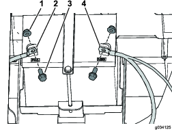
ติดตั้งท่อยึดส่วนหน้า 2 แท่งอย่างหลวม ๆ โดยใช้สลักเกลียวติดจาน 2 ตัว (5/16 x 3 นิ้ว), ตัวคั่น 2 ชิ้น (⅝ x 1 นิ้ว), น็อตมีบ่า 4 ตัว (5/16 นิ้ว) และสลักคอสี่เหลี่ยม 2 ตัว (5/16 x 2 นิ้ว) ดังแสดงใน รูป 3

Important: ก่อนทำขั้นตอนนี้ ให้ตรวจสอบอุปกรณ์ว่ามีรูสำหรับติดตั้งอยู่แล้วหรือไม่ ถ้าไม่มี ให้ทำตามขั้นตอนนี้
Note: เก็บฮาร์ดแวร์ทั้งหมดที่ถอดออกมาในขั้นตอนนี้
ถอดสลักเกลียวติดจานที่ยึดถังเชื้อเพลิงเข้ากับถาดรองถัง (รูป 4)

ถอดสกรูที่ยึดแท่งกดลง (รูป 4)
ถอดท่ออ่อนระบายและท่อเชื้อเพลิงจากถัง (รูป 4)
Note: เตรียมรองและเช็ดเชื้อเพลิงที่หกออกมาตอนที่ถอดท่อเชื้อเพลิงออกจากถัง
ในบางสภาวะ น้ำมันเชื้อเพลิงอาจติดไฟและเกิดการระเบิดได้ง่ายมาก เพลิงไหม้และการระเบิดที่เกิดจากเชื้อเพลิงอาจทำให้คุณและผู้อื่นได้รับบาดเจ็บ รวมถึงทำให้ทรัพย์สินเสียหายได้
ระบายน้ำมันออกจากถังเชื้อเพลิงขณะที่เครื่องยนต์เย็น ขั้นตอนนี้ต้องทำกลางแจ้งในพื้นที่โล่ง เช็ดน้ำมันที่หกออกมา
อย่าสูบบุหรี่ขณะจัดการเชื้อเพลิง และอยู่ให้ห่างจากเปลวไฟหรือบริเวณที่ประกายไฟอาจทำให้ไอเชื้อเพลิงติดไฟได้
ถอดถังเชื้อเพลิงออกจากถาดรอง
ถอดสลักเกลียวติดจาน 2 ตัวที่ยึดถาดรองถังออกจากโครง (รูป 5)

ถอดสกรู 4 ตัวที่ยึดแผงข้างด้านซ้ายเข้ากับชุดที่นั่งล่าง (รูป 6)

ถอดสายไฟขั้วลบ (–) ออกจากแบตเตอรี่ ตามด้วยสายไฟขั้วบวก (+) (รูป 7)

ถอดสลักเกลียวติดจาน 2 ตัวที่ยึดถาดรองแบตเตอรี่ออกจากโครง (รูป 8)

ถอดสกรู 4 ตัวที่ยึดแผงข้างด้านขวาเข้ากับชุดที่นั่งล่าง (รูป 8)
Important: ก่อนทำขั้นตอนนี้ ให้ตรวจสอบอุปกรณ์ว่ามีรูสำหรับติดตั้งอยู่แล้วหรือไม่ ถ้าไม่มี ให้ทำตามขั้นตอนนี้
Note: เก็บฮาร์ดแวร์ทั้งหมดที่ถอดออกมาในขั้นตอนนี้
เจาะโครงยึดรองรับตามขนาดที่แสดงใน รูป 11
ตอนเจาะรูบนที่อยู่สูงที่สุด จะต้องเจาะจนทะลุโครงยึดด้านนอก ท่อโครง และผนังห้องเครื่อง
ใช้ความระมัดระวังขณะเจาะรูที่ด้านขวาของโครงบนอุปกรณ์ที่ใช้ระบบไฟฟ้า
หากเจาะลึกเกินไป จะทำให้แบตเตอรี่หรือส่วนประกอบอื่น ๆ เสียหายได้

ยึดแผงข้างด้านขวาโดยใช้สกรู 4 ตัวที่ถอดออกมาก่อนหน้านี้ (รูป 8)
ยึดถาดรองแบตเตอรี่เข้ากับโครงโดยใช้สลักเกลียวติดจาน 2 ตัวที่ถอดออกมาก่อนหน้านี้ (รูป 8)
ยึดสายไฟแบตเตอรี่โดยใช้สลักเกลียว 2 ตัวและน็อต 2 ตัวที่ถอดออกมาก่อนหน้านี้ และต่อขั้วแบตเตอรี่ (รูป 7)
ยึดแผงข้างด้านซ้ายโดยใช้สกรู 4 ตัวที่ถอดออกมาก่อนหน้านี้ (รูป 6)
ยึดถาดรองถังเข้ากับโครงโดยใช้สลักเกลียวติดจาน 2 ตัวที่ถอดออกมาก่อนหน้านี้ (รูป 5)
วางถังเชื้อเพลิงลงในถาดรองถัง
ต่อท่อเชื้อเพลิงและท่อระบายเข้ากับถังเชื้อเพลิง (รูป 4)
ยึดแท่งกดลงโดยใช้สกรูที่ถอดออกมาก่อนหน้านี้ (รูป 4)
ยึดถังเชื้อเพลิงเข้ากับถาดรองถังโดยใช้สลักเกลียวติดจานที่ถอดออกมาก่อนหน้านี้ (รูป 4)
เติมน้ำมัน โปรดดูคู่มือผู้ใช้
ชิ้นส่วนที่ต้องใช้สำหรับขั้นตอนนี้:
| ท่อยึดส่วนท้าย | 2 |
| โครงยึดท่อ | 1 |
| สลักเกลียวติดจาน (5/16 x 3 นิ้ว) | 2 |
| น็อตมีบ่า(5/16 นิ้ว) | 2 |
| สลักเกลียวติดจาน (⅜ x 1-¾ นิ้ว) | 2 |
| สลักเกลียวติดจาน (⅜ x 3-½ นิ้ว) | 2 |
| น็อตล็อก (⅜ นิ้ว) | 4 |
| ซีลขอบ | 1 |
ติดตั้งท่อยึดส่วนท้าย 2 แท่งอย่างหลวม ๆ โดยใช้สลักเกลียวติดจาน (⅜ x 3-½ นิ้ว) 2 ตัว, สลักเกลียวติดจาน (⅜ x 1-¾ นิ้ว) 2 ตัว, และน็อตล็อก (⅜ นิ้ว) 4 ตัวดังที่แสดงใน รูป 12

ยึดโครงยึดท่อเข้ากับท่อยึดส่วนท้ายโดยใช้สลักเกลียวติดจาน (5/16 x 3 นิ้ว) 2 ตัว และน็อตมีบ่า (5/16 นิ้ว) 2 ตัว ดังที่แสดงใน รูป 13
ติดตั้งซีลขอบเข้ากับโครงยึดท่อ (รูป 13)

ขันอุปกรณ์ยึดที่ติดตั้งในขั้นตอน 1 ให้แน่นหนา
ขันอุปกรณ์ยึด 5/16 นิ้วจนได้แรงบิด 20 ถึง 25 นิวตันเมตร (175 ถึง 225 นิ้วปอนด์)
ขันอุปกรณ์ยึด ⅜ นิ้วจนได้แรงบิด 37 ถึง 45 นิวตันเมตร (27 ถึง 33 ฟุตปอนด์)
ชิ้นส่วนที่ต้องใช้สำหรับขั้นตอนนี้:
| โครงยึดรองรับหลังคาแบบยาว | 2 |
| สลักเกลียวหัวหกเหลี่ยม (5/16 x ¾ นิ้ว) | 8 |
| ซีลขอบ | 2 |
ชิ้นส่วนที่ต้องใช้สำหรับขั้นตอนนี้:
| หลังคา | 1 |
| สลักเกลียวติดจาน (¼ x 1-¾ นิ้ว) | 4 |
| แหวนซีล | 4 |
| น็อตล็อก (¼ นิ้ว) | 4 |
Important: หากคุณติดตั้งชุดกระจกเงา ให้ติดตั้งก่อนที่จะติดตั้งหลังคา
ยึดหลังคาเข้ากับท่อยึดส่วนหน้าและส่วนท้ายโดยใช้สลักเกลียวติดจาน (¼ x 1-¾ นิ้ว) 4 ตัว, แหวนซีล 4 วง และน็อตล็อก (¼ นิ้ว) 4 ตัว ดังที่แสดงใน รูป 15

ชิ้นส่วนที่ต้องใช้สำหรับขั้นตอนนี้:
| โครงยึดรองรับหลังคา | 1 |
| สลักเกลียวติดจาน (¼ x 2-¼ นิ้ว) | 2 |
| น็อตล็อก (¼ นิ้ว) | 2 |
| แหวนซีล | 2 |
| ซีลขอบ | 1 |
| ตัวคั่น (¼ นิ้ว) | 2 |
ชิ้นส่วนที่ต้องใช้สำหรับขั้นตอนนี้:
| ท่อรองรับหลังคา | 1 |
| น็อตล็อก (¼ นิ้ว) | 6 |
| แหวนซีล | 2 |
| สลักเกลียวติดจาน (¼ x 1-½ นิ้ว) | 2 |
| แผ่นโฟม | 1 |
| สลักเกลียวติดจาน (¼ x 1-¼ นิ้ว) | 4 |
ติดแผ่นโฟมเข้ากับท่อรองรับหลังคา (รูป 18)

ยึดท่อรองรับหลังคาเข้ากับโครงยึดรองรับหลังคาแบบยาว โดยใช้สลักเกลียวติดจาน (¼x 1-¼ นิ้ว) 4 ตัว และน็อตล็อก (¼ นิ้ว) 4 ตัว ดังที่แสดงใน รูป 19

ใช้ท่อรองรับหลังคาเป็นแม่แบบ ให้เจาะรู 2 รู (6 มม.หรือ ¼ นิ้ว) ในหลังคา
ยึดท่อรองรับหลังคาเข้ากับหลังคา โดยใช้สลักเกลียวติดจาน (¼ x 1-½ นิ้ว) 2 ตัว, แหวนซีล 2 วง และน็อตล็อก (¼ นิ้ว) 2 ตัว ดังที่แสดงใน รูป 20
