Important: Lesið vandlega innihald þessarar notendahandbókar til að tryggja öryggi, afköst og rétta notkun á vinnuvélarinnar. Slys geta orðið sé þessum notkunarleiðbeiningum ekki fylgt eða hljóti notandi ekki tilhlýðilega þjálfun. Frekari upplýsingar um örugga notkun, þar á meðal öryggisheilræði og fræðsluefni, má finna á www.Toro.com.
Hægt er að hafa samband við Toro í gegnum www.Toro.com til að nálgast upplýsingar um aukabúnað, upplýsingar um staðsetningu söluaðila og vöruskráningu.
Þegar þörf er á þjónustu, varahlutum frá Toro eða frekari upplýsingum skal hafa samband við viðurkenndan þjónustu- og söluaðila eða þjónustuver Toro og hafa tegundar- og raðnúmer vörunnar við höndina. Mynd 1 sýnir hvar tegundar- og raðnúmerin eru á vörunni. Skrifið númerin í kassann hér á síðunni.
Important: Hægt er nálgast upplýsingar um ábyrgð, varahluti og aðrar vöruupplýsingar með því að skanna QR-kóðann á raðnúmerinu (ef hann er til staðar) með fartæki.

Þessi handbók auðkennir mögulega hættu og í henni eru öryggismerkingar auðkenndar með öryggistáknum (Mynd 2), sem sýna hættu sem kann að valda alvarlegum meiðslum eða dauða ef ráðlögðum varúðarráðstöfunum er ekki fylgt.

Þessi handbók notar 2 orð til að auðkenna upplýsingar. Mikilvægt“ vekur athygli á sérstökum vélrænum upplýsingum og Athugið“ undirstrikar almennar upplýsingar sem vert er að lesa vandlega.
![]() |
Öryggismerkingar og leiðbeiningar sjást greinilega og eru hjá öllum svæðum þar sem möguleg hætta er til staðar. Skiptið um skemmdar eða týndar merkingar. |

Note: Miðið vinstri og hægri hlið vinnuvélarinnar út frá hefðbundinni vinnustöðu.

Leggið vinnuvélinni á jafnsléttu.
Setjið stöðuhemilinn á.
Drepið á vélinni og takið lykilinn úr.
Hlutar sem þarf fyrir þetta verk:
| Snúningsfesting | 1 |
| Burðarbolti (5/16 x ¾ to.) | 2 |
| Lásró (5/16 tomma) | 5 |
| Læsingarfetill | 1 |
| Fóðringarplata | 1 |
| Bolti (5/16 x ¾ to.) | 3 |
| Stöðuhólkur (⅝ x 1-1/16 to.) | 1 |
| Spennugormur | 1 |
| Skinna (1-⅛ x 2 to.) | 1 |
| Splitthringur | 1 |
| Skinna (⅝ x 1 to.) | 1 |
| Lásró (⅝ tomma) | 1 |
| Lásró (¼ tomma) | 2 |
| Nöf | 1 |
| Bolti (¼ x 2-¾ to.) | 1 |
| Skinna (9/32 to.) | 1 |


Festið snúningsfestinguna á fóthvíluna með tveimur boltum (5/16 x ¾ to.) og tveimur lásróm (5/16 to.) eins og sýnt er á Mynd 5.

Notið snúningsfestinguna sem borsniðmát og borið þrjú göt (8 mm) í flansinn á fóthvílunni (Mynd 6).

Fjarlægið snúningsfestinguna, boltana tvo (5/16 x ¾ to.) og lásrærnar tvær (5/16 to.) af vinnuvélinni (Mynd 7).

Fjarlægið allt gráð af götunum þremur sem voru boruð í skrefi 2.
Stillið götin þrjú á snúningsfestingunni af við götin þrjú á innanverðum flansi fóthvílunnar (Mynd 8).

Festið snúningsfestinguna á fóthvíluna (Mynd 9) með þremur boltum (5/16 x ¾ to.) og þremur lásróm (5/16 to.).

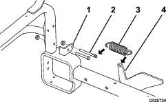
Festið stöðuhólkinn (⅝ x 1-1/16 to.) á snúningsfestingu læsingarfetilsins (Mynd 10).

Stillið læsingarfetilinn af við vinstri fóthvíluna og götin á snúningsfestingunni (Mynd 11).

Festið fóðringarplötuna á snúningsfestinguna og flans fóthvílunnar (Mynd 12) með tveimur boltum (5/16 x ¾ to.) og tveimur lásróm (5/16 to.).

Herðið lásrærnar í 71 til 92 N∙m
Rennið snúningsgorminum á fóðringarplötuna um leið og öðrum enda gormsins er krækt í litla pinnann á læsingarfetlinum og þrýstið hinum endanum upp við gólfplötuna (Mynd 13).
Note: Komið gorminum fyrir á fóðringarplötunni eins og sýnt er.

Festið snúningsgorminn við litla pinnann með lásró (¼ to.); sjá Mynd 13.
Festið snúningsgorminn við fóðringarplötuna með flatri skinnu (1-⅛ x 2 to.) og splitthring (Mynd 14).

Festið læsingarfetilinn við fóthvíluna og fóðringarplötuna með flatri skinnu og (⅝ to.) og lásró (⅝ to.); sjá Mynd 15.
Note: Ekki herða róna of mikið, læsingarfetillinn verður að geta snúist þegar þrýst er á hann.



Festið nöfina við vinstri fóthvíluna með tveimur boltum (5/16 x ¾ to.) og tveimur lásróm (5/16 to.).

Festið botn nafarinnar við grind vinnuvélarinnar með bolta (¼ x 2-¾ to.), skinnu (¼ to.) og lásró (¼ to.); sjá Mynd 17.
Herðið lásrærnar í 71 til 92 N∙m
Stillið læsingarfetilinn af við vinstri fóthvíluna og götin á nöfinni (Mynd 18).

Setjið snúningsás læsingarfetilsins í gatið á vinstri fóthvílunni og í gegnum nöfina (Mynd 18).
Rennið snúningsgorminum á nöfina um leið og þið krækið öðrum enda gormsins í litla pinnann á læsingarfetlinum og þrýstið hinum endanum upp við gólfplötuna (Mynd 19).
Note: Komið gorminum fyrir á nöfinni eins og sýnt er á Mynd 19.


Festið snúningsgorminn við litla pinnann með lásró (¼ to.); sjá Mynd 19.
Festið snúningsgorminn við fóðringarplötuna með flatri skinnu (1-⅛ x 2 to.) og splitthring (Mynd 20).

Festið læsingarfetilinn við fóthvíluna og nöfina með flatri skinnu (⅝ to.) og lásró (⅝ to.); sjá Mynd 21.
Note: Ekki herða róna of mikið, læsingarfetillinn verður að geta snúist þegar þrýst er á hann.

Fargið hlutunum sem þurfti ekki að nota á vinnuvélina.
Hlutar sem þarf fyrir þetta verk:
| Festibúnaður | 2 |
| Bolti (½ x 3-½ to.) | 4 |
| Lásró (½ to.) | 4 |
Note: Gætið þess að loftþrýstingur í fram- og afturdekkjum sé 28 til 41 kPa (4 til 6 psi).
Setjið undirstöðu undir vinnuvélina aftanverða og takið afturdekkin af.
Note: Komið búkkunum fyrir undir festingum hjólamótorsins að aftan.
Festið festingar lauslega við rörin hægra og vinstra megin við fóthvíluna með tveimur boltum (½ x 3-½ to.) og lásróm (½ to.). Komið festingunum og boltunum fyrir eins og sýnt er á Mynd 22.
Note: Ekki þarf að setja upp hægri festinguna ef vinnuvélin er með verkfærastöng í miðjunni.

Hlutar sem þarf fyrir þetta verk:
| Hægri lyftiarmur | 1 |
| Vinstri lyftiarmur | 1 |
| Splittbolti | 2 |
| Klofsplitti | 2 |
| Vindustöng | 1 |
| Bolti (⅜ x 1 to.) | 4 |
| Lásró (⅜ to.) | 4 |
Komið lyftiörmunum fyrir þannig að festingargat hverrar lyftiarmsfestingar flútti við götin á festingunum (Mynd 23).
Festið hægri lyftiarminn við festinguna með splittbolta og klofsplitti (Mynd 23).
Festið annan enda vindustangarinnar lauslega við hægri lyftiarminn með tveimur boltum (⅜ x 1 to.) og lásróm (⅜ to.); sjá Mynd 23.
Note: Ekki herða festingarnar strax.
Festið vinstri lyftiarminn við festinguna með splittbolta og klofsplitti (Mynd 23).
Festið hinn enda vindustangarinnar lauslega við vinstri lyftiarminn með tveimur boltum (⅜ x 1 to.) og lásróm (⅜ to.); sjá Mynd 23.
Note: Ekki herða festingarnar strax.

Hlutar sem þarf fyrir þetta verk:
| 40 tommu tönn (einnig er hægt að kaupa og setja upp 60 tommu tönn) | 1 |
| Skástífa | 2 |
| Bolti (⅜ x 1 to.) | 2 |
| Lásró (⅜ to.) | 6 |
| Bolti (⅜ x 3 to.) | 4 |
Note: Einnig er hægt að kaupa 60 tommu tönn. Setjið hana upp samkvæmt leiðbeiningum fyrir 40 tommu tönn í þessum hluta.
Festið skástífu lauslega við hvorn festiflipann á tönninni.
Note: Komið skástífunum fyrir eins og sýnt er á Mynd 24.
Festið framenda lyftiarmanna lauslega við festingar tannarinnar og skástífurnar með fjórum boltum (⅜ x 3 to.) og 4 lásróm (⅜ to.); sjá Mynd 24.
Note: Ef efri festigötin á festingum tannarinnar eru notuð vinnur tönnin af meiri krafti (Mynd 24).
Látið tönnina liggja á jafnsléttu og herðið festingarnar sem festa lyftiarmana við tönnina (Mynd 24).
Note: Herðið festingarnar í 19 til 24 N∙m.
Herðið boltana og lásrærnar sem festa enda vindustanganna við lyftiarmana (Mynd 23).
Note: Herðið festingarnar í 19 til 24 N∙m.

Hlutar sem þarf fyrir þetta verk:
| Fótstig lyftiarms | 1 |
| Bolti (⅜ x 3 to.) | 2 |
| Lásró (⅜ to.) | 4 |
| Gormfesting | 2 |
| Bolti (⅜ x 2-¾ to.) | 2 |
| Framlengingargormur | 2 |
| Fjöðrunarstöng | 2 |
Festið fótstig lyftiarmsins við utanverðan vinstri lyftiarminn með tveimur boltum (⅜ x 3 to.) og tveimur lásróm (⅜ to.).
Note: Komið fótstiginu fyrir eins og sýnt er á Mynd 25.

Fjarlægið neðri róna og boltann sem festa hverja rörfestingu við lóðrétt rör grindarinnar (Mynd 26).
Note: Fargið rónni og boltanum.
Notið opnu götin á rörfestingunni til að festa gormfestingu við hverja rörfestingu / lóðrétt rör grindarinnar með bolta (⅜ x 2-¾ to.) og lásró (⅜ to.).
Note: Komið gormfestingunum fyrir eins og sýnt er á Mynd 26.

Togið í handfangið til að lyfta tönninni og festa hana í flutningsstöðu.
Herðið allar festingarnar sem eftir eru.
Tengið framlengingargorminn við lyftiarminn og fjöðrunarstöng.
Setjið fjöðrunarstöngina inn í gatið í gormfestingunni og festið lauslega með lásró (⅜ to.).
Endurtakið skref 6 og 7 hinum megin á vinnuvélinni.
Setjið afturdekkin á og takið búkkana undan afturhluta vinnuvélarinnar.
Note: Herðið felgurærnar í 61 til 75 N m.
Gormstillingin stýrir átakinu sem þarf til að lyfta tönninni í flutningsstöðu. Sé gormurinn of laus er erfitt að lyfta tönninni í flutningsstöðu. Sé of mikil spenna á gorminum lyftist tönnin hins vegar of mikið við notkun.
Látið tönnina síga alveg niður.
Note: Þegar gormarnir eru rétt stilltir ætti allur neðsti hluti tannarinnar ekki að vera meira en 6 mm frá gólfinu.
Snúið stilliróm gormsins (Mynd 27) réttsælis til að hækka tönnina og rangsælis til að lækka hana.

Togið í handfangið til að lyfta tönninni og festa hana í flutningsstöðu. Þrýstið á læsingarfetilinn til að setja tönnina í vinnustöðu.
Hægt er að nota tönnina til að ýta eða draga sand og óhreinindi. Þegar tönnin er í vinnustöðu er einfaldlega ýtt á handfangið eða togað aðeins í það, eða ýtt á fótstig lyftiarmsins, til að stýra vinnunni.
Note: Ef hjólin spóla við vinnu skal lyfta tönninni örlítið með því að toga í handfangið. Stundum kann að myndast yfirálag á vélina. Þegar það gerist skal stíga smám saman af inngjafarfótstiginu til að auka snúningshraða og afl vélarinnar
Fjarlægið stillirærnar sem festa fjöðrunarstangirnar við gormfestingarnar.
Slys kunna að verða á fólki ef gormarnir eru spenntir.
Losið þrýsting varlega úr íhlutum með uppsafnaða orku.
Fjarlægið fjöðrunarstangirnar og gormana.
Látið tönnina síga alveg niður.
Fjarlægið klofsplittin og splittboltana sem festa lyftiarmana við festingarnar.
Lyftið framhluta vinnuvélarinnar og ýtið tannarsamstæðunni fram og af vinnuvélinni.