Le kit isolation acoustique peut être installé sur les équipements suivants :
Groupes de déplacement (modèles 31903 et 31909)
Cabine hiver (modèle 31990)
Garez la machine sur une surface plane et horizontale.
Serrez le frein de stationnement.
Abaissez l'accessoire.
Coupez le moteur et enlevez la clé.
Débranchez la batterie ; voir la section Entretien du système électrique dans le Manuel de l'utilisateur.
Pièces nécessaires pour cette opération:
| Plaque isolante du mécanisme de direction | 1 |
| Plaque isolante supérieure du mécanisme de direction | 1 |
| Plaque isolante inférieure du mécanisme de direction | 1 |
| Tampon isolant du mécanisme de direction | 1 |
| Plaque isolante à languette | 3 |
| Tampon isolant d'angle de plancher | 1 |
| Tampon isolant central de plancher | 1 |
| Tampon isolant de frein (largeur 7,6 cm) | 1 |
| Tampon isolant de frein (largeur 3,1 cm) | 1 |
| Tampon isolant du ROPS | 4 |
| Tampon isolant de base de siège (mince) | 1 |
| Tampon isolant de base de siège (épais) | 1 |
| Tampon du siège | 1 |
| Tampon isolant de vitre arrière | 1 |
| Tampon pare-feu inférieur | 1 |
| Tampon pare-feu supérieur | 1 |
| Écran pare-feu | 1 |
| Mousse de frein supérieure | 1 |
| Mousse de frein inférieure | 1 |
| Tampon d'angle droit | 1 |
| Tampon d'angle gauche | 1 |
Retirez les fixations et soulevez le couvercle du mécanisme de direction pour le déposer (Figure 1).
Note: Durant la procédure d'installation des plaques isolantes/tampons isolants, vous pouvez attacher le couvercle du mécanisme de direction au volant avec de la ficelle.

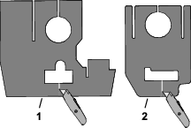
Avec un cutter, coupez les plaques isolantes supérieure et inférieure de la colonne de direction, comme montré à la Figure 2.

Retirez la pellicule protectrice de la face portant l'adhésif sensible à la pression (PSA) des 2 plaques isolantes, comme montré à la Figure 3.

Installez la plaque isolante supérieure du mécanisme de direction (Figure 4).

Installez la plaque isolante inférieure du mécanisme de direction comme montré à la Figure 5. Assurez-vous qu'elle est bien collée sur la plaque isolante supérieure du mécanisme de direction.

Retirez la pellicule protectrice et collez le tampon isolant du mécanisme de direction (Figure 6).

Retirez la pellicule protectrice et placez les 3 plaques isolantes à languette sur les trous du plancher. (Figure 6).
Retirez la pellicule protectrice et placez la plaque isolante de la colonne de direction sur le couvercle de la colonne de direction (Figure 7).
La Figure 8 est une vue de la plaque isolante du mécanisme de direction en place dans le couvercle du mécanisme de direction.


Installez le couvercle du mécanisme de direction (Figure 9).

Déposez le siège de sa base en procédant comme suit :
Retirez les écrous qui fixent le siège sur sa base (Figure 12).
Note: Conservez les écrous.

Débranchez les connexions du faisceau du siège.
Déposez le siège de sa base.
Notez la position du siège monté sur sa base, car il est indispensable de le reposer dans les même trous.
Pour installer les patins isolants du siège (opérations 1 à 3), demandez à une autre personne de tenir le siège au-dessus de la base.
Retirez les fixations à pression qui maintiennent le couvercle du frein fixé au plancher (Figure 13).
Côté gauche du couvercle du frein : coupez les fixations à pression.
Côté droit du couvercle : sortez les fixations à pression du couvercle et conservez-les.

Déposez le couvercle du frein.
Si le kit de charge USB est installé, effectuez la procédure suivante :
Débranchez les 2 bornes de fil de la prise USB dans le couvercle de frein.
Retirez la prise USB du couvercle de frein.
Retirez la pellicule protectrice et installez la plaque isolante de frein (Figure 14).

Retirez la pellicule protectrice sur le dessus du bloc de mousse supérieur du couvercle de frein, et placez le bloc sur le couvercle (Figure 15).
La Figure 16 montre une vue de dessus et en coupe (latérale) de la mousse installée dans le couvercle.


Retirez la pellicule protectrice de la face inférieure du bloc de mousse supérieur du couvercle de frein (Figure 15).
Placez le bloc de mousse inférieur sur le bloc de mousse supérieur du couvercle de frein (Figure 15 et Figure 16).
Si le kit de charge USB est installé, effectuez la procédure suivante :
Insérez la prise USB dans le couvercle de frein.
Connectez les 2 bornes de fil du faisceau de la machine à la prise USB.
Reposez le couvercle de frein à l'aide des 2 fixations à pression retirées précédemment (Figure 13).
Retirez la pellicule protectrice et installez le tampon pare-feu inférieur (Figure 17).

Retirez la pellicule protectrice et installez le tampon pare-feu supérieur (Figure 17).
Retirez la pellicule protectrice et installez l'écran pare-feu (Figure 18).

Retirez la pellicule protectrice et installez le tampon isolant de vitre arrière (Figure 18).
Retirez la pellicule protectrice et installez le tampon isolant d'angle, comme montré à la Figure 21.

Insérez les tampons isolants du ROPS dans les tubes du ROPS (Figure 22).

Pièces nécessaires pour cette opération:
| Tampon isolant de montant arrière | 2 |
| Tampon isolant latéral de porte gauche | 1 |
| Tampon isolant latéral de porte droite | 1 |
| Tampon isolant supérieur de pavillon | 1 |
| Tampon isolant inférieur de pavillon | 1 |
| Tampon isolant de panneau de montage | 2 |
| Cache de montant arrière gauche | 1 |
| Cache de montant arrière droit | 1 |
| Panneau insonorisant gauche | 1 |
| Panneau insonorisant droit | 1 |
| Tampon isolant de montant extérieur gauche | 1 |
| Tampon isolant de montant extérieur droit | 1 |
Déposez les caches latéraux arrière de la cabine (Figure 23 et Figure 24).
Note: Conservez les boulons.


Placez les tampons isolants de montant sur les flexibles et le faisceau de câblage (Figure 25).

Retirez la pellicule protectrice et fixez les panneaux insonorisants et les tampons isolants extérieurs de montant sur les caches du montant arrière, comme montré à la Figure 26 et la Figure 27.
La Figure 27 montre les dimensions correctes pour l'installation des tampons isolants extérieurs de montant et les panneaux insonorisants sur les caches de montant arrière.


Utilisez les boulons retirés précédemment pour fixer l'ensemble de protection arrière du montant (soit, les tampons isolants extérieurs, les caches arrière et les panneaux insonorisants) sur les supports correspondants (Figure 28).
Montez l'ensemble en veillant à orienter le tampon insonorisant extérieur du montant vers l'utilisateur.

Retirez la pellicule protectrice et placez les tampons isolants du ROPS sur les montants du ROPS (Figure 29).

Retirez la pellicule protectrice et installez le tampon isolant inférieur du pavillon au-dessus de la vitre arrière de la cabine (Figure 30).

Retirez la pellicule protectrice et placez le tampon isolant supérieur du pavillon sur le support de montage du ROPS (Figure 31).

Retirez la pellicule protectrice et installez les tampons isolants latéraux des portes, comme montré à la Figure 32.

Retirez la pellicule protectrice et installez les tampons isolants du panneau de montage sur les côtés du panneau de commande de la cabine, comme montré à la Figure 33.

Fixez le siège sur sa base à l'aide des écrous retirés précédemment.
Le siège doit être installé dans les mêmes trous que ceux d'où vous avez retiré les fixations à la section Dépose du siège .

Rebranchez sur le siège les connexions que vous aviez débranchées.
Posez le tapis en caoutchouc sur le plancher de la machine (Figure 35).

Rebranchez la batterie ; voir la section Entretien du système électrique dans le Manuel de l'utilisateur de la machine.