O kit de redução de ruído pode ser instalado no seguinte:
Unidades de tração (modelos 31903 e 31909)
Ambiente de inverno (modelo 31990)
Estacione a máquina numa superfície nivelada.
Engate o travão de estacionamento.
Desça o acessório.
Desligue o motor e retire a chave.
Desligue a bateria; consulte a secção de manutenção do sistema elétrico do Manual do utilizador.
Peças necessárias para este passo:
| Tampão da direção | 1 |
| Tampão superior da direção | 1 |
| Tampão inferior da direção | 1 |
| Almofada da direção | 1 |
| Tampão da patilha de montagem | 3 |
| Tapete do canto do piso | 1 |
| Tapete do centro do piso | 1 |
| Tampão dos travões – 7,6 cm de largura | 1 |
| Tampão dos travões – 3,1 cm de largura | 1 |
| Tampão do ROPS | 4 |
| Tapete da base do banco (fino) | 1 |
| Tapete da base do banco (grosso) | 1 |
| Tapete do banco | 1 |
| Tapete da janela traseira | 1 |
| Almofada do corta-vento inferior | 1 |
| Almofada do corta-vento superior | 1 |
| Almofada retangular do corta-vento | 1 |
| Esponja superior dos travões | 1 |
| Esponja inferior dos travões | 1 |
| Almofada do canto direito | 1 |
| Almofada do canto esquerdo | 1 |
Remova as fixações e eleve a cobertura da direção para fora do caminho (Figura 1).
Note: Enquanto instala os tampões/almofadas neste procedimento, pode utilizar fio para prender a cobertura da direção ao volante.

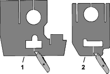
Utilize uma faca para cortar os tampões superior e inferior da coluna da direção como se mostra na Figura 2.

Remova a película posterior do lado do autocolante com sensor de pressão (PSA) dos dois tampões como se mostra na Figura 3.

Instale o tampão superior da direção (Figura 4).

Instale o tampão inferior da direção como se mostra na Figura 5. Certifique-se de que aderiu ao tampão superior da direção.

Remova a película posterior e instale a almofada da direção (Figura 6).

Remova a película posterior e instale os três tampões da patilha de montagem sobre os furos no painel do piso (Figura 6).
Remova a película posterior e instale o tampão da direção na cobertura da direção (Figura 7).
Figura 8 Mostra uma vista superior do tampão da direção instalado na cobertura da direção.


Instale a cobertura da direção (Figura 9).

Realize os passos seguintes para remover o banco da base do banco:
Remova as porcas que prendem o banco à base do banco (Figura 12).
Note: Guarde as porcas.

Remova quaisquer ligações da cablagem do banco.
Remova o banco da base do banco.
Anote a posição do banco montado na base do banco, uma vez que o banco tem de ser reinstalado nos mesmos furos.
Para instalar as almofadas do banco (passos 1 a 3), peça a um ajudante que segure o banco acima da base do banco.
Remova as fixações de pressão que prendem a cobertura dos travões ao piso (Figura 13).
Lado esquerdo da cobertura dos travões: corte os tampões.
Lado direito da cobertura dos travões: puxe os tampões para fora da cobertura e guarde os tampões.

Remova a cobertura dos travões.
Se estiver instalado o kit opcional de carregamento por USB, realize os seguintes passos:
Desligue os dois terminais da porta USB na cobertura dos travões.
Remova a porta USB da cobertura dos travões.
Remova a película posterior e instale os tampões dos travões (Figura 14).

Remova a película posterior da parte superior da esponja da cobertura superior dos travões e instale-a na cobertura dos travões (Figura 15).
Figura 16 Mostra uma vista superior e uma cortada (lateral) da esponja instalada na cobertura.


Remova a película posterior da parte inferior da esponja superior da cobertura dos travões (Figura 15).
Instale a esponja inferior da cobertura dos travões na esponja superior da cobertura dos travões (Figura 15 e Figura 16).
Se estiver instalado o kit opcional de carregamento por USB, realize os seguintes passos:
Instale a porta USB na cobertura dos travões.
Ligue os dois terminais da cablagem da máquina na porta USB.
Instale a cobertura dos travões com as duas fixações de pressão removidas (Figura 13).
Remova a película posterior e instale a almofada do corta-vento inferior (Figura 17).

Remova a película posterior e instale a almofada do corta-vento superior (Figura 17).
Remova a película posterior e instale a almofada retangular do corta-vento (Figura 18).

Remova a película posterior e instale o tapete da janela traseira (Figura 18).
Remova a película posterior e instale tapetes do canto como se mostra na Figura 21.

Coloque os tampões do ROPS nos tubos do ROPS (Figura 22).

Peças necessárias para este passo:
| Tapete do pilar traseiro | 2 |
| Almofada da porta do lado esquerdo | 1 |
| Almofada da porta do lado direito | 1 |
| Almofada superior do teto | 1 |
| Almofada inferior do teto | 1 |
| Almofada de montagem do painel | 2 |
| Cobertura traseira esquerda do pilar | 1 |
| Cobertura traseira direita do pilar | 1 |
| Painel esquerdo abafador do som | 1 |
| Painel direito abafador do som | 1 |
| Almofada exterior esquerda do pilar | 1 |
| Almofada exterior direita do pilar | 1 |
Remova as coberturas laterais traseiras da cabina (Figura 23 e Figura 24).
Note: Guarde os parafusos.


Instale as almofadas traseiras do pilar sobre os tubos e cablagens (Figura 25).

Remova a película posterior e monte os painéis abafadores do som e as almofadas exteriores do pilar nas coberturas traseiras do pilar como se mostra na Figura 26 e na Figura 27.
Figura 27 Mostra as dimensões adequadas para a instalação das almofadas exteriores do pilar e painéis abafadores do som nas coberturas traseiras do pilar.


Utilize os parafusos previamente removidos para instalar o conjunto da cobertura traseira do pilar (ou seja, almofadas exteriores do pilar, coberturas exteriores do pilar e painéis abafadores do som) aos suportes de montagem do painel (Figura 28).
Instale o conjunto de forma a que a almofada exterior do pilar fique virada para o operador.

Remova a película posterior e instale as almofadas do ROPS na montagem do ROPS (Figura 29).

Remova a película posterior e instale a almofada inferior do teto acima da janela traseira da cabina (Figura 30).

Remova a película posterior e instale a almofada superior do teto no suporte de montagem do ROPS (Figura 31).

Remova a película posterior e instale as almofadas laterais da porta como se mostra na Figura 32.

Remova a película posterior e instale as almofadas do painel de montagem nas laterais do painel de controlo da cabina como se mostra na Figura 33.

Utilize as porcas previamente removidas para prender o banco à base do banco.
O banco deve ser instalado nos mesmos furos dos quais removeu as ferragens em Remoção do banco.

Instale quaisquer ligações de cablagem previamente desligadas ao banco.
Instale o tapete do piso de borracha no piso da máquina (Figura 35).

Ligue a bateria; consulte a secção de manutenção do sistema elétrico do Manual do utilizador da máquina.