Комплект для снижения уровня шума можно установить на следующие машины и узлы:
Тяговые блоки (модели 31903 и 31909)
Зимний корпус (модель 31990).
Установите машину на ровной поверхности.
Включите стояночный тормоз.
Опустите навесное оборудование.
Выключите двигатель и извлеките ключ из замка зажигания.
Отсоедините аккумулятор; см. раздел «Техническое обслуживание электрической системы» в Руководстве оператора.
Детали, требуемые для этой процедуры:
| Заглушка рулевого управления | 1 |
| Верхняя заглушка рулевого управления | 1 |
| Нижняя заглушка рулевого управления | 1 |
| Накладка рулевого управления | 1 |
| Заглушка монтажного выступа | 3 |
| Угловая накладка пола | 1 |
| Средняя накладка пола | 1 |
| Заглушка тормоза – ширина 7,6 см | 1 |
| Заглушка тормоза – ширина 3,1 см | 1 |
| Заглушка конструкции защиты оператора при опрокидывании машины (ROPS) | 4 |
| Накладка основания сиденья (тонкая) | 1 |
| Накладка основания сиденья (толстая) | 1 |
| Накладка сиденья | 1 |
| Накладка заднего окна | 1 |
| Нижняя накладка противопожарной перегородки | 1 |
| Верхняя накладка противопожарной перегородки | 1 |
| Накладка противопожарной плитки | 1 |
| Верхний элемент из пеноматериала для тормоза | 1 |
| Нижний элемент из пеноматериала для тормоза | 1 |
| Правая угловая накладка | 1 |
| Левая угловая накладка | 1 |
Снимите крепежные детали и поднимите крышку рулевого управления вверх, чтобы она не мешала выполнению действий (Рисунок 1).
Note: При установке заглушек/накладок в ходе данной процедуры можно использовать веревку, чтобы прикрепить крышку рулевого управления к рулевому колесу.

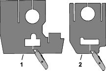
Отрежьте универсальным ножом верхнюю и нижнюю заглушки рулевой колонки, как показано на Рисунок 2.

На 2 заглушках снимите защитную пленку со стороны, на которую нанесен чувствительный к давлению клей (PSA), как показано на Рисунок 3.

Установите верхнюю заглушку рулевого управления (Рисунок 4).

Установите нижнюю заглушку рулевого управления, как показано на Рисунок 5. Убедитесь в том, что она приклеилась к верхней заглушке рулевого управления.

Снимите защитную пленку и установите накладку рулевого управления (Рисунок 6).

Удалите защитную пленку и установите 3 заглушки монтажных проушин в отверстия днища кузова. (Рисунок 6).
Удалите защитную пленку и установите заглушку рулевого управления в крышку рулевого управления (Рисунок 7).
На Рисунок 8 показан вид сверху заглушки рулевого управления, установленной в крышке рулевого управления.


Установите крышку рулевого управления (Рисунок 9).

Выполните следующие действия для снятия сиденья с его основания:
Отверните гайки крепления сиденья к его основанию (Рисунок 12).
Note: Сохраните гайки.

Снимите все соединения жгутов проводов с сиденья.
Снимите сиденье с его основания.
Отметьте положение установленного сиденья относительно его основания, так как сиденье необходимо установить в те же отверстия.
Чтобы установить накладки сиденья (пункты с 1 по 3), вместе с помощником удерживайте сиденье над его основанием.
Снимите вставные защелки, которые крепят крышку тормоза к полу (Рисунок 13).
Левая сторона крышки тормоза: отрежьте заглушки.
Правая сторона крышки тормоза: вытяните заглушки из крышки и сохраните их.

Снимите крышку тормоза.
Если установлен дополнительный комплект для зарядки с USB разъемом, выполните следующие действия:
Отсоедините 2 клеммы от USB порта в крышке тормоза.
Снимите USB порт с крышки тормоза.
Снимите защитную пленку и установите заглушки тормоза (Рисунок 14).

Снимите защитную пленку с верхней стороны верхнего элемента из пеноматериала для крышки тормоза и установите его на крышку тормоза Рисунок 15.
На Рисунок 16 показан вид сверху и вид в разрезе (сбоку) элемента из пеноматериала, установленного в крышку.


Снимите защитную пленку с нижней стороны верхнего элемента из пеноматериала для крышки тормоза (Рисунок 15).
Установите нижний элемент из пеноматериала для крышки тормоза на верхний элемент из пеноматериала для крышки тормоза (Рисунок 15 и Рисунок 16).
Если установлен опциональный комплект зарядного устройства с разъемом USB, произведите следующие действия:
Установите USB порт в крышку тормоза.
Подсоедините 2 клеммы жгута электропроводки машины к USB порту.
Установите крышку тормоза с помощью 2 снятых ранее вставных защелок (Рисунок 13).
Снимите защитную пленку и установите нижнюю часть накладки противопожарной перегородки (Рисунок 17).

Снимите защитную пленку и установите верхнюю часть накладки противопожарной перегородки (Рисунок 17).
Снимите защитную пленку и установите накладку противопожарной плитки (Рисунок 18).

Снимите защитную пленку и установите накладку заднего окна (Рисунок 18).
Снимите защитную пленку и установите угловые накладки, как показано на Рисунок 21.

Вставьте заглушки конструкции ROPS в трубы конструкции ROPS (Рисунок 22).

Детали, требуемые для этой процедуры:
| Задняя накладка стойки | 2 |
| Боковая накладка левой двери | 1 |
| Боковая накладка правой двери | 1 |
| Верхняя накладка потолка | 1 |
| Нижняя накладка потолка | 1 |
| Накладка монтажной панели | 2 |
| Левая задняя крышка стойки | 1 |
| Правая задняя крышка стойки | 1 |
| Левая панель демпфирования звука | 1 |
| Правая панель демпфирования звука | 1 |
| Левая наружная накладка стойки | 1 |
| Правая наружная накладка стойки | 1 |
Снимите задние боковые крышки кабины (Рисунок 23 и Рисунок 24).
Note: Сохраните болты.


Установите задние накладки стойки поверх шлангов и жгутов проводов (Рисунок 25).

Удалите защитную пленку и установите шумоизолирующие панели и наружные накладки стоек на крышки задних стоек, как показано на Рисунок 26 и Рисунок 27.
На Рисунок 27 показаны правильные размеры для установки наружных накладок стойки и панелей демпфирования звука на задние крышки стойки.


Используйте ранее снятые болты для установки задней крышки стойки в сборе (т.е. наружные накладки стойки, задние крышки стойки и панели демпфирования звука) на кронштейны монтажной панели (Рисунок 28).
Установите узел таким образом, чтобы наружная накладка стойки была обращена в сторону оператора.

Удалите защитную пленку и установите накладки конструкции ROPS на монтажные кронштейны конструкции ROPS (Рисунок 29).

Удалите защитную пленку и установите накладку нижней части потолка над задним окном кабины (Рисунок 30).

Удалите защитную пленку и установите накладку верхней части потолка на монтажный кронштейн конструкции ROPS (Рисунок 31).

Снимите защитную пленку и установите боковые накладки дверей, как показано на Рисунок 32.

Удалите защитную пленку и установите накладки монтажной панели на боковые части панели управления кабины, как показано на Рисунок 33.

Используйте ранее снятые гайки для крепления сиденья к его основанию.
Сиденье должно быть установлено в те же отверстия, из которых были сняты крепежные детали при выполнении действий, описанных в разделе Снятие сиденья.

Подсоедините все ранее отсоединенные разъемы жгутов проводов к сиденью.
Уложите резиновый напольный коврик на пол машины (Рисунок 35).

Подсоедините аккумулятор; см. раздел «Техническое обслуживание электрической системы» в Руководстве оператора для вашей машины.