Ljudreduceringssatsen kan monteras på följande enheter:
Traktorenheter (modell 31903 och 31909)
Vinterhytt (modell 31990)
Parkera maskinen på en plan yta.
Koppla in parkeringsbromsen.
Sänk redskapet.
Stäng av motorn och ta ut nyckeln.
Koppla loss batteriet. Se avsnittet om elsystemets underhåll i bruksanvisningen.
Delar som behövs till detta steg:
| Styrplugg | 1 |
| Övre styrplugg | 1 |
| Nedre styrplugg | 1 |
| Styrplatta | 1 |
| Plugg för monteringsflik | 3 |
| Hörngolvplatta | 1 |
| Mittgolvplatta | 1 |
| Bromsplugg – 7,6 cm bred | 1 |
| Bromsplugg – 3,1 cm bred | 1 |
| Vältskyddsplugg | 4 |
| Sätessockelsplatta (tunn) | 1 |
| Sätessockelsplatta (tjock) | 1 |
| Sätesplatta | 1 |
| Bakruteplatta | 1 |
| Nedre brandväggsplatta | 1 |
| Övre brandväggsplatta | 1 |
| Brandväggsrutplatta | 1 |
| Övre bromsskum | 1 |
| Nedre bromsskum | 1 |
| Höger hörnplatta | 1 |
| Vänster hörnplatta | 1 |
Ta bort fästelementen och lyft styrkåpan ur vägen (Figur 1).
Note: När du monterar pluggarna/plattorna i denna procedur kan du använda snöre för att fästa styrkåpan på ratten.

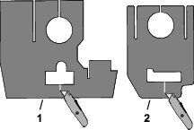
Kapa de övre och nedre styrkolonnspluggarna med en brytbladskniv enligt Figur 2.

Ta bort stödfilmen från den tryckkänsliga häftsidan (TH) på de två pluggarna enligt Figur 3.

Montera den övre styrpluggen (Figur 4).

Montera den nedre styrpluggen enligt Figur 5. Säkerställ att den sitter fast i den övre styrpluggen.

Ta bort stödfilmen och montera styrplattan (Figur 6).

Ta bort stödfilmen och montera de tre monteringsflikpluggarna över hålen i fotplattan. (Figur 6).
Ta bort stödfilmen och montera styrpluggen på styrkåpan (Figur 7).
Figur 8 visar den monterade styrpluggen i styrkåpan sett uppifrån.


Montera styrkåpan (Figur 9).

Utför följande steg för att ta bort sätet från sätessockeln:
Ta bort muttrarna som fäster sätet på sätessockeln (Figur 12).
Note: Spara muttrarna.

Ta bort eventuella kablageanslutningar från sätet.
Ta bort sätet från sätessockeln.
Notera hur sätet är monterat på sätessockeln, eftersom sätet måste sättas tillbaka i samma hål.
Be en medhjälpare att hålla sätet ovanför sätessockeln när du monterar sätesplattorna (steg 1 till 3).
Ta bort tryckfästelementen som fäster bromskåpan i golvet (Figur 13).
På bromskåpans vänstra sida: kapa pluggarna.
På bromskåpans högra sida: dra ut pluggarna från kåpan och spara dem.

Ta bort bromskåpan.
Utför följande steg om den valbara USB-laddningssatsen är monterad:
Koppla loss de två kabelanslutningarna från USB-porten i bromskåpan.
Ta bort USB-porten från bromskåpan.
Ta bort stödfilmen och montera bromspluggarna (Figur 14).

Ta bort stödfilmen från ovansidan av det övre skumgummit till bromskåpan och montera det på bromskåpan (Figur 15).
Figur 16 visar skummet monterat på kåpan i en vy sedd uppifrån och en genomskärningsvy från sidan.


Ta bort stödfilmen från undersidan av det övre skumgummit till bromskåpan (Figur 15).
Fäst bromskåpans undre skumgummi på bromskåpans övre skumgummi (Figur 15 och Figur 16).
Utför följande steg om den valbara USB-laddningssatsen är monterad:
Montera USB-porten i bromskåpan.
Anslut de två kabelanslutningarna från maskinens kablage till USB-porten.
Montera bromskåpan med de två tidigare borttagna tryckfästelementen (Figur 13).
Ta bort stödfilmen och montera hörnplattorna enligt Figur 21.

Placera vältskyddspluggarna i vältskyddsrören (Figur 22).

Delar som behövs till detta steg:
| Bakre stolpplatta | 2 |
| Vänster dörrplatta | 1 |
| Höger dörrplatta | 1 |
| Övre takplatta | 1 |
| Nedre takplatta | 1 |
| Monteringspanelens platta | 2 |
| Vänster bakre stolpkåpa | 1 |
| Höger bakre stolpkåpa | 1 |
| Vänster ljuddämpningspanel | 1 |
| Höger ljuddämpningspanel | 1 |
| Vänster yttre stolpplatta | 1 |
| Höger yttre stolpplatta | 1 |
Ta bort hyttens bakre sidoskydd (Figur 23 och Figur 24).
Note: Spara skruvarna.


Montera de bakre stolpplattorna över slangarna och kablaget (Figur 25).

Ta bort stödfilmen och montera ljuddämpningspanelerna och de yttre pelarplattorna på de bakre pelarskydden enligt Figur 26 och Figur 27.
Figur 27 visar de korrekta måtten för montering av de yttre stolpplattorna och ljuddämpaningspanelerna på de bakre stolpkåporna.


Använd skruvarna du tog bort tidigare och montera den bakre stolpkåpsenheten (dvs. de yttre stolpplattorna, de bakre stolpkåporna och ljuddämpaningspanelerna) på monteringspanelens fästen (Figur 28).
Montera enheten så att den yttre stolpplattan är vänd mot föraren.

Ta bort stödfilmen och montera dörrsidoplattorna enligt Figur 32.

Ta bort stödfilmen och montera monteringspanelsplattorna på sidorna av hyttens kontrollpanel enligt Figur 33.

Använd muttrarna du tog bort tidigare och fäst sätet på sätessockeln.
Sätet ska monteras i samma hål som du tog bort fästelementen från i Ta bort sätet.

Montera eventuella kablageanslutningar till sätet du kopplade från tidigare.
Montera gummigolvmattan på maskinens golv (Figur 35).

Anslut batteriet. Se avsnittet om underhåll av elsystemet i maskinens bruksanvisningen.