Lydreduksjonssettet kan monteres på følgende maskiner:
Trekkenheter (modell 31903 og 31909)
Vinterhytte (modell 31990)
Parker maskinen på en jevn flate.
Sett på parkeringsbremsen.
Senk tilbehøret.
Slå av motoren og ta ut nøkkelen.
Koble fra batteriet. Se delen om vedlikehold av det elektriske systemet i brukerhåndboken.
Deler som er nødvendige for dette trinnet:
| Rattplugg | 1 |
| Øvre styreplugg | 1 |
| Nedre rattplugg | 1 |
| Styreplate | 1 |
| Monteringstapplugg | 3 |
| Gulvplate, hjørne | 1 |
| Gulvplate, midtre | 1 |
| Bremseplugg – 7,6 cm bred | 1 |
| Bremseplugg – 3,1 cm bred | 1 |
| Veltebeskyttelsesplugg | 4 |
| Setebaseplate (tynn) | 1 |
| Setebaseplate (tykk) | 1 |
| Seteplate | 1 |
| Bakruteplate | 1 |
| Nedre brannmurplate | 1 |
| Øvre brannmurplate | 1 |
| Brannmurflisplate | 1 |
| Øvre bremseskum | 1 |
| Nedre bremseskum | 1 |
| Høyre hjørneplate | 1 |
| Venstre hjørneplate | 1 |
Fjern festeanordningene og løft rattdekselet opp og unna (Figur 1).
Note: Du kan bruke en snor til å feste rattdekselet til rattet mens du monterer pluggene/platene i denne prosedyren.

Bruk en universalkniv til å kutte de øvre og nedre rattstammepluggene som vist i Figur 2.

Fjern dekkpapiret fra den trykkfølsomme og selvklebende (PSA) siden av de to pluggene som vist i Figur 3.

Monter den øvre rattpluggen (Figur 4).

Monter den nedre rattpluggen som vist i Figur 5. Påse at den er festet til den øvre rattpluggen.

Fjern dekkpapiret, og monter styreplaten (Figur 6).

Fjern dekkpapiret, og monter de tre monteringstappluggene over hullene på gulvplaten. (Figur 6).
Fjern dekkpapiret, og monter rattpluggen på styredekselet (Figur 7).
Figur 8 viser den rattpluggen montert i rattdekslet sett ovenfra.


Monter rattdekselet (Figur 9).

Utfør følgende trinn for å fjerne setet fra setebasen:
Fjern mutterne som fester setet til setebasen (Figur 12).
Note: Behold mutrene.

Fjern eventuelle ledningssatstilkoblinger fra setet.
Fjern setet fra setebasen.
Merk deg plasseringen av monterte setet på setebasen, ettersom setet skal monteres på nytt i de samme hullene.
Når du skal montere seteplatene (trinn 1 t.o.m. 3), må du ha en hjelper som holder setet over setebasen.
Fjern skyvefestene som fester bremsedekselet til gulvet (Figur 13).
Venstre side av bremsedekselet: Kutt pluggene.
Høyre side av bremsedekselet: Trekk pluggene ut av dekselet og behold pluggene.

Fjern bremsedekselet.
Hvis det valgfrie USB-ladesettet er installert, utfører du følgende trinn:
Koble fra de to ledningsterminalene fra USB-porten i bremsedekselet.
Fjern USB-porten fra bremsedekselet.
Fjern dekkpapiret, og monter bremsepluggene (Figur 14).

Fjern dekkpapiret fra toppen av det øvre bremsedekselskummet, og monter det på bremsedekselet (Figur 15).
Figur 16 viser skummet montert på dekselet sett ovenfra og som tverrsnitt.


Fjern dekkpapiret fra bunnen av det øvre bremsedekselskummet (Figur 15).
Monter det nedre bremsedekselskummet på det øvre bremsedekselskummet (Figur 15 og Figur 16).
Hvis det valgfrie USB-ladesettet er installert, utfører du følgende trinn:
Monter USB-porten i bremsedekselet.
Koble de to ledningsterminalene til maskinledningssatsen på USB-porten.
Monter bremsedekselet med de to skyvefestene du fjernet tidligere (Figur 13).
Fjern dekkpapiret, og monter hjørneplatene som vist i Figur 21.

Plasser veltebeskyttelsespluggene inn i veltebeskyttelsesrørene (Figur 22).

Deler som er nødvendige for dette trinnet:
| Baksøyleplate | 2 |
| Venstre dørplate | 1 |
| Høyre dørplate | 1 |
| Øvre takplate | 1 |
| Nedre takplate | 1 |
| Monteringspanelplate | 2 |
| Venstre baksøyledeksel | 1 |
| Høyre baksøyledeksel | 1 |
| Venstre lyddempende panel | 1 |
| Høyre lyddempende panel | 1 |
| Venstre yttersøyleplate | 1 |
| Høyre yttersøyleplate | 1 |
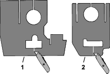
Fjern dekslene på baksiden av førerhuset (Figur 23 og Figur 24).
Note: Behold boltene.


Monter baksøyleplatene over slangene og ledningssatsen (Figur 25).

Fjern dekkpapiret, og monter de lyddempende panelene og yttersøyleplatene til baksøyledekslene som vist i Figur 26 og Figur 27.
Figur 27 viser de riktige dimensjonene for montering av yttersøyleplatene og de lyddempende panelene på baksøyledekslene.


Bruk boltene du fjernet tidligere, til å montere monteringsbraketten baksøyledekselenheten (dvs. yttersøyleplatene, baksøyledekslene og de lyddempende panelene) til monteringspanelbrakettene (Figur 28).
Monter enheten slik at yttersøyleplaten vender mot operatøren.

Fjern dekkpapiret, og monter dørplatene som vist i Figur 32.

Fjern dekkpapiret, og monter monteringspanelplatene på sidene av førerhusets kontrollpanel som vist i Figur 33.

Bruk mutterne du fjernet tidligere, til å feste setet til setebasen.
Setet skal monteres i samme hull som du fjernet monteringsdelene fra i Ta av setet.

Monter eventuelle ledningssatstilkoblinger du koblet fra tidligere, til setet.
Legg gulvmatten på gulvet til maskinen (Figur 35).

Koble til batteriet. Se delen om vedlikehold av det elektriske systemet i brukerhåndboken for din maskin.