Údržba
Přístup k žací jednotce
Při provádění údržby plochého nože a vřetena postupujte následovně:
Kontrola místa mazání hnacího hřídele vřetena
| Servisní interval | Postup při údržbě |
|---|---|
| Každý rok |
|
-
Demontujte upevňovací prvky, jež připevňují montážní celek pohonu vřetena k boční desce (Obrázek 6).

-
Demontujte matice z vnitřní strany boční desky (Obrázek 6).
-
Uvnitř hnacího hřídele vřetena (Obrázek 7) zkontrolujte množství zbývajícího maziva.
Pokud není množství maziva dostatečné, doplňte je do vnitřního a vnějšího hřídele s drážkou.

-
Pomocí dříve demontovaných imbusových šroubů a matic připevněte sestavu pohonu vřetena k boční desce.
-
Namontujte žací jednotku na hnací jednotku; viz provozní příručka k hnací jednotce.
Seřízení kontaktu plochého nože a vřetene
Každodenní nastavení plochého nože
Před každým zahájením sekání, prováděným denně či podle potřeby, je nutné zkontrolovat správný kontakt vřetena a plochého nože. Tento postup proveďte, i když je kvalita sekání přijatelná.
Note: Tento postup lze provést s žací jednotkou namontovanou na hnací jednotce.
-
Vypněte hnací jednotku.
-
Přistupte k žací jednotce, viz Přístup k žací jednotce.
-
Pomalu otáčejte vřetenem opačným směrem a poslechem kontrolujte kontakt vřetena a plochého nože.
-
Není-li patrný řádný kontakt, nastavte plochý nůž následujícím způsobem.
-
Otočte seřizovacími šrouby držáku plochého nože doprava (Obrázek 8) (vždy po jednom cvaknutí), dokud neucítíte a neuslyšíte lehký kontakt.
Note: Seřizovací šrouby držáku plochého nože mají aretaci odpovídající pohybu plochého nože o 0,018 mm pro jednu indexovanou polohu.

-
Vložte dlouhý pásu papíru pro kontrolu žacího výkonu (objednací číslo Toro 125-5610) mezi vřeteno a plochý nůž kolmo k plochému noži (Obrázek 9). Poté pomalu otočte vřeteno dopředu. Mělo by dojít k uříznutí papíru. Pokud se tak nestalo, opakujte krok 1 a 2, dokud se papír neuřízne.
-
-
Pokud je patrný nadměrný kontakt/odpor vřetena, žací jednotku buď přelapujte, povrchově upravte přední stranu plochého nože nebo přebruste žací jednotku, aby okraje byly ostré a docílilo se tak přesného sekání (viz Návod na broušení vřeten a rotačních sekaček Toro, formulář č. 09168SL).
Important: Za všech okolností je preferován lehký kontakt. Pokud není udržován lehký kontakt, nedochází k dostatečnému samočinnému broušení ostří plochého nože / vřetena a po určité době provozu dojde k jejich otupení. Pokud je kontakt nadměrný, dochází k rychlejšímu a nerovnoměrnému opotřebovávání plochého nože / vřetena a kvalita sekání může být nepříznivě ovlivněna.
Note: V případě žacích jednotek eFlex má kontakt vřetena a plochého nože značný vliv na spotřebu energie. Nejvhodnější je velmi slabý kontakt z hlediska optimálního žacího výkonu a odběru energie z akumulátoru.
Note: Jelikož žací nože vřetena působí na plochý nůž, objeví se na povrchu předního ostří mírné otřepení po celé délce plochého nože. Příležitostně odstraňte otřepení na předním ostří přetažením pilníku.Po delší době provozu se na obou koncích plochého nože mohou vytvořit rýhy. Tyto rýhy je nutné zaoblit nebo vybrousit a zarovnat s ostřím plochého nože, aby byl zajištěn bezproblémový provoz.
-
Nastavení plochého nože po zabroušení, přelapování nebo demontáži
Použijte tento postup při prvním nastavení žací jednotky a po nabroušení, přelapování nebo demontáži vřetene. Nejedná se o každodenní nastavování.
Note: Tento postup lze provést s žací jednotkou namontovanou na hnací jednotce.
Note: V případě žacích jednotek eFlex má kontakt vřetena a plochého nože značný vliv na spotřebu energie. Nejvhodnější je velmi slabý kontakt z hlediska optimálního žacího výkonu a odběru energie z akumulátoru.
-
Vypněte hnací jednotku.
-
Přistupte k žací jednotce, viz Přístup k žací jednotce.
-
Otočte vřetenem tak, aby jeden z žacích nožů překřížil hranu plochého nože mezi první a druhou hlavou šroubu plochého nože, nacházející se na pravé straně žací jednotky.
-
Na žacím noži si vyznačte identifikační značku v místě, kde se kříží s hranou plochého nože.
Note: Tím si usnadníte pozdější nastavování.
-
Mezi žací nůž a hranu plochého nože zasuňte 0,05mm podložku v místě, jež jste vyznačili v kroku 4.
-
Otáčejte pravým seřizovacím šroubem držáku plochého nože (Obrázek 8), dokud neucítíte mírný tlak na podložku při jejím posunování z jedné strany na druhou. Vyjměte podložku.
-
Na levé straně žací jednotky pomalu otáčejte vřetenem tak, aby nejbližší žací nůž překřížil hranu plochého nože mezi hlavami prvního a druhého šroubu.
-
Opakujte kroky 4 až 6 na levé straně žací jednotky a u levého seřizovacího šroubu držáku plochého nože.
-
Opakujte kroky 5 a 6, dokud na stykové body na levé a pravé straně žací jednotky nebude působit mírný tlak.
-
Chcete-li dosáhnout volného kontaktu mezi vřetenem a plochým nožem, otočte každým seřizovacím šroubem držáku plochého nože ve směru hodinových ručiček o 3 cvaknutí.
Note: Každé cvaknutí seřizovacího šroubu držáku plochého nože posune plochý nůž o 0,018 mm. Seřizovací šrouby neutahujte nadměrně.Při otáčení seřizovacího šroubu ve směru hodinových ručiček se hrana plochého nože posunuje blíže ke vřetenu. Při otáčení seřizovacího šroubu proti směru hodinových ručiček se hrana plochého nože odsunuje od vřetena.
-
Vložte dlouhý pásu papíru pro kontrolu žacího výkonu (objednací číslo Toro 125-5610) mezi vřeteno a plochý nůž kolmo k plochému noži (Obrázek 9). Poté pomalu otočte vřeteno dopředu. Mělo by dojít k uříznutí papíru. Pokud se tak nestalo, otáčejte jednotlivými nastavovacími šrouby držáku žacího nože doprava o 1 cvaknutí a opakujte tento krok, dokud se papír neuřízne.

Note: Pokud je patrný nadměrný kontakt nebo odpor vřetena, buď můžete přelapovat žací jednotku, nebo můžete povrchově upravit přední stranu plochého nože nebo přebrousit žací jednotku, aby okraje byly ostré a docílilo se tak přesného sekání (viz Návod na broušení vřeten a rotačních sekaček Toro, formulář č. 09168SL).
Přizpůsobení nastavení žací jednotky stavu travnaté plochy
Následující tabulka vám pomůže určit žací nůž vhodný pro daný stav trávníku. Další žací nože nebo válce získáte u autorizovaného prodejce Toro.
Pokyny pro nastavení vhodné rychlosti sekání podle stavu trávníku naleznete v části Nastavení frekvence střihu.
| Tabulka plochých nožů a doporučené výšky sekání | |
| Plochý nůž | Výška sekání |
| Edgemax Micro-cut (standardně) | 1,5 až 4,7 mm |
| Edgemax Tournament (volitelně) | 3,1 až 12,7 mm |
| Micro-cut (volitelně) | 1,5 až 4,7 mm |
| Tournament (volitelně) | 3,1 až 12,7 mm |
| Extended Micro-cut (volitelně) | 1,5 až 4,7 mm |
| Extended Tournament (volitelně) | 3,1 až 12,7 mm |
| Pro nízké sekání (volitelně) | 4,7 až 25,4 mm |
Seřízení výšky sekání
Nastavte požadovanou výšku sekání pomocí měřidla výšky sekání a ujistěte se, že je žací jednotka vybavena plochým nožem, který je pro požadovanou výšku sekání nejvhodnější, viz Přizpůsobení nastavení žací jednotky stavu travnaté plochy.
Seřízení výšky zadního válce
V závislosti na požadovaném rozsahu výšky sekání je třeba nastavit držáky zadního válce (Obrázek 10 nebo Obrázek 11) do dolní nebo horní polohy:
-
Umístěte rozpěrku nad montážní přírubu boční desky (nastavení z výroby), je-li výška sekání nastavena v rozsahu 1,5–6 mm, viz Obrázek 10.

-
Umístěte rozpěrku pod montážní přírubu boční desky, je-li výška sekání nastavena v rozsahu 3–25 mm, viz Obrázek 11.

-
Zvedněte zadní stranu žací jednotky a podložte plochý nůž podpěrným blokem.
-
Demontujte 2 matice upevňující jednotlivé držáky válce a rozpěrky k montážním přírubám bočních desek.
-
Spusťte válec a šrouby z montážních přírub bočních desek a rozpěrek.
-
Rozpěrky umístěte podle potřeby na šrouby nad nebo pod držáky válce (Obrázek 10 nebo Obrázek 11).
-
Upevněte držák válce s rozpěrkami ke spodní straně montážních přírub pomocí dříve odšroubovaných matic.
-
Zkontrolujte správný kontakt plochého nože a vřetena. Nakloňte sekačku, abyste získali přístup k přednímu a zadnímu válci a k plochému noži.
Note: Poloha zadního válce k vřetenu je určována tolerancemi obroušení sestavených součástí a vyrovnání není nutné. Nastavení v omezeném rozsahu lze provést po umístění žací jednotky na příměrnou desku a povolení upevňovacích šroubů boční desky (Obrázek 12). Nakonec seřiďte a utáhněte šrouby.

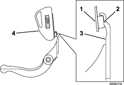
Important: Pokaždé, když musíte žací jednotku naklopit, abyste získali přístup k plochému noži či vřetenu, podepřete zadní stranu žací jednotky tak, aby matice na zadním konci seřizovacích šroubů držáku plochého nože nespočívaly na pracovním povrchu (Obrázek 4).
Seřízení měřidla výšky sekání
Před nastavením výšky sečení seřiďte měřidlo výšky sekání následovně:
-
Povolte matici na stavěcí liště a nastavte seřizovací šroub na požadovanou výšku sekání (Obrázek 13).
Note: Vzdálenost mezi spodní stranou hlavy šroubu a lícem stavěcí lišty představuje výšku sekání.

-
Utáhněte matici.
Seřízení výšky sekání
Tato žací jednotka je standardně vybavena plochým nožem Edgemax Micro-cut a standardním držákem plochého nože. Účinná výška sekání závisí na předchozích uspořádáních sekačky a na stavu travnaté plochy (tj. typ válce, vzdálenost plochého nože za středem, měkká nebo tuhá tráva, povětrnostní podmínky v ročních obdobích). Nastavte počáteční výšku sekání o 0,25 až 0,38 mm vyšší, než bylo předchozí nastavení sekačky, a přizpůsobte ji podmínkám.
Note: V případě výšky sekání větší než 13 mm nainstalujte sadu pro vysokou výšku sekání.
Pomocí následující tabulky (Přizpůsobení nastavení žací jednotky stavu travnaté plochy) lze určit vhodný plochý nůž pro požadovanou výšku sekání.
-
Povolte pojistné matice upevňující ramena nastavení výšky sekání k bočním deskám žací jednotky (Obrázek 14).

-
Zavěste hlavu šroubu lišty měřidla výšky sekání na pravou stranu řezné hrany plochého nože a opřete zadní konec lišty o pojezdový buben (Obrázek 15).

-
Otáčejte seřizovacím šroubem, až se válec dotkne přední strany stavěcí lišty.
-
Zopakujte kroky 2 a na levé straně.
-
Seřiďte oba konce válce tak, aby byl celý válec rovnoběžný s plochým nožem.
Important: Při správném nastavení se zadní i přední válec dotýká stavěcí lišty a šroub je zarovnán s plochým nožem. Tím zajistíte, že výška sekání bude na obou koncích plochého nože stejná.
-
Dostatečným dotažením matic na ramenech nastavení výšky sekání zajistěte nastavení tak, aby podložka neměla žádnou vůli.
-
Přesvědčte se, zda je správně nastavena výška sekání a v případě potřeby zopakujte tento postup.
Nastavení frekvence střihu
Rychlost sekání je podmíněna následujícími nastaveními stroje:
-
Otáčky vřetena: Otáčky vřetena lze nastavit na vysoké nebo nízké; viz provozní příručka k hnací jednotce.
-
Poloha řemenice pohonu vřetena: Řemenici pohonu vřetena (22 zubů a 24 zubů) lze nastavit do 2 poloh:
Note: Řemenice je z výrobního závodu nastavena v NíZKé poloze.

Chcete-li nastavit polohu řemenic, postupujte následovně:
-
Sejměte kryt řemene – tím získáte přístup k řemenu (Obrázek 17).

-
Povolte šroub ramena napínací řemenice a otočením ramena napínací řemenice (Obrázek 17) povolte řemen.
-
Řemen sejměte (Obrázek 17).
-
Povolte matici na každé řemenici, sejměte řemenice a pomocí matic namontujte řemenice do požadovaného nastavení.

-
Matice řemenice utáhněte na utahovací moment 37 až 45 Nm.
-
Nasaďte řemen a utažením vnitřního šestihranu ramena napínací vřetenice na utahovací moment 4 až 5 Nm jej napněte, viz Obrázek 17.
-
Utáhněte šroub ramena napínací řemenice a namontujte kryt řemene.
Seřízení lišty pro posekanou trávu
Nastavením lišty pro posekanou trávu zajistíte bezproblémový odklon posekané trávy z oblasti vřetena následovně:
Note: Lišta je nastavitelná a umožňuje kompenzaci změn stavu trávníku. Pokud je trávník extrémně suchý, nastavte lištu blíže k vřetenu. Naopak v případě mokrého trávníku nastavte lištu dále od vřetena. Lišta by měla být rovnoběžně s vřetenem, aby byl zajištěn optimální výkon. Nastavení proveďte až po naostření vřetene na vřetenové brusce.
-
Povolte šrouby upevňující horní lištu (Obrázek 19) k žací jednotce.

-
Vložte spárovou měrku o velikosti 1,5 mm mezi horní okraj vřetena a lištu a utáhněte šrouby.
Important: Lišta a vřeteno musí být od sebe stejně vzdáleny po celé délce vřetena.
Údržba držáku plochého nože
Údržbu držáku plochého nože a plochého nože smí provádět pouze řádně školený technik, aby nedošlo k poškození vřetene, držáku plochého nože nebo plochého nože. V ideálním případě nechejte údržbu žací jednotky provést u autorizovaného prodejce Toro. Úplné pokyny, potřebné zvláštní nářadí a obrázky pro údržbu držáku plochého nože naleznete v servisní příručce. Pokud budete demontovat nebo montovat držák plochého nože svépomocí, níže jsou uvedeny pokyny a specifikace pro údržbu držáku plochého nože.
Important: Při údržbě držáku plochého nože se vždy řiďte postupy uvedenými ve vaší servisní příručce. Pokud byste plochý nůž namontovali a zabrousili nesprávně, hrozí nebezpečí poškození vřetena, držáku plochého nože nebo plochého nože.
Demontáž držáku plochého nože
-
Otočením seřizovacího šroubu držáku plochého nože proti směru hodinových ručiček posuňte plochý nůž dále od vřetena (Obrázek 20).

-
Vyšroubujte matici pro napnutí pružiny, aby pružina netlačila podložku k držáku plochého nože (Obrázek 20).
-
Na obou stranách stroje povolte pojistnou matici, viz Obrázek 21.

-
Demontujte jednotlivé šrouby držáku plochého nože, aby bylo možné stáhnout držák dolů a sejmout jej z žací jednotky (Obrázek 21).
Dávejte pozor na dvě plastové a jednu ocelovou podložku na obou koncích držáku plochého nože (Obrázek 21).
Montáž držáku plochého nože
-
Namontujte držák plochého nože; montážní výstupky umístěte mezi podložky a seřizovací šroub držáku plochého nože (Obrázek 20).
-
Upevněte držák plochého nože k oběma bočním deskám pomocí šroubů držáku plochého nože (matice na šroubech) a 3 podložek (celkem 6).
-
Umístěte nylonovou podložku na obě strany výčnělku boční desky. Na vnější stranu nylonových podložek umístěte ocelovou podložku (Obrázek 21).
-
Šrouby držáku plochého nože utáhněte na utahovací moment 27 až 36 N·m.
-
Utáhněte pojistné matice tak, abyste eliminovali koncovou vůli na ocelových podložkách tak, aby s nimi bylo možné ručně otáčet. U podložek uvnitř může vzniknout mezera.
Important: Pojistné matice nadměrně neutahujte, jinak vychýlí boční desky.
-
Utáhněte matici pro napnutí pružiny, dokud nedojde ke stlačení pružiny, a poté ji povolte o 1/2 otáčky (Obrázek 22).

-
Proveďte seřízení plochého nože a vřetena, viz Nastavení plochého nože po zabroušení, přelapování nebo demontáži.
Údržba plochého nože
Montáž plochého nože
-
Z povrchu plochého nože odstraňte korozi a usazeniny a aplikujte na něj tenkou vrstvu oleje.
-
Vyčistěte závity šroubů.
-
Na závity šroubů aplikujte přípravek proti zadírání a namontujte plochý nůž na držák plochého nože.

-
Dva vnější šrouby utáhněte na utahovací moment 1 Nm.
-
Šrouby utáhněte na utahovací moment 23 až 28 Nm, přičemž postupujte od středu plochého nože.

-
Zabruste plochý nůž.
Příprava vřetena na zabroušení
-
Před zabroušením se přesvědčte, zda jsou všechny součásti žací jednotky v dobrém stavu, a odstraňte veškeré závady.
-
Zabroušení žacího vřetena na následující specifikace proveďte podle pokynů výrobce vřetenové brusky.
Pokyny k broušení vřetena Nový průměr vřetena 128,5 mm (5,06 in) Provozní limit průměru vřetena 114,3 mm (4,5 in) Úhel podbroušení nože 30° ± 5° Šířka krajní plochy nože 1,0 mm (0,04 in) Rozmezí šířky krajní plochy nože 0,76 až 1,27 mm (0,03 až 0,05 in) Provozní limit průměru kuželu vřetena 0,25 mm (0,01 in)
Podbroušení vřetena
Nové vřeteno má šířku krajní plochy 0,76 až 1,27 mm a 30° podbroušení.
Pokud se šířka krajní plochy zvětší nad 3 mm, postupujte následovně:
-
Všechny nože vřetena podbruste na 30° tak, aby byla krajní plocha široká 1,3 mm (Obrázek 25.

-
Rotačním zbroušením vřetena získáte házivost vřetena < 0,025 mm.
Note: Tím se zajistí mírný nárůst šířky krajní plochy.
-
Nastavení žací jednotku (viz provozní příručka k žací jednotce).
Note: Chcete-li zvýšit životnost ostří hrany vřetena a plochého nože (po zabroušení vřetena a/nebo plochého nože), po posečení 2 greenů znovu zkontrolujte správný kontakt plochého nože a vřetena. Dojde tak k odstranění veškerých otřepů. Otřepy mohou způsobit nesprávnou vzdálenost mezi vřetenem a plochým nožem a tím rychlejší opotřebení.
Pokyny k broušení plochého nože

| Úhel podbroušení standardního plochého nože | 3° minimálně |
| Úhel podbroušení prodlouženého plochého nože | 7° minimálně |
| Rozsah předního úhlu | 13° až 17° |
Kontrola úhlu horního zbroušení
Úhel, pod kterým brousíte své ploché nože, je velmi důležitý.
Pro kontrolu úhlu vaší brusky použijte ukazatel úhlu (č. dílu Toro 131-6828) a úchyt ukazatele úhlu (č. dílu Toro 131-6829) a poté upravte veškeré odchylky brusky.
-
Ukazatel úhlu umístěte na spodní stranu plochého nože, viz Obrázek 27.

-
Na ukazateli úhlu stiskněte tlačítko Alt Zero“
-
Umístěte držák ukazatele úhlu na hranu plochého nože tak, aby hrana magnetu byla spojená s okrajem plochého nože (Obrázek 28).
Note: Digitální displej by měl být vidět ze stejné strany během tohoto kroku, stejně, jako v kroku 1.

-
Ukazatel úhlu umístěte na úchyt, viz Obrázek 28.
Note: To je úhel vaší brusky, jenž by měl být v rozmezí 2 stupňů doporučeného horního zbroušení.
Přelapování žací jednotky
K přelapování žací jednotky použijte soupravu pro přelapování Access (č. modelu 139-4342); viz provozní pokyny v montážních pokynech k soupravě. Tuto sadu vám poskytne autorizovaný prodejce Toro.


, který označuje
upozornění, výstrahu nebo nebezpečí
– pokyny k zajištění osobní
bezpečnosti. Nedodržení těchto pokynů
může mít za následek zranění
osob nebo jejich usmrcení.




