Note: Los modelos 31900, 31901, 31902 y 31907 requieren el kit de arnés de alimentación adicional (Pieza Nº 140-1559). En los modelos con cabina no se utiliza el Kit de arnés de alimentación.
![]() |
Las pegatinas de seguridad e instrucciones están a la vista del operador y están ubicadas cerca de cualquier zona de peligro potencial. Sustituya cualquier pegatina que esté dañada o que falte. |

Aparque la máquina en una superficie nivelada.
Cambie a PUNTO MUERTO.
Baje todos los accesorios (en su caso).
Ponga el freno de estacionamiento.
Apague el motor y retire la llave.
Desconecte la batería; consulte el Manual del operador de la máquina.
Piezas necesarias en este paso:
| Soporte de los interruptores | 1 |
| Clip (¼") | 6 |
| Tuerca rápida | 2 |
| Placa de montaje de los fusibles | 1 |
| Tuerca rápida en U | 4 |
| Bloque de fusibles | 1 |
| Tornillo (N° 10 x ¾") | 2 |
Instale los 6 clips y las 2 tuercas rápidas en el soporte de los interruptores (Figura 1).

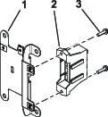
Instale las tuercas rápidas en U en la placa de montaje de los fusibles (Figura 2).

Instale el bloque de fusibles del arnés de cables en la placa de montaje de los fusibles usando 2 tornillos (Nº 10 x ¾"), como se muestra en la Figura 3.

Piezas necesarias en este paso:
| Soporte de montaje | 2 |
| Perno de cuello cuadrado (¼" x 2") | 4 |
| Contratuerca (¼") | 2 |
| Tornillo de cabeza hexagonal (¼" x ¾") | 2 |
| Tuerca con arandela prensada (¼") | 2 |
| Módulo de intermitencia | 1 |
| Relé | 1 |
| Arnés de cables | 1 |
| Brida | 2 |
| Tapa de los fusibles | 1 |
| Tornillo moleteado | 2 |
| Tuerca rápida | 2 |
| Pegatina | 1 |
| Tornillo (N° 10 x ⅜") | 2 |
| Interruptor multifunción | 1 |
| Tapón | 3 |
| Interruptor basculante | 1 |
| Cubierta de los mandos | 1 |
| Tornillo de cabeza hexagonal (¼" x ¾") | 6 |
| Grapa circular | 2 |
| Grapa | 2 |
Instale provisionalmente el soporte de los interruptores alrededor de la columna de dirección usando 4 pernos de cuello cuadrado (¼" x 2"), 2 soportes de montaje, la placa de montaje de los fusibles y 4 contratuercas (¼"), como se muestra en la Figura 4.

Instale el interruptor multifunción en el soporte de los interruptores y sujételo usando las grapas circulares debajo del orificio del interruptor (Figura 5).

Instale el interruptor basculante y los tapones en el soporte de los interruptores (Figura 6).

Instale el módulo de intermitencia y el relé en la placa de montaje de los fusibles usando 2 tornillos (Nº 10 x ⅜"), como se muestra en la Figura 7.

Sujete el módulo de intermitencia con una brida (Figura 8).
Enchufe el arnés en el interruptor basculante y en el interruptor multifunción (Figura 8).

Enchufe el arnés de cables en el relé y en el módulo de intermitencia (Figura 8).
Si la máquina se utiliza en Norteamérica, conecte los conectores bala como se muestra en la Figura 9.
Note: No conecte los conectores bala si la máquina se utiliza fuera de Norteamérica.Esta conexión establece la velocidad de intermitencia necesaria para las normas de circulación de Norteamérica y de fuera de Norteamérica.

Aplique la pegatina a la tapa del fusible, como se muestra en la Figura 10.

Instale la tapa del fusible en el soporte de los interruptores usando 2 tornillos moleteados y 2 tuercas rápidas (Figura 11).
Note: Asegúrese de que las tuercas rápidas se instalan en el interior de la tapa del fusible (Figura 11).

Ajuste el conjunto de control de manera que los interruptores estén accesibles.
Apriete todas las fijaciones.
Instale la cubierta de los mandos en el soporte de los interruptores usando 2 grapas y 6 tornillos de cabeza hexagonal (¼" x ¾"), como se muestra en la Figura 12.

Afloje los pernos alrededor de la base de la columna de dirección (Figura 13)
Levante la base y perfore un orificio de 22 mm (⅞"), como se muestra en la Figura 13.

Enrute el arnés por el orificio que perforó en la base.
Enrute el conector del arnés de cables de control (P05) hasta el lado derecho de la máquina (Figura 14).
Conecte el arnés.
Unidades con cabina:
Conecte el conector del arnés de cables de control marcado TO POWER HARNESS (P05) al conector del arnés de cables de la cabina marcado POD CONTROL HARNESS (P04); consulte la Figura 15.
Unidades con ROPS:
Note: Asegúrese de que el kit de arnés de alimentación adicional (Pieza Nº 140-1559) está instalado.
Conecte el conector del arnés de cables de control marcado TO POWER HARNESS (P05) al conector del arnés de cables de alimentación marcado POD CONTROL HARNESS (P04); consulte la Figura 15.
Si están instalados los kits opcionales de claxon o de luces, conecte el arnés de cables a los kits opcionales (Figura 14).


Conecte la batería; consulte el Manual del operador de la máquina.