Important: V zájmu zajištění maximální bezpečnosti, výkonu a správného provozu tohoto stroje je důležité, abyste si pečlivě přečetli provozní příručku a zcela porozuměli jejímu obsahu. V případě nedodržení těchto provozních pokynů nebo vynechání odpovídajícího školení hrozí nebezpečí zranění. Více informací o bezpečných provozních postupech, včetně rad ohledně bezpečnosti a školicích materiálů, naleznete na stránkách www.Toro.com.
Společnost Toro můžete kontaktovat přímo na adrese www.Toro.com. Zde najdete informace o výrobcích a příslušenství, můžete zde vyhledat prodejce nebo zaregistrovat svůj výrobek.
Kdykoli budete potřebovat servis, originální náhradní díly Toro nebo další informace, kontaktujte autorizované servisní středisko nebo centrum zákaznických služeb Toro. Připravte si informace o názvu modelu a sériové číslo. Obrázek 1 znázorňuje umístění čísla modelu a sériového čísla na produktu. Tyto údaje zapište do následujícího pole.
Important: Potřebujete-li informace o záruce, náhradních dílech a jiných údajích o výrobku, pomocí mobilního zařízení můžete naskenovat QR kód na sériovém číslu (je-li k dispozici).

Tato příručka upozorňuje na potenciální rizika a obsahuje bezpečnostní sdělení s výstražným symbolem (Obrázek 2), který signalizuje nebezpečí vážného zranění nebo smrti v případě nedodržování doporučených bezpečnostních opatření.

Ke zdůraznění informací se v této příručce používají dva výrazy. Důležité upozorňuje na speciální technické informace a Poznámka zdůrazňuje obecné informace, kterým je třeba věnovat zvláštní pozornost.
![]() |
Bezpečnostní štítky a pokyny jsou umístěny na viditelném místě v blízkosti každého prostoru představujícího potenciální nebezpečí. V případě ztráty nebo poškození původní nálepky nahraďte nálepku novou. |

Note: Levou a pravou stranu stroje určete vzhledem k běžné provozní poloze.

Zaparkujte vozidlo na rovné ploše.
Zatáhněte parkovací brzdu.
Vypněte motor a vyjměte klíč.
Díly potřebné k provedení tohoto kroku:
| Otočná konzola | 1 |
| Vratový šroub (5/16 x ¾ in) | 2 |
| Pojistná matice (5/16 in) | 5 |
| Pojistný pedál | 1 |
| Deska pouzdra | 1 |
| Šroub se šestihrannou hlavou (5/16 x ¾ in) | 3 |
| Rozpěrný kroužek (⅝ x 1 1/16 in) | 1 |
| Zkrutná pružina | 1 |
| Podložka (1 ⅛ x 2 in) | 1 |
| Pojistný kroužek | 1 |
| Podložka (⅝ x 1 in) | 1 |
| Pojistná matice (⅝ in) | 1 |
| Pojistná matice (1/4 in) | 2 |
| Sestava náboje | 1 |
| Šroub (¼ x 2 ¾ in) | 1 |
| Podložka (9/32 in) | 1 |


Pomocí 2 vratových šroubů (5/16 x ¾ in) a 2 pojistných matic (5/16 in) namontujte otočnou konzolu na nožní opěrku, viz Obrázek 5.

Pomocí otočné konzoly jako šablony pro vrtání vyvrtejte do příruby nožní opěrky 3 otvory (8 mm) (Obrázek 6).

Demontujte otočnou konzolu, 2 vratové šrouby (5/16 x ¾ in) a 2 pojistné matice (5/16 in) ze stroje (Obrázek 7).

Ze 3 otvorů, které jste vyvrtali v kroku 2, odstraňte veškeré otřepy.
Na vnitřní straně příruby nožní opěrky vyrovnejte 3 otvory v otočné konzole s 3 otvory v přírubě (Obrázek 8).

Pomocí 3 šroubů se šestihrannou hlavou (5/16 x ¾ in) a 3 pojistných matic (5/16 in) namontujte otočnou konzolu na nožní opěrku (Obrázek 9).

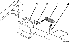
Nasaďte rozpěrný kroužek (⅝ x 1 1/16 in) na otočný čep pojistného pedálu (Obrázek 10).

Vyrovnejte pojistný pedál s levou nožní opěrkou a otvory v otočné konzole (Obrázek 11).

Pomocí 2 vratových šroubů (5/16 x ¾ in) a 2 pojistných matic (5/16 in) namontujte desku pouzdra na otočnou konzolu a přírubu nožní opěrky (Obrázek 12).

Utáhněte pojistné matice na utahovací moment 71 až 92 Ncm.
Nasuňte zkrutnou pružinu na desku pouzdra, přičemž jeden konec pružiny nasaďte na malý kolík na pojistném pedálu a druhý konec přitlačte k podlahové desce (Obrázek 13).
Note: Pružinu umístěte na desku pouzdra podle obrázku.

Zkrutnou pružinu zajistěte na malém kolíku pojistnou maticí (¼ in); viz Obrázek 13.
Připevněte zkrutnou pružinu k desce pouzdra pomocí ploché podložky (1 ⅛ x 2 in) a pojistného kroužku (Obrázek 14).

Pomocí ploché podložky (⅝ x 1 in) a pojistné matice (⅝ in) připevněte pojistný pedál k nožní opěrce a desce pouzdra; viz Obrázek 15.
Note: Matici příliš neutahujte, pojistný pedál se musí při sešlápnutí volně otáčet.



Pomocí 2 šroubů (5/16 x ¾ in) a 2 pojistných matic (5/16 in) namontujte sestavu náboje na levou nožní opěrku.

Pomocí šroubu (¼ x 2 ¾ in), podložky (¼ in) a pojistné matice (¼ in) připevněte spodní část sestavy náboje k rámu stroje, viz Obrázek 17.
Utáhněte pojistné matice na utahovací moment 71 až 92 Ncm.
Vyrovnejte pojistný pedál s levou nožní opěrkou a otvory v sestavě náboje (Obrázek 18).

Zasuňte otočný hřídel pojistného pedálu otvorem do levé nožní opěrky a sestavy náboje (Obrázek 18).
Nasuňte zkrutnou pružinu na sestavu náboje, přičemž jeden konec pružiny nasaďte na malý kolík na pojistném pedálu a druhý konec přitlačte k podlahové desce (Obrázek 19).
Note: Umístěte pružinu na sestavu náboje, viz Obrázek 19.


Zkrutnou pružinu zajistěte na malém kolíku pojistnou maticí (¼ in); viz Obrázek 19.
Připevněte zkrutnou pružinu k desce pouzdra pomocí ploché podložky (1 ⅛ x 2 in) a pojistného kroužku (Obrázek 20).

Pomocí ploché podložky (⅝ x 1 in) a pojistné matice (⅝ in) připevněte pojistný pedál k nožní opěrce a sestavě náboje; viz Obrázek 21.
Note: Matici příliš neutahujte, pojistný pedál se musí při sešlápnutí volně otáčet.

Díly, které pro svůj stroj nepotřebujete, zlikvidujte.
Díly potřebné k provedení tohoto kroku:
| Sestava montážní konzoly | 2 |
| Šroub (1/2 x 3-1/2 in) | 4 |
| Pojistná matice (1/2 in) | 4 |
Note: Nahustěte přední a zadní pneumatiky na tlak v rozsahu 0,28 až 0,41 bar (28 až 41 kPa).
Zadní část stroje podložte bloky a demontujte zadní pneumatiky.
Note: Bloky umístěte pod držáky motoru zadních kol.
Pomocí 2 šroubů (½ x 3 ½ in) a pojistných matic (½ in) volně namontujte sestavu montážní konzoly k pravé a levé trubce nožní opěrky. Sestavy montážní konzoly a šrouby umístěte do správné polohy, viz Obrázek 22.
Note: Pravou montážní konzolu není nutné montovat, pokud je stroj vybaven středovou montážní tyčí.

Díly potřebné k provedení tohoto kroku:
| Pravé zvedací rameno | 1 |
| Levé zvedací rameno | 1 |
| Pojistný kolík | 2 |
| Závlačka | 2 |
| Zkrutná trubka | 1 |
| Šroub (⅜ x 1 in) | 4 |
| Pojistná matice (⅜ in) | 4 |
Nastavte zvedací ramena do takové polohy, aby byl montážní otvor každé konzoly zvedacího ramene vyrovnán s otvory v montážních konzolách (Obrázek 23).
Pomocí vidlicového čepu a závlačky připevněte pravé zvedací rameno k montážní konzole (Obrázek 23).
Pomocí 2 šroubů (⅜ x 1 in) a pojistných matic (⅜ in) volně namontujte jeden konec zkrutné trubky na pravé zvedací rameno; viz Obrázek 23.
Note: Upevňovací prvky v tomto okamžiku neutahujte.
Pomocí vidlicového čepu a závlačky připevněte levé zvedací rameno k montážní konzole (Obrázek 23).
Pomocí 2 šroubů (⅜ x 1 in) a pojistných matic (⅜ in) volně namontujte druhý konec zkrutné trubky na levé zvedací rameno; viz Obrázek 23.
Note: Upevňovací prvky v tomto okamžiku neutahujte.

Díly potřebné k provedení tohoto kroku:
| 40palcová radlice (jinou možností je zakoupit a namontovat 60palcovou radlici) | 1 |
| Výztužný plech | 2 |
| Šroub (⅜ x 1 in) | 2 |
| Pojistná matice (⅜ in) | 6 |
| Šroub (⅜ x 3 in) | 4 |
Note: Volitelně si můžete zakoupit 60palcovou radlici. Namontujte ji podle pokynů k montáži 40palcové radlice v této části.
Volně namontujte výztužný plech ke každému z vnitřních montážních úchytek na sestavě radlice.
Note: Výztužné plechy umístěte do určené polohy, viz Obrázek 24.
Pomocí 4 šroubů (⅜ x 3 in) a 4 pojistných matic (⅜ in) volně namontujte přední část zvedacích ramen k montážním konzolám radlice a výztužným plechům; viz Obrázek 24.
Note: Použijete-li horní montážní otvory v montážních konzolách radlice, bude radlice pracovat agresivněji (Obrázek 24).
S radlicí položenou na rovném povrchu utáhněte upevňovací prvky zajišťující zvedací ramena k radlici (Obrázek 24).
Note: Upevňovací prvky utáhněte na utahovací moment 19 až 24 Nm.
Utáhněte šrouby a pojistné matice upevňující konce zkrutných trubek ke zvedacím ramenům (Obrázek 23).
Note: Upevňovací prvky utáhněte na utahovací moment 19 až 24 Nm.

Díly potřebné k provedení tohoto kroku:
| Pedál zvedacích ramen | 1 |
| Šroub (⅜ x 3 in) | 2 |
| Pojistná matice (⅜ in) | 4 |
| Konzola pružiny | 2 |
| Šroub (⅜ x 2 ¾ in) | 2 |
| Tažná pružina | 2 |
| Pružinatyč | 2 |
Pomocí 2 šroubů (⅜ x 3 in) a 2 pojistných matic (⅜ in) upevněte pedál zvedacích ramen na vnější stranu levého zvedacího ramene.
Note: Pedál umístěte do správné polohy, viz Obrázek 25.

Demontujte spodní matici a šroub upevňující každou montážní konzolu trubky závěsu ke svislým trubkám rámu (Obrázek 26).
Note: Matici a šroub zlikvidujte.
Pomocí otevřených montážních otvorů trubky závěsu připevněte držák pružiny ke každé konzole trubky závěsu/svislé trubce rámu šroubem (⅜ x 2 ¾ in) a pojistnou maticí (⅜ in).
Note: Držáky pružiny umístěte do správné polohy, viz Obrázek 26.

Zatažením za rukojeť zvedněte a zajistěte radlici v přepravní poloze.
Dotáhněte všechny zbývající upevňovací prvky.
Připojte tažnou pružinu ke zvedacímu ramenu a tyči pružiny.
Zasuňte tyč pružiny do otvoru v držáku pružiny a volně ji zajistěte pojistnou maticí (⅜ in).
Kroky 6 a 7 zopakujte na druhé straně stroje.
Namontujte zadní pneumatiky a zespodu zadní části stroje odstraňte bloky.
Note: Upevňovací matice utáhněte na utahovací moment 61 až 75 Nm.
Nastavení pružiny ovládá sílu, která je potřebná ke zvednutí radlice do přepravní polohy. Pokud je pružina příliš volná, zvednutí radlice do přepravní polohy bude obtížné. Nadměrné napnutí pružiny však způsobí nadměrné nadzvedávání radlice během provozu.
Spusťte radlici na zem.
Note: Pokud jsou pružiny správně seřízeny, spodní část radlice bude po celé své délce maximálně 6 mm nad zemí.
Otáčením seřizovacích matic pružin (Obrázek 27) ve směru hodinových ručiček radlici zvednete, otáčením proti směru hodinových ručiček ji spustíte dolů.

Zatažením za rukojeť radlici zvedněte a zajistěte ji v přepravní poloze. Sešlápnutím pojistného pedálu uvolněte radlici do pracovní polohy.
Radlici můžete používat ke shrnování písku a nečistot jízdou vpřed nebo vzad. Je-li radlice v provozní poloze, její činnost při shrnování se ovládá pouhým přesunutím rukojeti mírně dopředu nebo dozadu nebo sešlápnutím pedálu zvedacího ramene.
Note: Pokud při shrnování začnou prokluzovat kola, přesunutím rukojeti dozadu radlici mírně zvedněte. V některých případech může dojít k přetížení motoru. Pokud se tak stane, postupně uvolňujte ovládací pedál pojezdu, abyste zvýšili otáčky a výkon motoru.
Opatrně demontujte stavěcí matice, které připevňují tyče pružin k držákům pružin.
Pokud jsou pružiny napnuté, mohou způsobit zranění.
Opatrně uvolněte tlak z dílů s akumulovanou energií.
Demontujte tyče pružin a pružiny.
Spusťte radlici na zem.
Vyjměte závlačky a pojistné kolíky, které připojují zvedací ramena k montážním konzolám.
Zvedněte přední část stroje, vysuňte celou sestavu radlice dopředu a odtáhněte ji od stroje.