| 维护间隔时间 | 维护程序 |
|---|---|
| 在每次使用之前或每日 |
|
本机器是一款驾乘式、滚刀刀片草坪剪草机,需由商业应用领域雇用的专业操作员进行操作。主要为了在保养得很好的草坪上进行剪草作业而设计。将本产品用于指定用途以外的其他目的可能会对您和旁观者造成危害。
请仔细阅读本手册,了解如何正确操作及维护您的产品,避免人身伤害和产品损坏。正确并安全地操作本产品是您的责任.
访问 www.Toro.com 以了解更多信息,包括安全提示、培训材料、附件信息、帮助查找经销商或注册您的产品。
当您需要关于维修保养,Toro 真品零件或其他方面的信息时,请联系授权服务经销商或 Toro 客户服务中心,并准备好有关您的产品的型号和序列号等资料。图 1显示了产品上型号和序列号的位置。将型号、序列号写在提供的空白处。
Important: 您可以使用移动设备扫描序列号牌上的二维码(如配备),以查阅保修、零售及其他产品信息。

本手册旨在确定潜在危险并列出安全警告标志(图 2)所标示的安全信息,该标志表明了在不遵循建议的预防措施进行操作时可能造成的严重伤害或死亡事故。

本手册使用两个词语来突出信息。重要事项唤起人们对特殊机械信息的注意,而注意则强调值得特别关注的一般信息。
此产品符合欧盟所有相关指令。详情请参阅另外提供的、特定产品的合格证明 (DOC) 单页。
如果该发动机的消火花消声器(定义见第 4442条)工作不正常,或发动机没有进行防火方面的隔离、装备或维护,根据《加利福尼亚州公共资源条例》(California Public Resource Code)第 4442 条或第 4443 条规定,在任何森林、灌木丛或草皮覆盖区域使用和操作该发动机均属违法。
随附的发动机用户手册介绍了美国环境保护局(EPA)和加州排放管制法中有关排放系统、维护和保修的信息。更换产品可通过发动机制造商订购。
加利福尼亚州
第65号提案中警告称:
柴油发动机排出的废气及其部分组分含有加利福尼亚州已知的能致癌、致出生缺陷或损害生殖系统的化学物质。
加利福尼亚州认为电池接柱、接头以及相关配件含铅或铅混合物、化合物,会引发癌症和造成生殖损害。用后请务必洗手。
使用此产品可能导致接触加利福尼亚州已知的能致癌、致出生缺陷或损害生殖系统的化学物质。
本机器的设计符合 EN ISO 5395(当您完成设置程序时)和 ANSI B71.4-2017 规范。
本产品可能切断手脚并抛掷物体。
在启动发动机之前,请首先阅读并理解本操作员手册的内容。
操作机器时应全神贯注。不要从事任何引起分心的活动;否则,可能会造成人身伤害或财产损失。
切勿将手脚放在机器的活动组件附近。
请仅在所有防护装置和其他安全装置到位且可在机器上正常工作的情况下才操作机器。
让旁观者和儿童远离操作区。切勿让儿童操作机器。
关闭发动机、拔下钥匙(如配备)并等待所有移动完全停止,然后再离开操作员位置。等待机器冷却,然后再进行调整、维修、清洁或存放。
不当使用或维护本机器可能导致人身伤害。若要减少潜在伤害,请遵循这些安全说明并始终注意安全警告标志
,即小心、警告或危险等个人安全指示。不遵循这些说明可能导致人身伤害甚至死亡事故。
本机器中的发动机符合欧盟第 3b 阶段排放标准。
![]() |
任何潜在危险区附近均贴有操作员清晰可见的安全标贴和说明。更换受损或丢失的标贴。 |





















Note: 请根据正常操作位置确定机器的左右侧。
此程序中需要的物件:
| 机罩闩锁支架 | 1 |
| 铆钉 | 2 |
| 螺丝(¼ x 2 英寸) | 1 |
| 扁平垫圈(¼ 英寸) | 2 |
| 锁紧螺母(¼ 英寸) | 1 |
此程序中需要的物件:
| 前软管导向架(右) | 1 |
| 前软管导向架(左) | 1 |
从运输支架上卸下滚刀马达。
拆下并丢弃运输支架。
从包装箱中取出滚刀组。
按照滚刀组操作员手册的说明组装并调节滚刀组。
按照滚刀组图 9操作员手册的描述,确保将配重块()安装到滚刀组正确的一端上。

确保草坪补偿弹簧安装在每个滚刀组的滚刀驱动马达一侧。要改变弹簧的位置,请执行以下步骤:
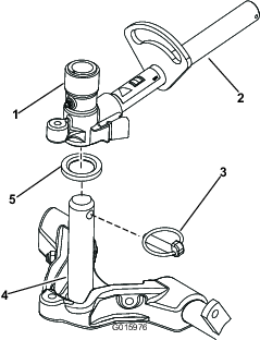
拆下把杆支架固定到滚刀组凸耳上的 2 个车身螺栓和螺母(图 10)。

拆下将弹簧管栓固定到承载架凸耳(图 10)上的凸缘螺母
拆下组件。
将弹簧管栓安装到承载架的另一个凸耳上,并使用凸缘螺母固定。
Note: 将螺栓头朝向凸耳外侧,如 图 11所示。

使用车身螺栓和螺母将杆支架固定到滚刀组凸耳上(图 11)。在滚刀组上,当重新安装杆支架时,将左侧软管导管安装到滚刀组凸耳的前面(图 13)。
Important: 在 4 号滚刀组(左前)和 5 号滚刀组(右前) 上,用杆支架安装螺母将软管导向架安装到滚刀组凸耳的前面。软管导向架应偏向于中心滚刀组(图 12至 图 14)。



Note: 在安装或拆除滚刀组时,确保将发卡销安装在杆支架旁边的弹簧杆孔内。否则,必须将发卡销安装在杆端头的孔内。
拆去后(2 号和 3 号)滚刀组承载架上的 2 个枢轴垫片、六角螺丝和凸缘锁紧螺母(图 15),增强后滚刀组的转向力度;请参阅 图 12。

完全降下所有的提升臂。
在承载架轴上涂抹干净的润滑脂(图 16)。

对于前滚刀组,在将承载架轴向上插入提升臂轴轭的同时,把滚刀组滑到提升臂下方(图 16)。
确保将止推垫圈放在承载架轴上。
使用 Klik 销将承载架轴固定到提升臂轭(图 16)。
要锁定(固定)滚刀组的转向,用锁扣销 (图 17) 将轴轭固定到承载架上。

Note: 在山坡上剪草时,使用固定转向。
当剪草高度高于 19mm 时,对后滚刀组执行以下步骤。
使用保险销将提升臂链条固定到链条轴 (图 19)。
Note: 使用滚刀组操作员手册所述的链条节数。

在滚刀马达的花键轴上涂抹干净的润滑脂。
为滚刀马达 O 形圈上油,然后插入马达法兰。
以顺时针旋转的方式安装马达,让马达法兰与螺栓保持一定空隙(图 20)。

逆时针旋转马达,直至法兰环绕住螺栓,然后拧紧螺栓。
Important: 确保滚刀马达软管不会扭曲、扭结或有被挤到的危险。
操作机器之前,请涂抹润滑脂以确保适当的润滑。请参阅润滑。未能正确润滑机器会导致关键零部件过早出现故障。
此程序中需要的物件:
| 警告标贴 | 1 |
| CE 标贴 | 1 |
| 生产年份标贴 | 1 |
在需要符合 CE 标准的机器上,将生产年份标贴(零件号 133-5615)贴在序列号牌旁边,将 CE 标贴(零件号 93-7252)贴在机罩闩锁旁边,并将 CE 警告标贴(零件号 138-1186)贴在标准警告标贴(零件号 120-1683)上。
2 个脚踏板(图 25)分别操作独立的车轮制动器,以协助转向并获得更好的爬坡牵引力。
踏板闩锁(图 25)可将踏板连接到一起以接合驻车刹车。
要接合驻车刹车,(图 25)请使用踏板闩锁将踏板连接到一起,在接合脚尖踏板的同时向下推动右刹车踏板。 要放开驻车刹车,请踩下其中一个刹车踏板,直至驻车刹车锁定装置缩回。

驱动踏板 (图 25) 可控制前后操作。 踩下踏板顶部前行,踩下底部后退。地面行驶速度取决于踩落踏板的程度。要获得最大地面行驶速度,应在油门处于快速位置时完全踩下踏板。
如果要停止机器,应减轻加在驱动踏板上的压力,让其恢复到中心位置。
如果需要将方向盘向您的方向倾斜,请踩下脚踏板(图 25),将转向塔朝向自己,拉至最舒适的位置,然后释放踏板。
当剪草限速器(图 26)向上翻转时,它将控制剪草速度,并允许滚刀组接合。每个隔片可调节剪草速度 0.8km/h。螺栓顶部使用的隔片越多,机器移动就越慢。如果要运送机器,将剪草限速器和机器翻转回来,就可以获得最大行驶速度。
当您在剪草模式下启用滚刀时,此控制杆(图 27)可提升和降下滚刀组,还可以启动和停止滚刀。当剪草/行驶控制杆处于行驶位置时,刀组无法降下。
点火钥匙开关(图 27)有 3 个位置: 停止、运行/预热和启动。
InfoCenter 信息中心 LCD 显示屏可显示与机器有关的信息,例如操作状态、各种诊断信息及其他信息(图 27)。
PTO 开关(图 27)有 2 个位置:启动和停止。向前推 PTO 按钮接合滚刀组刀片。向后推 PTO 按钮分离滚刀组刀片。

向前移动发动机转速开关(图 27)可提高发动机转速,向后移动可降低发动机转速。
向下转动开关,开启头灯(图 27)。
电源点(图 28)用于为可选的 12V 电气附件供电。

使用夹袋器 (图 29) 进行存放。

使用倒磨控制杆,倒磨滚刀 (图 30)。

InfoCenter 信息中心 LCD 显示屏可显示与您的机器有关的信息,例如操作状态、各种诊断信息及其他信息(图 32)。InfoCenter 信息中心有启动界面和主信息界面。按 InfoCenter 信息中心的任意按钮,然后选择相应的方向箭头,即可随时在启动界面与主信息界面之间切换。

左侧按钮,菜单访问/返回按钮 — 按此按钮可访问 InfoCenter 信息中心菜单。您可以使用此按钮,从当前正在使用的任何菜单退出。
中间按钮 — 使用此按钮,向下滚动菜单。
右侧按钮 — 在显示向右箭头时,表明可以打开额外的内容,使用此按钮打开一个菜单。
手动反转风扇——同时按左侧和右侧按钮可启用此功能。
蜂鸣器——降低刀盘或查看提醒和故障时启动。
Note: 每个按钮的用途可能因当时需要的功能而异。每个按钮都会带有图标标签,显示其当前功能。
| 到期维护 | 在应执行预定维护时显示 |
![]() | 运行前剩余时数 |
![]() | 重设运行时数 ![]() |
![]() | 信息图标 |
![]() | 小时表 |
![]() | 快速 |
![]() | 慢速 |
![]() | 风扇反转 — 表明风扇被反转 |
![]() | 进气口加热器启用 |
![]() | 提起滚刀组 |
![]() | 降下滚刀组 |
![]() | 操作员必须在座椅就座 |
![]() | 驻车刹车指示器 — 驻车刹车打开时显示 |
![]() | 确认档位为“高” |
![]() | 空档 |
![]() | 确认档位为“低” |
![]() | 冷却液温度 — 显示发动机冷却液的温度(°C 或 °F)。 |
![]() | 温度(热) |
![]() | 拒绝或不允许 |
![]() | PTO 接合 |
![]() | 发动机启动 |
![]() | 停止或关闭 |
![]() | 发动机 |
![]() | 点火钥匙开关 |
![]() | 滚刀组降下时显示 |
![]() | 滚刀组提升时显示 |
![]() | PIN 密码 |
![]() | 液压油温度——用于指示液压油的温度。 |
![]() | CAN 总线 |
![]() | InfoCenter 信息中心 |
![]() | 糟糕或故障 |
![]() | 灯泡 |
![]() | TEC 控制器输出或线束中的控制线 |
![]() | 高: 超出允许范围 |
![]() | 低: 低于允许范围 |
/![]() | 超出范围 |
![]() | 开关 |
![]() | 操作员必须释放开关 |
![]() | 操作员应更换到指示的状态 |
| 各种符号经常结合使用,以表达不同的意思。部分示例显示如下。 | |
![]() | 操作员应将机器放入空档 |
![]() | 发动机启动被拒绝 |
![]() | 发动机关闭 |
![]() | 发动机冷却液过热 |
![]() | 液压油过热 |
![]() | 坐下或设好驻车刹车 |
只有输入
PIN 才可访问
要访问 InfoCenter 信息中心菜单系统,按一下主屏幕上的菜单访问按钮。这将带您进入主菜单。请参阅下表,大致了解菜单提供的各个选项:
| Main Menu(主菜单) | |
| 菜单项目 | 描述 |
| Faults(故障) | “故障”菜单包含近期机器故障的列表。请参阅维护手册或咨询您的 Toro 授权经销商,了解有关故障菜单及其中所含信息的更多信息。 |
| Service(维护) | 维护菜单包含与机器有关的信息,例如使用时间、计数器及其他类似数字。 |
| Diagnostics(诊断) | 诊断菜单可显示机器各种开关、传感器和控制输出的状态。您可以使用此菜单排除某些问题,因为它可以告诉您哪些机器控制装置处于开启或关闭状态。 |
| Settings(设置) | “设置”菜单允许您自定义和修改 InfoCenter 信息中心显示屏上的各种配置变量。 |
| About(关于) | “关于”菜单列出了机器型号、序列号和软件版本。 |
| Service(维护) | |
| 菜单项目 | 描述 |
| Hours(小时数) | 小时数菜单可列出机器、发动机和 PTO 运转的总小时数,以及机器已经行驶和到期维护的小时数。 |
| Counts(计数) | 计数菜单可列出机器已经历的各种计数。 |
| Diagnostics(诊断) | |
| 菜单项目 | 描述 |
| Cutting Units(滚刀组) | 显示提升和降下滚刀组的输入、条件和输出 |
| Hi/Low Range(高/低范围) | 显示在行驶模式下驾驶时的输入、条件和输出 |
| PTO | 显示启用 PTO 回路的输入、条件和输出 |
| Engine Run(发动机运转) | 显示启动发动机的输入、条件和输出 |
| Backlap(倒磨) | 显示操作倒磨功能的输入、条件和输出 |
| Settings(设置) | |
| 菜单项目 | 描述 |
| Units(单位) | 控制 InfoCenter 信息中心上使用的单位。菜单选项为英制或公制 |
| Language(语言) | 控制 InfoCenter 信息中心上使用的语言* |
| LCD Backlight(LCD 背光) | 控制 LCD 显示屏的亮度 |
| LCD Contrast(LCD 对比度) | 控制 LCD 显示屏的对比度 |
| Front Backlap Reel Speed(前倒磨滚刀速度) | 控制前滚刀在倒磨模式下的速度 |
| Rear Backlap Reel Speed(后倒磨滚刀速度) | 控制后滚刀在倒磨模式下的速度 |
| Protected Menus(受保护菜单) | 允许主管/机械师在输入密码后,访问受保护菜单 |
Auto Idle(自动怠速) ![]() | 机器静止时,控制将发动机恢复为低怠速所需的时间 |
Blade Count(刀片数) ![]() | 控制滚刀上的刀片数量,以确定滚刀速度 |
Mow Speed(剪草速度) ![]() | 控制地面行驶速度,以确定滚刀速度 |
Height of cut(剪草高度,HOC) ![]() | 控制剪草高度 (HOC),以确定滚刀速度 |
F Reel RPM(前滚刀转速) ![]() | 显示针对前滚刀计算得出的滚刀速度位置。滚刀也可以进行手动调节 |
R Reel RPM(后滚刀转速) ![]() | 显示针对后滚刀计算得出的滚刀速度位置。滚刀也可以进行手动调节 |
* 仅操作员方面的内容已翻译。故障、维修和诊断屏幕都属于维修方面的内容。标题将采用选定语言,但菜单项目仍为英文。
在受保护菜单下受到保护——只有输入
PIN 才可访问
| About(关于) | |
| 菜单项目 | 描述 |
| Model(型号) | 列出了机器的型号 |
| SN | 列出了机器的序列号 |
| Machine Controller Revision(机器控制器版本) | 列出了主控制器的软件版本 |
| InfoCenter Revision(InfoCenter 信息中心版本) | 列出了 InfoCenter 信息中心的软件版本 |
| CAN Bus(CAN 总线) | 列出了机器通信总线的状态 |
在 InfoCenter 信息中心设置菜单中共有 5 个操作配置设置可以调节: 刀片数、剪草速度、剪草高度 (HOC)、前滚刀转速和后滚刀转速。您可以使用 Protected Menu(受保护菜单)锁定这些设置。
Note: 在交付时,初始密码代码由您的经销商编程。
从主菜单向下滚动至设置菜单,并按右侧按钮。
在设置菜单中,向下滚动至受保护菜单,并按右侧按钮。
要输入密码,可使用中间按钮设置首位数,然后按右侧按钮移至下一位数。
使用中间按钮设置第二位数,然后按右侧按钮移至下一位数。
使用中间按钮设置第三位数,然后按右侧按钮移至下一位数。
使用中间按钮设置第四位数,然后按右侧按钮。
按中间按钮输入密码。
如果密码被接受且受保护菜单“Unlocked(已解除锁定)”,“PIN”将显示在显示屏的右上角。
查看和更改受保护菜单中设置的功能可以改变。访问受保护菜单后,向下滚动至保护设置。使用右侧按钮,将保护设置改为“关闭”,即允许在不输入密码的情况下,查看和更改受保护菜单中的设置。将保护设置改为“打开”,将隐藏受保护的选项,并需要输入密码,才能更改受保护菜单中的设置。设置密码后,必须先关闭钥匙开关然后再打开,以启用和保存此功能。
Note: 如果忘记或丢失密码,请联系您的经销商获得协助。
在设置菜单中,向下滚动至自动怠速。
按右侧按钮,在关闭、“8 秒”、“10 秒”、“15 秒”、“20 秒” 和“30 秒”之间更换自动怠速时间。
在设置菜单中,向下滚动至刀片数
按右侧按钮,在 5、8 或 11 个刀片滚刀之间进行更换。
在设置菜单中,向下滚动至剪草速度。
按右侧按钮选择剪草速度。
使用中间和右侧按钮,按牵引踏板的机械剪草限速器来选择适当的剪草速度设置。
按左侧按钮退出剪草速度并保存设置。
在设置菜单中,向下滚动至 HOC。
按右侧按钮选择 HOC。
使用中间和右侧按钮选择适当的 HOC 设置。
Note: 如果未显示准确的设置,可从显示的列表中选择最接近的 HOC 设置。
按左侧按钮退出 HOC 并保存设置。
虽然前后滚刀速度是将刀片数、剪草速度和 HOC 输入 InfoCenter 信息中心计算得出的,但您可以手动更改该设置,以适应不同的剪草条件。
向下滚动至前滚刀转速、后滚刀转速或二者兼有。
按右侧按钮更改滚刀速度值。随着速度设置发生改变,显示屏持续显示根据之前输入的刀片数、剪草速度和 HOC 计算得出的滚刀速度,但同时也会显示新数值。
Note: 规格与设计如有变更,恕不另行通知。
| 剪草宽度,69cm 滚刀组 | 307cm |
| 剪草宽度,81cm 滚刀组 | 320cm |
| 总宽度,69cm 滚刀组在下面 | 345cm |
| 总宽度,81cm 滚刀组在下面 | 358cm |
| 总宽度,滚刀组在上面(运输) | 239cm |
| 总长度 | 370cm |
| 带 ROPS 的高度 | 220cm |
| 前轮距 | 229cm |
| 后轮距 | 141cm |
| 轴距 | 171cm |
| 净重(不带滚刀组,未加液体) | 1574kg |
Toro 批准的一系列附件和配件可与机器一同使用,以提升和扩大其能力。请联系您的授权服务代理商或 Toro 授权经销商,或访问 www.Toro.com,获取所有经批准附件和配件的清单。
为保持机器的最佳性能和持续安全证明、请仅使用 Toro 真品更换零件和附件。其他制造商制造的更换件和附件可能引发危险、而且使用非真品可能使产品保修失效。
Note: 请根据正常操作位置来判定机器的左侧和右侧。
切勿让儿童或未接受过培训的人员操作或维修机器。当地法规可能对操作员的年龄有所限制。产品所有人负责培训所有操作员和机械师。
熟悉设备的安全操作、操作员控制装置和安全标识。
关闭发动机、拔下钥匙(如配备)并等待所有移动完全停止,然后再离开操作员位置。等待机器冷却,然后再进行调节、维修、清洁或存放。
了解如何快速停止机器和关闭发动机。
请仅在所有防护装置和其他安全装置到位且可在机器上正常发挥功能的情况下才操作机器。
剪草之前,始终要先行检查机器,确保滚刀组处于良好工作状况。
检查机器将要使用的区域,清除可能被机器抛起的所有物体。
处理燃油时要格外小心。燃油极度易燃,产生的蒸汽会发生爆炸。
应熄灭所有香烟、雪茄、烟斗及其他火源。
仅使用经批准的燃料容器。
在发动机运行或较热时,切勿拆下油箱盖或向油箱加油。
切勿在密闭的空间添加或排放燃油。
切勿将机器或燃油容器存放在有明火、火花或常明火的地方,例如热水器或其他电器上。
如果燃油溢出,切勿尝试启动发动机;避免形成任何火源,直到燃油蒸汽完全消散。
| 维护间隔时间 | 维护程序 |
|---|---|
| 在每次使用之前或每日 |
|
每天启动机器之前,请执行中列明的每次使用/每天程序。
83L
不遵守下列警告可能会损坏发动机。
切勿使用煤油或汽油,而应使用柴油。
切勿将煤油或废机油与柴油混合。
切勿将燃油保存在内部镀锌的容器中。
切勿使用燃油添加剂。
仅使用低 (<500 ppm) 或超低 (<15 ppm) 硫含量的干净、新鲜的柴油或生物柴油燃料。最小十六烷值应为 40。采购可在 180 天内用完的燃油量,确保燃油新鲜。
在温度高于 -7°C 时使用夏季级柴油燃料(第 2-D 号),低于 -7°C 时使用冬季级柴油燃料(第 1-D 号或第 1-D/2-D 号混合油)。较低温度下使用冬季级燃油可提供更低的闪点和冷流特性,从而有利于启动并降低燃油滤芯堵塞的情况。
在高于 -7°C 时,使用夏季级燃油有助于延长燃油泵的寿命,且比冬季级燃油的动力性更强。
此机器也可使用相当于 B20(20% 生物柴油、80% 矿物柴油)的生物柴油混合燃料。矿物柴油部分应为低硫或超低硫。遵守以下预防措施:
生物柴油燃油规格: ASTM D6751 或 EN14214
混合燃油规格: ASTM D975 或 EN590
遵守以下预防措施:
混合生物柴油可能损坏喷漆表面。
天气寒冷时,使用 B5(生物柴油含量为 5%)或更少的混合物。
请密切注意与燃料接触的密封条、软管和垫片的变化,因为随着时间推移它们会慢慢老化。
转换成混合生物柴油以后,机器的燃油滤清器可能会暂时堵塞。
请联系您的 Toro 授权经销商,了解生物柴油的更多信息。
将机器停放在水平地面上,降低滚刀组,关闭发动机,然后拔下钥匙。
使用干净的抹布,清理燃油箱盖附近的区域。
从燃油箱上取下盖子(图 33)。

为油箱添加柴油,直到油位达到油箱加油颈的底部。
加油后牢牢盖上燃油箱盖。
Note: 如有可能,在每次使用后给油箱加油。这将最大程度地降低油箱内部的冷凝物堆积。
所有者/操作员应防止发生可能导致人身伤害或财产损害的事故,并对此承担责任。
穿戴适当的服装,包括护目镜、长裤、结实的防滑鞋和听力保护用具。切勿身着宽松衣物或佩戴松散的珠宝,务请扎好长发。
在生病、疲劳或受酒精或药物影响时,切勿操作机器。
操作机器时应全神贯注。不要从事任何引起分心的活动;否则,可能会造成人身伤害或财产损失。
启动发动机之前,应确保所有驱动装置都处于空档位置、驻车刹车已接合且您处于操作位置。
切勿在机器上搭载乘客,让旁观者和儿童远离操作区。
仅在光线良好的情况下操作机器,以避免坑洞和潜在危险。
避免在湿草地上剪草。牵引力的降低可能导致机器滑动。
确保手和脚远离滚刀组。
后退之前观察后面和下面的情况,确定道路无阻碍。
当接近可能遮挡视线的死角、灌木、树木或其他物体时需小心谨慎。
不剪草时应停止滚刀组。
当机器转向或穿越道路和人行道时,请放慢速度并保持谨慎。应始终遵守交通规则。
仅在通风良好的区域操作发动机。排出气体中含有一氧化碳,吸入后会致命。
切勿在无人看管的情况下离开运行中的机器。
离开操作员位置之前,请执行以下操作:
将机器停在水平地面上。
分离滚刀组,然后放低附件。
接合驻车刹车。
关闭发动机并拔下钥匙(如配备)。
等待所有移动完全停止。
仅在能见度良好和适当的天气条件下操作机器。切勿在面临雷电风险时操作机器。
切勿从机器上卸下 ROPS。
确保安全带已连接,且在紧急状况下可以迅速解开。
仔细检查是否有头顶障碍物,且不要触碰到它们。
定期全面检查 ROPS 是否受损,并保持所有安装紧固件都处于拧紧状态,使 ROPS 始终处于安全操作状态之下。
更换受损的 ROPS。切勿修理或修改 ROPS。
切勿在翻车保护杆处于升起位置时系安全带。
ROPS 是一种一体式安全设备。操作带翻车保护杆的机器时,请将折叠翻车保护杆保持在提起和锁定位置并系好安全带。
仅在必要时才临时放下折叠翻车保护杆。翻车保护杆折叠向下时请勿系安全带。
请注意,当折叠式翻车保护杆处于向下位置时无法提供防翻滚保护。
查看待剪草区域,切勿在有斜坡、陡降处或有水面的区域向下折叠折叠式翻车保护杆。
斜坡是引发失控和翻倒事故的主要因素,这些意外可能导致严重的人身伤害甚至死亡事故。操作员负责斜坡的安全操作。在任何斜坡上操作机器都需要特别小心。
评估现场情况,包括考察现场,以确定斜坡是否可以安全操作机器。执行此类考察时应始终使用常识和良好的判断力。
请参阅以下列出的在斜坡上操作机器的说明以及机器的正常运行条件,以确定是否可以在当天的现场条件下操作机器。地形的变化可能导致机器坡度操作的变化。
在斜坡上操作机器时避免启动、停止或转向。避免突然改变速度或方向。要缓慢和逐渐转向。
切勿在牵引、转向或稳定性有问题的任何情况下操作机器。
应移除或标记障碍物,如沟渠、孔洞、车辙、凸起、岩石或其他隐患。高草可能会隐藏有障碍物。崎岖不平的地形可能导致机器翻倒。
请注意,在湿草地、斜坡或下坡上操作机器可能会导致机器失去牵引力。驱动轮失去牵引力可能会导致打滑以及丧失制动和转向能力。
在靠近陡降处、沟渠、河堤、水障碍物或其他危险处操作时需要特别谨慎。如果车轮行驶到边缘上或边缘塌陷,机器可能会突然翻倒。应在机器与任何危险之间建立一个安全区域。
确认斜坡底部是否存在危险。如果有危险,请使用带步行控制功能的机器修剪斜坡。
如果可能,在斜坡上操作时,应始终让滚刀组放低到地面上。在斜坡上操作时升起滚刀组可能导致机器不稳。
要格外留意集草系统或其他附件。这些附件可能会影响机器的稳定性并导致失控。
Important: 如果发生以下任何情况,请排出燃油系统的空气:
发动机曾因缺油而停止运行。
对燃油系统组件进行了维护。
将脚从驱动踏板上移开,确保踏板处于空档位置。
Note: 确保手刹已接合。
将发动机速度开关移至低怠速位置。
将钥匙旋转至运行位置。
Note: 预热指示灯将亮起。
当预热指示灯暗下之后,将钥匙旋转至启动位置。
发动机启动后立即放开钥匙,使钥匙返回至运行位置。
调节发动机转速。
Important: 启动马达一次运行的时间不要超过 15 秒钟,否则可能导致启动马达过早出现故障。如果发动机在 15 秒钟后未能启动,请将钥匙旋转至关闭位置,重新检查控制装置和程序,等待 15 秒钟,然后重复启动程序。
当温度低于 -7°C 时,启动马达可运行 30 秒钟,然后在停止运行 60 秒钟后进行第 2 次尝试。
接触到活动部件可能导致人身伤害。
关闭发动机,等到所有活动件都已停止,然后再检查是否存在漏油、零件松动及其他故障。
Important: 在满负荷操作后,让发动机怠速 5 分钟,然后再关闭发动机。这样可以在关闭发动机之前让涡轮增压器先冷却下来。否则,可能会产生涡轮增压问题。
Note: 机器停驻后必须将滚刀组放到地面上。这样可以减轻系统的液压负载,防止系统零件磨损,还可以防止滚刀组意外落下。
将发动机速度调回低怠速。
将 PTO 开关移至关闭位置。
接合驻车刹车。
将点火钥匙旋转至关闭位置。
从点火开关上拔下钥匙,防止意外启动。
您可以调节后滚刀组提升臂的平衡压力,以补偿不同的草坪状况,并在艰苦环境下或杂草堆积的区域保持一致的剪草高度。
您可以将每个平衡压力弹簧调节为 4 种设置之 1。滚刀组平衡压力每次可递增或递减 2.3kg。弹簧可以放置在第一个弹簧传动器的后面,以消除所有平衡压力(第四个位置)。
您可以向下折叠翻车保护杆,以便接触限制高度的区域。
翻车保护杠向下折叠且不应视为防翻滚保护架(ROPS)时,机器没有 ROPS。
翻车保护杆在下方时请不要系安全带。
将机器停放在水平地面上,放下滚刀组,接合手刹,关闭发动机,然后从点火开关上拔下钥匙。
支撑住翻车保护杠上机架的同时,从枢轴支架上卸下开口销和柱销(图 36)。

小心将机架向下方放落,直至其落到止动装置上。
将柱销插入下孔中,并用开口销将其固定,以便将下机架支撑在其下方位置。
要升起机架,应按照相反顺序执行这些说明。
如果 ROPS 固定螺栓组件松动,ROPS 保护系统可能会不起作用,如果翻倒,松动的组件可能导致严重的人身伤害,甚或是死亡。
当处在升起位置时,固定螺栓组件必须安装并完全拧紧,确保 ROPS 起到充分保护作用。
当放下和升起翻车保护杆时,手指可能夹在机器与翻车保护杆之间。
放下和升起翻车保护杆时要小心,防止手指夹到结构的固定零件与活动零件之间。
应将所有螺母、螺栓和螺丝上紧到正确扭矩,确保设备处于安全工作状态。
为安全起见、更换磨损或损坏零件。
确保安全带和安装座处于安全工作状态。
翻车保护杆处于升起位置时佩戴安全带,处于放下位置时不需要安全带。
Important: 翻车保护杆是一种一体式安全设备。操作剪草机时应始终将翻车保护杆保持在升起位置。仅在绝对必要时才临时放下翻车保护杆。
| 维护间隔时间 | 维护程序 |
|---|---|
| 在每次使用之前或每日 |
|
如果安全联锁开关断开或损坏,操作机器可能造成意外人身伤害。
切勿随意改动联锁开关设置。
每日均应检查联锁开关的操作,更换任何损坏的开关,然后再操作机器。
机器的电气系统有联锁开关。这些开关经专门设计,可在您踩下驱动踏板并从座椅上站起时关闭发动机。然而,您可以在发动机运行中且驱动踏板处于空档位置时站起。尽管在您分离 PTO 开关并放开驱动踏板时发动机将继续运行,但要从座椅上站起,请先关闭发动机。
要检查联锁开关的操作,请完成以下步骤:
将机器缓慢行驶到大面积相对开阔的区域。
放下滚刀组,关闭发动机,并接合手刹。
坐到座椅上,踩下驱动踏板。
尝试启动发动机。
Note: 发动机应该不会转动。如果发动机转动,联锁系统可能存在故障;必须要首先解决故障,才能开始操作机器。
坐到座椅上,然后启动发动机。
从座椅上站起,然后将 PTO 开关移至“开启”位置。
Note: PTO 应该无法接合。如果 PTO 接合,联锁系统可能存在故障;必须要首先解决故障,才能开始操作机器。
坐到座椅上,接合驻车刹车,然后启动发动机。
将驱动踏板移出空档位置。
Note: 发动机应关闭。如果发动机没有关闭,联锁系统可能存在故障;必须要首先解决故障,才能开始操作机器。
剪草之前,在开阔的地方练习操作机器。启动和关闭发动机。前进和后退。降低和提升滚刀组,接合和分离滚刀。在您认为熟悉了机器后,练习以不同的速度上下斜坡。
如果在操作过程中警告灯亮起,应立即停止机器,并纠正问题,然后再继续操作。如果操作有故障的机器,可能会发生严重的伤害。
启动发动机并将发动机速度开关移至“快速”位置。 将剪草限速器移至剪草位置。将 PTO 开关移至开启位置,并使用提升开关控制滚刀组(前滚刀组在后滚刀组之前降下)。要前移剪草,可向前踩驱动踏板。
将 PTO 开关移至关闭位置,并将滚刀组提升至行驶位置。将剪草限速器移至“行驶”位置。在各种物体之间行驶时要小心谨慎,否则会意外损坏机器或滚刀组。在斜坡上操作机器时应格外小心。在斜坡上缓慢驾驶并避免急转弯,防止翻滚。
关闭发动机、拔下钥匙(如配备)并等待所有移动完全停止,然后再离开操作员位置。等待机器冷却,然后再进行调整、维修、清洁或存放。
清除滚刀组、驱动装置、消声器、冷却滤网和发动机舱处的杂草和杂物,防止发生火灾。清理溢出的机油或燃油。
存放或运送机器时关闭燃油。
无论何时运输或闲置机器,都应断开附件驱动。
必要时,应维护并清洁安全带。
切勿将机器或燃油容器存放在有明火、火花或常明火的地方,例如热水器或其他电器上。
将机器装入拖车或卡车时,请使用全宽坡道。
牢固系紧机器。
栓系点位于以下位置:
前脚踏下机架的两侧
后缓冲器

Note: 在机器下工作时务必要用千斤顶车架支撑机器。
千斤顶支撑点位于以下位置:
机器前部,机架上,每个驱动轮内侧
机器后部,轮轴的中心
紧急情况下,可以启动可变排量液压泵的旁通阀,并安装一个液压软管以绕过单向阀,然后推动或拖曳机器,以移动机器。
Important: 推动或拖曳机器的速度切勿超过 3~4.8km/h 或超过 0.4km,否则内部传动装置可能会受损。在推动或拖曳机器时,旁通阀必须始终打开。此外,在反向推动或拖曳机器时,还需要安装一个液压软管以绕过单向阀。
如果需要推动或拖曳机器,可能需要正向和反向移动机器。为确保推动或拖曳不会损害传动系统,最好使机器可正向和反向推动或拖曳。
Important: 如果需要反向推动或拖曳机器,必须首先旁通 4 轮驱动歧管中的单向阀。
以下 Toro 零件需要旁通单向阀:
Toro 零件号 59-7410,诊断接头
Toro 零件号 354-79,诊断接头帽
Toro 零件号 95-8843,液压软管
Toro 零件号 95-0985,连接器接头(2 个)
Toro 零件号 340-77,液压接头(2 个)
在后牵引歧管端口 M8 与 P2 之间的未标记端口安装诊断接头(图 38)

在安装在后牵引歧管中的诊断接头与后牵引压力测试端口之间连接一根液压软管(图 39)。
Note: 必要时用液压接头和连接器接头安装软管。

将旁通阀向任一方向旋转 90°(¼ 圈)打开旁通阀,让液压油在内部分流(图 40)。
Note: 由于液压油绕过传动装置,机器可以缓慢移动,不会损坏传动装置。打开和关闭时请注意阀门的位置。

完成推动或拖曳机器后,取下之前安装的液压软管。
将现有端盖装回反向牵引压力测试端口。
将诊断接头盖装到安装在歧管上的接头上。
将旁通阀向回旋转 90°(¼ 圈),然后再启动发动机。
Note: 关闭阀门的扭矩不得超过 7~11N·m。
如果仅需要正向推动或拖曳机器,只需调节旁通阀即可。
Important: 如果需要反向推动或拖曳机器,请参考准备机器以备反向推动或拖曳。
打开挂钩并取出中央保护罩.
将旁通阀向任一方向旋转 90°(¼ 圈)打开旁通阀,让液压油在内部分流(图 40)。
Note: 由于液压油绕过传动装置,机器可以缓慢向前移动,不会损坏传动装置。打开和关闭时请注意阀门的位置。
将旁通阀向回旋转 90°(¼ 圈),然后再启动发动机。
Note: 关闭阀门的扭矩不得超过 7~11N·m。
Note: 请根据正常操作位置来判定机器的左侧和右侧。
离开操作员位置之前,请执行以下操作:
将机器停在水平地面上。
分离滚刀组,然后放低附件。
接合驻车刹车。
关闭发动机并拔下钥匙(如配备)。
等待所有移动完全停止。
待机器组件冷却后再执行维护。
如果可能,切勿在发动机运行时执行维护。远离活动件。
在机器下工作时务必要用千斤顶车架支撑机器。
小心释放储能组件中的压力。
确保机器的所有零件都处于良好工作状况,保持所有紧固件拧紧。
更换所有磨损或损坏的标贴。
为确保机器的安全和最佳性能,请仅使用 Toro 真品更换零件。其他制造商制造的更换件可能引发危险、而且使用非真品可能使产品保修失效。
| 维护间隔时间 | 维护程序 |
|---|---|
| 初次使用8小时后 |
|
| 初次使用200小时后 |
|
| 在每次使用之前或每日 |
|
| 每50个小时 |
|
| 每100个小时 |
|
| 每200个小时 |
|
| 每250个小时 |
|
| 每400个小时 |
|
| 每800个小时 |
|
| 每1000个小时 |
|
| 每2000个小时 |
|
| 在存放之前 |
|
复印本页以供日常使用。
| 维护检查项 | 第____周: | ||||||
|---|---|---|---|---|---|---|---|
| 周一 | 周二 | 周三 | 周四 | 周五 | 周六 | 周日 | |
| 检查安全联锁操作。 | |||||||
| 检查刹车工作情况。 | |||||||
| 检查发动机机油和燃油油位。 | |||||||
| 检查冷却系统液位。 | |||||||
| 排干水/燃油分离器。 | |||||||
| 检查空气滤清器维修指示灯。 | |||||||
| 检查散热器、油冷却器和滤网处是否有杂物。 | |||||||
| 检查发动机是否有异常噪音。1 | |||||||
| 检查操作是否有异常噪音。 | |||||||
| 检查液压系统的液压油油位。 | |||||||
| 检查液压软管是否受损。 | |||||||
| 检查漏液情况。 | |||||||
| 检查轮胎气压。 | |||||||
| 检查仪表工作情况。 | |||||||
| 检查滚刀到底刀的调节。 | |||||||
| 检查剪草高度的调节。 | |||||||
| 给所有黄油嘴加润滑脂。2 | |||||||
| 为掉漆部分补漆。 | |||||||
| 清洗机器。 | |||||||
|
1. 如果发动机启动困难、烟雾过多或运转不稳,应检查预热塞和喷油嘴。 |
|||||||
|
2. 不管间隔多久,每次清洗后立即执行 |
|||||||
| 检查人员: | ||
| 项目 | 日期 | 情况 |
| 1 | ||
| 2 | ||
| 3 | ||
| 4 | ||
| 5 | ||
| 6 | ||
| 7 | ||
| 8 | ||
Important: 请参阅发动机用户手册和滚刀组操作员手册,以获取更多维护信息。
Note: 您可以访问 www.Toro.com,并从主页上的“手册”链接搜索您的机器,下载免费的电路图或液压系统示意图。
| 维护间隔时间 | 维护程序 |
|---|---|
| 每50个小时 |
|
机器带有黄油嘴,必须定期使用 2 号锂基润滑脂润滑。如果您在正常情况下操作机器,应每操作 50 小时后或每次清洗后立即润滑所有轴承和轴套。
黄油嘴的位置和数量如下:
检查油位或向曲轴箱加油之前,必须关闭发动机。
切勿改变调速器速度或超速运行发动机。
| 维护间隔时间 | 维护程序 |
|---|---|
| 每400个小时 |
|
检查空气滤清器壳体是否有可能导致空气泄漏的损坏。如有损坏,请更换滤清器。检查整个进气系统是否有泄漏、损坏或软管夹松动的情况。
仅在维修指示灯 (图 46) 要求时,才维修空气滤清器滤芯。 在必须更换之前更换空气滤清器,只会增加灰尘在滤清器拆下时进入发动机的几率。

Important: 确保空气滤清器盖正确盖好,并与空气滤清器壳体密合。
将机器停放在水平地面上,放下滚刀组,接合手刹,关闭发动机,然后从点火开关上拔下钥匙。
向外拉出闩锁,逆时针旋转空气滤清器盖 (图 47)。

从空气滤清器壳体上取下空气滤清器盖。
拆下滤清器之前,用低压空气(2.75bar,洁净干燥)去除主滤清器外部与过滤筒之间堆积的大量杂物。避免使用会迫使灰尘通过滤清器进入进风管的高压空气。
这一清洁过程可以防止杂物在主滤清器拆下时进入进风口。
拆下并更换主滤清器 (图 48)。
由于过滤介体可能受损,因此不建议清洁废滤芯。检查新滤芯是否在运输途中受损,检查滤清器的密封端和壳体。切勿使用已损坏的滤芯。
插入新滤清器,方法是按住滤芯的外缘,将它压入过滤筒中。切勿按压滤清器柔韧的中心部位。

Important: 禁止尝试清洁安全滤芯 (图 49)。 主滤芯每维修 3 次以后,应使用新安全滤芯更换旧芯。

清洁可拆卸盖子上的灰尘弹射口。
拆下盖子上的橡胶排气阀,清洁凹洞并安装排气阀。
安装盖子时要向下对准橡胶排气阀——即从末端看约 5 点钟至 7 点钟方向之间。
如果指示灯显示为红色,请重设 (图 46)。
| 维护间隔时间 | 维护程序 |
|---|---|
| 在每次使用之前或每日 |
|
发货时发动机的曲轴箱内带有机油;但是,在首次启动发动机前后仍必须检查机油油位。
带机油滤芯的曲轴箱容量约为 9.5L。
使用符合以下规格的高质量机油:
API 分类等级要求: CH-4、CI-4 或更高。
首选机油:SAE 15W-40:高于 -18°C
备选机油: SAE 10W-30 或 5W-30(所有温度)
Note: 可从经销商处购买粘度为 15W-40 或 10W-30 的 Toro 优质机油。
Note: 检查机油的最佳时间是发动机冷却时,在开始一天的工作前。如果发动机已经运行,请让机油回流到油底壳,至少等待 10 分钟再开始检查。如果机油油位处于或低于量油尺上的 Add(添加)标记、请添加机油、直至机油油位达到 Full(已满)标记。切勿将发动机加得过满。如果机油油位处于 Full(已满)与 Add(添加)标记之间,则无需添加。
调节油门拉索 (图 55), 使发动机上的调速器杆在与油门拉索接触控制臂内槽端相同的点位上接触高速设置螺栓。

在特定条件下,燃油和燃油蒸气极为易燃易爆。燃油起火或爆炸会灼伤您和他人,而且还会造成财产损失。
请在发动机关闭并已冷却的状况下,在室外的开阔区域添加燃油。擦干净溢出的燃油。
切勿将油箱完全加满。燃油油位最高只能加到油箱顶部(而非加油颈底部)以下 25mm 处。油箱中留出的这部分空间是为了预防燃油发生膨胀。
处理燃油时切勿吸烟,而且要远离明火或燃油烟气容易被火花点燃的场所。
将燃油存放在已获得安全认可的清洁容器内,并盖上盖子。
| 维护间隔时间 | 维护程序 |
|---|---|
| 每800个小时 |
|
| 在存放之前 |
|
将机器停放在水平地面上,放下滚刀组,接合手刹,关闭发动机,然后拔下钥匙。
如果燃油系统受到污染,或者如果要长时间存放机器,请排干油箱并清洗干净。使用干净的燃油冲洗油箱。
| 维护间隔时间 | 维护程序 |
|---|---|
| 每400个小时 |
|
将机器停放在水平地面上,放下滚刀组,接合手刹,关闭发动机,然后从点火开关上拔下钥匙。
检查燃油管线是否老化、损坏或松脱。
| 维护间隔时间 | 维护程序 |
|---|---|
| 在每次使用之前或每日 |
|
| 每400个小时 |
|
将机器停放在水平地面上,放下滚刀组,接合手刹,关闭发动机,然后从点火开关上拔下钥匙。
在燃油滤清器下面放置一个清洁容器。
松开滤清器过滤筒底部的排油塞。

清洁滤筒的安装区域。
拆下滤筒,清洁安装面。
使用干净机油来润滑滤筒上的垫片。
手工安装滤筒,直至垫片接触到安装面,然后再将它旋转 ½ 圈。
旋紧滤筒底部的排油塞。
将机器停放在水平地面上,放下滚刀组,接合手刹,关闭发动机,然后从点火开关上拔下钥匙。
燃油进油管位于油箱内侧,装有滤网,有助于防止杂物进入燃油系统。必要时,拆下燃油进油管,清洁滤网。
维修机器之前先断开电池的连接。首先断开负极端子,然后断开正极端子。首先连接正极端子,然后连接负极端子。
在通风良好的开阔地为电池充电,远离火花和明火。连接电池或断开电池连接之前,拔出充电器。穿上防护服并使用绝缘工具。
将机器停放在水平地面上,放下滚刀组,接合手刹,关闭发动机,然后从点火开关上拔下钥匙。
打开闩锁并提起操作员控制台面板 (图 57)。

电池电解液含有硫酸,电解液耗尽将会是致命的,且可能导致严重灼伤。
切勿喝下电解液,避免接触皮肤、眼睛或衣服。佩戴护目镜保护眼睛,佩戴橡胶手套保护双手。
为电池加注电解液后,始终用清水冲洗皮肤。
将 3~4A 电池充电器连接到电池电极。
通过 3~4A 的电流给电池充电,时间为 4 至 8 小时。
电池充满电之后、把充电器从插座和电瓶电极上断开。
将正极(红色)接线连接到正极 (+) 电池端子,负极(黑色)接线连接到负极 (–) 电池端子 (图 58)。

使用平头螺丝和螺母将接线固定至电极。
确保正极 (+) 端子尽可能在电极上,接线紧贴电池。接线不得与电池盖接触。
将橡皮套滑动到正极电池端子上,防止可能发生的短路情况。
为两个电池连接涂抹 Grafo 112X 表面润滑脂(Toro 零件号 505-47)、凡士林或薄层润滑脂,防止腐蚀。
将橡皮套滑动到正极端子上。
关闭控制台面板并锁紧闩锁。
| 维护间隔时间 | 维护程序 |
|---|---|
| 每50个小时 |
|
Important: 在机器上进行焊接操作之前,请断开电池的负极接线,防止损坏电气系统。
Note: 每周或每运作 50 个小时后,检查一次电池状况。保持接头和整个电池外壳洁净,因为肮脏的电池会慢慢放电。
请按照如下方式清洁电池:
将机器停放在水平地面上,放下滚刀组,接合手刹,关闭发动机,然后从点火开关上拔下钥匙。
从机器上卸下电池。
用小苏打和水的溶液清洗整个外壳。
用清水冲洗外壳。
在电池电极和接线接头上涂抹 Grafo 112X 表面润滑脂(Toro 零件号 505-47)或凡士林,防止腐蚀。
| 维护间隔时间 | 维护程序 |
|---|---|
| 在每次使用之前或每日 |
|
轮胎出厂时为涨胎状态。因此,请释放一些空气以降低胎压。轮胎的正确气压是 0.83~1.03bar。每天检查轮胎气压。
Important: 所有轮胎都应保持建议胎压,以确保良好的剪草质量和适当的机器性能。不要使轮胎充气不足。
| 维护间隔时间 | 维护程序 |
|---|---|
| 初次使用8小时后 |
|
| 每200个小时 |
|
将机器停放在水平地面上,放下滚刀组,接合手刹,关闭发动机,然后从点火开关上拔下钥匙。
未能保持适当的车轮螺母扭矩可能导致车轮故障或丢失,并且可能导致人身伤害。
在运行 1~4 个小时和再次运行 8 个小时之后,上紧前、后车轮螺母扭矩至 115~136N·m。此后每 200 个小时上紧一次车轮螺母的扭矩。
Note: 前车轮螺母是 1/2-20 UNF。后车轮螺母是 M12 x 1.6-6H(公制)。
| 维护间隔时间 | 维护程序 |
|---|---|
| 每400个小时 |
|
行星轮驱动系统/驱动轮不应存在轴向游隙(即当依照与轴平行的方向推拉它们时,轮子不应移动)。
将机器停放在水平地面上,接合手刹,放下滚刀组,关闭发动机,然后拔下钥匙。
塞住后轮并抬起机器前部,用顶车架支撑前轴/机架。
用顶车架支撑的机器可能不稳定,可能会从顶车架上滑落,对顶车架下面的人员造成伤害。
机器在顶车架上时切勿启动发动机。
离开机器之前,请始终从点火钥匙开关中拔出钥匙。
当使用千斤顶升起打药车时,请用楔块卡住轮胎。
使用顶车架支撑机器。
抓住前驱动轮的 1 处,将它向着朝向和远离机器的方向推/拉,注意观察任何移动情况。

对另一个驱动轮重复步骤 3。
如果任何一个轮子有移动现象,请联系您的 Toro 授权经销商对行星轮驱动系统进行改造。
| 维护间隔时间 | 维护程序 |
|---|---|
| 初次使用200小时后 |
|
| 每800个小时 |
|
润滑油规格:高品质 SAE 85W-140 齿轮润滑油
行星齿轮和控制器箱润滑容量: 0.65L
将机器停放在水平地面上,将车轮放置为加油塞在 12 点钟位置,检查塞在 3 点钟位置,排油塞在 6 点钟位置;请参阅检查行星齿轮传动润滑油中的图 63。
取出 12 点钟位置的加油塞和 3 点钟位置的检查塞(图 65)。

将放油盘放在行星齿轮毂下面,取出 6 点钟位置的排油塞,让油完全排出(图 65)。
检查加油、检查和排油塞的 O 形圈是否磨损或损坏。
Note: 必要时更换 O 形圈。
将排油塞安装到行星齿轮箱的排油孔中(图 65)。
将放油盘放在制动器箱下面,取出排油塞,让油完全排出(图 66)。

检查排油塞的 O 形圈是否磨损或损坏,然后将排油塞装入制动器箱。
Note: 必要时更换 O 形圈。
| 维护间隔时间 | 维护程序 |
|---|---|
| 初次使用200小时后 |
|
| 每800个小时 |
|
将机器停放在水平地面上,放下滚刀组,接合手刹,关闭发动机,然后从点火开关上拔下钥匙。
清洁 3 个排油塞的周边区域——两端各 1 个,中间 1 个 (图 70)。

取出油位检查塞和主轴通风盖,使排油更容易。
取出排油塞,让油排到放油盘里。
安装检查塞。
取出检查塞,向后轴注入大约 2.37L 85W-140 齿轮油,或直至油向上达到孔的底部。
安装检查塞。
| 维护间隔时间 | 维护程序 |
|---|---|
| 在每次使用之前或每日 |
|
| 每400个小时 |
|
齿轮箱已加注 SAE 85W-140 齿轮油。容量为 0.5L。
将机器停放在水平地面上,放下滚刀组,接合手刹,关闭发动机,然后从点火开关上拔下钥匙。
从齿轮箱的左侧取出检查/注油塞(图 71),确保润滑剂向上直至孔的底部。如果润滑剂过少,请添加足够的润滑剂,直至液位达到孔的底部。

驱动踏板释放时,机器不得移动。如果它的确在移动,请予以调节。
将机器停放在水平地面上,关闭发动机,将速度控制器置于“低”范围,然后放低刀组。
仅踩下右刹车踏板,接合驻车刹车。
用千斤顶支撑机器左侧,直到左前轮胎离开地面。使用顶车架支撑机器,防止机器意外降落。
启动发动机并以低怠速运转。
调节泵杆端的锁紧螺母,向前移动泵控制管防止前进,向后移动泵控制管防止后退 (图 72)。

车轮旋转停止后,拧紧锁紧螺母以固定调节。
关闭发动机并松开右刹车。
拆下顶车架,把机器降低到地面上。
试驾机器,确保其未移动。
| 维护间隔时间 | 维护程序 |
|---|---|
| 每800个小时 |
|
将机器停放在水平地面上,放下滚刀组,接合手刹,关闭发动机,然后从点火开关上拔下钥匙。
测量前、后转向轮胎中心到中心(轮轴高度)的距离。
Note: 前面测量值必须要比后面测量值短 3mm (图 73)。

要调节前束,应从任一横拉杆球窝接头卸除开口销和螺母(图 74)。

从轴箱支架中拆除横拉杆球窝接头。
拧松横拉杆两端的夹具 (图 74)。
将拆掉的球窝接头向内或向外旋转一整圈。
拧紧横拉杆松开端的夹具。
将整个横拉杆组件以相同方向(向内或向外)旋转一整圈。
拧紧横拉杆连接端的夹具。
将球窝接头装入轴箱支架,用手指拧紧螺母。
测量前束。
必要时请重复此程序。
调节正确后拧紧螺母并安装新的开口销。
吞咽发动机冷却液可能导致中毒;应将其放到儿童和宠物接触不到的地方。
热高压冷却液的排放或接触散热器及周边零件可能导致严重灼伤。
打开散热器盖之前,应始终让发动机至少冷却 15 分钟。
请在打开散热器盖时使用抹布,缓慢打开盖子释放蒸汽。
| 维护间隔时间 | 维护程序 |
|---|---|
| 在每次使用之前或每日 |
|
每天开始时都要检查冷却液液位。系统容量为 12.3L。
小心拆下散热器盖。
如果发动机一直在运转,高压、灼热的冷却液可能溢出并造成灼伤。
请不要在发动机运行时打开散热器盖。
请在打开散热器盖时使用抹布,缓慢打开盖子释放蒸汽。

检查散热器冷却液液位。
Note: 散热器中的冷却液应添加至加油颈的顶部,而膨胀水箱中的冷却液应添加至“已满”标记处 (图 75)。
如果冷却液较低,请添加 50:50 的水和乙二醇防冻剂溶液。
Note: 切勿只加水或使用乙醇基/甲醇基冷却液。
安装散热器盖和膨胀水箱盖。
| 维护间隔时间 | 维护程序 |
|---|---|
| 在每次使用之前或每日 |
|
每天清除发动机区域、油冷却器和散热器的杂物。在肮脏的条件下要更频繁地清洁。
当刹车踏板的“自由行程”超过 13mm 时,或刹车无法有效工作时,应调节刹车。自由行程是您感到刹车阻力之前,刹车踏板移动的距离。
将机器停放在水平地面上,放下滚刀组,接合手刹,关闭发动机,然后从点火开关上拔下钥匙。
松开刹车踏板的锁定闩锁,这样两个踏板就能够相互独立工作 。
要缩短刹车踏板的自由行程,请按如下方法紧固刹车:
松开刹车拉线螺纹端的前螺母 (图 78)。

拧紧后螺母,向后移动拉线,直至刹车踏板的位移达到 0~13mm。
Note: 确保您在松开踏板时没有刹车张力。
正确调节刹车后,拧紧前螺母。
| 维护间隔时间 | 维护程序 |
|---|---|
| 每100个小时 |
|
当您向两个皮带轮之间的皮带中间位置施加 45N 的力量时,适当的张紧力允许 10mm 的下压。
如果下压不是 10mm,请松开发电机固定螺栓 (图 79)。

增大或减小发电机皮带张紧力,然后拧紧螺栓。
再次检查皮带的下压,确保张紧力正确无误。
如果液体穿透皮肤,请立即就医。如果液压油渗透皮肤,必须在几个小时内由医生进行手术治疗。
在对液压系统施加压力之前,请确保所有液压油软管和管路均处于良好状态、且所有液压连接和接头均紧固到位。
请确保身体和双手远离喷射高压液压油的针孔泄漏点或喷嘴。
使用纸板或纸张找出液压泄漏点。
在对液压系统执行任何工作之前,请先安全释放液压系统中的所有压力。
| 维护间隔时间 | 维护程序 |
|---|---|
| 在每次使用之前或每日 |
|
检查液压管线和软管是否有泄漏、管线扭结、支撑架松脱、磨损、接头松开、日久老化及化学变质。操作之前请执行所有必需的修理。
| 维护间隔时间 | 维护程序 |
|---|---|
| 在每次使用之前或每日 |
|
液压油箱在出厂时已添加高品质液压油。首次启动发动机之前请先检查液压油的液位,之后每天都要检查。
将机器停放在水平地面上,放下滚刀组,接合手刹,关闭发动机,然后从点火开关上拔下钥匙。
清洁液压油箱加油颈和油箱盖周围的区域 (图 80)。

从加油颈上取下盖子。
从加油颈中取出量油尺,用干净的抹布擦拭。
将量油尺插入加油颈;然后再取出检查液位。
液位应当介于量油尺上的两个标记之间。
如果液位较低,适量添加,使液位升至上方标记。
将量油尺插入加油颈,然后盖上盖子。
液压油箱在出厂时已添加高品质液压油。首次启动发动机之前请先检查液压油的液位,之后每天都要检查;请参阅检查液压油油位。
建议液压油:Toro PX 延长寿命液压油;提供 19L 桶装或 208L 圆桶装。
Note: 使用建议更换液压油的机器无需频繁的液压油和过滤器更换。
备选液压油:如果无法获得 Toro PX 延长寿命液压油,可使用其规格符合所有以下所有材料性能和行业标准的另一种常规石油基液压油来代替。切勿使用合成油。请咨询您的润滑剂经销商,帮您确定一款合格产品。
Note: 对于因使用不当替代产品而造成的损坏,Toro 将不承担任何责任,因此,请仅使用信誉好的制造商的产品,他们会对其产品提供支持。
| 材料属性: | ||
| 粘度、ASTM D445 | cSt @ 40℃ 44~48 | |
| 粘度指数 ASTM D2270 | 140 或更高 | |
| 倾点,ASTM D97 | -37°C~-45°C | |
| 行业规格: | Eaton Vickers 694(I-286-S、M-2950-S/35VQ25 或 M-2952-S) | |
Note: 许多液压油都是几乎无色的,所以很难找出泄漏点。我们提供 20ml 瓶装的人造红色染色添加剂,可添加到液压油中。一瓶足够添加到 15~22L 的液压油中。订购零件号为 44-2500,可从 Toro 授权经销商处购买。
Important: Toro 优质合成、可生物降解液压油是 Toro 认可的唯一一种合成可生物降解液压油。此液压油与 Toro 液压系统中使用的橡胶部件相配,适合各种温度条件。此液压油与常规矿物油相兼容,但为了实现最佳的生物降解能力和最佳性能,应彻底冲洗液压系统中的常规液压油。Toro 授权经销商为这种液压油提供两种容量包装:19L 桶装或 208L 圆桶。
28.4L;请参阅液压油规格
| 维护间隔时间 | 维护程序 |
|---|---|
| 每800个小时 |
|
| 每2000个小时 |
|
如果液压油受到污染,请联系您当地的 Toro 授权经销商,因为该系统必须冲洗。与清洁的液压油相比,被污染的液压油呈乳状或黑色。
| 维护间隔时间 | 维护程序 |
|---|---|
| 每800个小时 |
|
| 每1000个小时 |
|
使用 Toro 更换过滤器(零件号 94-2621)更换机器的后过滤器(滚刀组),使用 Toro 更换过滤器(零件号 75-1310)更换机器的前过滤器(填充)。
Important: 使用另一种类型的过滤器将使某些部件的保修失效。
磨损或受损的刀片或底刀可能会断裂,刀片碎片可能会被抛掷到您或旁观者所在的区域,导致严重人身伤害甚至死亡事故。
定期检查滚刀组是否过度磨损或损坏。
检查滚刀组时需小心谨慎。维护滚刀和底刀时,应把刀片包起来或戴上手套并极其小心。仅更换或磨快滚刀和底刀;切勿拉直或焊接。
在多滚刀组机器上,旋转滚刀时应小心谨慎,因为它可能导致其他滚刀组内的滚刀跟着旋转。
接触滚刀或其他活动件可能造成人身伤害。
确保手指、双手和衣服远离滚刀或其他活动件。
发动机运转时,切勿尝试用手或脚转动滚刀。
Note: 倒磨时,前滚刀组全部一起操作,后滚刀组同时操作。
将机器停放在水平地面上,放下滚刀组,接合手刹,关闭发动机,然后将 PTO 开关移至关闭位置。
松开并提起外罩,露出控制杆。
初步对滚刀到底刀进行适当调节,以便倒磨将要倒磨的所有滚刀组;请参阅滚刀组操作员手册。
选择前、后或同时两个倒磨控制杆,确定哪个装置需要倒磨 (图 83)。
启动发动机并低怠速运转。
倒磨时变更发动机速度可能导致滚刀停转。
不要在倒磨时变更发动机速度。
只有在发动机低怠速运转时才能倒磨。
接触到滚刀组可能导致人身伤害。
请务必在开始倒磨之前远离刀组。
当剪草限速器位于剪草位置时,将 PTO 开关移至开启位置。
按下提升开关,启动指定滚刀的倒磨操作。
用长把刷子涂抹研磨膏。
Note: 不要使用短把刷子。

如果滚刀在倒磨过程中停转或变得不稳定,可以提高油门速度直到滚刀稳定下来。
要在倒磨过程中调节刀组,可以按下提升开关的后面,停止滚刀;将 PTO 开关移至关闭位置,并关闭发动机。完成所有调节后,重复步骤 5至 9。
对您想要倒磨的所有滚刀组重复该程序。
完成后,将倒磨控制杆重新移至剪草位置,放下外罩,并洗掉滚刀组上的所有研磨膏。 按需要调节滚刀组滚刀到底刀的接触距离。将滚刀组滚刀速度控制杆移至所需的剪草位置。
Important: 如果倒磨开关在倒磨后没有返回至关闭设置,刀组就无法适当抬起或正常运转。
Note: 有关倒磨的其他说明和程序,请参阅 TORO 滚刀和旋刀剪草机磨刀手册(手册号 80-300SL)。
Note: 为了获得状态更好的刀刃,可以在倒磨后用锉刀打磨底刀的前面。这将去除刀刃上可能累积的任何毛刺或粗糙边缘。
必要时,单独使用水或温和的清洁剂清洗机器。您可以在清洗机器时使用抹布。
Important: 切勿使用咸水或再生水清洁机器。
Important: 切勿使用电动清洗设备冲洗机器。电动冲洗设备可能会损坏电气系统、使重要标贴松动或冲走摩擦点的必需润滑脂。避免在控制台、发动机和电池附近过量用水。
Important: 切勿在发动机运行时清洗机器。发动机运行时清洗机器可能导致发动机内部损坏。
关闭发动机、拔下钥匙(如配备)并等待所有移动完全停止,然后再离开操作员位置。等待机器冷却,然后再进行调整、维修、清洁或存放。
切勿将机器或燃油容器存放在有明火、火花或常明火的地方,例如热水器或其他电器上。
将机器停放在水平地面上,放下滚刀组,接合手刹,关闭发动机,然后从点火开关上拔下钥匙。
彻底清洁主机、滚刀组和发动机。
检查轮胎气压;请参阅 检查轮胎气压。
请检查所有紧固件有无松动;必要时请上紧。
润滑所有黄油嘴和枢轴点。擦掉任何多余的润滑油。
用砂纸轻轻打磨划伤、碎裂或生锈的漆面,并喷上补漆。修补金属机身上的任何凹痕。
按照以下方式维护电池和电缆;请参阅电气系统安全ID000-448-328:
拆下电池电极上的电池端子。
用钢丝刷和小苏打溶液清洁电池、极柱和电极。
为电缆端子和电池电极涂抹 Grafo 112X 表面润滑脂(Toro 零件号:505-47)或凡士林,防止腐蚀。
每 60 天给电池缓慢充电 24 小时,防止电池的铅硫酸化。
排干油底壳中的机油,安装排油塞。
拆下并丢弃机油滤芯。安装新机油滤芯。
给发动机加注指定机油。
启动发动机、怠速运行约 2 分钟。
关闭发动机并拔下钥匙。
使用新鲜、干净的燃油冲洗油箱。
紧固所有燃油系统接头。
彻底清理和维修空气滤清器总成。
用耐风雨胶带密封空气滤清器入口和排气口。
检查防冻保护剂,并在需要时根据您所在区域的预期最低温度添加 50:50 的水和乙二醇防冻剂溶液。