Техническое обслуживание
Доступ к режущему блоку
Чтобы получить доступ к неподвижному ножу и барабану для их техобслуживания, выполните следующее:
-
Установите опору под заднюю часть режущего блока, снятого с машины, чтобы гайки, установленные с обратной стороны регулировочных винтов планки неподвижного ножа, не упирались в рабочую поверхность (Рисунок 4).

-
Когда режущий блок подсоединен к машине, опустите рукоятку тягового блока на землю (Рисунок 5).

Проверка пресс-масленки приводного вала барабана
| Периодичность технического обслуживания | Порядок технического обслуживания |
|---|---|
| Ежегодно |
|
-
Снимите детали крепления узла привода барабана к боковой пластине (Рисунок 6).

-
Отверните гайки с внутренней стороны боковой пластины (Рисунок 6).
-
Проверьте внутреннюю поверхность приводного вала барабана (Рисунок 7) на наличие остатков смазки.
Если вы не увидите достаточное количество смазки, добавьте консистентную смазку на валы с внутренними и наружными шлицами.

-
Прикрепите привод барабана в сборе к боковой пластине с помощью снятых ранее винтов с внутренним шестигранником и гайки.
-
Установите режущий блок на тяговый блок; см. Руководство оператора для вашего тягового блока.
Регулировка контакта неподвижного ножа с барабаном
Ежедневная регулировка неподвижного ножа
Ежедневно перед скашиванием (или по мере необходимости) проверяйте наличие надлежащего контакта неподвижного ножа с барабаном. Выполняйте эту процедуру даже в том случае, если качество среза является приемлемым.
Note: Данную процедуру можно выполнить, когда режущий блок установлен на тяговом блоке.
-
Выключите тяговый блок.
-
Обеспечьте доступ к режущему блоку; см. Доступ к режущему блоку.
-
Медленно проверните барабан в обратном направлении, прислушиваясь к звуку соприкосновения барабана и неподвижного ножа.
-
Если явные признаки контакта отсутствуют, отрегулируйте неподвижный нож следующим образом:
-
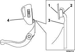
Поворачивайте регулировочные винты неподвижного ножа по часовой стрелке (Рисунок 8) по одному щелчку за раз до тех пор, пока не почувствуете или не услышите легкий контакт.
Note: Регулировочные винты планки неподвижного ножа имеют фиксированные положения, каждое из которых соответствует перемещению неподвижного ножа на 0,018 мм.

-
Вставьте длинную полоску специальной бумаги Toro (№ 125-5610 по каталогу Toro) между барабаном и неподвижным ножом перпендикулярно неподвижному ножу (Рисунок 9), затем медленно вращайте барабан вперед; при этом бумага должна разрезаться; в противном случае повторяйте пункты 1 и 2 до тех пор, пока бумага не начнет разрезаться.
-
-
При явно выраженном излишнем контакте (сопротивлении) барабана произведите заточку обратным вращением, шлифовку передней части неподвижного ножа или заточку режущего блока, чтобы получить острые кромки для точного резания (см. Руководство Toro по заточке барабанных и ротационных газонокосилок, форма № 09168SL).
Important: Легкий контакт всегда более предпочтителен. Если легкий контакт не поддерживается, кромки неподвижного ножа и барабана самозатачиваются недостаточно и затупляются после периода эксплуатации. В случае избыточного контакта происходит более быстрый и неравномерный износ неподвижного ножа и барабана, что может ухудшить качество скашивания.
Note: В режущих блоках eFlex контакт барабана с неподвижным ножом значительно влияет на потребление энергии. Для оптимальных характеристик скашивания и минимального расхода энергии аккумулятора рекомендуется поддерживать очень легкий контакт.
Note: Так как ножи барабана во время работы прижимаются к неподвижному ножу, возникает небольшой задир на поверхности передней режущей кромки по всей длине неподвижного ножа. Для повышения качества скашивания рекомендуется время от временем удалять задир на передней кромке напильником.После продолжительной работы на обоих концах неподвижного ножа образуется гребень. Чтобы обеспечить бесперебойную работу машины, сточите или спилите напильником эти зазубрины с режущей кромки неподвижного ножа.
-
Регулировка неподвижного ножа после шлифовки, заточки обратным вращением или разборки
Выполняйте эту процедуру во время первоначальной настройки режущего блока, после шлифовки, заточки обратным вращением или разборки барабана. Данную процедуру не требуется выполнять ежедневно.
Note: Данную процедуру можно выполнить, когда режущий блок установлен на тяговом блоке.
Note: В режущих блоках eFlex контакт барабана с неподвижным ножом значительно влияет на потребление энергии. Для оптимальных характеристик скашивания и минимального расхода энергии аккумулятора рекомендуется поддерживать очень легкий контакт.
-
Выключите тяговый блок.
-
Обеспечьте доступ к режущему блоку; см. Доступ к режущему блоку.
-
Поверните барабан таким образом, чтобы один из ножей пересекал кромку неподвижного ножа между головками первого и второго винтов неподвижного ножа с правой стороны режущего блока.
-
Нанесите метку на этом ноже в месте его пересечения с кромкой неподвижного ножа.
Note: Это облегчит последующие регулировки.
-
Вставьте регулировочную прокладку толщиной 0,05 мм между ножом и кромкой неподвижного ножа в точке, отмеченной при выполнении пункта 4.
-
Поворачивайте правый регулировочный винт планки неподвижного ножа (Рисунок 8) до тех пор, пока не почувствуете легкое давление на регулировочной прокладке при перемещении ее из стороны в сторону. Удалите регулировочную прокладку.
-
С левой стороны режущего блока медленно поверните барабан так, чтобы ближайший нож пересекал кромку неподвижного ножа между головками первого и второго винтов.
-
Повторите действия, описанные в пунктах с 4 по 6, для левой стороны режущего блока и левого регулировочного винта планки неподвижного ножа.
-
Повторяйте действия, описанные в пунктах 5 и 6, до возникновения легкого усилия в точках контакта с правой и левой стороны режущего блока.
-
Чтобы получить легкий контакт между барабаном и неподвижным ножом, поверните оба регулировочных винта неподвижного ножа по часовой стрелке на 3 щелчка.
Note: Каждый поворот на один щелчок регулировочного винта планки неподвижного ножа сдвигает неподвижный нож на 0,018 мм. Не допускайте чрезмерной затяжки регулировочных винтов.При повороте регулировочного винта по часовой стрелке неподвижный нож перемещается к барабану. При повороте регулировочного винта против часовой стрелки неподвижный нож перемещается от барабана.
-
Вставьте длинную полоску специальной бумаги Toro (№ 125-5610 по каталогу Toro) между барабаном и неподвижным ножом перпендикулярно неподвижному ножу (Рисунок 9), затем медленно поворачивайте барабан вперед; при этом бумага должна разрезаться; в противном случае поверните регулировочный винт неподвижного ножа по часовой стрелке на один щелчок и повторите действия, описанные в этом пункте; выполняйте эту процедуру до тех пор, пока бумага не начнет разрезаться.

Note: При явно выраженном излишнем контакте (сопротивлении) барабана можно произвести заточку обратным вращением, шлифовку передней части неподвижного ножа или заточку режущего блока, чтобы получить острые кромки для точного резания (см. Руководство Toro по заточке барабанных и ротационных газонокосилок, форма № 09168SL).
Настройка режущего блока в соответствии с состоянием травяного покрова
Используйте следующую таблицу, чтобы выбрать подходящий неподвижный нож, соответствующий состоянию травяного покрова. Для приобретения дополнительных неподвижных ножей и валиков обращайтесь к официальному дистрибьютору компании Toro.
См. инструкции по установке скорости резания, подходящей для состояния вашего травяного покрова, в разделе Регулировка скорости резания.
| Таблица рекомендуемых неподвижных ножей / высоты скашивания | |
| Неподвижный нож | Высота скашивания |
| Edgemax Micro-cut (стандартный) | От 1,5 до 4,7 мм |
| Edgemax Tournament (опциональный) | От 3,1 до 12,7 мм |
| Micro-cut (опциональный) | От 1,5 до 4,7 мм |
| Tournament (опциональный) | От 3,1 до 12,7 мм |
| Extended Micro-cut (опциональный) | От 1,5 до 4,7 мм |
| Extended Tournament (опциональный) | От 3,1 до 12,7 мм |
| Low-cut (опциональный) | От 4,7 до 25,4 мм |
Выполнение регулировки высоты скашивания
Установите требуемую высоту скашивания при помощи измерительной планки и убедитесь, что ваш режущий блок оборудован неподвижным ножом, оптимально подходящим для выбранной вами высоты скашивания; см. раздел Настройка режущего блока в соответствии с состоянием травяного покрова.
Регулировка высоты заднего валика
В зависимости от требуемого диапазона высоты скашивания установите кронштейны заднего валика (Рисунок 10 или Рисунок 11) в нижнее или верхнее положение:
-
Если настройки высоты скашивания находятся в диапазоне от 1,5 до 6 мм, установите проставку над монтажным фланцем боковой пластины (установленной на заводе), как показано на Рисунок 10.

-
При настройке высоты скашивания в диапазоне от 3 до 25 мм установите проставку под монтажным фланцем боковой пластины, как показано на Рисунок 11.

-
Поднимите заднюю часть режущего блока и установите подставку под неподвижный нож.
-
Отверните две гайки, скрепляющие соединения кронштейнов валика с проставками и боковыми монтажными фланцами.
-
Опустите валик и выкрутите винты из боковых монтажных фланцев и проставок.
-
Установите проставки на винты над или под кронштейнами валика, в соответствии с требуемым положением (Рисунок 10 или Рисунок 11).
-
Прикрепите кронштейн валика и проставки к нижней стороне монтажных фланцев с помощью гаек, открученных ранее.
-
Убедитесь в правильности контакта неподвижного ножа с барабаном. Переверните газонокосилку, чтобы получить доступ к передним и задним валикам и неподвижному ножу.
Note: Положение заднего валика относительно барабана регулируется допусками на механическую обработку собранных компонентов; параллельное выравнивание при этом не требуется. Частично положение валика можно отрегулировать, установив режущий блок на поверочную плиту и ослабив монтажные болты боковой пластины (Рисунок 12). По окончании отрегулируйте и затяните болты.

Important: При наклоне режущего блока для доступа к неподвижному ножу или барабану подложите опору под заднюю часть режущего блока, чтобы гайки, установленные с обратной стороны регулировочных винтов планки неподвижного ножа, не упирались в рабочую поверхность (Рисунок 4).
Регулировка высоты скашивания при помощи мерной планки
Прежде чем отрегулировать высоту скашивания, установите мерную планку следующим образом:
-
Ослабьте гайку мерной планки и установите регулировочный винт на требуемую высоту скашивания (Рисунок 13).
Note: Высота скашивания равняется расстоянию между нижней частью головки винта и лицевой поверхностью планки.

-
Затяните гайку.
Регулировка высоты скашивания
В стандартную комплектацию режущего блока входит неподвижный нож Edgemax Micro-cut и стандартная планка неподвижного ножа. Эффективная высота скашивания зависит от предыдущих настроек газонокосилки и состояния почвы (например, тип ролика, расстояние неподвижного ножа позади от центра, мягкий или жесткий грин, сезонные условия). Установите первоначальную высоту скашивания на 0,25–0,38 мм выше предыдущей настройки газонокосилки и отрегулируйте в соответствии с условиями.
Note: Для получения высоты скашивания свыше 13 мм установите комплект для большой высоты скашивания.
См. раздел Настройка режущего блока в соответствии с состоянием травяного покрова, чтобы определить, какой неподвижный нож лучше всего подходит для нужной высоты скашивания.
-
Ослабьте контргайки, которые крепят рычаги регулировки высоты скашивания к боковым пластинам режущего блока (Рисунок 14).

-
Зацепите головку винта мерной планки регулировки высоты скашивания за правую сторону режущей кромки неподвижного ножа и приложите задний конец планки к заднему валику (Рисунок 15).

-
Поворачивайте регулировочный винт, пока валик не коснется переднего конца мерной планки.
-
Повторите действия, описанные в пунктах 2 и , на левой стороне.
-
Регулируйте оба конца валика до тех пор, пока весь валик не станет параллелен неподвижному ножу.
Important: При правильной регулировке задний и передний валики касаются мерной планки, а винт прижимается к неподвижному ножу. Это обеспечивает одинаковую высоту скашивания с обеих сторон неподвижного ножа.
-
Затяните контргайки на рычагах высоты скашивания с усилием, достаточным для фиксации выполненной регулировки и устранения люфта в шайбе.
-
Убедитесь в правильности настройки высоты скашивания; если необходимо, повторите эту процедуру.
Регулировка скорости резания
Скорость резания определяется следующими настройками машины:
-
Скорость барабана: скорость барабана можно установить на высокую или низкую настройку; см. Руководство оператора для вашего тягового блока.
-
Положение шкива привода барабана: шкивы привода барабана (с 22 и 24 зубьями) можно установить в 2 положения:
Note: При отгрузке с завода шкив устанавливается в нижнее положение.

Чтобы отрегулировать положение шкивов, см. следующие пункты:
-
Снимите крышку ремня, чтобы открыть доступ к ремню (Рисунок 17).

-
Ослабьте болт рычага натяжного ролика и поверните рычаг натяжного ролика (Рисунок 17), чтобы ослабить натяжение ремня.
-
Снимите ремень (Рисунок 17).
-
Ослабьте гайку на каждом шкиве, снимите шкивы и с помощью гаек установите шкивы в требуемой конфигурации.

-
Затяните гайки шкивов с моментом от 37 до 45 Н∙м.
-
Установите ремень и затяните его, приложив крутящий момент от 4 до 5 Н∙м к внутреннему шестиграннику рычага натяжного ролика, показанного на Рисунок 17.
-
Затяните болт рычага натяжного ролика и установите крышку ремня.
Регулировка отражателя скошенной травы
Отрегулируйте отражатель так, чтобы вся скошенная трава выбрасывалась из области барабана:
Note: Отражатель можно отрегулировать для компенсации изменения состояния травяного покрова. Если травяной покров очень сухой, путем регулировки уменьшите расстояние между отражателем и барабаном. И наоборот, отведите отражатель дальше от барабана, когда травяной покров влажный. Для обеспечения оптимальных характеристик отражатель должен быть параллелен барабану. Отрегулируйте ее после заточки барабана на станке.
-
Ослабьте винты крепления верхней планки (Рисунок 19) к режущему блоку.

-
Вставьте толщиномер на 1,5 мм между верхней поверхностью барабана и отражателем и затяните винты.
Important: Убедитесь, что отражатель и барабан находятся на равном расстоянии друг от друга по всей длине барабана.
Техническое обслуживание неподвижного ножа
Во избежание повреждения барабана, планки и неподвижного ножа обслуживать планку и неподвижный нож должен только прошедший надлежащее обучение механик. Лучше всего обслуживать режущий блок у официального дистрибьютора Toro. Полные инструкции, сведения по специальным инструментам и графики техобслуживания неподвижного ножа см. в Руководстве по техническому обслуживанию режущего блока. При необходимости демонтировать или собрать планку неподвижного ножа самостоятельно, следуйте инструкциям, приведенным ниже вместе с техническими характеристиками для обслуживания неподвижного ножа.
Important: Обязательно соблюдайте процедуры техобслуживания неподвижного ножа, подробно изложенные в Руководстве по техническому обслуживанию. Несоблюдение указаний по правильной установке и шлифовке неподвижного ножа может привести к повреждению барабана, планки неподвижного ножа или неподвижного ножа.
Демонтаж неподвижного ножа
-
Поверните регулировочный винт планки неподвижного ножа против часовой стрелки, чтобы отвести неподвижный нож от барабана (Рисунок 20).

-
Отвинчивайте гайку натяжения пружины до тех пор, пока шайба больше не будет нажимать на планку неподвижного ножа (Рисунок 20).
-
На каждой стороне машины ослабьте контргайку, показанную на Рисунок 21.

-
Отверните каждый болт планки неподвижного ножа, чтобы можно было потянуть планку вниз и снять ее с режущего блока (Рисунок 21).
Помните о наличии 2 пластмассовых и 1 стальной шайбы с каждой стороны планки неподвижного ножа (Рисунок 21).
Установка неподвижного ножа
-
Установите планку неподвижного ножа, расположив монтажные проушины между шайбами и регулировочным винтом планки неподвижного ножа (Рисунок 20).
-
Прикрепите планку неподвижного ножа к боковым пластинам с помощью болтов планки неподвижного ножа (гаек на болтах) и 3 шайб (всего 6 шт.).
-
С каждой стороны установите нейлоновую шайбу на выступ боковой пластины. На нейлоновые шайбы установите стальные шайбы (Рисунок 21).
-
Затяните болты планки неподвижного ножа с моментом от 27 до 36 Н∙м.
-
Затяните контргайки до такой степени, чтобы устранить торцевой люфт в стальных шайбах, но чтобы их можно было провернуть вручную. Шайбы внутри могут иметь зазор.
Important: Во избежание деформации боковых пластин не затягивайте контргайки слишком сильно.
-
Затяните гайку натяжения пружины, чтобы пружина полностью сжалась, затем отверните ее на 1/2 оборота (Рисунок 22).

-
Отрегулируйте контакт барабана с неподвижным ножом; см. Регулировка неподвижного ножа после шлифовки, заточки обратным вращением или разборки.
Обслуживание неподвижного ножа
Установка неподвижного ножа
-
Удалите ржавчину, окалину и коррозию с поверхности планки неподвижного ножа и нанесите тонкий слой масла на его поверхность.
-
Очистите резьбу винтов.
-
Нанесите противозадирный состав на винты и установите неподвижный нож на планку неподвижного ножа.

-
Затяните 2 наружных винта с моментом 1 Н∙м.
-
Затяните винты с моментом от 23 до 28 Н∙м, начиная от середины неподвижного ножа.

-
Заточите неподвижный нож.
Подготовка барабана к заточке
-
Перед заточкой убедитесь, что все компоненты режущего блока находятся в исправном состоянии, и устраните любые нарушения.
-
Следуйте указаниям изготовителя заточного станка, чтобы заточить режущий барабан в соответствии со следующими характеристиками.
Характеристики заточки барабанов Диаметр нового барабана 128,5 мм Эксплуатационный предел для диаметра барабана 114,3 мм Задний угол ножа 30° ± 5° Ширина витка ножа 1,0 мм Диапазон ширины витка ножа От 0,76 до 1,27 мм Предельный ресурс конусности по диаметру барабана 0,25 мм
Затыловочное шлифование барабана
Ширина витка нового барабана составляет от 0,76 до 1,27 мм, он заточен затыловочным шлифованием под 30 градусов.
Когда ширина витка становится больше 3 мм, выполните следующие действия:
-
Выполните 30-градусное затыловочное шлифование всех ножей барабана так, чтобы ширина витка составляла 1,3 мм (Рисунок 25).

-
Выполните шлифование методом вращения барабана, чтобы биение барабана было меньше 0,025 мм.
Note: При этом ширина витка немного увеличится.
-
Отрегулируйте режущий блок; см. Руководство оператора для режущего блока.
Note: Чтобы после заточки барабана и/или неподвижного ножа их кромки оставались острыми как можно дольше, проверьте контакт барабана с неподвижным ножом еще раз после скашивания 2 гринов, так как при скашивании удаляются все заусенцы. Заусенцы могут привести к нарушению зазора между барабаном и неподвижным ножом, что приведет к ускоренному износу.
Характеристики заточки неподвижных ножей

| Задний угол стандартного неподвижного ножа | Минимум 3° |
| Задний угол увеличенного неподвижного ножа | Минимум 7° |
| Диапазон передних углов | От 13° до 17°. |
Проверка верхнего угла заточки
Угол заточки неподвижных ножей очень важен.
С помощью индикатора угла (№ детали 131-6828 по каталогу Toro) и крепления для индикатора угла (номер детали 131-6829 по каталогу Toro) проверьте угол, который обеспечивает устройство для заточки, и при несовпадении скорректируйте его.
-
Установите индикатор угла на нижней стороне неподвижного ножа, как показано на Рисунок 27.

-
Нажмите кнопку Alt Zero (Нулевая высота) на индикаторе угла.
-
Установите крепление индикатора угла на кромке неподвижного ножа так, чтобы кромка магнита совпала с кромкой неподвижного ножа (Рисунок 28).
Note: При выполнении действий, описанных в данном пункте, цифровой дисплей должен быть виден с той же стороны, что и при выполнении действий, описанных в пункте 1.

-
Установите индикатор угла на крепление, как показано на Рисунок 28.
Note: Угол, получаемый с помощью устройства для заточки, не должен отличаться более чем на 2 градуса от рекомендованного верхнего угла заточки.
Заточка режущего блока обратным вращением
Чтобы выполнить заточку режущего блока обратным вращением, необходимо использовать комплект обеспечения доступа к заточке обратным вращением (модель № 139-4342); см. инструкции по эксплуатации в Инструкции по установке комплекта. Свяжитесь с официальным дистрибьютором компании Toro для приобретения этого комплекта.


которые
имеют следующее
значение: «Осторожно!»,
«Внимание!» или
«Опасно!» – указания
по обеспечению
личной безопасности.
Несоблюдение данных
инструкций может
стать причиной
травмы или гибели.


