Leggið vinnubílnum á jafnsléttu.
Setjið stöðuhemilinn á.
Drepið á vélinni og takið lykilinn úr.
Aftengið rafhlöðuna; frekari upplýsingar eru í notendahandbókinni.
Lyftið pallinum upp í sturtustöðu og festið hann með stífunni.
Hlutar sem þarf fyrir þetta verk:
| Festirör að framan | 2 |
| Kragabolti (5/16 x 3 to.) | 2 |
| Stöðuhólkur (5/8 x 1 to.) | 2 |
| Sjálflæsandi ró (5/16 to.) | 4 |
| Stýribolti (5/16 x 2 to.) | 2 |
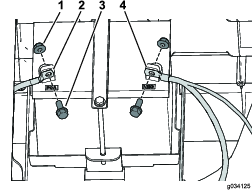
Setjið fremri festirörin tvö laust upp með því að nota kragaboltana 2tvo (5/16 x 3 to.), tvo stöðuhólka (⅝ x 1 to.), fjórar kragarær (5/16 to.) og tvo 2 stýribolta (5/16 x 2 to.), eins og sýnt er á Mynd 3.

Important: Áður en þessi aðgerð er framkvæmd skal skoða vinnubílinn til að athuga hvort uppsetningargötin eru þegar til staðar. Ef ekki skal halda áfram með verkferlið.
Note: Haltu eftir öllum vélbúnaði sem var fjarlægður í þessu verkferli.
Fjarlægið kragaboltann sem festir eldsneytisgeyminn við geymisbakkann (Mynd 4).

Fjarlægið skrúfurnar sem festa (Mynd 4).
Aftengið loftunarleiðsluna og eldsneytisleiðsluna af geyminum (Mynd 4).
Note: Hafið til búnað til að grípa og hreinsa upp eldsneyti sem kann að leka niður þegar eldsneytisleiðslan er aftengd frá geyminum.
Við sérstakar aðstæður getur eldsneyti verið sérstaklega eldfimt og mjög sprengifimt. Eldur eða sprenging af völdum eldsneytis getur valdið brunasárum og eignatjóni.
Tappið eldsneytinu af eldsneytisgeyminum þegar vélin er orðin köld. Þetta skal gera utan dyra og á opnu svæði. Þurrkið upp allan eldsneytisleka.
Aldrei reykja við meðhöndlun eldsneytis og haldið eldsneyti fjarri opnum eldi, annars er hætta á að neistaflug geti kveikt í eldsneytisgufum.
Fjarlægið eldsneytisgeyminn úr bakkanum.
Fjarlægið kragaboltana tvo sem festa eldsneytisgeymisbakkann við grindina (Mynd 5).

Fjarlægið skrúfurnar fjórar sem festa vinstri hliðarhlífina við neðri sætissamstæðuna (Mynd 6).

Fjarlægið mínuskapalinn (–) af rafhlöðunni og því næst plúskapapinn (+) (Mynd 7).

Fjarlægið kragaboltana tvo sem festa eldsneytisgeymisbakkann við grindina (Mynd 8).

Fjarlægið skrúfurnar fjórar sem festa hægri hliðarhlífina við neðri sætissamstæðuna (Mynd 8).
Important: Áður en þessi aðgerð er framkvæmd skal skoða vinnubílinn til að athuga hvort uppsetningargötin eru þegar til staðar. Ef ekki skal halda áfram með verkferlið.
Note: Haltu eftir öllum vélbúnaði sem var fjarlægður í þessu verkferli.
Borið fyrir stoðfestingu með því að nota mælingarnar sem sýndar eru í Mynd 11.
Þegar efsta gatið er borað skal gæta þess að bora alla leiðina í gegnum ytri festinguna, röragrindina og eldvarnarvegginn.
Sýnið aðgát þegar borað er í hægri hlið grindarinnar á rafknúnum vinnubíl.
Ef borað er of langt inn er hætta á skemmdum á rafhlöðu og öðrum íhlutum.

Festið hægri hliðarhlíf með því að nota skrúfurnar fjórar sem voru fjarlægðar áður (Mynd 8).
Festið rafhlöðubakkann við grindina með því að nota kragaboltana tvo sem voru fjarlægðir áður (Mynd 8).
Festið rafhlöðukaplana með því að nota boltana tvo og rærnar tvær sem voru fjarlægðar áður (Mynd 7).
Festið vinstri hliðarhlíf með því að nota skrúfurnar fjórar sem voru fjarlægðar áður (Mynd 6).
Festið eldsneytisgeymisbakkann við með því að nota kragaboltana tvo sem voru fjarlægðir áður (Mynd 5).
Komið eldsneytisgeyminum fyrir í eldsneytisgeymisbakkanum.
Tengið eldsneytisleiðsluna og loftunarslönguna við eldsneytisgeyminn (Mynd 4).
Festið festinguna með því að nota skrúfurnar sem voru fjarlægðar áður (Mynd 4).
Festið eldsneytisgeyminn við eldsneytisgeymisbakkann með því að nota kragaboltann sem var fjarlægður áður (Mynd 4).
Fyllið á eldsneytisgeyminn samkvæmt leiðbeiningunum í notendahandbókinni.
Hlutar sem þarf fyrir þetta verk:
| Festirör að aftan | 2 |
| Festing fyrir rör | 1 |
| Kragabolti (5/16 x 3 to.) | 2 |
| Sjálflæsandi ró (5/16 to.) | 2 |
| Kragabolti (⅜ x 1-¾ to.) | 2 |
| Kragabolti (⅜ x 3-½ to.) | 2 |
| Lásró (⅜ to.) | 4 |
| Kantþétti | 1 |
Setjið aftari festirörin tvö lauslega upp með því að nota tvo kragabolta (⅜ x 3-½ to.), tvo kragabolta (⅜ x 1-¾ to.) og fjórar lásrær (⅜ to.), eins og sýnt er á Mynd 12.

Festið festingu fyrir rörin á aftari festirörin með því að nota tvo kragabolta (5/16 x 3 to.) og tvær sjálflæsandi rær (5/16 to.), eins og sýnt er á Mynd 13.
Setjið kantþéttið upp á rörafestinguna (Mynd 13).

Herðið festingarnar sem voru settar upp í skrefi 1.
Herðið 5/16 to. festingarnar í 20 til 25 N∙m.
Herðið ⅜ to. festingarnar í 37 til 45 N∙m.
Hlutar sem þarf fyrir þetta verk:
| Stoðfestingar fyrir langa blæju settar upp | 2 |
| Sexkantsbolti með haus (5/16 x ¾ to.) | 8 |
| Kantþétti | 2 |
Hlutar sem þarf fyrir þetta verk:
| Blæja | 1 |
| Kragabolti (¼ x 1-¾ to.) | 4 |
| Þéttiskinna | 4 |
| Lásró (¼ to.) | 4 |
Important: Ef setja á upp speglasett skal gera það áður en blæjan er sett upp.
Festið blæjuna á festirörin að framan og að aftan með því að nota kragaboltana fjóra (¼ x 1-¾ to.), þéttiskinnurnar fjórar og lásrærnar fjórar (¼ to.), eins og sýnt er á Mynd 15.

Hlutar sem þarf fyrir þetta verk:
| Stoðfesting fyrir blæju | 1 |
| Kragabolti (¼ x 2-¼ to.) | 2 |
| Lásró (¼ tomma) | 2 |
| Þéttiskinna | 2 |
| Kantþétti | 1 |
| Stöðuhólkur (¼ to.) | 2 |
Hlutar sem þarf fyrir þetta verk:
| Stuðningsrör fyrir blæju | 1 |
| Lásró (¼ tomma) | 6 |
| Þéttiskinna | 2 |
| Kragabolti (¼ x 1-½ to.) | 2 |
| Svamppúði | 1 |
| Kragabolti (¼ x 1-¼ to.) | 4 |
Leggið svamppúðann að stuðningsrörinu fyrir blæjuna (Mynd 18).

Festið stuðningsrörið fyrir blæjuna á stuðningsfestingar fyrir langa blæju með því að nota kragaboltana fjóra (¼ x 1-¼ to.) og lásrærnar fjórar (¼ to.), eins og sýnt er á Mynd 19.

Notið stuðningsrör blæjunnar sem sniðmát og borið tvö göt (6 mm eða 1/4 to.) í blæjuna.
Festið stuðningsrörið fyrir blæjuna við blæjuna með því að nota kragaboltana tvo (¼ x 1-½ to.), þéttiskinnurnar tvær og lásrærnar tvær (¼ to.) eins og sýnt er á Mynd 20.
