Parcheggiate la macchina su una superficie piana, spegnete il motore, inserite il freno di stazionamento e togliete la chiave dall'accensione.
Togliete il coperchio della batteria nel modo seguente:
I morsetti della batteria e gli attrezzi metallici possono creare cortocircuiti contro i componenti metallici dell'unità motrice e provocare scintille. che possono fare esplodere i gas delle batterie e causare infortuni.
In sede di rimozione o montaggio della batteria, impedite ai morsetti di toccare le parti metalliche dell'unità motrice.
Non lasciate che gli attrezzi metallici creino cortocircuiti fra i morsetti della batteria e le parti metalliche dell'unità motrice.
Multi Pro 5800: rimuovete la cinghia della batteria dal relativo coperchio e scatola e rimuovete il coperchio; fate riferimento al Manuale dell'operatore per la macchina Multi Pro 5800.
Multi Pro WM: schiacciate i lati del coperchio della batteria e rimuovete il coperchio dal vassoio della batteria; fate riferimento al Manuale dell'operatore per la macchina Multi Pro WM.
Multi Pro 1750: sbloccate il sedile dell'operatore e inclinatelo in avanti; fate riferimento al Manuale dell'operatore per la macchina Multi Pro 1750.
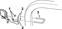
Scollegate il cavo negativo (nero - messa a terra) dal polo della batteria; fate riferimento al Manuale dell'operatore della vostra macchina.
In caso di errato percorso dei cavi della batteria, la macchina ed i cavi possono venire danneggiati e causare scintille, che possono fare esplodere i gas della batteria e causare infortuni.
Scollegate sempre il cavo negativo (nero) della batteria prima di quello positivo (rosso).
Collegate sempre il cavo positivo (rosso) della batteria prima di quello negativo (nero).
Multi Pro 1750 o Multi Pro WM: fate scorrere il coperchio isolato sul morsetto del cavo positivo della batteria; fate riferimento al Manuale dell'operatore per le macchine Multi Pro 1750 o Multi Pro WM.
Scollegate il cavo positivo della batteria dalla batteria stessa; fate riferimento al Manuale dell'operatore della vostra macchina.
Parti necessarie per questa operazione:
| Luce LED | 2 |
| Staffa di montaggio della luce | 2 |
| Bullone a testa tonda (5/16" x 1") | 2 |
| Dado di bloccaggio flangiato (5/16") | 2 |
Montate la luce LED sulla staffa di montaggio della luce con il bullone a testa tonda (5/16" x 1") e il dado di bloccaggio flangiato (5/16") come illustrato nella Figura 1.

Ripetete il passaggio 1 per l’altra luce e la staffa.
Parti necessarie per questa operazione:
| Staffa dell’interruttore | 1 |
| Interruttore a bilanciere | 2 |
| Cablaggio preassemblato | 1 |
Allineate l'interruttore a bilanciere con l'apertura nella staffa dell'interruttore (Figura 2).
Note: Allineate il punto orientabile dell'interruttore a bilanciere sopra la parte centrale dell'interruttore.

Inserite l'interruttore nell'apertura fino a quando il fermo sull'interruttore non scatta saldamente in posizione (Figura 2).
Ripetete i passaggi 1 e 2 per l'altro interruttore a bilanciere.
Collegate i connettori a 8 prese del cablaggio preassemblato ai connettori a 8 pin degli interruttori a bilanciere (Figura 2).
Rimuovete i 3 bulloni (5/16" x 1") e le 3 rondelle (5/16") che fissano la base del sedile e il paraurti di sinistra al telaio della macchina (Figura 3).

Spostate la base del sedile e il paraurti in avanti per sbloccare i 2 ancoraggi a clip di plastica della base del sedile dai 2 fori da 6,4 mm nel canale per il ROPS sul lato sinistro della macchina (Figura 3).
Note: Conservate gli ancoraggi a clip di plastica per l'installazione descritta in Montaggio del paraurti sinistro (Multi Pro 1750).
Sollevate la base del sedile e il paraurti via dal freno di stazionamento e dalla macchina (Figura 4).
Note: Rilasciate la maniglia del freno di stazionamento se necessario per creare spazio per la base del sedile; inserite il freno di stazionamento una volta rimossa la base del sedile e il paraurti dalla macchina.

Parti necessarie per questa operazione:
| Bullone a U (⅜" x 3½" x 2-13/16") | 2 |
| Bullone a U (⅜" x 2-15/16 x 3½") | 4 |
| Dado di bloccaggio flangia | 8 |
| Bullone a U (⅜" x 2-7/16" x 2-13/16") | 2 |
Sul lato sinistro del ROPS, rimuovete il bullone a U (⅜" x 3½" x 2-13/16") e il dado di bloccaggio flangiato che fissano il supporto del serbatoio dell'acqua dolce al tubo del ROPS (Figura 5).

Montate la luce LED e la staffa sul tubo del ROPS e sul supporto del serbatoio dell'acqua dolce, come illustrato nella Figura 5 con il bullone a U (⅜" x 3½" x 2-13/16") e il dado di bloccaggio flangiato (⅜") che avete rimosso al passaggio 1.
Note: Utilizzate i fori di montaggio diagonali nella staffa della luce.
Sul lato opposto del tubo del ROPS, montate la luce LED e la staffa sul tubo del ROPS con un bullone a U (⅜" x 3½" x 2-13/16") e un dado di bloccaggio flangiato (⅜") del kit luci operative posteriori (Figura 5).
Serrate i dadi di bloccaggio a una coppia di 37–45 N∙m.
Montate la luce LED e la staffa sul tubo del ROPS con il bullone a U (⅜" x 2-7/16" x 2-13/16") e il dado di bloccaggio flangiato, come illustrato nella Figura 6.
Note: Utilizzate i fori di montaggio perpendicolari nella staffa della luce.

Ripetete il passaggio 1 per la luce LED e la staffa sul lato opposto del tubo del ROPS.
Serrate i dadi di bloccaggio a una coppia di 37–45 N∙m.
Montate la luce LED e la staffa sul tubo posteriore del ROPS con il bullone a U (⅜" x 3½" x 2-13/16") e il dado di bloccaggio flangiato (⅜"), come illustrato nella Figura 7.
Note: Utilizzate i fori di montaggio diagonali nella staffa della luce.

Ripetete il passaggio 1 per la luce LED e la staffa sul lato opposto del tubo del ROPS.
Serrate i dadi di bloccaggio a una coppia di 37–45 N∙m.
Per le macchine Multi Pro 1750 e Multi Pro WM, montate la staffa dell'interruttore sul lato anteriore del gruppo ROPS con 2 bulloni a U (⅜" x 2-7/16" x 2-13/16") e 2 dadi di bloccaggio flangiati (⅜"), come illustrato nella Figura 8.

Per le macchine Multi Pro 5800, montate la staffa dell'interruttore sul lato posteriore del gruppo ROPS con 2 bulloni a U (⅜" x 2-15/16 x 3½") e 4 dadi di bloccaggio flangiati (⅜"), come illustrato nella Figura 9.

Parti necessarie per questa operazione:
| Fascetta per cavi | 6 |
Negli interruttori, disponete la diramazione del cablaggio preassemblato con il connettore a 2 prese verso l'alto e trasversalmente sulla parte posteriore del tubo del ROPS orizzontale, come illustrato nella Figura 10.
Note: Legate insieme il cablaggio in eccesso nella parte centrale del ROPS, e fissate il fascio del cablaggio con una fascetta per cavi come illustrato nella Figura 10.

Negli interruttori delle luci, disponete la diramazione del cablaggio preassemblato con il morsetto a presa e il morsetto ad anello verso il basso e in avanti come illustrato nella Figura 11 e nella Figura 12.
Important: Create uno spazio tra il cablaggio preassemblato e la ruota e la cinghia del motore.
Note: Disponete il cablaggio preassemblato per il kit luci operative posteriori lungo il cablaggio preassemblato della macchina.


Fissate il cablaggio preassemblato per il kit luci operative posteriori al tubo del ROPS, al tubo del telaio anteriore superiore della macchina e al cablaggio preassemblato della macchina con fascette per cavi, come illustrato nella Figura 10, Figura 11 e Figura 12.
Note: Legate insieme il cablaggio in eccesso all’altezza del tubo del telaio anteriore superiore, e fissate il fascio del cablaggio con una fascetta per cavi come illustrato nella Figura 11.
Negli interruttori, disponete la diramazione del cablaggio preassemblato con il connettore a 2 prese verso l'alto e trasversalmente sulla parte posteriore del tubo del ROPS orizzontale, come illustrato nella Figura 13.

Negli interruttori delle luci, disponete la diramazione del cablaggio preassemblato con il morsetto a presa e il morsetto ad anello verso il basso e in avanti come illustrato nella Figura 14 e nella Figura 15.
Important: Create uno spazio tra il cablaggio preassemblato e il tubo di scarico del motore.
Note: Disponete il cablaggio preassemblato per il kit luci operative posteriori lungo il cablaggio preassemblato della macchina (Figura 15).


Fissate il cablaggio preassemblato al tubo del ROPS e al supporto per la base del sedile con fascette per cavi, come illustrato nella Figura 13, Figura 14 e Figura 15.
Note: Legate insieme il cablaggio in eccesso all’altezza del supporto della base del sedile, e fissate il fascio del cablaggio con una fascetta per cavi come illustrato nella Figura 15.
Negli interruttori, disponete la diramazione del cablaggio preassemblato con il connettore a 2 prese verso l'alto e trasversalmente sulla parte posteriore del tubo del ROPS orizzontale, come illustrato nella Figura 16.

Negli interruttori, disponete la diramazione del cablaggio preassemblato con il morsetto a presa e il morsetto ad anello verso il basso e trasversalmente sulla parte posteriore del sedile dell'operatore, come illustrato nella Figura 17.

Nella consolle centrale, disponete il cablaggio preassemblato per il kit luci operative posteriori lungo il cablaggio preassemblato dell'irroratrice e in avanti verso il portafusibili (Figura 17 e Figura 18).

Fissate il cablaggio preassemblato per il kit luci operative posteriori al cablaggio preassemblato dell'irroratrice con fascette per cavi, come illustrato nella Figura 16 e Figura 17.
Nella luce LED sopra l'interruttore delle luci, collegate il connettore a 2 prese del cablaggio preassemblato al connettore a 2 pin della luce LED (Figura 19).

Sull'altro lato della macchina, collegate il connettore a 2 prese del cablaggio preassemblato al connettore a 2 pin della luce LED (Figura 19).
Parti necessarie per questa operazione:
| Portafusibili | 1 |
| Fusibile da 10 A | 1 |
Collegate il cablaggio preassemblato al portafusibili e il filo di messa a terra alla morsettiera di messa a terra (Figura 20).
Note: Macchine Multi Pro 1750 e Multi Pro 5800: il portafusibili e la morsettiera di messa a terra si trovano sotto il sedile della macchina.Macchina Multi Pro WM: il portafusibili e la morsettiera di messa a terra si trovano sotto il cruscotto della macchina.

Se un circuito non è disponibile nel portafusibili della macchina, montate il portafusibili ausiliario (Figura 21) sul portafusibili della macchina.

Montate il fusibile (10 A) nella presa del portafusibili per le luci LED (Figura 22).

Allineate l'apertura nella parte superiore della base del sedile con la leva del freno di stazionamento.
Note: Rilasciate la maniglia del freno di stazionamento se necessario per creare spazio per la base del sedile.
Allineate i 2 fori nella base del sedile nei punti in cui avete rimosso gli ancoraggi a clip di plastica nel passaggio 2 di Rimozione della base del sedile e del paraurti di sinistra (Multi Pro 1750) ai 2 fori da 6,4 mm nel canale per il ROPS (Figura 3).
Montate i 2 ancoraggi a clip di plastica attraverso i 2 fori nella base del sedile e i 2 fori nel canale per il ROPS; fate riferimento a Figura 3 di Rimozione della base del sedile e del paraurti di sinistra (Multi Pro 1750).
Montate la base del sedile sul telaio della macchina con i 3 bulloni (5/16" x 1") e le 2 rondelle (5/16") che avete rimosso al passaggio 1 di Rimozione della base del sedile e del paraurti di sinistra (Multi Pro 1750).
Serrate i bulloni a una coppia di 1017–1355 N•m.
Se avevate rilasciato il freno di stazionamento, inseritelo.
In caso di errato percorso dei cavi della batteria, la macchina ed i cavi possono venire danneggiati e causare scintille, che possono fare esplodere i gas della batteria e causare infortuni.
Scollegate sempre il cavo negativo (nero) della batteria prima di quello positivo (rosso).
Collegate sempre il cavo positivo (rosso) della batteria prima di quello negativo (nero).
Collegate il cavo positivo della batteria al polo positivo della batteria; fate riferimento al Manuale dell'operatore per la vostra macchina.
Collegate il cavo negativo della batteria al polo negativo della batteria; fate riferimento al Manuale dell'operatore per la vostra macchina.
Multi Pro 1750 o Multi Pro WM: fate scorrere il coperchio isolato sul morsetto del cavo positivo della batteria; fate riferimento al Manuale dell'operatore per le macchine Multi Pro 1750 o Multi Pro WM.
Montate il coperchio della batteria nel modo seguente:
Multi Pro 5800: allineate il coperchio della batteria alla scatola della batteria e fissate il coperchio con la cinghia della batteria; fate riferimento al Manuale dell'operatore per la macchina Multi Pro 5800.
Multi Pro WM: schiacciate i lati del coperchio della batteria e allineate le alette del coperchio della batteria alle scanalature nel vassoio della batteria e rilasciate il coperchio; fate riferimento al Manuale dell'operatore per la macchina Multi Pro WM.
Multi Pro 1750: ruotate il sedile indietro e in basso fino a quando non si blocca saldamente in posizione; fate riferimento al Manuale dell'operatore per la macchina Multi Pro 1750.
Multi Pro 5800: ruotate il sedile dell’operatore indietro e in basso fino a quando non si allinea con la scatola del sedile del telaio; fate riferimento al Manuale dell'operatore per la macchina Multi Pro 5800.
Premete gli interruttori a bilanciere nella posizione ON.
Note: Le luci LED si illumineranno.
Se la luce (o luci) non è illuminata quando gli interruttori a bilanciere sono in posizione ON, gli interruttori sono allineati in modo incorretto, sottosopra, nella staffa; effettuate le seguenti operazioni:
Prendete nota dell'interruttore allineato in modo incorretto, sottosopra.
Scollegate la batteria; fate riferimento a Preparazione all'installazione del kit luci operative posteriori.
Nella staffa dell'interruttore, scollegate il connettore a 8 prese del cablaggio preassemblato dall'interruttore a bilanciere allineato in modo incorretto; fate riferimento a Figura 2 di Montaggio degli interruttori e del cablaggio preassemblato.
Rimuovete l'interruttore a bilanciere dalla staffa dell'interruttore; fate riferimento a Figura 2 di Montaggio degli interruttori e del cablaggio preassemblato.
Ruotate l'interruttore a bilanciere di 180° e inseritelo nella staffa dell'interruttore fino a quando il fermo sull'interruttore non scatta saldamente in posizione.
Collegate il connettore a 8 prese del cablaggio preassemblato al connettore a 8 pin dell'interruttore a bilanciere; fate riferimento a Figura 2 di Montaggio degli interruttori e del cablaggio preassemblato.
Collegate la batteria; fate riferimento a Completamento dell'installazione del kit luci operative posteriori.
Se l'interruttore della luce di sinistra controlla la luce LED sbagliata, effettuate quanto segue:
Scollegate la batteria; fate riferimento a Preparazione all'installazione del kit luci operative posteriori.
Nella staffa dell'interruttore, scollegate i connettori a 8 prese del cablaggio preassemblato dagli interruttori a bilanciere; fate riferimento a Figura 2 di Montaggio degli interruttori e del cablaggio preassemblato.
Scambiate le posizioni dei connettori a 8 prese negli interruttori a bilanciere.
Collegate i connettori a 8 prese del cablaggio preassemblato ai connettori a 8 pin degli interruttori a bilanciere; fate riferimento a Figura 2 di Montaggio degli interruttori e del cablaggio preassemblato.
Collegate la batteria; fate riferimento a Completamento dell'installazione del kit luci operative posteriori.
Premete gli interruttori a bilanciere verso l'alto in posizione ON per attivare le luci LED.
Premete gli interruttori a bilanciere verso il basso in posizione OFF per disattivare le luci LED.