Pysäköi kone tasaiselle alustalle, sammuta moottori, kytke seisontajarru ja irrota virta-avain.
Irrota akun suojus seuraavasti:
Akun navat tai metallityökalut voivat aiheuttaa oikosulun koskettaessaan ajoneuvon metalliosia, mistä voi seurata kipinöitä. Kipinät voivat saada akun kaasut räjähtämään ja aiheuttaa siten henkilövahingon.
Akkua irrotettaessa tai asennettaessa akun napojen ei saa antaa koskettaa ajoneuvon metalliosia.
Metalliset työkalut voivat aiheuttaa oikosulun akun napojen ja koneen metalliosien välille.
Multi Pro 5800: Irrota akun hihna akun suojuksesta ja akkukotelosta, ja irrota suojus. Katso Multi Pro 5800 -koneen käyttöopas.
Multi Pro WM: Purista akun suojusta sivuilta ja irrota suojus akkualustasta. Katso Multi Pro WM -koneen käyttöopas.
Multi Pro 1750: Avaa käyttäjän istuimen lukitus ja kallista istuinta eteenpäin. Katso Multi Pro 1750 -koneen käyttöopas.
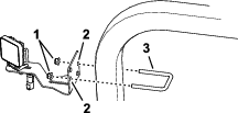
Irrota akun miinuskaapeli (musta, maadoitus) akun navasta. Katso koneen käyttöopas.
Akun kaapeleiden virheellinen asennus voi vahingoittaa laitetta ja kaapeleita aiheuttaen kipinöitä. Kipinät voivat saada akun kaasut räjähtämään ja aiheuttaa siten henkilövahingon.
Irrota aina akun miinuskaapeli (musta) ennen pluskaapelin (punainen) irrottamista.
Kytke aina akun pluskaapeli (punainen) ennen miinuskaapelia (musta).
Multi Pro 1750 tai Multi Pro WM: Liu’uta eristetty suojus akun pluskaapelin pidikkeen yli. Katso Multi Pro 1750- tai Multi Pro WM -koneen käyttöopas.
Irrota akun pluskaapeli akusta. Katso koneen käyttöopas.
Vaiheeseen tarvittavat osat:
| LED-valo | 2 |
| Valon asennuskannatin | 2 |
| Lukkopultti (5/16 × 1 tuumaa) | 2 |
| Laippalukkomutteri (5/16 tuumaa) | 2 |
Kiinnitä LED-valo valon asennuskannattimeen lukkopultilla (5/16 × 1 tuumaa) ja laippalukkomutterilla (5/16 tuumaa) kuvan mukaisesti (Kuva 1).

Toista vaihe 1 toiselle valolle ja kannattimelle.
Vaiheeseen tarvittavat osat:
| Kytkimen kannatin | 1 |
| Keinukytkin | 2 |
| Johdinsarja | 1 |
Kohdista keinukytkin kytkimen kannattimen aukkoon (Kuva 2).
Note: Kohdista keinukytkimen nivelkohta kytkimen keskikohdan yläpuolelle.

Aseta kytkin aukkoon niin, että kytkimen salpa napsahtaa kiinni (Kuva 2).
Toista vaiheet 1 ja 2 toiselle keinukytkimelle.
Kytke johdinsarjan 8-istukkaiset liittimet keinukytkimien 8-nastaisiin liittimiin (Kuva 2).
Irrota kolme pulttia (5/16 × 1 tuumaa) ja kolme aluslaattaa (5/16 tuumaa), joilla vasemman istuimen jalusta ja lokasuoja ovat kiinni koneen rungossa (Kuva 3).

Siirrä istuimen jalustaa ja lokasuojaa eteenpäin ja nosta kaksi istuimen jalustan muovikiinnikettä pois ROPS-kiskon kahdesta reiästä (6,4 mm) koneen vasemmalta puolelta (Kuva 3).
Note: Säilytä muovikiinnikkeet kohdassa Vasemman lokasuojan asennus (Multi Pro 1750) tehtävää asennusta varten.
Nosta istuimen jalusta ja lokasuoja pois seisontajarrusta ja koneesta (Kuva 4).
Note: Vapauta tarvittaessa seisontajarrun kahva, jotta istuimen jalustalle on riittävästi tilaa. Kytke seisontajarru, kun istuimen jalusta ja lokasuoja on irrotettu koneesta.

Vaiheeseen tarvittavat osat:
| U-pultti (⅜ × 3½ × 2-13/16 tuumaa) | 2 |
| U-pultti (⅜ × 2-15/16 × 3½ tuumaa) | 4 |
| Laippalukkomutteri | 8 |
| U-pultti (⅜ × 2-7/16 × 2-13/16 tuumaa) | 2 |
Irrota kaatumissuojausjärjestelmän (ROPS) vasemmalta puolelta U-pultti (⅜ × 3½ × 2-13/16 tuumaa) ja laippalukkomutteri, jolla puhdasvesisäiliön kannatin on kiinnitetty ROPS-putkeen (Kuva 5).

Asenna LED-valo ja kannatin ROPS-putkeen ja puhdasvesisäiliöön kuvan mukaisesti (Kuva 5) U-pultilla (⅜ × 3½ × 2-13/16 tuumaa) ja laippalukkomutterilla (⅜ tuumaa), jotka irrotettiin vaiheessa 1.
Note: Käytä valon kannattimen vinottaisia kiinnitysreikiä.
Asenna LED-valo ja kannatin ROPS-putken toiselle puolelle takatyövalosarjan U-pultilla (⅜ × 3½ × 2-13/16 tuumaa) ja laippalukkomutterilla (3/8 tuumaa) (Kuva 5).
Kiristä lukkomutterit momenttiin 37–45 N·m.
Asenna LED-valo ja kannatin ROPS-putkeen U-pultilla (⅜ × 2-7/16 × 2-13/16 tuumaa) ja laippalukkomutterilla kuvan mukaisesti (Kuva 6).
Note: Käytä valon kannattimen kohtisuoria kiinnitysreikiä.

Toista LED-valon ja kannattimen asennusvaihe 1 ROPS-putken toisella puolella.
Kiristä lukkomutterit momenttiin 37–45 N·m.
Asenna LED-valo ja kannatin ROPS-takaputkeen U-pultilla (⅜ × 3½ × 2-13/16 tuumaa) ja laippalukkomutterilla (⅜ tuumaa) kuvan mukaisesti (Kuva 7).
Note: Käytä valon kannattimen vinottaisia kiinnitysreikiä.

Toista LED-valon ja kannattimen asennusvaihe 1 ROPS-putken toisella puolella.
Kiristä lukkomutterit momenttiin 37–45 N·m.
Multi Pro 1750- ja Multi Pro WM -koneet: asenna kytkimen kannatin ROPS-kokoonpanon etupuolelle kahdella U-pultilla (⅜ × 2-7/16 × 2-13/16 tuumaa) ja kahdella laippalukkomutterilla (⅜ tuumaa) kuvan mukaisesti (Kuva 8).

Multi Pro 5800 -kone: asenna kytkimen kannatin ROPS-kokoonpanon takapuolelle kahdella U-pultilla (⅜ × 2-15/16 × 3½ tuumaa) ja neljällä laippalukkomutterilla (⅜ tuumaa) kuvan mukaisesti (Kuva 9).

Vaiheeseen tarvittavat osat:
| Nippuside | 6 |
Vie kytkimissä 2-istukkaisella liittimellä varustettu johdinsarjan haara ylös ja vaakasuuntaisen ROPS-putken takaosaa pitkin kuvan mukaisesti (Kuva 10).
Note: Niputa ylimääräinen johdinsarja ROPS:n keskelle ja kiinnitä se nippusiteellä kuvan mukaisesti (Kuva 10).

Vie valokytkimissä istukkaliittimellä ja rengasliittimellä varustettu johdinsarjan haara alas ja eteenpäin kuvien mukaisesti (Kuva 11 ja Kuva 12).
Important: Jätä tilaa johdinsarjan sekä moottorin hammaspyörän ja hihnan väliin.
Note: Vie takatyövalosarjan johdinsarja koneen johdinsarjaa pitkin.


Kiinnitä takatyövalosarjan johdinsarja ROPS-putkeen, koneen ylempään eturunkoputkeen ja koneen johdinsarjaan nippusiteillä kuvien mukaisesti (Kuva 10, Kuva 11 ja Kuva 12).
Note: Niputa ylimääräinen johdinsarja ylemmän eturunkoputken kohdalle ja kiinnitä se nippusiteellä kuvan mukaisesti (Kuva 11).
Vie kytkimissä 2-istukkaisella liittimellä varustettu johdinsarjan haara ylös ja vaakasuuntaisen ROPS-putken takaosaa pitkin kuvan mukaisesti (Kuva 13).

Vie valokytkimissä istukkaliittimellä ja rengasliittimellä varustettu johdinsarjan haara alas ja eteenpäin kuvien mukaisesti (Kuva 14 ja Kuva 15).
Important: Jätä tilaa johdinsarjan ja moottorin pakoputken väliin.
Note: Vie takatyövalosarjan johdinsarja koneen johdinsarjaa pitkin (Kuva 15).


Kiinnitä johdinsarja ROPS-putkeen ja istuimen jalustan tukeen nippusiteillä kuvien mukaisesti (Kuva 13, Kuva 14 ja Kuva 15).
Note: Niputa ylimääräinen johdinsarja istuimen jalustan tuen kohdalle ja kiinnitä se nippusiteellä kuvan mukaisesti (Kuva 15).
Vie kytkimissä 2-istukkaisella liittimellä varustettu johdinsarjan haara ylös ja vaakasuuntaisen ROPS-putken takaosaa pitkin kuvan mukaisesti (Kuva 16).

Vie valokytkimissä istukkaliittimellä ja rengasliittimellä varustettu johdinsarjan haara alas ja kuljettajan istuimen takaosan poikki kuvan mukaisesti (Kuva 17).

Vie takatyövalosarjan johdinsarja keskikonsolissa ruiskuttimen johdinsarjaa pitkin ja eteenpäin sulakerasiaa kohti (Kuva 17 ja Kuva 18).

Kiinnitä takatyövalosarjan johdinsarja ruiskuttimen johdinsarjaan nippusiteillä kuvien mukaisesti (Kuva 16 ja Kuva 17).
Vaiheeseen tarvittavat osat:
| Sulakerasia | 1 |
| 10 A:n sulake | 1 |
Kytke johdinsarja sulakerasiaan ja maadoitusjohto maadoitusrasiaan (Kuva 20).
Note: Multi Pro 1750- ja Multi Pro 5800 -koneet: sulakerasia ja maadoitusrasia ovat koneen istuimen alla.Multi Pro WM -kone: sulakerasia ja maadoitusrasia ovat koneen kojelaudan alla.

Jos koneen sulakerasiassa ei ole vapaata piiriä, asenna koneen sulakerasian päälle lisäsulakerasia (Kuva 21).

Asenna sulake (10 A) LED-valoille varattuun sulakerasian istukkaan (Kuva 22).

Kohdista seisontajarrun vipu istuimen jalustan yläosassa olevaan aukkoon.
Note: Vapauta tarvittaessa seisontajarrun kahva, jotta istuimen jalustalle on riittävästi tilaa.
Kohdista kaksi istuimen jalustan reikää, joista irrotettiin muovikiinnikkeet kohdan Vasemman istuimen jalustan ja lokasuojan irrotus (Multi Pro 1750) vaiheessa 2, ROPS-kiskon kahteen reikään (6,4 mm) (Kuva 3).
Asenna kaksi muovikiinnikettä istuimen jalustan kahden reiän läpi ja ROPS-kiskon kahden reiän läpi. Katso kohdan Vasemman istuimen jalustan ja lokasuojan irrotus (Multi Pro 1750) kuva (Kuva 3).
Asenna istuimen jalusta koneen runkoon kolmella pultilla (5/16 × 1 tuumaa) ja kahdella aluslaatalla (5/16 tuumaa), jotka irrotettiin kohdan Vasemman istuimen jalustan ja lokasuojan irrotus (Multi Pro 1750) vaiheessa 1.
Kiristä pultit momenttiin 1 017 – 1 355 N·m.
Jos seisontajarru on vapautettuna, kytke se päälle.
Akun kaapeleiden virheellinen asennus voi vahingoittaa laitetta ja kaapeleita aiheuttaen kipinöitä. Kipinät voivat saada akun kaasut räjähtämään ja aiheuttaa siten henkilövahingon.
Irrota aina akun miinuskaapeli (musta) ennen pluskaapelin (punainen) irrottamista.
Kytke aina akun pluskaapeli (punainen) ennen miinuskaapelia (musta).
Kytke akun pluskaapeli akun plusnapaan. Katso koneen käyttöopas.
Kytke akun miinuskaapeli akun miinusnapaan. Katso koneen käyttöopas.
Multi Pro 1750 tai Multi Pro WM: Liu’uta eristetty suojus akun pluskaapelin pidikkeen yli. Katso Multi Pro 1750- tai Multi Pro WM -koneen käyttöopas.
Asenna akun suojus seuraavasti:
Multi Pro 5800: kohdista akun suojus akkukoteloon ja kiinnitä suojus akun hihnalla. Katso Multi Pro 5800 -koneen käyttöopas.
Multi Pro WM: Purista akun suojusta sivuilta, kohdista akun suojuksen kielekkeet akkualustan aukkoihin ja vapauta suojus. Katso Multi Pro WM -koneen käyttöopas.
Multi Pro 1750: Käännä istuinta taakse ja alas, kunnes se lukittuu paikalleen. Katso Multi Pro 1750 -koneen käyttöopas.
Multi Pro 5800: Käännä kuljettajan istuinta taakse ja alas, kunnes se on kohdakkain rungon istuinlaatikon kanssa. Katso Multi Pro 5800 -koneen käyttöopas.
Paina keinukytkimet ylös PääLLä-asentoon.
Note: LED-valot syttyvät.
Jos LED-valot eivät syty keinukytkinten ollessa PääLLä-asennossa, kytkimet on kohdistettu kannattimeen virheellisesti ylösalaisin. Toimi seuraavasti:
Merkitse muistiin kytkin, joka on kohdistettu kannattimeen ylösalaisin.
Kytke akku irti. Katso kohta Takatyövalosarjan asennuksen valmistelu.
Irrota kytkimen kannattimen kohdalla johdinsarjan 8-istukkainen liitin virheellisesti kohdistetusta keinukytkimestä. Katso kohdan Kytkinten ja johdinsarjan asennus vaihe Kuva 2.
Irrota keinukytin kytkimen kannattimesta. Katso kohdan Kytkinten ja johdinsarjan asennus kuva (Kuva 2).
Käännä keinukytkintä 180 astetta ja aseta se kytkimen kannattimeen niin, että kytkimen salpa napsahtaa kiinni.
Kytke johdinsarjan 8-istukkainen liitin keinukytkimen 8-nastaiseen liittimeen. Katso kohdan Kytkinten ja johdinsarjan asennus kuva (Kuva 2).
Kytke akku. Katso kohta Takatyövalosarjan asennuksen viimeistely.
Jos vasen valokytkin ohjaa väärää LED-valoa, toimi seuraavasti:
Kytke akku irti. Katso kohta Takatyövalosarjan asennuksen valmistelu.
Irrota kytkimen kannattimen kohdalla johdinsarjan 8-istukkaiset liittimet keinukytkimistä. Katso kohdan Kytkinten ja johdinsarjan asennus vaihe Kuva 2.
Vaihda 8-istukkaisten liitinten paikat keinukytkimissä.
Kytke johdinsarjan 8-istukkaiset liittimet keinukytkimien 8-nastaisiin liittimiin. Katso kohdan Kytkinten ja johdinsarjan asennus kuva (Kuva 2).
Kytke akku. Katso kohta Takatyövalosarjan asennuksen viimeistely.
Sytytä LED-valot painamalla keinukytkimet ylös PääLLä-asentoon.
Sammuta LED-valot painamalla keinukytkimet alas POIS-asentoon.