Припаркуйте машину на ровной горизонтальной поверхности, выключите двигатель, включите стояночный тормоз и извлеките ключ из замка зажигания.
Снимите крышку аккумуляторной батареи следующим образом:
Клеммы аккумулятора или металлические инструменты могут закоротить на металлические компоненты тягового блока, вызвав искрение. Искры могут вызвать взрыв аккумуляторных газов, что приведет к получению травмы.
При демонтаже или установке аккумулятора не допускайте контакта его клемм с металлическими частями тягового блока.
Не допускайте короткого замыкания клемм аккумулятора металлическими инструментами на металлические части тягового блока.
Multi Pro 5800: снимите хомут с крышки и коробки аккумуляторной батареи, снимите крышку аккумуляторной батареи; см. Руководство оператора для машины Multi Pro 5800.
Multi Pro WM: сожмите стороны крышки аккумуляторной батареи и снимите крышку с поддона аккумуляторной батареи; см. Руководство оператора для машины Multi Pro WM.
Multi Pro 1750: разблокируйте защелку сиденья оператора и наклоните сиденье вперед; см. Руководство оператора для машины Multi Pro 1750.
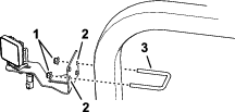
Отсоедините отрицательный кабель (черный — «земля») от штыря аккумуляторной батареи; см. Руководство оператора для конкретной машины.
Неправильное подключение кабелей к аккумулятору может вызвать искрение, что приведет к повреждению машины и кабелей. Искры могут вызвать взрыв аккумуляторных газов, что приведет к получению травмы.
Всегда отсоединяйте отрицательный (черный) кабель аккумулятора перед отсоединением положительного (красного) кабеля.
Всегда присоединяйте положительный (красный) кабель аккумулятора перед присоединением отрицательного (черного) кабеля.
Multi Pro 1750 или Multi Pro WM: наденьте изолирующий кожух на зажим положительного кабеля аккумуляторной батареи; см. Руководство оператора для машины Multi Pro 1750 или Multi Pro WM.
Отсоедините положительный кабель от аккумуляторной батареи; см. Руководство оператора для конкретной машины.
Детали, требуемые для этой процедуры:
| Светодиодный осветительный прибор | 2 |
| Кронштейн осветительного прибора | 2 |
| Каретный болт (5/16 x 1 дюйм) | 2 |
| Фланцевая контргайка (5/16 дюйма) | 2 |
Прикрепите светодиодный осветительный прибор к кронштейну осветительного прибора с помощью каретного болта (5/16 x 1 дюйм) и фланцевой контргайки (5/16 дюйма), как показано на Рисунок 1.

Повторите действия, описанные в пункте 1, для другого осветительного прибора и кронштейна.
Детали, требуемые для этой процедуры:
| Кронштейн переключателя | 1 |
| Клавишный выключатель | 2 |
| Жгут проводов | 1 |
Совместите клавишный переключатель с отверстием в кронштейне переключателя (Рисунок 2).
Note: Расположите шарнирное крепление клавишного переключателя над его средней частью.

Вставьте переключатель в отверстие до надежной фиксации защелки переключателя (Рисунок 2).
Повторите действия, описанные в пунктах 1 и 2, для другого клавишного переключателя.
Подсоедините 8-гнездовые соединители жгута проводов к 8-штыревым соединителям клавишных переключателей (Рисунок 2).
Удалите три болта (5/16 x 1 дюйм) с тремя шайбами (5/16 дюйма), которые крепят основание левого сиденья и крыло к ходовой части машины (Рисунок 3).

Переместите основание сиденья и крыло вперед, чтобы вывести два пластмассовых фиксатора основания сиденья из двух отверстий диаметром 6,4 мм в швеллере конструкции ROPS с левой стороны машины (Рисунок 3).
Note: Сохраните пластмассовые фиксаторы для установки, описанной в разделе Установка левого крыла (Multi Pro 1750).
Поднимите и снимите основание сиденья и крыло со стояночного тормоза и с машины (Рисунок 4).
Note: Отпустите рукоятку стояночного тормоза, если это необходимо для обеспечения зазора при демонтаже основания сиденья; включите стояночный тормоз после того, как основание сиденья и крыло будут сняты с машины.

Детали, требуемые для этой процедуры:
| U-образный болт (⅜ x 3½ x 2-13/16 дюйма) | 2 |
| U-образный болт (⅜ x 2-15/16 x 3½ дюйма) | 4 |
| Фланцевая контргайка | 8 |
| U-образный болт (⅜ x 2-7/16 x 2-13/16) | 2 |
С левой стороны конструкции ROPS снимите U-образный болт (⅜ x 3½ x 2-13/16 дюйма) и фланцевую контргайку, которые фиксируют крепление бака пресной воды к трубе конструкции ROPS (Рисунок 5).

Установите светодиодный осветительный прибор и кронштейн на трубу конструкции ROPS и крепление бака пресной воды, как показано на Рисунок 5, при помощи U-образного болта (⅜ x 3½ x 2-13/16 дюйма) и фланцевой контргайки (⅜ дюйма), снятых при выполнении действий, описанных в пункте 1.
Note: Используйте диагонально расположенные крепежные отверстия в кронштейне осветительного прибора.
С другой стороны трубы конструкции ROPS установите светодиодный осветительный прибор и кронштейн на трубу конструкции ROPS при помощи U-образного болта (⅜ x 3½ x 2-13/16 дюйма) и фланцевой контргайки (⅜ дюйма) из комплекта заднего рабочего осветительного прибора (Рисунок 5).
Затяните контргайки с моментом от 37 до 45 Н∙м.
Установите светодиодный осветительный прибор и кронштейн на трубу конструкции ROPS при помощи U-образного болта (⅜ x 2-7/16 x 2-13/16) и фланцевой контргайки, как показано на Рисунок 6.
Note: Используйте перпендикулярно расположенные крепежные отверстия в кронштейне осветительного прибора.

Повторите действия, описанные в пункте 1, для светодиодного осветительного прибора и кронштейна с другой стороны трубы конструкции ROPS.
Затяните контргайки с моментом от 37 до 45 Н∙м.
Установите светодиодный осветительный прибор и кронштейн на заднюю трубу конструкции ROPS при помощи U-образного болта (⅜ x 3½ x 2-13/16 дюйма) и фланцевой контргайки (⅜ дюйма), как показано на Рисунок 7.
Note: Используйте диагонально расположенные крепежные отверстия в кронштейне осветительного прибора.

Повторите действия, описанные в пункте 1, для светодиодного осветительного прибора и кронштейна с другой стороны трубы конструкции ROPS.
Затяните контргайки с моментом от 37 до 45 Н∙м.
На машинах Multi Pro 1750 и Multi Pro WM установите кронштейн переключателя на передней стороне узла конструкции ROPS с помощью 2 U-образных болтов (⅜ x 2-7/16 x 2-13/16 дюйма) и 2 фланцевых контргаек (⅜ дюйма), как показано на Рисунок 8.

На машине Multi Pro 5800 установите кронштейн переключателя на задней стороне узла конструкции ROPS при помощи двух U-образных болтов (⅜ x 2-15/16 x 3½ дюйма) и четырех фланцевых контргаек (⅜ дюйма), как показано на Рисунок 9.

Детали, требуемые для этой процедуры:
| Кабельная стяжка | 6 |
Рядом с переключателями проложите ответвление жгута проводов с 2-гнездовым соединителем вверх и по периметру задней стороны горизонтальной трубы конструкции ROPS, как показано на Рисунок 10.
Note: Сложите излишнюю длину жгута проводов в виде связки посередине конструкции ROPS и прикрепите ее кабельной стяжкой, как показано на Рисунок 10.

Рядом с переключателями освещения проложите ответвление жгута проводов с гнездовой клеммой и круглой клеммой вниз и вперед, как показано на Рисунок 11 и Рисунок 12.
Important: Обеспечьте зазор между жгутом проводов и звездочкой/ремнем двигателя.
Note: Проложите жгут проводов заднего рабочего осветительного прибора вдоль жгута проводов машины.


Прикрепите жгут проводов комплекта заднего рабочего осветительного прибора к трубе конструкции ROPS, верхней передней трубе рамы машины и жгуту проводов машины с помощью кабельных стяжек, как показано на Рисунок 10, Рисунок 11 и Рисунок 12.
Note: Сложите излишнюю длину жгута проводов в виде связки в зоне верхней передней трубы рамы и прикрепите ее кабельной стяжкой, как показано на Рисунок 11.
Рядом с переключателями проложите ответвление жгута проводов с 2-гнездовым соединителем вверх и по периметру задней части горизонтальной трубы конструкции ROPS, как показано на Рисунок 13.

Рядом с переключателями освещения проложите ответвление жгута проводов с гнездовой клеммой и круглой клеммой вниз и вперед, как показано на Рисунок 14 и Рисунок 15.
Important: Обеспечьте зазор между жгутом проводов и выхлопной трубой двигателя.
Note: Проложите жгут проводов заднего рабочего осветительного прибора вдоль жгута проводов машины (Рисунок 15).


Закрепите жгут проводов на трубе конструкции ROPS и опоре основания сиденья кабельными стяжками, как показано на Рисунок 13, Рисунок 14 и Рисунок 15.
Note: Сложите излишнюю длину жгута проводов в виде связки в зоне опоры основания сиденья и прикрепите ее кабельной стяжкой, как показано на Рисунок 15.
Рядом с переключателями проложите ответвление жгута проводов с 2-гнездовым соединителем вверх и по периметру задней части горизонтальной трубы конструкции ROPS, как показано на Рисунок 16.

Рядом с переключателями освещения проложите ответвление жгута проводов с гнездовой клеммой и круглой клеммой вниз и поперек спинки сиденья оператора, как показано на Рисунок 17.

У центральной консоли проложите жгут проводов комплекта заднего рабочего осветительного прибора вдоль жгута проводов опрыскивателя и вперед к блоку предохранителей (Рисунок 17 и Рисунок 18).

Прикрепите жгут проводов комплекта заднего рабочего осветительного прибора к жгуту проводов опрыскивателя с помощью кабельных стяжек, как показано на Рисунок 16 и Рисунок 17.
В месте расположения осветительного прибора над переключателем освещения подсоедините 2-гнездовой соединитель жгута проводов к 2-штыревому соединителю светодиодного осветительного прибора (Рисунок 19).

С другой стороны машины подсоедините 2-гнездовой разъем жгута проводов к 2-штыревому разъему светодиодного осветительного прибора (Рисунок 19).
Детали, требуемые для этой процедуры:
| Блок предохранителей | 1 |
| Предохранитель 10 A | 1 |
Подсоедините жгут проводов к блоку предохранителей, а провод заземления к блоку заземления (Рисунок 20).
Note: Машины Multi Pro 1750 и Multi Pro 5800: блок предохранителей и блок заземления расположены под сиденьем машины.Машина Multi Pro WM: блок предохранителей и блок заземления расположены под приборной панелью машины.

Если на блоке предохранителей машины нет свободного контура, установите дополнительный блок предохранителей (Рисунок 21) на блок предохранителей машины.

Вставьте предохранитель (10 А) в гнездо блока предохранителей для светодиодных осветительных приборов (Рисунок 22).

Совместите отверстие в верхней части основания сиденья с рычагом стояночного тормоза.
Note: Если необходимо, отпустите рукоятку стояночного тормоза, чтобы обеспечить зазор для основания сиденья.
Совместите два отверстия в основании сиденья, из которых были извлечены пластмассовые фиксаторы при выполнении действий, описанных в пункте 2 раздела Демонтаж основания левого сиденья и крыла (Multi Pro 1750), с двумя отверстиями диаметром 6,4 мм в швеллере конструкции ROPS (Рисунок 3).
Установите два пластмассовых фиксатора сквозь два отверстия основания сиденья и два отверстия в швеллере конструкции ROPS; см. Рисунок 3 в разделе Демонтаж основания левого сиденья и крыла (Multi Pro 1750).
Установите основание сиденья на ходовую часть машины при помощи трех болтов (5/16 x 1 дюйм) и двух шайб (5/16 дюйма), снятых при выполнении пункта 1 в разделе Демонтаж основания левого сиденья и крыла (Multi Pro 1750).
Затяните болты с моментом от 1017 до 1355 Н∙м.
Включите стояночный тормоз, если он был выключен.
Неправильное подключение кабелей к аккумулятору может вызвать искрение, что приведет к повреждению машины и кабелей. Искры могут вызвать взрыв аккумуляторных газов, что приведет к получению травмы.
Всегда отсоединяйте отрицательный (черный) кабель аккумулятора перед отсоединением положительного (красного) кабеля.
Всегда присоединяйте положительный (красный) кабель батареи перед присоединением отрицательного (черного) кабеля.
Подсоедините положительный кабель к положительному штырю аккумуляторной батареи; см. Руководство оператора для машины.
Подсоедините отрицательный кабель к отрицательному штырю аккумуляторной батареи; см. Руководство оператора для машины.
Multi Pro 1750 или Multi Pro WM: наденьте изолирующий кожух на зажим положительного кабеля аккумуляторной батареи; см. Руководство оператора для машины Multi Pro 1750 или Multi Pro WM.
Установите крышку аккумуляторной батареи следующим образом:
Multi Pro 5800: установите крышку на коробку аккумуляторной батареи и закрепите с помощью хомута аккумуляторной батареи; см. Руководство оператора для машины Multi Pro 5800.
Multi Pro WM: сожмите с обеих сторон крышку аккумуляторной батареи, совместите выступы крышки аккумуляторной батареи с пазами в поддоне аккумуляторной батареи и отпустите крышку; см. Руководство оператора для машины Multi Pro WM.
Multi Pro 1750: переместите сиденье оператора назад и вниз до его надежной фиксации защелками на месте; см. Руководство оператора для машины Multi Pro 1750.
Multi Pro 5800: поверните сиденье оператора назад и вниз до его совмещения с опорой сиденья в ходовой части; см. Руководство оператора для машины Multi Pro 5800.
Переведите клавишные переключатели вверх в положение Вкл.
Note: Светодиодные осветительные приборы должны загореться.
Если осветительные приборы не загораются при переводе клавишных переключателей в положение Вкл., значит переключатели неправильно установлены в кронштейне; в этом случае выполните следующие действия:
Отметьте переключатель, который неправильно установлен.
Отсоедините аккумуляторную батарею; см. Подготовка к установке комплекта задних рабочих осветительных приборов.
В месте расположения кронштейна переключателя отсоедините 8-гнездовой соединитель жгута проводов от неправильно установленного клавишного переключателя; см. Рисунок 2 в разделе Установка переключателей и жгута проводов.
Снимите клавишный переключатель с кронштейна переключателя; см. Рисунок 2 в разделе Установка переключателей и жгута проводов.
Переверните клавишный переключатель на 180° и вставьте его в кронштейн переключателя до надежной фиксации защелкой.
Подсоедините 8-гнездовой соединитель жгута проводов к 8-штыревому соединителю клавишного переключателя; см. Рисунок 2 в разделе Установка переключателей и жгута проводов.
Подсоедините аккумуляторную батарею; см. Завершение установки комплекта задних рабочих осветительных приборов.
Если левый переключатель управляет не тем осветительным прибором, для которого он предназначен, выполните следующее действие:
Отсоедините аккумуляторную батарею; см. Подготовка к установке комплекта задних рабочих осветительных приборов.
В месте расположения кронштейна переключателя отсоедините 8-гнездовые соединители жгута проводов от клавишных переключателей; см. Рисунок 2 в разделе Установка переключателей и жгута проводов.
Поменяйте положения 8-гнездовых соединителей относительно клавишных переключателей.
Подсоедините 8-гнездовые соединители жгута проводов к 8-штыревым соединителям клавишных переключателей; см. Рисунок 2 в разделе Установка переключателей и жгута проводов.
Подсоедините аккумуляторную батарею; см. Завершение установки комплекта задних рабочих осветительных приборов.
Переведите клавишные переключатели вверх в положение Вкл., чтобы включить светодиодные осветительные приборы.
Переведите клавишные переключатели вниз в положение Выкл., чтобы выключить светодиодные осветительные приборы.