Техническое обслуживание
Техника безопасности при обслуживании
-
Перед регулировкой, очисткой или ремонтом машины выполните следующие действия:
-
Установите машину на ровной поверхности.
-
Отключите приводы.
-
Выключите двигатель.
-
Дождитесь остановки всех движущихся частей.
-
Включите стояночный тормоз.
-
Поднимите ножи.
-
Отсоедините провод свечи зажигания.
-
-
Для предотвращения возгорания очистите от травы и загрязнений ножи, приводы, глушитель и двигатель. Удаляйте следы утечек масла или топлива.
-
Удалите следы утечек масла или топлива.
-
Не допускайте к обслуживанию машины неподготовленный персонал.
-
При необходимости используйте подъемные опоры для поддержки машины и/или компонентов.
-
Осторожно сбрасывайте давление из компонентов с накопленной энергией.
-
Перед выполнением любых ремонтных работ снимите провод свечи зажигания.
-
При проверке ножей будьте внимательны. Будьте осторожны при техническом обслуживании ножей; оберните их ветошью или наденьте перчатки. Заменяйте поврежденные ножи; не выпрямляйте и не сваривайте их.
-
Необходимо поддерживать безопасное расстояние до движущихся частей машины. По возможности не выполняйте регулировки при работающем двигателе.
-
Следите за исправностью всех компонентов и надлежащей затяжкой крепежа. Заменяйте изношенные или поврежденные наклейки.
-
Запрещается вмешиваться в работу защитных устройств или снижать степень защиты, обеспечиваемой устройством. Регулярно проверяйте правильность работы таких устройств.
-
Для поддержания оптимальных рабочих характеристик машины и регулярного прохождения сертификации безопасности всегда приобретайте только оригинальные запасные части и приспособления компании Toro. Использование запасных частей и приспособлений, изготовленных другими производителями, может быть опасным и привести к аннулированию гарантии на изделие.
-
Регулярно проверяйте работу стояночного тормоза. При необходимости регулируйте и обслуживайте его.
Рекомендуемый график(и) технического обслуживания
| Периодичность технического обслуживания | Порядок технического обслуживания |
|---|---|
| Через первые 5 часа |
|
| Перед каждым использованием или ежедневно |
|
| Через каждые 25 часов |
|
| Через каждые 50 часов |
|
| Через каждые 100 часов |
|
| Через каждые 200 часов |
|
| Ежегодно, или до помещения на хранение |
|
Действия перед техническим обслуживанием
Отсоединение провода свечи зажигания
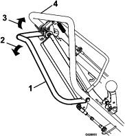
Перед выполнением любой операции технического обслуживания на двигателе, ремне или режущих ножах отсоедините провод свечи зажигания (Рисунок 15).

Смазка
Смазывание подшипников вала отрезного устройства
| Периодичность технического обслуживания | Порядок технического обслуживания |
|---|---|
| Через каждые 25 часов |
|
-
Выключите двигатель, дождитесь остановки всех движущихся частей и отсоедините провод свечи зажигания.
-
Включите стояночный тормоз.
-
Заправьте масленки (Рисунок 16) универсальной консистентной смазкой № 2 по классификации NLGI, сделав 1 или 2 качания смазочным шприцем.

Техническое обслуживание двигателя
Правила техники безопасности при обслуживании двигателя
-
Перед проверкой уровня масла или добавлением масла в картер выключите двигатель.
-
Следите, чтобы руки, ноги и другие части тела, а также одежда находились на безопасном расстоянии от глушителя и других горячих поверхностей.
Обслуживание воздухоочистителя
| Периодичность технического обслуживания | Порядок технического обслуживания |
|---|---|
| Перед каждым использованием или ежедневно |
|
| Через каждые 50 часов |
|
| Через каждые 200 часов |
|
Important: Запрещается эксплуатация двигателя без установленного воздушного фильтра в сборе, поскольку возможно серьезное повреждение двигателя.
-
Выключите двигатель и дождитесь остановки всех движущихся частей; см. раздел Техника безопасности при обслуживании.
-
Отсоедините провод от свечи зажигания, как указано в Отсоединение провода свечи зажигания.
-
Откройте защелку крышки воздухоочистителя ().

-
Снимите крышку воздухоочистителя.
Note: Будьте осторожны, чтобы не допустить попадания грязи и мусора в основание воздушного фильтра.
-
Снимите элементы из пеноматериала и бумаги с основания ().
-
Снимите элемент из пеноматериала с бумажного элемента ().
-
Осмотрите элементы из пеноматериала и бумаги и замените их, если они повреждены или сильно загрязнены.
-
Очистите бумажный элемент легким постукиванием для удаления загрязнений.
Note: Не пытайтесь счищать щеткой грязь с бумажного элемента; щетка втирает грязь в волокна. Замените элемент, если не удалось удалить загрязнения постукиванием.
-
Очистите элемент из пеноматериала в теплой мыльной воде или невоспламеняемом растворителе.
Note: Не используйте бензин для очистки элемента из пеноматериала, так как это может привести к возгоранию или взрыву.
-
Тщательно промойте и просушите элемент из пеноматериала.
-
Удалите грязь с основания и крышки с помощью влажной ткани.
Note: Будьте осторожны, чтобы не допустить попадания грязи и мусора в воздушный канал, ведущий к карбюратору.
-
Установите элементы воздухоочистителя и убедитесь, что они правильно расположены.
-
Установите крышку и закрепите ее защелкой.
Обслуживание моторного масла
| Периодичность технического обслуживания | Порядок технического обслуживания |
|---|---|
| Через первые 5 часа |
|
| Через каждые 50 часов |
|
Ваш официальный дилер Toro может предложить моторное масло Toro Premium.
Important: Используйте масло для четырехтактных двигателей с моющей присадкой, удовлетворяющее требованиям (или превышающее их) эксплуатационного класса по API не ниже SJ.
Вместимость картера: 1,1 л
Important: Слишком низкий или высокий уровень масла в картере может привести к повреждению двигателя во время запуска. На такое повреждение действие гарантии не распространяется.
Note: Используйте масло SAE 10W-30 для общего применения. Вы можете использовать масло с другой вязкостью, указанной в таблице, если средняя температура в вашем регионе находится в указанном диапазоне (Рисунок 18).

Проверка уровня масла в двигателе
| Периодичность технического обслуживания | Порядок технического обслуживания |
|---|---|
| Перед каждым использованием или ежедневно |
|
-
Остановите машину на ровной поверхности и убедитесь, что двигатель расположен горизонтально.
-
Выключите режущие ножи и двигатель, дождитесь остановки всех движущихся частей и поверните выключатель двигателя в положение Выкл.
-
Дайте двигателю остыть.
-
Очистите поверхность вокруг масломерного щупа (Рисунок 19), чтобы загрязнения не попали в заливное отверстие и не вызвали повреждение двигателя.

-
Извлеките щуп и протрите его конец дочиста.
-
Вставьте щуп до упора в заливное отверстие, но не заворачивайте его (Рисунок 19).
-
Снова извлеките масломерный щуп и посмотрите на его конец. Если уровень масла в двигателе низкий, медленно долейте в заливное отверстие только такой объем масла, чтобы поднять уровень до метки «Полный» на щупе (Рисунок 19).
Замена масла в двигателе
Предупреждение
После работы двигателя масло может быть горячим, и контакт с ним может привести к серьезной травме.
Избегайте контакта с горячим моторным маслом при его сливе.
-
Выключите режущие ножи и двигатель, переведите выключатель двигателя в положение «Выкл.» и дождитесь остановки всех движущихся частей.
-
Отсоедините провод от свечи зажигания.
-
Поднимите передние колеса на 5–8 сантиметров от земли и установите поддон под сливную пробку для сбора масла.
-
Снимите маслосливную пробку (Рисунок 20).

-
Когда масло полностью стечет, опустите передние колеса на землю, установите на место сливную пробку и затяните ее с моментом 18 Н∙м.
Note: Утилизируйте использованное масло в сертифицированном центре вторичной переработки.
-
Извлеките масломерный щуп и медленно заливайте масло в заливное отверстие до тех пор, пока оно не начнет выливаться из заливного отверстия.
-
Убедитесь, что уровень масла соответствует норме на масломерном щупе; см. раздел Проверка уровня масла в двигателе.
-
Вставьте и зафиксируйте масломерный щуп.
-
Вытрите пролитое масло.
-
Присоедините провод к свече зажигания.
Обслуживание свечи
| Периодичность технического обслуживания | Порядок технического обслуживания |
|---|---|
| Через каждые 100 часов |
|
| Через каждые 200 часов |
|
Тип свечи зажигания: свеча зажигания Champion RC12YC или эквивалентная.
-
Выключите двигатель и дождитесь остановки всех движущихся частей.
-
Отсоедините провод от свечи зажигания.
-
Очистите поверхность вокруг свечи зажигания.
-
Выверните свечу зажигания из головки цилиндра.
Important: Замените свечу зажигания, имеющую трещины, повреждения или следы загрязнения. Не очищайте электроды, поскольку частицы окалины могут попасть в цилиндр и повредить двигатель.
-
Установите в свече зазор, равный 0,76 мм; см. .

-
Осторожно заверните свечу от руки (во избежание заворачивания с перекосом) до отказа.
-
Затяните свечу зажигания еще на 1/2 оборота, если она новая; в ином случае затяните ее дополнительно на 1/8 – 1/4 оборота.
Important: Незатянутая свеча зажигания может сильно нагреться и повредить двигатель; слишком сильная затяжка свечи может повредить резьбу в головке цилиндра.
-
Присоедините провод к свече зажигания.
Техническое обслуживание топливной системы
Предупреждение
Компоненты топливной системы находятся под высоким давлением. Использование неподходящих компонентов может привести к отказу системы, утечке топлива и возможному взрыву.
Используйте только утвержденные к применению топливопроводы и топливные фильтры.
Опорожнение топливного бака
-
Выключите двигатель и подождите, пока он остынет. Включите стояночный тормоз.
Note: Сливайте бензин только, когда двигатель холодный.
-
Отсоедините провод от свечи зажигания.
-
Закройте клапан отключения подачи топлива.
-
Отсоедините топливопровод, ослабив хомут трубки на карбюраторе.
-
Откройте топливный клапан, повернув рычаг в открытое положение.
-
Полностью слейте топливо из топливного бака и топливопровода в рекомендованную к применению емкость для бензина.
-
Закройте топливный клапан.
Техническое обслуживание приводной системы
Note: Гидростатическая трансмиссия заполнена и загерметизирована на заводе-изготовителе. Она не требует техобслуживания. Для проведения обслуживания обратитесь в официальный дилерский центр технического обслуживания.
Проверка давления воздуха в шинах
| Периодичность технического обслуживания | Порядок технического обслуживания |
|---|---|
| Перед каждым использованием или ежедневно |
|
Поддерживайте рекомендуемое давление воздуха в шинах. Для получения наиболее точных показаний проверяйте шины, когда они находятся в холодном состоянии.
Давление: 1,65 бар

Регулировка самоходного привода
Если машина медленно движется вперед или назад, когда двигатель включен и штанга управления самоходным приводом находится в нейтральном положении, выполните следующие действия:
-
Выключите двигатель, дождитесь остановки всех движущихся частей и отсоедините провод свечи зажигания.
-
Поднимите режущие ножи в самое высокое положение.
-
Прижмите штангу управления самоходным приводом к рукоятке так, чтобы трансмиссия выполнила полный рабочий ход.
-
Если штанга касается рукоятки, отпустите штангу. Если штанга не касается рукоятки, перейдите к пункту 4.
-
Ослабьте верхнюю регулировочную гайку на 1 оборот и затяните нижнюю регулировочную гайку.
-
Прижмите штангу к рукоятке.
-
Повторяйте эти действия до тех пор, пока зазор между штангой управления самоходным приводом и рукояткой не достигнет 3,2 мм (максимум).
-
После достижения необходимого зазора перейдите к пункту 4.

-
-
Снимите игольчатый шплинт и поверните винтовую стяжку по часовой стрелке на 1 полный оборот.
-
Установите игольчатый шплинт и поверните контргайку по направлению к винтовой стяжке.
-
Запустите двигатель и проверьте выполненную регулировку, при необходимости повторив этот порядок действий.
Замена жидкости в гидравлической трансмиссии
| Периодичность технического обслуживания | Порядок технического обслуживания |
|---|---|
| Через каждые 100 часов |
|
-
Выключите двигатель, дождитесь остановки всех движущихся частей и отсоедините провод свечи зажигания. Включите стояночный тормоз.
-
Снимите трансмиссию с машины.
-
Тщательно очистите зону вокруг расширительного бачка и маслозаливного отверстия.
Important: Не допускайте попадания любых загрязнений или грязи в гидравлическую систему.
-
Снимите и сохраните штуцер маслозаливного отверстия и расположите трансмиссию таким образом, чтобы полностью слить масло из корпуса.
-
Дождитесь полного вытекания масла из трансмиссии, выверните и сохраните самонарезающий винт № 10-32 x 1/2 дюйма и храповой фиксатор, с помощью которого расширительный бачок крепится к корпусу.
-
Снимите расширительный бачок и слейте масло.
Note: Не снимайте крышку вентиляционного отверстия с бака.
Note: Снимайте шланг или уплотнительное кольцо бака только в том случае, если требуется их замена.
-
Установите расширительный бачок, предварительно вставив шланг в бак. Поместите отверстие бака над уплотнительным кольцом и нажмите вниз, чтобы обеспечить надлежащее уплотнение. Заверните самонарезающий винт № 10–32 x ½ дюйма и затяните его с моментом 2,8 Н∙м.
-
Заполните трансмиссию с ведущим мостом через маслозаливное отверстие так, чтобы масло находилось на 13–32 мм ниже верхней части заливного отверстия.
Note: Рекомендуется использовать высококачественное гидравлическое масло «премиум» компании Toro (Toro Premium Hydro). В качестве альтернативы можно использовать масло Mobil 1 15W-50.
-
Установите на место штуцер маслозаливного отверстия.
Техническое обслуживание ремней
Снятие защитного ограждения ремня
Установка защитного ограждения ремня
-
Совместите защитное ограждение ремня, колпачковые винты и болты с фланцем с отверстиями в боковой пластине рамы и кронштейне пружины (Рисунок 25).

-
Прикрепите защитное ограждение ремня к машине с помощью 2 колпачковых винтов и 2 болтов с фланцем (Рисунок 25).
-
Затяните колпачковые винты и болты с фланцем с моментом от 1378 до 2542 Н∙см.
Проверка состояния ремней
| Периодичность технического обслуживания | Порядок технического обслуживания |
|---|---|
| Через каждые 25 часов |
|
-
Выключите двигатель, дождитесь остановки всех движущихся частей и отсоедините провод свечи зажигания. Включите стояночный тормоз.
-
Снимите крышку ремня с левой стороны машины.
-
Проверьте ремни на наличие трещин, потертостей на краях, следов прижога или других повреждений.
-
Если ремень поврежден, замените его.
-
Проверьте натяжение ремня привода; см. Регулировка натяжения ремня самоходного привода.
Регулировка натяжения ремня самоходного привода
Если ремень самоходного привода издает визг во время работы (например, при переключении из нейтрального положения в положение переднего или заднего хода), натяните ремень следующим образом:
-
Выключите двигатель, дождитесь остановки всех движущихся частей и отсоедините провод свечи зажигания.
-
Поднимите режущие ножи в самое высокое положение.
-
Выверните и сохраните 4 болта, стопорные шайбы и 2 проставки, которые крепят крышку ремня к левой стороне машины, и снимите крышку.
-
Проверьте натяжение ремня. Он должен отклоняться не более чем на 6 мм при надавливании пальцем с умеренным усилием в точке между шкивами, расположенной непосредственно над рамой машины (Рисунок 26).

-
Чтобы затянуть ремень, ослабьте 4 монтажные гайки с болтами, которые крепят каретку шкива к раме, и переместите каретку влево, натягивая ремень; затем затяните 4 монтажные гайки с болтами (Рисунок 26).
-
Установите крышку ремня с помощью крепежных деталей, сохраненных при выполнении пункта 3.
Техническое обслуживание режущих ножей
Проверка и замена ножей
| Периодичность технического обслуживания | Порядок технического обслуживания |
|---|---|
| Перед каждым использованием или ежедневно |
|
Когда режущие ножи изношены и больше не могут работать должным образом, замените их, выполнив следующие действия:
Important: Выполните эти действия при пустом или почти пустом топливном баке.
-
Выключите двигатель, дождитесь остановки всех движущихся частей и отсоедините провод свечи зажигания. Включите стояночный тормоз.
-
Переведите клапан отключения подачи топлива в положение Выкл. и слейте топливо из топливного бака; см. раздел Опорожнение топливного бака.
-
Выверните 4 болта, снимите стопорные шайбы и две проставки, которые крепят крышку ремня к левой стороне машины, и снимите крышку.
-
Снимите ремень привода ножа с машины.
-
Наклоните машину назад так, чтобы верхняя рукоятка находилась на земле, и установите подъемную опору под машину.
Note: При необходимости наклоняйте машину назад вдвоем.
Предостережение
Поднятие машины с использованием исключительно механических или гидравлических домкратов может быть опасным. Механические или гидравлические домкраты могут оказаться недостаточно прочными или выйти из строя, что может привести к падению машины и травмированию людей.
Не рассчитывайте исключительно на механические или гидравлические домкраты для опоры машины. Используйте подходящие подъемные опоры или их аналоги.
-
Опустите режущие ножи в самое нижнее положение.
-
Проверните узел режущих ножей. Он должен вращаться свободно. Если он издает скрежет или застревает, подшипники изношены; замените их при замене ножей.
-
Осмотрите ножи на отсутствие повреждений и износа; замените их при необходимости.
Опасно
Износ или повреждение ножа может привести к его разрушению. Выброс фрагментов ножа в направлении оператора или находящихся поблизости людей может привести к тяжелому травмированию, в том числе с летальным исходом.
-
Следует периодически проверять ножи на наличие износа или повреждений.
-
Изношенный или поврежденный нож необходимо заменить.
-
-
Удалите 4 каретных болта с контргайками, которые крепят узел режущих ножей (Рисунок 27), и снимите узел с вилочного монтажного кронштейна.

-
Удалите 2 болта с шайбами, которые крепят шкив к подшипнику. Ослабьте установочные винты на подшипнике и удалите шпонку с вала (Рисунок 27). Снимите подшипник и шкив, сняв фиксаторы подшипника с вилочного монтажного кронштейна.
-
Ослабьте 2 установочных винта на фланцевом подшипнике и сдвиньте подшипник с вала.
-
Ослабьте и выверните гайку вала отрезного устройства, снимите проставку шкива с вала.
-
Осторожно снимите попеременно расположенные ножи и проставки с вала и при необходимости замените их.
-
Для установки всего узла выполните эти действия в обратном порядке.
Note: Поверните каждый нож на 1/6 оборота относительно предыдущего ножа.
Предупреждение
Неправильная установка ножа или компонентов, используемых для фиксации ножа, может быть опасной. Использование неоригинальных компонентов и несоблюдение указаний по сборке может привести к выбросу ножа или его фрагмента из-под деки и стать причиной серьезного травмирования персонала, в том числе с летальным исходом.
Всегда устанавливайте ножи, приводы ножей и болты ножей производства компании Toro, как показано.
-
Верните машину в вертикальное положение.
-
Присоедините провод к свече зажигания.
Техническое обслуживание посевной заслонки
Проверка посевной заслонки
| Периодичность технического обслуживания | Порядок технического обслуживания |
|---|---|
| Перед каждым использованием или ежедневно |
|
Note: Застрявшие частицы могут препятствовать свободному перемещению посевной заслонки.
-
Выключите двигатель, дождитесь остановки всех движущихся частей и отсоедините провод свечи зажигания. Включите стояночный тормоз.
-
Проверьте, чтобы посевная заслонка перемещалась свободно и в ней не было застрявших частиц.
-
Если посевная заслонка не открывается до упора, когда рычаг управления сеялкой находится в положении Вкл., очистите узел заслонки; см. раздел Очистка посевной заслонки.
Регулировка закрытого положения посевной заслонки
Если посевная заслонка частично открыта, когда рычаг управления сеялкой находится в положении Выкл., выполните следующие действия:
-
Выключите двигатель, дождитесь остановки всех движущихся частей и отсоедините провод свечи зажигания.
-
Поднимите режущие ножи в самое высокое положение.
-
Переведите рычаг управления сеялкой в положение Выкл.
-
Ослабьте гайки на тросе управления посевной заслонкой (см. Рисунок 28).

-
Переместите трос вправо, чтобы закрыть посевную заслонку, или влево, чтобы открыть ее.
Important: Не затягивайте трос до момента, когда посевная заслонка будет плотно прижата вправо с сильным натяжением на тросе, так как это приведет к повреждению заслонки и троса. Отрегулируйте заслонку таким образом, чтобы отверстия в нижней части сеялки были закрыты.
-
Затяните контргайки и проверьте рычаг управления сеялкой, чтобы убедиться в правильном открытии и закрытии посевной заслонки.
Очистка
Мойка машины
Мойте машину по мере необходимости, используя только воду или воду с мягким моющим средством. При мойке машины можно использовать ветошь.
Important: Не допускается использовать для очистки машины солоноватую воду или регенерированные сточные воды.
Important: Не допускается использовать для мойки машины оборудование, подающее воду под давлением. Мойка под давлением может ослабить важные предупреждающие наклейки или смыть необходимую консистентную смазку в трущихся местах. Старайтесь не использовать много воды около панели управления и двигателя.
Important: Не мойте машину при работающем двигателе. Мойка машины при работающем двигателе может привести к внутренним повреждениям двигателя.
Очистка зоны расположения двигателя
| Периодичность технического обслуживания | Порядок технического обслуживания |
|---|---|
| Перед каждым использованием или ежедневно |
|
Предостережение
Чрезмерное количество мусора вокруг двигателя и зоны выхлопа приведет к их перегреву, что может стать причиной возгорания.
Удалите весь мусор с двигателя и из зоны выхлопа.
-
Выключите двигатель, дождитесь остановки всех движущихся частей и отсоедините провод свечи зажигания.
-
Удалите весь мусор из сетчатого фильтра на входе воздухозаборника двигателя и вокруг двигателя.
-
Вытрите излишнюю консистентную смазку и масло вокруг двигателя.
Очистка нижней поверхности машины
| Периодичность технического обслуживания | Порядок технического обслуживания |
|---|---|
| Перед каждым использованием или ежедневно |
|
-
Выключите двигатель, дождитесь остановки всех движущихся частей и отсоедините провод свечи зажигания.
-
Для обеспечения оптимальных рабочих характеристик поддерживайте чистоту нижней части корпуса машины.
Предостережение
Материал может выбрасываться из-под корпуса.
-
Следует использовать средства защиты глаз.
-
Оставайтесь в рабочем положении (позади рукоятки).
-
Запрещается допускать посторонних лиц в рабочую зону.
-
-
Переведите клапан отключения подачи топлива в положение Выкл. и слейте топливо из топливного бака; см. раздел Опорожнение топливного бака.
-
Наклоните машину назад так, чтобы верхняя рукоятка находилась на земле, и установите подъемную опору под машину.
Note: При необходимости наклоняйте машину назад вдвоем.
-
Удалите мусор скребком из твердой древесины или другим подходящим устройством. Удалите заусенцы и острые кромки.
-
Верните машину в вертикальное положение.
-
Заполните топливный бак.
-
Присоедините провод к свече зажигания.
Очистка пространства под крышкой ремня
| Периодичность технического обслуживания | Порядок технического обслуживания |
|---|---|
| Через каждые 50 часов |
|
-
Выключите двигатель и дождитесь остановки всех движущихся частей.
-
Отсоедините провод от свечи зажигания.
-
Выверните и сохраните 4 болта, стопорные шайбы и 2 проставки, которые крепят крышку ремня к левой стороне машины.
-
Снимите крышку и удалите щеткой все загрязнения вокруг зоны расположения ремня.
-
Установите на место крышку ремня и затяните все крепежные детали.
-
Присоедините провод к свече зажигания.
Очистка посевной заслонки
-
Выключите двигатель и дождитесь остановки всех движущихся частей.
-
Отсоедините провод от свечи зажигания.
-
Слейте топливо из топливного бака; см. раздел Опорожнение топливного бака.
-
Наклоните машину назад так, чтобы верхняя рукоятка находилась на земле, и установите подъемную опору под машину.
Note: При необходимости наклоняйте машину назад вдвоем.
-
Удалите загрязнения между рамой и посевной заслонкой.
-
Смажьте скользящие поверхности между рамой и посевной заслонкой сухой смазкой.
-
Верните машину в вертикальное положение.
-
Заполните топливный бак.
-
Присоедините провод к свече зажигания.

























