| Huoltoväli | Huoltotoimenpide |
|---|---|
| Aina ennen käyttöä tai päivittäin |
|
Tätä työajoneuvoa ei ole tarkoitus käyttää yleisillä teillä. Se on tarkoitettu ihmisten ja materiaalien kuljetukseen. Tuotteen käyttäminen muuhun kuin sen aiottuun käyttötarkoitukseen voi olla vaarallista käyttäjälle ja sivullisille.
Lue nämä tiedot huolellisesti, jotta opit käyttämään ja huoltamaan laitetta asianmukaisesti sekä välttämään tapaturmia ja laitevaurioita. Olet itse vastuussa tuotteen asianmukaisesta ja turvallisesta käytöstä.
Vieraile osoitteessa www.Toro.com, jos tarvitset tuoteturvallisuuteen ja käyttökoulutukseen liittyviä materiaaleja tai tietoja lisävarusteista tai lähimmästä jälleenmyyjästä tai jos haluat rekisteröidä tuotteesi.
Aina kun tarvitset huoltoa, alkuperäisiä Toro-varaosia tai lisätietoja, ota yhteys valtuutettuun huoltoliikkeeseen tai Toron asiakaspalveluun. Ota tällöin tuotteesi malli- ja sarjanumerot valmiiksi esiin. Kuva 1 näyttää laitteen malli- ja sarjanumeron sijainnin. Kirjoita numerot annettuun tilaan.
Important: Skannaa sarjanumerokilvessä (jos varusteena) oleva QR-koodi mobiililaitteella, niin saat tuotetietoja sekä takuu- ja varaosatietoja.

Tässä käyttöoppaassa käytetään kahta termiä tietojen korostamiseksi. Tärkeää kiinnittää huomiota mekaanisiin erikoistietoihin ja Huomautus korostaa erityishuomion ansaitsevia yleistietoja.
Varoitusmerkintä (Kuva 2) näkyy sekä tässä käyttöoppaassa että koneessa. Se osoittaa tärkeitä turvallisuusilmoituksia, joiden ohjeita on noudatettava onnettomuuksien välttämiseksi. Tämän merkin yhteydessä näkyy sana Hengenvaara, Vaara tai Varoitus.
Hengenvaara: ilmaisee välittömästi vaarallisen tilanteen, joka johtaa kuolemaan tai vakavaan loukkaantumiseen, jos tilannetta ei vältetä.
Vaara: ilmaisee mahdollisesti vaarallisen tilanteen, joka voi johtaa kuolemaan tai vakavaan loukkaantumiseen, jos tilannetta ei vältetä.
Varoitus: ilmaisee mahdollisesti vaarallisen tilanteen, joka saattaa johtaa vähäiseen tai lievään loukkaantumiseen, jos tilannetta ei vältetä.

Tämä tuote on asianmukaisten eurooppalaisten direktiivien mukainen. Lisätietoja on erillisessä tuotekohtaisessa vaatimustenmukaisuusvakuutuksessa.
KALIFORNIA
Lakiesityksen 65 mukainen varoitus
Tämän tuotteen virtajohto sisältää lyijyä, joka Kalifornian osavaltion tietojen mukaan aiheuttaa synnynnäisiä epämuodostumia tai muuta lisääntymiseen liittyvää haittaa. Pese kädet, kun olet käsitellyt näitä osia.
Akun liitännät, navat ja niihin liittyvät lisävarusteet sisältävät lyijyä ja lyijy-yhdisteitä, joiden tiedetään aiheuttavan syöpää ja haittaavan lisääntymistä. Pese kädet, kun olet käsitellyt näitä osia.
Tämä kone on suunniteltu standardin SAE J2258 (marraskuu 2016) vaatimusten mukaisesti.
Tämä tuote voi aiheuttaa henkilövahingon. Noudata aina kaikkia turvallisuusohjeita, jotta vakavilta loukkaantumisilta vältytään.
Lue ja sisäistä tämän käyttöoppaan sisältö ennen koneen käynnistämistä. Huolehdi siitä, että kaikki tuotteen käyttäjät tietävät, miten sitä käytetään, ja ymmärtävät varoitukset.
Koneen käyttö vaatii käyttäjän täyden huomion. Jos käyttäjän huomio keskittyy muualle, saattaa seurata henkilö- tai omaisuusvahinko.
Älä laita käsiä tai jalkoja koneen liikkuvien osien lähelle.
Älä käytä konetta ilman paikallaan olevia ja toimivia suojuksia ja muita suojalaitteita.
Älä päästä sivullisia tai lapsia käyttöalueelle. Älä koskaan anna lasten käyttää konetta.
Pysäytä kone, sammuta moottori ja irrota virta-avain ennen huoltoa.
Laitteen asiaton käyttö tai huolto voi aiheuttaa tapaturman.
Vähennä loukkaantumisriskiä noudattamalla näitä
turvallisuusohjeita ja huomioimalla aina varoitusmerkki
, joka tarkoittaa varoitusta,
vaaraa tai hengenvaaraa – henkilöturvallisuusohjeet. Ohjeiden
noudattamatta jättäminen saattaa johtaa henkilövahinkoon
tai kuolemaan.
![]() |
Turva- ja ohjetarrat on sijoitettu hyvin näkyville paikoille mahdollisten vaara-alueiden lähettyville. Korvaa vioittuneet tai kadonneet tarrat uusilla. |











Note: Koneen vasen ja oikea puoli määritellään normaalista käyttöasennosta käsin.
Vaiheeseen tarvittavat osat:
| Ohjauspyörä | 1 |
| Ohjauspyörän suojus | 1 |
| Aluslaatta (½ tuumaa) | 1 |
| Pölysuojus | 1 |
Jos ohjauspyörän keskiöön on asennettu suojus, irrota se (Kuva 3).
Irrota lukkomutteri (½ tuumaa) ohjausakselista (Kuva 3).
Asenna ohjauspyörä, pölysuojus ja aluslaatta (½ tuumaa) ohjausakselille (Kuva 3).
Note: Pidä etupyörät suorassa ja suuntaa ohjauspyörä niin, että ohjauspyörän pienempi puola on pystysuunnassa.
Kiinnitä ohjauspyörä akseliin lukkomutterilla (½ tuumaa) ja kiristä se momenttiin 18–30 N·m.
Asenna suojus ohjauspyörään (Kuva 3).

Tarkista akkujen veden määrä ennen koneen käyttöä. Katso Akkujen veden määrän tarkistus.
Varmista, että akut on ladattu. Katso Akkujen lataus.
Tarkista jarrunesteen määrä ennen koneen käyttöä. Katso Jarrunesteen määrän tarkistus.
Tarkista rengaspaine. Katso Rengaspaineen tarkistus.
Jotta jarrujärjestelmä toimisi parhaalla mahdollisella tavalla, aja jarrut sisään ennen käyttöä.
Kiihdytä kone täyteen nopeuteen ja pysäytä se sitten nopeasti painamalla jarrua siten, että renkaat eivät lukkiudu.
Toista tämä kymmenen kertaa. Odota pysähdysten välillä yksi minuutti jarrujen ylikuumenemisen välttämiseksi.
Important: Menettely on tehokkain, jos koneessa on 227 kg:n kuorma.
Vaiheeseen tarvittavat osat:
| Käyttöopas | 1 |
| Moottorin käyttöopas | 1 |
| Rekisteröintikortti | 1 |
| Luovutuksen tarkistuslomake | 1 |
| Laatutodistus | 1 |
| Avain | 2 |
Lue käyttöopas ja moottorin käyttöopas.
Täytä rekisteröintikortti.
Täytä Luovutuksen tarkistuslomake.
Tutustu laatutodistukseen.


Tutustu kaikkiin ohjauslaitteisiin, ennen kuin käynnistät moottorin ja käytät konetta.

Kuljettaja voi vaihdella laitteen ajonopeutta kaasupolkimella (Kuva 6). Laite käynnistetään kaasupoljinta painamalla. Kun poljinta painetaan lisää, ajonopeus kasvaa. Polkimen vapauttaminen hidastaa vauhtia, ja laite sammuu.
Suorituskyky-tilassa eteenpäinajon enimmäisnopeus on 26 km/h (Kuva 9).
Eco-tilassa eteenpäinajon enimmäisnopeus on 19 km/h (Kuva 9).
Jarrun avulla kone voidaan pysäyttää tai sen vauhtia hidastaa (Kuva 6).
Jos konetta käytetään, kun jarrut ovat kuluneet tai ne on säädetty väärin, seurauksena voi olla henkilövahinko.
Jos jarrupoljin voidaan painaa alle 25 mm:n päähän koneen lattialevystä, jarrut on säädettävä tai korjattava.
Seisontajarrun vipu sijaitsee ohjauspaneelissa (Kuva 6).
Kytke seisontajarru aina kun sammutat koneen, jotta kone ei pääse liikkumaan vahingossa. Jos pysäköit koneen jyrkkään paikkaan, muista kytkeä seisontajarru.
Kytke seisontajarru vetämällä seisontajarrun vipua itseäsi kohti (Kuva 7).

Vapauta seisontajarru painamalla seisontajarrun vivun päässä oleva painike alas, vetämällä seisontajarrun vipua itseäsi kohti paineen vapauttamiseksi ja työntämällä sitten vipua eteenpäin (Kuva 8).

Suunnanvalitsin sijaitsee seisontajarrun vivun vasemmalla puolella. Suunnanvalitsimessa on kolme asentoa: ETEENPäIN, PERUUTUS ja NEUTRAALI (Kuva 6).
Note: Mikä tahansa kolmesta asennosta voi olla valittuna, mutta kone liikkuu vain ETEENPäIN- ja PERUUTUS-asennoissa.
Important: Pysäytä kone aina ennen suunnan vaihtamista.
Äänimerkin painike sijaitsee ohjauspaneelissa (Kuva 6). Anna äänimerkki painamalla äänimerkin painiketta.
Ajovaloja käytetään valokytkimellä (Kuva 6). Sytytä ajovalot painamalla valokytkintä ylöspäin. Sammuta valot painamalla valokytkintä alaspäin.
Akun varauksen ilmaisin sijaitsee ohjauspylvään vasemmalla puolella (Kuva 6). Akun varauksen ilmaisin ilmaisee akkujen jäljellä olevan varauksen. Kun akut on ladattu täyteen, ilmaisimen kymmenen palkkia ovat näkyvissä asennosta 0 asentoon 1 asti. Varauksen vähentyessä palkkeja alkaa hävitä ilmaisimen oikealta puolelta alkaen. Lisätietoja akkumittarista on kohdassa Tietoa akkujärjestelmästä ja sen käytöstä.
Tuntilaskuri sijaitsee valokytkimen oikealla puolella (Kuva 6). Tuntilaskurista näkee käyttötuntien kokonaismäärän. Tuntilaskuri käynnistyy aina, kun virta-avain käännetään KäYNNISSä-asentoon tai jos moottori käy.
Note: Kun kone on käynnissä, tuntimittari vilkkuu jatkuvasti ja seuraa käyttöä.
USB-virtaliitäntä sijaitsee seisontajarrun vivun vasemmalla puolella (Kuva 6). Virtaliitäntä on tarkoitettu mobiililaitteille.
Important: Kun USB-virtaliitäntä ei ole käytössä, suojaa se vaurioilta kumitulpalla.
Kytke ja katkaise koneesta virta virtalukolla (Kuva 6).
Virtalukossa on kaksi asentoa: PääLLä ja POIS. Kun virta-avain käännetään myötäpäivään PääLLä-asentoon, konetta voidaan käyttää. Kun kone on pysähtynyt, katkaise siitä virta kääntämällä virta-avain vastapäivään POIS-asentoon. Irrota virta-avain, kun poistut koneen luota.
Nopeudenrajoittimen kytkimessä, joka sijaitsee istuinkokoonpanon alla, on kaksi asentoa: SUORITUSKYKY ja ECO (Säästö). Kun kytkin käännetään myötäpäivään ECO-tilaan, enimmäisnopeus on 19 km/h. Kun kytkin käännetään vastapäivään SUORITUSKYKY-tilaan, enimmäisnopeus on 26 km/h (Kuva 9).

Tilan merkkivalo sijaitsee seisontajarrun vivun oikealla puolella ohjauspaneelissa (Kuva 6).
Kun kone käynnistetään, vihreä tilan merkkivalo syttyy ja palaa yhtäjaksoisesti tai vilkkuu.
Jos valo palaa yhtäjaksoisesti, kone on valmis normaalikäyttöön. Jos valo vilkkuu, koneessa on vika, joka on korjattava, ennen kuin normaalikäyttöä voidaan jatkaa.
Jos tilan merkkivalo välähtää kaksi kertaa, se tarkoittaa, että seisontajarru on kytketty mutta suunnanvalitsin on ETEENPäIN- tai PERUUTUS-asennossa. Tilan merkkivalo sammuu, kun seisontajarru vapautetaan.
Katso kohta , jos tilan merkkivalo välähtää useammin kuin kahdesti.
Matkustajien käsituet sijaitsevat istuinten ulkosivuilla (Kuva 10).

Note: Ominaisuuksia ja rakennetta voidaan muuttaa ilmoittamatta.
| Omapaino | Kuivana 633 kg |
| Nimelliskapasiteetti (tasaisella alustalla) | Yhteensä 544 kg mukaan lukien kuljettajan ja matkustajan paino (kumpikin 91 kg), kuorma, lisälaitteet ja -varusteet |
| Ajoneuvon kokonaispaino (tasaisella alustalla) | Yhteensä 1 177 kg mukaan lukien kaikki yllä mainitut painot |
| Enimmäiskuljetuskapasiteetti (tasaisella alustalla) | Yhteensä 363 kg mukaan lukien taakse kiinnitettävät lisävarusteet |
| Kuljetuslavan takakiinnikkeen enimmäiskapasiteetti | Yhteensä 45 kg |
| Vetokapasiteetti | Aisapaino: 91 kg |
| Perävaunun kokonaispaino: 680 kg | |
| Kokonaisleveys | 119 cm |
| Kokonaispituus | 302 cm |
| Kokonaiskorkeus | 127,5 cm |
| Maavara | 21,6 cm edessä ilman kuormaa tai käyttäjää |
| 14 cm takana ilman kuormaa tai käyttäjää | |
| Akseliväli | 220 cm |
| Raideväli (keskiviivasta keskiviivaan) | Edessä: 119 cm |
| Takana: 119 cm | |
| Kuljetuslavan pituus | Sisäpuoli: 102 cm |
| Ulkopuoli: 114,3 cm | |
| Kuljetuslavan leveys | Sisäpuoli: 98 cm |
| Lokasuojien ulkopuoli: 107,3 cm | |
| Kuljetuslavan korkeus | 28 cm sisäpuolelta |
Käytettäessä Trojan T-125 -akkuja.
Muunlaisten akkujen asennus saattaa heikentää kuljetuslavan kapasiteettia.
Koneeseen on saatavana valikoima Toron hyväksymiä lisälaitteita ja -varusteita, joiden avulla voidaan parantaa ja laajentaa sen ominaisuuksia. Ota yhteys valtuutettuun huoltoliikkeeseen tai valtuutettuun Toro-jälleenmyyjään tai siirry osoitteeseen www.Toro.com, jossa on luettelo hyväksytyistä lisälaitteista ja -varusteista.
Käytä vain aitoja Toro-varaosia ja -lisävarusteita, jotta kone toimisi parhaalla mahdollisella tavalla ja sen turvasertifiointi pysyisi voimassa. Muiden valmistajien varaosat ja lisävarusteet voivat osoittautua vaarallisiksi, ja niiden käyttö voi johtaa tuotteen takuun raukeamiseen.
Älä anna lasten, kouluttamattomien henkilöiden tai fyysisesti rajoittuneiden henkilöiden käyttää tai huoltaa laitetta. Paikalliset säännökset saattavat asettaa rajoituksia käyttäjän iälle. Omistaja vastaa käyttäjien ja mekaanikkojen koulutuksesta.
Tutustu laitteen turvallisen käytön ohjeisiin, ohjauslaitteisiin ja turvamerkintöihin.
Sammuta kone, irrota virta-avain ja odota, että kaikki liikkuvat osat pysähtyvät, ennen kuin poistut käyttäjän paikalta. Koneen on annettava jäähtyä ennen sen säätöä, huoltoa, puhdistusta tai varastointia.
Selvitä, miten kone pysäytetään ja sen virta katkaistaan nopeasti.
Varmista, että käyttäjän ja matkustajien yhteismäärä ei ylitä koneeseen asennettujen käsitukien määrää.
Tarkista, että kaikki turvalaitteet ja tarrat ovat paikoillaan. Korjaa tai vaihda kaikki turvalaitteet ja vaihda kaikki epäselvät tai puuttuvat tarrat. Älä käytä konetta, mikäli ne eivät ole paikoillaan tai toimi kunnolla.
| Huoltoväli | Huoltotoimenpide |
|---|---|
| Aina ennen käyttöä tai päivittäin |
|
Suorita kohdan osassa ”Ennen jokaista käyttökertaa tai päivittäin” mainitut toimet ennen koneen käynnistystä päivittäin.
| Huoltoväli | Huoltotoimenpide |
|---|---|
| Aina ennen käyttöä tai päivittäin |
|
Etu- ja takarenkaiden rengaspaine: 1,65–2,07 bar
Important: Rengaspaine ei saa ylittää renkaiden kylkeen merkittyä enimmäispainetta.
Note: Vaadittava rengaspaine riippuu kuljetettavasta hyötykuormasta.
Tarkista rengaspaine.
Käytä alhaisempaa rengaspainetta, jos kuorma on kevyempi, jos maaperä ei saa tiivistyä, jos haluat tasaisemman kyydin tai jos maahan ei saa jäädä renkaanjälkiä.
Käytä suurempia rengaspaineita, jos laitteella kuljetetaan raskaampia kuormia suuremmalla nopeudella.
Säädä rengaspainetta tarpeen mukaan lisäämällä tai poistamalla ilmaa.

Tässä koneessa on kahdeksan syväpurkauslyijyakkua, jotka tuottavat virtaa moottorille ja lisälaitteille. Syväpurkausakku ei ole samanlainen kuin auton akku. Auton akku on suunniteltu tuottamaan voimakas virtapiikki ajoneuvon käynnistämistä varten, ja tuottamaan sitten kohtuullisesti virtaa valoja ja lisälaitteita varten moottorin ollessa sammutettuna tai tyhjäkäynnillä. Vaihtovirtalaturi lataa akkua jatkuvasti auton liikkuessa. Näin auton akun lataustaso laskee vain harvoin alle 90 %:n.
Syväpurkausakku on suunniteltu ensisijaiseksi voimanlähteeksi tuottamaan jatkuvaa virtaa. Syväpurkausakkujen lataustaso purkautuu yleensä 20–30 %:iin enimmäistasosta. Näin alhaista latausta pidetään syväpurkauksena.
Important: Toistuvat syväpurkauskerrat lyhentävät akun käyttöikää.
Lyijyakut tuottavat virtaa lyijylevyjen ja rikkihapon välisen kemiallisen reaktion kautta. Akun lataaminen kääntää kemiallisen reaktion päinvastaiseksi, jonka jälkeen akku voi jälleen luovuttaa virtaa.
Akun käyttöikä on rajallinen (Kuva 12). Uusi akku on ”ajettava sisään”, jotta sen virrantuotto saadaan tehokkaaksi. Sisäänajovaihe edellyttää yleensä 100–150 purkaus-/latauskertaa.

Sisäänajovaiheen jälkeen akun kapasiteetti säilyy korkeana usean latauskerran ajan. Latauskertojen määrään vaikuttavat seuraavat:
Akun huolto: väärät huoltotavat lyhentävät akkujen käyttöikää merkittävästi.
Latauskertojen välisen purkauksen syvyys: mitä syvempi purkaus latauskertojen välillä tavallisesti tapahtuu, sitä lyhyempi akkujen käyttöikä on.
Latausten taajuus: lataa akut täyteen aina kun mahdollista.
Important: Akkujen täydellinen purkautuminen vahingoittaa niitä ja lyhentää niiden käyttöikää.
Alhainen veden taso: jos lyijylevyt eivät ole nesteen peitossa, akut voivat vaurioitua pysyvästi. Ylläpidä akkunesteen tasoa seuraavalla tavalla:
Kun akut on ladattu täyteen, täytä ne tislatulla tai ionivaihdetulla vedellä. Katso Akkujen veden määrän tarkistus ja Tislatun tai ionivaihdetun veden lisääminen akkuihin.
Important: Lataa akut täyteen ennen veden lisäämistä niihin. Latauksen aikana akkunesteen tilavuus kasvaa. Jos vettä lisätään akkuihin ennen niiden lataamista täyteen, akkunestettä voi vuotaa akuista.
Akkujen käyttöiän päättyessä akkujen kapasiteetti heikkenee vähitellen.
Kun akut on ladattu täyteen, kymmenes palkki (äärimmäisenä oikealla) palaa akun varauksen ilmaisimessa (Kuva 13).

Kun ajoneuvoa käytetään, palkkien määrä vähenee sitä mukaa kun akkujen sähkökapasiteetti laskee.
Kun akun varauksen ilmaisimessa on jäljellä vain toinen palkki vasemmalta, akku kannattaa ladata (Kuva 14).

Jos jatkat koneen käyttämistä, kun palkkeja on jäljellä vain kaksi, ensimmäinen ja toinen palkki vilkkuvat vuorotellen.
Important: Kun akun varauksen ilmaisimessa on vain toinen palkki vasemmalta jäljellä, kone saattaa siirtyä hidastettuun tilaan, joka auttaa suojaamaan akkuja. Koneen pitkäkestoinen käyttö tässä tilassa voi kuitenkin vaurioittaa akkuja ja/tai konetta. Tämä voidaan estää lataamalla akut jo ennen kuin palkeista on jäljellä vain toinen vasemmalta. Lataa akut välittömästi.Jos akut purkautuvat täysin, kone sammuu. Älä anna akkujen purkautua täysin.
Important: Akut kestävät mahdollisimman pitkään, kun ne ladataan ennen kuin näytössä näkyy enää toinen palkki vasemmalta. Jos akkujen varaus tyhjenee säännöllisesti alle toiseen palkkiin vasemmalta, akkujen käyttöikä lyhenee.
| Huoltoväli | Huoltotoimenpide |
|---|---|
| 100 ensimmäisen käyttötunnin jälkeen |
|
Noudata uuden koneen sisäänajoon liittyviä ohjeita, jotta koneen suorituskyky olisi mahdollisimman hyvä ja jotta kone kestäisi pitkään.
Tarkista jarruneste ja akkujen veden määrä säännöllisesti.
Vältä äkkijarrutusta vaativia tilanteita uuden laitteen sisäänajon ensimmäisinä tunteina. Uudet jarrupäällysteet toimivat optimaalisesti vasta, kun muutaman tunnin käyttö on kiillottanut ne (ajanut sisään). Katso kohta Jarrujen sisäänajo.
Katso kohdasta kaikki sisäänajon aikaiset erityistarkistukset.
Tarkista eturipustuksen asento ja säädä sitä tarvittaessa. Katso kohta Etupyörien suuntauksen säätö.
Omistaja ja käyttäjä voivat estää loukkaantumisia tai omaisuusvahinkoja aiheuttavat tapaturmat ja ovat siksi vastuussa niistä.
Matkustajien on istuttava heille tarkoitetuilla istumapaikoilla. Matkustajien kuljettaminen kuljetuslavalla on kielletty. Pidä sivulliset ja lemmikit poissa koneen luota käytön aikana.
Pukeudu asianmukaisesti. Käytä silmäsuojaimia, pitkiä housuja sekä tukevia ja liukastumisen estäviä kenkiä. Älä käytä löysiä vaatteita tai roikkuvia koruja, ja kiinnitä pitkät hiukset.
Koneen käyttö vaatii käyttäjän täyden huomion. Jos käyttäjän huomio keskittyy muualle, saattaa seurata henkilö- tai omaisuusvahinko.
Älä käytä konetta sairaana, väsyneenä tai alkoholin tai huumausaineiden vaikutuksen alaisena.
Älä ylitä koneen enimmäiskokonaispainoa (GVW).
Ole erityisen varovainen, kun käytät, jarrutat tai käännät konetta, jonka kuljetuslavalla on raskas kuorma.
Kuljetuslavalla kuljetettava ylikokoinen kuorma heikentää laitteen vakautta. Älä ylitä lavan kantokapasiteettia.
Esineet, joita ei voi kiinnittää laitteeseen, vaikuttavat negatiivisesti laitteen ohjaukseen, jarrutukseen ja vakauteen. Kun kuljetat materiaalia, jota ei voida kiinnittää koneeseen, ole varovainen ohjatessasi konetta tai jarruttaessasi.
Vähennä laitteen ajonopeutta ja kuormaa, kun käytät laitetta karkeassa, epätasaisessa maastossa tai lähellä reunakiviä, kuoppia ja muita äkkinäisiä maaston muutoksia. Kuorma voi siirtyä, mikä heikentää laitteen vakautta.
Varmista ennen koneen käynnistämistä, että vaihteisto on vapaalla ja että seisontajarru on kytketty. Käynnistä moottori ollessasi käyttäjän paikalla.
Käyttäjän ja matkustajien on istuttava aina koneen ollessa liikkeessä. Käyttäjän on pidettävä molemmat kädet ohjauspyörällä, ja matkustajien on pidettävä kiinni koneen käsituista. Pidä kädet ja jalat aina laitteen sisäpuolella.
Käytä laitetta vain, kun näkyvyys on hyvä. Varo kuoppia, uria, töyssyjä, kiviä ja muita piileviä vaaroja. Maaston epätasaisuudet voivat kaataa koneen. Korkea ruoho voi peittää esteet. Ole varovainen lähestyessäsi kulmia, joissa on huono näkyvyys, pensaita, puita tai muita näköesteitä.
Älä aja konetta pudotusten, ojien tai vallien lähettyvillä. Kone voi kaatua yllättäen, jos pyörä menee reunan yli tai jos reuna sortuu.
Tarkkaile ympäristöä ja vältä matalia esteitä, kuten puiden oksia, ovien kamanoita ja kulkusiltoja.
Katso taakse ja alas ennen koneen peruuttamista ja varmista, että reitti on vapaa.
Jos ajat koneella julkisilla teillä, noudata liikennesääntöjä ja käytä kaikkia lain määräämiä lisävarusteita, kuten valoja, suuntavilkkuja ja hitaan ajoneuvon merkkejä.
Jos kone tärisee epänormaalisti, pysäytä se välittömästi ja katkaise virta. Odota, että kaikkien osien liike on pysähtynyt, ja tarkista, että koneessa ei ole vaurioita. Korjaa koneen vauriot ennen kuin jatkat sen käyttöä.
Pysähtymismatka märällä alustalla voi olla pitempi kuin kuivalla. Kuivaa märät jarrut ajamalla hitaasti tasaisella alustalla ja painamalla samalla jarrupoljinta kevyesti.
Koneen käyttö suurella nopeudella ja nopea pysäytys tämän jälkeen saattaa aiheuttaa takapyörien lukkiutumisen, mikä puolestaan heikentää koneen hallittavuutta.
Älä koske moottoriin sen käydessä tai liian pian sen sammuttamisen jälkeen. Nämä osat saattavat olla niin kuumia, että ne aiheuttavat palovamman.
Älä jätä käynnissä olevaa konetta ilman valvontaa.
Tee seuraavat toimet ennen käyttäjän paikalta poistumista:
Pysäköi kone tasaiselle alustalle.
Käännä suunnanvalitsin VAPAA-asentoon.
Kytke seisontajarru.
Katkaise koneesta virta ja irrota virta-avain.
Odota, että kaikki liikkuvat osat ovat pysähtyneet.
Älä käytä konetta ukonilman aikana.
Käytä vain The Toro® Companyn hyväksymiä lisälaitteita ja -varusteita.
Älä ylitä koneen kokonaispainoa (GVW). Kuljettajan, matkustajien ja kuljetuslavan kuorman paino on otettava huomioon laskettaessa koneen kokonaispainoa (GVW).
Matkustajien on istuttava heille tarkoitetuilla istumapaikoilla. Matkustajat eivät saa istua kuljetuslavalla.
Käyttäjän ja matkustajien on istuttava aina koneen ollessa liikkeessä.
Koneen lisäpituus suurentaa myös kääntösädettä, joten varaa koneen ohjaamiselle enemmän tilaa.
Note: Koneeseen on saatavana lisävarusteena kaksipylväinen kaatumissuojausjärjestelmä (ROPS). Käytä kaatumissuojausjärjestelmää työskenneltäessä pudotusten tai veden lähellä, epätasaisessa maastossa tai rinteissä, joihin liittyy kaatumisriski. Lisätietoja saa valtuutetulta Toro-jälleenmyyjältä.
Rinteissä on huomattava koneen hallinnan menettämisen ja kaatumisen vaara. Tällaiset onnettomuudet voivat aiheuttaa vakavan tapaturman tai kuoleman.
Tarkasta käyttöpaikka ja määritä, millä rinteillä konetta voidaan käyttää turvallisesti. Laadi omat toimintatavat ja ohjeet näissä rinteissä käyttöä varten. Tämä tarkastus on tehtävä huolellisesti ja harkiten.
Jos koneen käyttö rinteessä ei vaikuta turvalliselta työskentelyn aikana, älä käytä konetta rinteessä.
Liiku rinteissä hitaasti ja varovasti. Älä muuta koneen nopeutta tai suuntaa äkillisesti.
Vältä koneen käyttöä märässä maastossa. Renkaat voivat menettää pidon. Kone voi kaatua jo ennen kuin renkaat menettävät pidon.
Aja rinteet kohtisuoraan ylös ja alas.
Jos koneen vauhti alkaa hidastua ylämäkeen ajettaessa, kytke jarrut vähän kerrallaan ja peruuta kone hitaasti suoraan alaspäin rinnettä.
Kääntyminen ajettaessa rinnettä ylös tai alas voi olla vaarallista. Jos rinteessä on käännyttävä, tee se hitaasti ja varovasti.
Raskaat kuormat vaikuttavat vakauteen rinteessä. Vähennä kuormaa ja laitteen nopeutta ajaessasi rinnettä ylös tai alas tai jos kuorman painopiste on korkealla. Kiinnitä kuorma kuljetuslavalle, jotta kuorma ei voi liikkua. Noudata erityistä varovaisuutta, kun kuljetat helposti siirtyviä kuormia (kuten nesteitä, kiviä ja hiekkaa).
Vältä koneen käynnistämistä, pysäyttämistä tai kääntämistä rinteissä erityisesti, jos koneessa on kuorma. Pysähtyminen alamäessä kestää kauemmin kuin pysähtyminen tasaisella alustalla. Jos laite on pysäytettävä, vältä äkkinäisiä nopeuden muutoksia, joiden seurauksena laite voi kaatua tai kallistua. Älä kytke jarruja nopeasti vieriessäsi taaksepäin, koska kone voi kaatua.
Älä ylitä laitteen kokonaispainoa (GVW), kun kuljetuslavalla on kuormaa ja/tai kun laitteella vedetään perävaunua. Katso kohta Tekniset tiedot.
Jaa kuljetuslavan kuorma tasaisesti, jotta laitteen vakaus ja hallittavuus paranevat.
Varmista ennen tyhjennystä, että laitteen takana ei ole ketään.
Älä tyhjennä lastattua kuljetuslavaa laitteen ollessa sivuttain rinteessä. Painon jakautumisen muutos voi kaataa laitteen.
Nostettu lava voi pudota ja vahingoittaa lavan alla olevia henkilöitä.
Varmista aina ennen kuin ryhdyt työskentelemään lavan alla, että kannatintanko pitää lavaa ylhäällä.
Poista lavalta kuorma kokonaan ennen lavan nostamista.
Jos laitetta ajetaan kuljetuslava nostettuna, laite saattaa kaatua tai vieriä helpommin. Kuljetuslava saattaa vaurioitua, jos konetta käytetään kuljetuslava nostettuna.
Käytä konetta vain, kun kuljetuslava on alhaalla.
Laske kuljetuslava tyhjennyksen jälkeen.
Jos kuorman painopiste on lähellä kuljetuslavan takaosaa salpoja vapautettaessa, lava saattaa kallistua auki odottamatta ja aiheuttaa henkilövahinkoja käyttäjälle tai sivullisille.
Keskitä kuormat kuljetuslavan keskelle, mikäli se on mahdollista.
Pitele kuljetuslavaa alhaalla salpoja vapautettaessa ja varmista, ettei kukaan nojaa lavaan tai seiso sen takana.
Poista lavalta kaikki tavarat ennen lavan nostamista laitteen huoltoa varten.
Lava voi olla hyvin painava. Kädet tai muut vartalon osat voivat murskaantua sen painosta.
Pidä kädet ja muut vartalon osat etäällä, kun lasket lavan alas.
Jos laitteen kuljetuslavalla oli ennen tyhjennystä irtonaista materiaalia, kuten hiekkaa, soraa tai puruja, tyhjennettyä materiaalia on voinut jäädä perälaudan saranoihin. Tee seuraavat toimet ennen perälaudan sulkemista.
Poista käsin mahdollisimman paljon materiaalia saranoiden alueelta.
Käännä perälautaa noin 45° (Kuva 18).

Kääntele ja ravistele perälautaa edestakaisin useita kertoja (Kuva 18).
Note: Tämä irrottaa lisää materiaalia saranoista.
Laske perälauta ja tarkista, onko saranoissa yhä materiaalia.
Toista vaiheet 1–4, kunnes saranoissa ei ole enää materiaalia.
Käännä perälauta ylös ja nosta se kuljetuslavassa oleviin uriin.
Kuljetuslavan takakiinnikkeen avulla koneen taakse voi kiinnittää lisävarusteita.
Kapasiteetti: 45 kg
Important: Jos pysäytät koneen rinteeseen, pysäytä kone ensin käyttöjarruilla ja kytke sitten seisontajarru pitämään konetta paikallaan. Koneen hidastaminen mäessä kaasupoljinta käyttämällä voi aiheuttaa moottorin ylikuumenemisen tai akkujen tyhjentymisen.
Nosta jalka kaasupolkimelta.
Käytä käyttöjarruja painamalla jarrupoljinta hitaasti, kunnes kone on pysähtynyt täysin.
Note: Pysähtymismatka voi vaihdella laitteen kuorman ja nopeuden mukaan.
Noudata seuraavia ohjeita kuljetuslavan lastauksessa ja laitteen käytössä:
Ota huomioon laitteen kuormauskapasiteetti ja rajoita lavalla kuljetettavaa painoa kohdan Tekniset tiedot ohjeiden sekä laitteessa olevan enimmäiskokonaispainoa osoittavan merkinnän mukaan.
Note: Nimelliskuormitettavuus koskee vain laitteen käyttöä tasaisella alustalla.
Vähennä kuljetuslavalla olevan kuorman painoa rinteissä tai epätasaisessa maastossa.
Kuljeta vähemmän kuormaa, jos kuormassa on korkeita materiaaleja (joiden painopiste on korkealla), kuten tiilipinoja, puutavaraa tai lannoitesäkkejä. Lastaa kuorma niin matalaksi kuin mahdollista ja varmista, ettei kuorma haittaa näkyvyyttä käytön aikana laitteen taakse.
Pidä kuorma kuljetuslavan keskellä lastaamalla se seuraavasti:
Sijoita kuljetuslavalla olevan kuorman paino tasaisesti molemmille puolille.
Important: Laite voi kaatua helpommin, jos kuljetuslavan toisella puolella on enemmän kuormaa.
Sijoita kuljetuslavalla olevan kuorman paino tasaisesti eteen ja taakse.
Important: Kuorman sijoittaminen taka-akselin taakse vähentää etupyörien pitoa ja voi aiheuttaa hallinnan menetyksen tai laitteen kaatumisen.
Ole erityisen varovainen, kun kuljetat lavalla ylikokoisia kuormia ja varsinkin silloin, jos ylikokoisen kuorman painoa ei voi keskittää kuljetuslavalle.
Kiinnitä kuorma kuljetuslavalle aina kun mahdollista, jotta kuorma ei pääse siirtymään.
Kun kuljetat nesteitä, ole varovainen ylä- ja alamäissä, äkillisissä nopeuden muutoksissa tai pysähdyksissä ja epätasaisella alustalla.
Kuljetuslavan tilavuus on 0,28 m3. Lavalle sijoitettavan materiaalin määrä laitteen painorajoituksia ylittämättä voi vaihdella merkittävästi materiaalin tiheyden mukaan.
Katso eri materiaalien lastausrajoitukset seuraavasta taulukosta:
| Materiaali | Tiheys | Kuljetuslavan enimmäiskapasiteetti (tasaisella alustalla) |
| Sora, kuiva | 1 522 kg/m3 | Täysi |
| Sora, märkä | 1 922 kg/m3 | 3/4 täysi |
| Hiekka, kuiva | 1 442 kg/m3 | Täysi |
| Hiekka, märkä | 1 922 kg/m3 | 3/4 täysi |
| Puu | 721 kg/m3 | Täysi |
| Kaarna | < 721 kg/m3 | Täysi |
| Multa, tiivis | 1 602 kg/m3 | 3/4 täysi (noin) |
Tee seuraavat toimet ennen käyttäjän paikalta poistumista:
Pysäköi kone tasaiselle alustalle.
Käännä suunnanvalitsin VAPAA-asentoon.
Kytke seisontajarru.
Katkaise koneesta virta ja irrota virta-avain.
Odota, että kaikki liikkuvat osat ovat pysähtyneet.
Koneen on annettava jäähtyä ennen sen säätöä, huoltoa, puhdistusta tai varastointia.
Älä säilytä konetta tilassa, jossa on avotuli, kipinöitä tai varmistusliekki (esimerkiksi vedenlämmitin tai muu vastaava laite).
Pidä kaikki koneen osat hyvässä kunnossa ja kaikki kiinnitykset tiukalla.
Huolla ja puhdista turvavyöt tarpeen mukaan.
Vaihda kaikki kuluneet, vaurioituneet tai puuttuvat tarrat.
Ole varovainen lastatessasi konetta perävaunuun tai lavalle.
Käytä täysleveää ramppia lastatessasi konetta perävaunuun tai lavalle.
Kiinnitä kone tiukasti.
Katso koneen kiinnityspisteiden sijainnit kuvista (Kuva 21) ja (Kuva 22).
Note: Lastaa kone perävaunuun siten, että koneen etuosa osoittaa eteenpäin. Jos tämä ei ole mahdollista, kiinnitä konepelti runkoon hihnalla tai irrota konepelti ja kuljeta se erikseen kiinnitettynä. Muuten konepelti voi irrota kuljetuksen aikana.
Irtonaiset istuimet voivat pudota laitteesta ja perävaunusta kuljetuksen aikana ja osua toiseen ajoneuvoon tai jäädä esteeksi tielle.
Irrota istuimet tai varmista, että ne on kiinnitetty saranatapeilla.


Hätätapauksessa konetta voidaan hinata lyhyen matkaa. Tämän ei kuitenkaan pidä olla normaalikäytäntö.
Hinaaminen liian kovalla nopeudella voi heikentää ohjattavuutta, mistä voi olla seurauksena henkilövahinko.
Laitteen hinausnopeus saa olla korkeintaan 8 km/h.
Hinaamiseen tarvitaan kaksi henkilöä. Jos konetta on siirrettävä pidempi matka, käytä kuljetukseen kuorma-autoa tai perävaunua. Katso kohta Perävaunun vetäminen.
Katkaise koneesta virta ja irrota virta-avain.
Important: Jos laitetta hinataan avaimen ollessa KäYNNISSä-asennossa, sähköjärjestelmä voi vaurioitua.
Kiinnitä hinausköysi laitteen rungon etuosassa olevaan hinaussilmukkaan (Kuva 21).
Vapauta seisontajarru.
Laitteella voidaan vetää perävaunuja. Koneeseen on saatavana vetokoukkuja: ota yhteys valtuutettuun Toro-jälleenmyyjään.
Älä ylikuormita laitetta tai perävaunua, kun kuljetat lastia tai vedät perävaunua. Laitteen tai perävaunun ylikuormitus voi heikentää suorituskykyä tai vaurioittaa jarruja, akselia, moottoria, vaihteistoa, ohjausta, ripustusta, runkorakennetta tai renkaita.
Lastaa perävaunu aina siten, että 60 % lastin painosta on perävaunun etuosassa. Näin noin 10 % perävaunun kokonaispainosta tulee laitteen vetokoukulle.
Lastaa kuljetuslavalle aina kuormaa, kun käytät perävaunua, jotta jarrutusteho ja pito olisivat riittävät. Älä ylitä perävaunun kokonaispainorajoja.
Vältä perävaunullisen laitteen pysäköimistä rinteeseen. Jos mäkeen pysäköiminen on kuitenkin välttämätöntä, kytke seisontajarru ja aseta kiilat perävaunun pyöriin.
Älä anna tehtävään kouluttamattomien henkilöiden huoltaa konetta.
Tee seuraavat toimet ennen käyttäjän paikalta poistumista:
Pysäköi kone tasaiselle alustalle.
Käännä suunnanvalitsin VAPAA-asentoon.
Kytke seisontajarru.
Katkaise koneesta virta ja irrota virta-avain.
Odota, että kaikki liikkuvat osat ovat pysähtyneet.
Koneen on annettava jäähtyä ennen sen säätöä, huoltoa, puhdistusta tai varastointia.
Tue kone pukkien varaan aina koneen alla työskenneltäessä.
Älä työskentele nostetun lavan alla ilman asianmukaista lavan tukitankoa.
Älä lataa akkuja koneen huollon aikana.
Pidä kaikki kiinnitykset tiukalla, jotta koko kone pysyy hyvässä kunnossa.
Palovaara pienenee, kun koneen alue pidetään puhtaana liiallisesta rasvasta, ruohosta, lehdistä ja kerääntyvästä liasta.
Jos mahdollista, älä huolla konetta sen ollessa käynnissä. Pysy etäällä liikkuvista osista.
Jos koneen on oltava käynnissä huoltosäädön aikana, pidä kädet, jalat, vaatteet ja kaikki kehon osat kaukana liikkuvista osista. Pidä sivulliset turvallisen matkan päässä koneesta.
Tarkista seisontajarrun toiminta huoltoaikataulun suositusten mukaisesti. Säädä ja huolla se tarvittaessa.
Pidä kaikki koneen osat hyvässä kunnossa ja kaikki kiinnitykset tiukalla. Vaihda kaikki kuluneet tai vaurioituneet turvamerkinnät.
Älä koskaan yritä muuttaa turvalaitteiden käyttötarkoitusta tai vähentää turvalaitteen tarjoamaa suojaa.
Jos ajoneuvo vaatii suurempaa korjausta tai jos tarvitset apua, ota yhteys valtuutettuun Toro-jälleenmyyjään.
Muutosten tekeminen koneeseen saattaa vaikuttaa sen toimintaan, suorituskykyyn ja kestävyyteen, mikä voi johtaa tapaturmaan tai hengenvaaraan. Seurauksena voi olla myös The Toro® Companyn ajoneuvolle myöntämän takuun raukeaminen.
| Huoltoväli | Huoltotoimenpide |
|---|---|
| 100 ensimmäisen käyttötunnin jälkeen |
|
| Aina ennen käyttöä tai päivittäin |
|
| 25 käyttötunnin välein |
|
| 100 käyttötunnin välein |
|
| 300 käyttötunnin välein |
|
| 400 käyttötunnin välein |
|
| 800 käyttötunnin välein |
|
| 1000 käyttötunnin välein |
|
Note: Kytkentäkaavion voi tarvittaessa ladata maksuttomasti osoitteesta www.Toro.com etsimällä oman koneen kotisivulla olevasta opaslinkistä.
Koneen kunnossapidon laiminlyönti voi aiheuttaa koneen järjestelmien ennenaikaisen vioittumisen, mikä voi johtaa käyttäjän tai sivullisten loukkaantumiseen.
Pidä kone hyvin huollettuna ja hyvässä toimintakunnossa näiden ohjeiden mukaisesti.
Ota tästä sivusta kopioita.
| Tarkistettavat kohdat | Viikolle: | ||||||
|---|---|---|---|---|---|---|---|
| Maanantai | Tiistai | Keskiviikko | Torstai | Perjantai | Lauantai | Sunnuntai | |
| Tarkista jarrujen ja seisontajarrun toiminta. | |||||||
| Tarkista vaihdevivun/vapaan toiminta. | |||||||
| Tarkista akkujen veden määrä. | |||||||
| Tarkista jarrunesteen määrä. | |||||||
| Kuuntele, kuuluuko käytettäessä outoja ääniä. | |||||||
| Tarkista rengaspaine. | |||||||
| Tarkista nestevuodot. | |||||||
| Tarkista mittareiden toiminta. | |||||||
| Tarkista kaasupolkimen toiminta. | |||||||
| Korjaa maalipinnan vauriot. | |||||||
| Pese kone. | |||||||
Important: Jos laitetta käytetään joissain alla olevista olosuhteista, huollot on suoritettava kaksi kertaa tavallista useammin:
Käyttö aavikolla
Käyttö kylmässä ilmastossa (alle 10 °C)
Perävaunun vetäminen
Toistuva käyttö pölyisissä olosuhteissa
Käyttö rakennustyömaalla
Jos ajoneuvo on ollut pitkään käytössä mutaisissa, hiekkaisissa, märissä tai vastaavissa likaisissa olosuhteissa, suorita seuraavat toimenpiteet:
Tarkistuta ja puhdistuta jarrut mahdollisimman pian. Näin mikään hankaava materiaali ei pääse aiheuttamaan liiallista kulumista.
Käytä koneen pesuun pelkkää vettä tai lisää veteen mietoa pesuainetta.
Important: Älä puhdista konetta suolapitoisella tai kierrätetyllä vedellä.
Monet tässä kunnossapito-osassa käsitellyistä toimenpiteistä edellyttävät lavan nostamista ja laskemista. Noudata seuraavia varo-ohjeita vakavien vammojen ja hengenvaaran välttämiseksi.
Nosta kuljetuslava ylös ennen huoltoa. Nostettu kuljetuslava voi pudota ja vahingoittaa lavan alla olevia henkilöitä.
Varmista aina ennen kuin ryhdyt työskentelemään kuljetuslavan alla, että kannatintanko pitää lavaa ylhäällä.
Poista kuljetuslavalta kuorma kokonaan ennen kuin ryhdyt työskentelemään sen alla.
Pysäköi kone tasaiselle alustalle.
Käännä suunnanvalitsin VAPAA-asentoon.
Kytke seisontajarru.
Katkaise koneesta virta ja irrota virta-avain.
Tyhjennä ja nosta kuljetuslava.
Laite voi olla epävakaa käytettäessä tunkkia. Kone saattaa luiskahtaa tunkilta, jolloin koneen alla olevat voivat loukkaantua.
Älä käynnistä konetta, kun se on nostettu tunkilla.
Poista aina avain virtalukosta, ennen kuin nouset pois koneesta.
Aseta pyöriin vierimisen estävät kiilat, kun konetta tuetaan nostolaitteella.
Tue kone nostamisen jälkeen pukeilla.
Important: Aina kun konetta käytetään kunnossapitoa ja/tai vianmääritystä varten, koneen takapyörät on nostettava 25 mm irti maasta asettamalla akselipukit taka-akselin tueksi.
Koneen etupään nostokohta sijaitsee rungon etuosassa hinaussilmukan takana (Kuva 23).

Koneen takapään nostokohta sijaitsee akseliputkien alla (Kuva 24).

Liu’uta istuinkokoonpano tappeihin ja laske se (Kuva 28).

| Huoltoväli | Huoltotoimenpide |
|---|---|
| 300 käyttötunnin välein |
|
Käytettävä rasva: Mobilgrease XHP™-222
Nosta koneen etuosa ja tue se pukeilla.
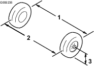
Irrota neljä pyöränmutteria, joilla pyörä on kiinnitetty napaan (Kuva 29).

Irrota laippakantapultit (â…œ × ¾ tuumaa), joilla jarrukokoonpanon kannatin on kiinnitetty karaan, ja irrota jarru karasta (Kuva 30).
Note: Tue jarrukokoonpano ennen siirtymistä seuraavaan vaiheeseen.

Irrota pölysuojus navasta (Kuva 31).

Irrota sokka ja mutterin pidike karasta ja olkamutterista (Kuva 31).
Irrota olkamutteri karasta, ja irrota sitten napa ja jarrukiekko karasta (Kuva 31 ja Kuva 32).

Pyyhi kara puhtaaksi rievulla.
Toista vaiheet 1–7 navalle ja jarrukiekolle koneen toisella puolella.
Irrota ulompi laakeri ja laakerin kehä navasta (Kuva 33).

Irrota sisemmän laakerin tiiviste navasta (Kuva 33)
Pyyhi tiiviste puhtaaksi ja tarkista, ettei se ole kulunut tai vaurioitunut.
Note: Älä käytä puhdistusainetta tiivisteen puhdistamiseen. Vaihda tiiviste, jos se on kulunut tai vaurioitunut.
Puhdista laakerit ja laakerien kehät ja tarkista, etteivät ne ole kuluneet tai vaurioituneet.
Note: Vaihda kaikki kuluneet ja vaurioituneet osat. Varmista, että laakerit ja laakerien kehät ovat puhtaat ja kuivat.
Puhdista laakeriaukko ja napa rasvasta, liasta ja roskista (Kuva 33).
Tiivistä laakerit määritysten mukaisella rasvalla.
Täytä laakeriaukko 50–80-prosenttisesti määritysten mukaisella rasvalla (Kuva 33).
Aseta sisempi laakeri navan sisemmän puolen laakerin kehään ja asenna tiiviste (Kuva 33).
Toista vaiheet 1–8 toisen navan laakereille.
Levitä karaan ohut kerros määritysten mukaista rasvaa (Kuva 34).

Aseta napa ja jarrukiekko karaan jarrukiekko edellä (Kuva 34).
Aseta ulompi laakeri karaan ja ulompaan laakerin kehään (Kuva 34).
Aseta lukkolevy karaan (Kuva 34).
Kierrä olkamutteri karaan ja kiristä mutteri momenttiin 15 N·m pyörittäen samalla napaa, jotta laakeri asettuu paikalleen (Kuva 34).
Löysää olkamutteria, kunnes napa pyörii vapaasti.
Kiristä olkamutteri momenttiin 1,70–2,26 N·m.
Aseta kiinnike mutterin päälle ja tarkista, että kiinnikkeen lovi ja karassa oleva sokan aukko ovat kohdakkain (Kuva 35).
Note: Jos kiinnikkeen lovi ja karan aukko eivät ole kohdakkain, kohdista ne kiristämällä olkamutteria korkeintaan momenttiin 2,26 N·m.

Asenna sokka ja taivuta sen varret kiinnikkeen ympärille (Kuva 35).
Asenna pölysuojus napaan (Kuva 35).
Toista vaiheet 1–10 navalle ja jarrukiekolle koneen toisella puolella.
Puhdista kaksi laippakantapulttia (â…œ × ¾ tuumaa) ja levitä keskivahvaa kierrelukitetta pulttien kierteisiin.
Kohdista jarrupalat jarrukiekon molemmille puolille (Kuva 30) ja kohdista jarrusatulan kannattimen reiät karan rungossa oleviin jarrun kiinnityskohdan reikiin (Kuva 34).
Kiinnitä jarrusatulan kannatin karan runkoon (Kuva 30) kahdella laippakantapultilla (â…œ × ¾ tuumaa).
Kiristä kaksi laippakantapulttia momenttiin 47–54 N·m.
Kohdista pyörässä olevat reiät navan tappeihin ja aseta pyörä napaan niin, että venttilinvarsi osoittaa ulospäin (Kuva 29).
Note: Varmista, että pyörän kiinnityspinta on navan tasalla.
Kiinnitä pyörä napaan pyöränmuttereilla (Kuva 29).
Kiristä pyöränmutterit momenttiin 108–122 N·m.
Toista vaiheet 1–5 jarrulle ja pyörälle koneen toisella puolella.
Irrota akun kytkennät ennen kuin korjaat konetta. Irrota kaapeli ensin miinusnavasta ja vasta sitten plusnavasta. Kytke ensin plusnavan akkukenkä ja vasta sitten miinusnavan akkukenkä.
Lataa akku avoimessa tilassa, jossa on hyvä ilmanvaihto, kaukana kipinöistä ja avotulesta. Irrota laturin virtajohto ennen kuin kytket laturin akkuun tai irrotat sen akusta. Käytä suojavaatetusta ja eristettyjä työkaluja.
Palovaara pienenee, kun akut ja moottoritila pidetään puhtaana liiallisesta rasvasta sekä ruohosta, lehdistä ja liasta.
Riisu kaikki korut ja kellot ennen akkujen huoltamista.
Älä lataa akkuja koneen huollon aikana.
Irrota kaikki akkukaapelit aina ennen sähköosien huoltoa. Katso kohta Akkujen irrotus.
Note: Kun kaikki akkukaapelit irrotetaan, sähköjärjestelmä ei saa virtaa.
Akkuneste sisältää rikkihappoa, joka tuottaa vetyä. Vetykaasu on tietyissä olosuhteissa räjähdysherkkää. Rikkihappo voi syövyttää ihoa ja vahingoittaa vaatteita. Kaasuna vapautuessaan se voi vahingoittaa keuhkoja.
Huolla, varastoi ja lataa laite paikassa, jossa on hyvä ilmanvaihto.
Pidä kipinät ja avotuli etäällä akuista.
Älä tupakoi akkujen lähettyvillä.
Älä tarkista akkunesteen määrää tai vuotoja avoliekin avulla.
Käytä asianmukaisia silmä- ja kasvosuojaimia sekä käsineitä.
Älä nojaudu akkujen ylle.
Vältä akun muodostamien huurujen hengittämistä.
Akut on täytettävä paikassa, jossa on saatavilla puhdasta vettä ihon huuhtelua varten.
Jos akkunestettä joutuu iholle tai silmiin, huuhtele aluetta 20 minuutin ajan puhtaalla vedellä. Riisu nesteestä likaantuneet vaatteet. Hakeudu välittömästi lääkärin hoitoon.
Pidä lapset ja lemmikkieläimet etäällä akuista ja akkunesteestä.
Akkuneste on myrkyllistä.
Älä juo akkunestettä.
Jos akkunestettä on nielty, kyseisen henkilön on juotava välittömästi runsaasti vettä akkunesteen laimentamiseksi, jos mahdollista.
Älä yritä saada juojaa oksentamaan.
Soita myrkytyskeskukseen ja hakeudu välittömästi lääkäriin.
Akkujen tuuletusaukkojen korkkien on oltava tiukasti kiinni akuissa muulloin kuin akkujen täytön aikana. Älä käytä laitetta, jos jokin tuuletusaukon korkki puuttuu tai on vahingoittunut.
Kun irrotat tai asennat akkuja, älä anna akun napojen koskettaa laitteen metalliosia.
Älä anna metallityökalujen aiheuttaa oikosulkua akun napojen ja laitteen metalliosien välille.
Älä koskaan tarkista akun latausta asettamalla metalliesinettä akun napojen väliin. Tämä muodostaa kipinöitä, jotka voivat aiheuttaa räjähdyksen.
Pidä akun pidikkeet aina paikoillaan suojaamassa ja pitämässä akkuja paikoillaan.
Lue latausohjeet huolellisesti ennen akkujen lataamista. Katso Akkujen lataus. Muista myös seuraavat varotoimet akkujen latauksen aikana:
Käännä laitteen virta-avain PYSäYTYS-asentoon ennen laturin kytkemistä virtalähteeseen.
Käytä akkujen lataamiseen vain laitteen mukana toimitettua akkulaturia.
Älä lataa vaurioitunutta tai jäätynyttä akkua.
Irrota virtajohto pistorasiasta aina ennen kuin irrotat sen laitteen latausliitännästä, jotta ei synny kipinöitä.
Jos akku kuumenee latauksen aikana tai jos siitä alkaa vuotaa suuria määriä kaasuja tai akkunestettä, irrota laturin virtajohto välittömästi pistorasiasta. Toimita laite valtuutettuun huoltoliikkeeseen ennen kuin käytät sitä uudelleen.
Nosta istuinkokoonpano ja nosta kuljetuslava ennen akkujen huoltoa. Katso kohta Istuinkokoonpanon nosto ja lasku ja Kuljetuslavan nosto tyhjennysasentoon.
Akun navat tai metallityökalut voivat aiheuttaa oikosulun koskettaessaan metalliosia, mistä voi seurata kipinöitä. Kipinät voivat saada akun kaasut räjähtämään ja aiheuttaa siten henkilövahingon.
Kun irrotat tai asennat akun, älä anna akun napojen koskettaa koneen metalliosia.
Älä anna metallityökalujen aiheuttaa oikosulkua akun napojen ja laitteen metalliosien välille.
Käytä akkujen huoltoon eristettyjä työkaluja.
Pidä akun pidikkeet aina paikoillaan akkujen suojaamiseksi ja kiinnittämiseksi.
Älä kosketa mitään sähköosia tai moottorin koskettimia.
Näiden osien koskettaminen voi aiheuttaa vakavan loukkaantumisen tai hengenvaaran.
| Huoltoväli | Huoltotoimenpide |
|---|---|
| 25 käyttötunnin välein |
|
Varmista, että kaikki akkujen korkit ovat tiukasti kiinni.
Puhdista akut paperipyyhkeellä.
Jos akkukengät ovat syöpyneet, puhdista ne liuoksella, jossa on neljä osaa vettä ja yksi osa ruokasoodaa. Puhdista myös navat ja kaapelien liittimet niille tarkoitetulla puhdistusaineella.
Note: Napojen ja liittimien pitäisi olla kirkkaan metalliset.
Levitä kevyt kerros akun navoille tarkoitettua Toro-suojausainetta.
| Huoltoväli | Huoltotoimenpide |
|---|---|
| Aina ennen käyttöä tai päivittäin |
|
Tämän laitteen laturi sijaitsee laitteen sisällä kuljettajan istuimen takana. Varmista akkujen mahdollisimman pitkä käyttöikä lataamalla akut aina, kun laitetta ei käytetä. Akkujen lataaminen täyteen voi kestää jopa 16 tuntia sen mukaan, miten alhainen niiden varaus on ja mikä on ympäristön lämpötila.
Note: Normaali latausaika on noin 8–10 tuntia.
Important: Lyijyakuissa ei esiinny nk. muisti-ilmiötä, joten niitä ei tarvitse purkaa täysin ennen lataamista. Akkujen täydellinen purkautuminen saattaa vahingoittaa niitä. Lataa akut aina, kun laitetta ei käytetä.
Akun latauksen yhteydessä syntyy räjähdysherkkiä kaasuja.
Älä tupakoi akkujen lähettyvillä. Pidä kipinät ja liekit loitolla akuista.
Siirrä laite sopivan sähköpistorasian lähelle paikkaan, jossa on hyvä ilmanvaihto.
Tarkista akkujen akkunesteen määrä.
Note: Kun akut on ladattu täyteen, täytä ne tislatulla tai ionivaihdetulla vedellä. Katso Tislatun tai ionivaihdetun veden lisääminen akkuihin.
Important: Lataa akut täyteen ennen veden lisäämistä niihin. Latauksen aikana akkunesteen tilavuus kasvaa. Jos vettä lisätään akkuihin ennen niiden lataamista täyteen, akkunestettä voi vuotaa akuista.
Kytke vähintään 16 AWG:n paksuinen, enintään 2,5 m:n pituinen laturin johto laitteen latausliittimeen (Kuva 36).
Note: Varmista, että laturin jänniteasetus vastaa käytettävän pistorasian jännitettä.
Note: Jos ympäristön lämpötila on korkea, irrota istuinkokoonpano optimaalisen latausajan varmistamiseksi. Katso Istuinkokoonpanon irrotus. Jos akkulaturi on liian kuuma, se ei ehkä lataa tehokkaasti. Kylmissä lämpötiloissa akkujen lataaminen saattaa kestää kauemmin.

Kytke laturin virtajohto pistorasiaan.
Note: Akkujen latautuessa laturin vihreä valo vilkkuu. Kun akut ovat täysin latautuneet, vihreä valo lakkaa vilkkumasta ja alkaa palaa yhtenäisesti.
Irrota johto pistorasiasta.
Irrota laturi laitteesta.
Lisätietoja laturin tilan merkkivalojen merkityksistä on seuraavassa taulukossa ja edellä olevassa kuvassa (Kuva 36).
| Merkkivalon väri | Yhtäjaksoinen/vilkkuu | Merkitys |
| Vihreä | Yhtäjaksoinen | Lataus valmis |
| Vihreä | Vilkkuu | Lyhyt välähdys: lataus alle 80 %Pitkä välähdys: lataus yli 80 % |
| Oranssi | Vilkkuu | Alennettu teho -tila: alhainen vaihtosähköjännite tai korkea laturin sisäinen lämpötila; lataa välittömästi. |
| Punainen | Vilkkuu | Laturin virhe: nollaa laturin virtaJos tämä virhe jatkuu, katso laturin ohjekirjasta lisätietoja valokoodeista. |
| Huoltoväli | Huoltotoimenpide |
|---|---|
| Aina ennen käyttöä tai päivittäin |
|
Pysäköi kone tasaiselle alustalle, kytke seisontajarru, katkaise koneesta virta, irrota virta-avain ja nosta kuljetuslava. Katso kohta Kuljetuslavan nosto tyhjennysasentoon.
Nosta istuinkokoonpano, jotta pääset käsiksi akkuihin. Katso Istuinkokoonpanon nosto ja lasku
Tarkista kustakin akusta, ovatko niiden tarkistussilmät väriltään mustia vai valkoisia (Kuva 37).
Note: Musta väri tarkoittaa, että akut ovat täynnä vettä. Valkoinen väri tarkoittaa, että akkuun on lisättävä vettä.

Jos tarkistussilmät ovat väriltään valkoisia, akkuihin on lisättävä tislattua tai ionivaihdettua vettä. Katso Tislatun tai ionivaihdetun veden lisääminen akkuihin.
| Huoltoväli | Huoltotoimenpide |
|---|---|
| 25 käyttötunnin välein |
|
Important: Lataa akut täyteen ennen veden lisäämistä niihin. Latauksen aikana akkunesteen tilavuus kasvaa. Jos vettä lisätään akkuihin ennen niiden lataamista täyteen, akkunestettä voi vuotaa akuista.
Important: Täytä akut vain puhtaalla tislatulla tai ionivaihdetulla vedellä. Vesijohtoveden käyttäminen voi vaurioittaa akkuja ja lyhentää niiden käyttöikää.
Pysäköi kone tasaiselle alustalle, kytke seisontajarru, katkaise koneesta virta, irrota virta-avain ja nosta kuljetuslava. Katso kohta Kuljetuslavan nosto tyhjennysasentoon.
Lataa akkuja, kunnes ne ovat täynnä. Katso Akkujen lataus.
Nosta istuinkokoonpano, jotta pääset käsiksi akkuihin. Katso Istuinkokoonpanon nosto ja lasku
Kytke käsikäyttöinen Toro-vesipumppu vedentäyttöliitäntään (Kuva 38).

Pumppaa vettä akkuihin, kunnes kaikki akkujen päällä olevat tarkistussilmät ovat väriltään mustia, mikä tarkoittaa, että akut ovat täynnä vettä.
Important: Älä ylitäytä akkua. Akkuneste vuotaa laitteen muihin osiin, mikä voi aiheuttaa vakavaa ruostumista ja muita vaurioita. Akun ylitäyttäminen voi myös lyhentää akun käyttöikää.
Kun laitteen toimintasäde alkaa lyhetä tai kun akut on ladattava selvästi aikaisempaa useammin, akut ovat luultavasti vanhentuneet eivätkä enää säilytä latausta tehokkaasti. Toimita laite valtuutettuun huoltoliikkeeseen akkujen testausta varten. Testaamalla selviää, onko akut vaihdettava. Jälleenmyyjä voi tarvittaessa vaihtaa akut. Jos haluat vaihtaa akut itse, toimi seuraavasti:
Nosta kuljetuslava ylös, käännä avainkytkin PYSäYTYS-asentoon ja irrota avain.
Irrota akun päämiinuskaapeli (musta), jolla akkuryhmä on liitetty laitteen maadoituspisteeseen (Kuva 39).
Note: Akkujen pääkaapelit ovat pidempiä kuin akkujen väliset liitäntäkaapelit.

Irrota akun pääpluskaapeli (punainen), jolla akkuryhmä on kytketty laitteen pääkontaktoriin (Kuva 39).
Irrota akuista kaikki liitäntäkaapelit.
Irrota akkujen välissä sijaitsevat akkujen pidikkeet.
Irrota kaikki akut ja toimita ne kierrätettäviksi paikallisten asetusten mukaisesti.
Asenna uudet akut laitteen kohtiin, joista akut irrotettiin kohdassa 3.
Note: Huomioi akkujen napaisuus uusia akkuja asentaessasi (Kuva 39).
Asenna akkujen pidikkeet ja kiristä mutterit, kunnes pidike kiinnittää akut tukevasti.
Kytke akut yhteen kuvan mukaisesti (Kuva 39) kohdassa 1 irrotetuilla akkujen liitäntäkaapeleilla.
Varmista, ettei akkukengissä ole likaa tai hapettumia.
Kytke akun pääpluskaapeli (punainen) akkuryhmän ja laitteen väliin (Kuva 39).
Kytke akun päämiinuskaapeli (musta) akkuryhmän ja laitteen väliin (Kuva 39).
Kiristä kaikkien akkukaapeleiden kiinnitysmuttereita, kunnes pidike kiinnittää akun tukevasti.
Päällystä akun navat akun navoille tarkoitetulla Toro-suojausaineella.
Varmista, että jokaisen akkukaapelin kumisuojus on tiukasti akun navan päällä.
Työnnä virta-avain virtalukkoon ja käännä se KäYNNISSä-asentoon.
Laske kuljetuslava, käännä avainkytkin PYSäYTYS-asentoon ja irrota virta-avain.
Lataa akut täyteen ennen laitteen siirtämistä varastoon. Kytke laturi pistorasiaan laitteen ja akkujen varastoinnin ajaksi. Anna laturin olla kytkettynä pistorasiaan ja latausliittimeen varastoinnin aikana, jotta akut pysyvät ladattuina eivätkä jäädy. Vaihtoehtoisesti lataa akut vähintään kerran kuukaudessa.
Important: Jos laitetta ei voi kytkeä pistorasiaan varastoinnin aikana, lataa akut täyteen vähintään kerran kuukaudessa. Akut purkautuvat itsestään pitkäaikaisen varastoinnin aikana, mikä saattaa vaurioittaa uusiakin akkuja ja tehdä niistä käyttökelvottomia.
Sähköjärjestelmässä on neljä sulaketta. Muut paikat ovat käytettävissä lisälaitteita varten. Ne sijaitsevat istuinkokoonpanon alla akun takana koneen oikealla puolella (Kuva 40).
| Päävirta | 10 A |
| Sähkörele | 20 A |
| USB-virtaliitäntä | 5 A |
| Ajovalot | 10 A |
| Lisävarusteena saatava nostosarja – avoin | 15 A |
| Äänimerkki | 30 A |

Irrota akun kytkennät. Katso Akkujen irrotus.
Avaa konepelti.
Irrota sähköjohtojen liitin lamppukokoonpanon liitännästä (Kuva 41).

Irrota pikakiinnikkeet, jotka kiinnittävät ajovalon sen pidikkeeseen (Kuva 41).
Note: Säilytä kaikki osat uuden ajovalon asennusta varten.
Irrota ajovalokokoonpano siirtämällä sitä eteenpäin etupuskurissa olevan aukon kautta (Kuva 41).
Asenna uusi ajovalo puskurissa olevan aukon kautta (Kuva 41).
Note: Varmista, että säätötapit ovat linjassa puskurin takana olevan asennuskannakkeen aukkojen kanssa.
Kiinnitä ajovalokokoonpano vaiheessa 4 irrotetuilla pikakiinnikkeillä.
Kytke sähköjohtojen liitin lamppukokoonpanon liitäntään (Kuva 41).
Säädä ajovalot siten, että ne osoittavat haluttuun suuntaan. Katso Ajovalojen säätö.
Säädä ajovalon suuntaus seuraavasti aina, kun ajovalokokoonpano vaihdetaan tai irrotetaan.
Pysäköi laite tasaiselle alustalle niin, että ajovalot ovat noin 7,6 m:n päässä seinästä (Kuva 42).
Mittaa etäisyys lattiasta ajovalon keskelle ja tee seinään merkki samalle korkeudelle.
Käännä virta-avain KäYNNISSä-asentoon ja sytytä ajovalot.
Katso, mihin kohtaan seinää ajovalot osoittavat.
Ajovalojen säteen kirkkaimman osan tulee olla 20 cm seinään tehdyn merkin alapuolella (Kuva 42).

Käännä ajovalokokoonpanoa ja säädä ajovalojen suuntausta kääntämällä ajovalokokoonpanon takaosassa olevia säätöruuveja (Kuva 41).
Kytke akut ja sulje konepelti. Katso Akkujen kytkeminen.
| Huoltoväli | Huoltotoimenpide |
|---|---|
| 100 käyttötunnin välein |
|
Tarkista, ettei renkaissa ja vanteissa ole kulumia tai vaurioita.
Note: Reunakiveykseen tai vastaavaan osuminen voi vaurioittaa rengasta tai vannetta ja vioittaa pyörien suuntausta, joten tarkista renkaiden kunto pienenkin onnettomuuden jälkeen.
Kiristä pyöränmutterit momenttiin 108–122 N·m.
| Huoltoväli | Huoltotoimenpide |
|---|---|
| 100 käyttötunnin välein |
|
Kun ohjauspyörä on keskikohdassa (Kuva 43), käännä ohjauspyörää vasemmalle tai oikealle. Jos ohjauspyörää käännetään yli 13 mm vasemmalle tai oikealle eivätkä renkaat käänny, tarkista seuraavat ohjaus- ja jousitusosat ja varmista, että ne eivät ole löysällä tai vaurioituneet:
Ohjausakselin ja ohjaushammastangon kokoonpanon välinen nivel
Important: Tarkista hammaspyörän akselin tiivisteen kunto ja kiinnitys (Kuva 44).
Ohjaushammastangon kokoonpanon raidetangot


| Huoltoväli | Huoltotoimenpide |
|---|---|
| 100 käyttötunnin välein |
|
Tarkista rengaspaineet ja varmista, että eturenkaiden paine on 0,83 bar.
Lisää kuljettajan istuimelle paino, joka vastaa keskimääräistä laitteen käyttäjän painoa, tai pyydä käyttäjää istumaan istuimella. Käyttäjän painon on pysyttävä istuimella koko säätötoimenpiteen ajan.
Työnnä laitetta tasaisella alustalla suoraan taaksepäin 2–3 m ja sitten suoraan eteenpäin alkuperäiseen aloituskohtaan. Näin jousitus pääsee asettumaan käyttäjän paikalla.
Omistajan hankkimat työkalut: mutteriavain (Toro-osa 132-5069), ota yhteys valtuutettuun Toro-jälleenmyyjään.
Important: Säädä kallistuskulmaa vain, jos käytössä on etulisälaite tai jos renkaat kuluvat epätasaisesti.
Tarkista kallistuksen suuntaus kussakin pyörässä. Suuntauksen on oltava niin lähellä neutraalia (nollaa) kuin mahdollista.
Note: Renkaat on suunnattava niin, että kulutuspinta on tasaisesti maassa, jotta renkaiden epätasainen kuluminen vähenee.
Jos pyörien kallistuksen suuntaus ei ole oikea, suuntaa pyörä pyörittämällä iskunvaimentimen kaulusta mutteriavaimella (Kuva 45).

Important: Varmista ennen aurauskulman säätöä, että kallistus on säädetty niin lähelle neutraalia kuin mahdollista. Katso kohta Kallistuksen säätö.
Mittaa eturenkaiden välinen etäisyys akselin korkeudelta eturenkaiden edestä ja takaa (Kuva 46).

Jos mittaustulos ei ole 0–6 mm, löysää raidetankojen ulommissa päissä olevia vastamuttereita (Kuva 47).

Pyöritä molempia raidetankoja, jolloin renkaiden etupuoli liikkuu sisään- tai ulospäin.
Kiristä raidetangon vastamutterit, kun säätö on oikea.
Varmista, että ohjauspyörä kääntyy kunnolla molempiin suuntiin.
| Huoltoväli | Huoltotoimenpide |
|---|---|
| 100 käyttötunnin välein |
|
Pysäköi kone tasaiselle alustalle.
Kytke seisontajarru.
Katkaise virta ja irrota virta-avain.
Irrota vaihteiston täyttötulppa (Kuva 48).
Note: Nesteen pinnan tulee ulottua täyttötulpan alareunaan saakka.

Jos öljyä on vähän, irrota täyttötulppa ja lisää määrityksen mukaista öljyä, kunnes sitä valuu ulos aukosta (Kuva 48).
Asenna täyttötulppa ja kiristä se momenttiin 20–27 N·m.
| Huoltoväli | Huoltotoimenpide |
|---|---|
| 100 käyttötunnin välein |
|
| 800 käyttötunnin välein |
|
Öljylaatu: SAE 10W-30 (API-huoltoluokitus SJ tai korkeampi)
Öljytilavuus: 0,66 l
Aseta tyhjennysastia vaihteiston suojuksen alle (Kuva 49).

Irrota pultit vaihteiston suojuksesta ja tyhjennä öljy kokonaan (Kuva 49).
Note: Säilytä vaihteiston suojus ja pultti.
Asenna vaihteiston suojus aiemmin irrotetuilla pulteilla ja kiristä pultit momenttiin 22–32 N·m.
Irrota vaihteiston täyttötulppa ja lisää vaihteistoon määrityksen mukaista öljyä, kunnes sitä valuu ulos täyttöaukosta (Kuva 48).
Asenna täyttötulppa ja kiristä se momenttiin 20–27 N·m.
Kytke seisontajarru vetämällä seisontajarrun vipua itseäsi kohti, kunnes tunnet kireyttä.
Jos kireyttä ei tunnu, kun olet vetänyt seisontajarrun vipua itseäsi kohti 11,4–16,5 cm:n etäisyydelle kojelaudan P-symbolista, seisontajarrua on säädettävä. Katso kohta Seisontajarrun säätö.
Tarkista, että seisontajarru on vapautettu.
Nosta koneen takaosaa pukkien avulla. Katso Koneen nosto.
Käytä apuna kahta mutteriavainta: pidä jarrusatulassa olevaa säätötappia paikallaan toisella avaimella ja löysää vastamutteria 1/4 kierrosta toisella avaimella (Kuva 50).

Samalla kun pidät säätötappia ja vastamutteria paikoillaan, kiristä kääntämällä säätötappia (Kuva 50).
Note: Toista tämä vaihe, kunnes pyörässä tuntuu vastusta.
Samalla kun pidät säätötappia ja vastamutteria paikoillaan, palaa takaisinpäin 1/4 kierrosta (Kuva 50).
Samalla kun pidät säätötappia ja vastamutteria paikoillaan, kiristä vastamutteri (Kuva 50).
Suorita vaiheet 1–6 toisellakin puolella.
Varmista, että seisontajarru on säädetty oikeaan kireyteen. Katso Seisontajarrun tarkistus.
Note: Jos seisontajarrua ei voi säätää vaadittuun kireyteen, jarrupalat voivat olla kuluneet ja ne on vaihdettava. Neuvoja saa valtuutetulta Toro-jälleenmyyjältä.
| Huoltoväli | Huoltotoimenpide |
|---|---|
| Aina ennen käyttöä tai päivittäin |
|
Jarrunesteen tyyppi: DOT 3
Pysäköi kone tasaiselle alustalle, kytke seisontajarru, katkaise koneesta virta ja irrota virta-avain.
Nosta konepelti ylös, jotta pääset käsiksi jarrun pääsylinteriin ja säiliöön (Kuva 51).

Katso nesteen määrä säiliön kyljestä (Kuva 52).
Note: Pinnan on oltava vähimmäismäärän osoittavan viivan yläpuolella.

Jos nestettä on liian vähän, tee seuraavat toimet:
Sulje koneen konepelti.
| Huoltoväli | Huoltotoimenpide |
|---|---|
| 100 käyttötunnin välein |
|
Important: Jarrut ovat erittäin tärkeät laitteen turvallisuuden kannalta. Tarkasta ne huolellisesti suositellun huoltovälin mukaisesti, jotta ne toimivat mahdollisimman tehokkaasti ja turvallisesti.
Tarkista jarrupäällysteen kuluneisuus ja vauriot. Jos päällysteen (jarrupalan) paksuus on alle 1,6 mm, vaihda jarrupäällyste.
Tarkista jarrulevy ja muut osat liiallisen kulumisen ja muodonmuutosten varalta. Vaihda vääntyneet osat.
Tarkista jarrunesteen määrä. Katso kohta Jarrunesteen määrän tarkistus.
| Huoltoväli | Huoltotoimenpide |
|---|---|
| 400 käyttötunnin välein |
|
Pyydä valtuutettua Toro-jälleenmyyjää tarkistamaan ja tarvittaessa vaihtamaan käyttö- ja seisontajarrun jarrupalat.
| Huoltoväli | Huoltotoimenpide |
|---|---|
| 1000 käyttötunnin välein |
|
Ota yhteys valtuutettuun Toro-jälleenmyyjään.
Jos kuljetuslavan salpojen säätö on väärä, kuljetuslava tärisee ajon aikana pystysuunnassa. Salpojen pidikkeitä voi säätää, jotta salvat pitävät kuljetuslavan tiukasti runkoa vasten.
Varmista, että kuljetuslava lukittuu paikalleen.
Note: Jos kuljetuslava ei lukitu, salvan vastakappale saattaa olla liian alhaalla. Jos kuljetuslava lukittuu mutta tärisee ajon aikana pystysuunnassa, salvan vastakappale on todennäköisesti liian ylhäällä.
Nosta kuljetuslava. Katso kohta Kuljetuslavan nosto tyhjennysasentoon.
Löysää kahta pulttia kuljetuslavan salvan vastakappaleessa ja siirrä vastakappaletta ylös tai alas tarpeen mukaan (Kuva 53).

Kiristä salvan vastakappaleen kahta pulttia (Kuva 53).
Sulje kuljetuslava monta kertaa ja varmista, että säätö on oikea.
| Huoltoväli | Huoltotoimenpide |
|---|---|
| Aina ennen käyttöä tai päivittäin |
|
Käytä koneen pesuun pelkkää vettä tai lisää veteen mietoa pesuainetta tarvittaessa. Koneen voi pestä rievulla.
Important: Älä puhdista konetta suolapitoisella tai kierrätetyllä vedellä.
Important: Konetta ei suositella pestäväksi painepesurilla. Painepesu voi vahingoittaa sähköjärjestelmää, irrottaa tärkeitä tarroja tai huuhtoa pois tarpeellisen rasvan kitkakohdista. Vältä liiallista veden käyttöä erityisesti ohjauspaneelin, moottorin, moottorinohjaimen, laturin, kojelaudan taustan ja akkujen lähellä.
Sammuta kone, irrota virta-avain ja odota, että kaikki liikkuvat osat pysähtyvät, ennen kuin poistut käyttäjän paikalta. Koneen on annettava jäähtyä ennen sen säätöä, huoltoa, puhdistusta tai varastointia.
Älä säilytä konetta tai polttoainesäiliötä tilassa, jossa on avotuli, kipinöitä tai varmistusliekki (esimerkiksi vedenlämmitin tai muu vastaava laite).
Pysäköi kone tasaiselle alustalle, kytke seisontajarru, sammuta moottori ja irrota virta-avain.
Puhdista kone kauttaaltaan liasta ja rasvasta, myös moottorin kotelon ulkopinnalta.
Important: Kone voidaan pestä miedolla pesuaineella ja vedellä. Älä pese konetta painepesurilla. Painepesu voi vahingoittaa sähköjärjestelmää tai huuhtoa pois tarpeellisen rasvan kitkakohdista. Älä käytä liian paljon vettä, älä etenkään kojetaulun, valojen, moottorin ja akun läheisyydessä.
Tarkista jarrut. Katso kohta Jarrujen tarkistus.
Tarkista rengaspaine. Katso kohta Rengaspaineen tarkistus.
Tarkista ja kiristä kaikki pultit, mutterit ja ruuvit. Korjaa tai vaihda kaikki vaurioituneet osat.
Maalaa kaikki naarmuuntuneet tai paljaat metallipinnat.
Note: Maalia on saatavissa valtuutetusta huoltoliikkeestä.
Varastoi kone puhtaaseen, kuivaan autotalliin tai varastotilaan.
Irrota avain ja säilytä se turvallisessa paikassa lasten ulottumattomissa.
Peitä kone suojataksesi sen ja pitääksesi sen puhtaana.
Lataa akut täyteen ennen laitteen siirtämistä varastoon. Katso Akkujen lataus. Kytke laturi pistorasiaan laitteen ja akkujen varastoinnin ajaksi. Anna laturin olla kytkettynä pistorasiaan ja latausliittimeen varastoinnin aikana, jotta akut pysyvät ladattuina eivätkä jäädy. Vaihtoehtoisesti lataa akut vähintään kerran kuukaudessa.
Kytke laturi pistorasiaan varastoinnin ajaksi akun pitkän käyttöiän varmistamiseksi.
Important: Jos laitetta ei voi kytkeä pistorasiaan varastoinnin aikana, lataa akut täyteen vähintään kerran kuukaudessa. Akut purkautuvat itsestään pitkäaikaisen varastoinnin aikana, mikä saattaa vaurioittaa uusiakin akkuja ja tehdä niistä käyttökelvottomia.
Akkujen täyteen latauksen jälkeen täytä akut tislatulla tai ionivaihdetulla vedellä ennen varastointia. Katso Tislatun tai ionivaihdetun veden lisääminen akkuihin.
| Problem | Possible Cause | Corrective Action |
|---|---|---|
| Koneen tilan merkkivalo palaa koko ajan. |
|
|
| Koneen tilan merkkivalo välähti yhden kerran. |
|
|
| Koneen tilan merkkivalo välähti kaksi kertaa. |
|
|
| Koneen tilan merkkivalo välähti kolme kertaa. |
|
|
| Koneen tilan merkkivalo välähti neljä kertaa. |
|
|
| Koneen tilan merkkivalo välähti viisi kertaa. |
|
|
| Koneen tilan merkkivalo välähti kuusi kertaa. |
|
|
| Koneen tilan merkkivalo välähti seitsemän kertaa. |
|
|
| Koneen tilan merkkivalo välähti kahdeksan kertaa. |
|
|
| Koneen tilan merkkivalo välähti kymmenen kertaa. |
|
|
| Koneen tilan merkkivalo välähti 11 kertaa. |
|
|
| Koneen tilan merkkivalo välähti 12 kertaa. |
|
|
| Koneen tilan merkkivalo välähti 13 kertaa. |
|
|
| Koneen tilan merkkivalo välähti 14 kertaa. |
|
|
| Koneen tilan merkkivalo ei pala. |
|
|