| Périodicité d'entretien | Procédure d'entretien |
|---|---|
| À chaque utilisation ou une fois par jour |
|
Ce véhicule utilitaire est destiné principalement à un usage non routier, pour le transport de personnes et de matériel. L'utilisation de ce produit à d'autres fins que celle prévue peut être dangereuse pour vous-même et toute personne à proximité.
Lisez attentivement cette notice pour apprendre comment utiliser et entretenir correctement votre produit, et éviter ainsi de l'endommager ou de vous blesser. Vous êtes responsable de l'utilisation sûre et correcte du produit.
Rendez-vous sur www.Toro.com pour tout document de formation à la sécurité et à l'utilisation des produits, pour tout renseignement concernant un produit ou un accessoire, pour obtenir l'adresse des concessionnaires ou pour enregistrer votre produit.
Pour obtenir des prestations de service, des pièces d'origine Toro ou des renseignements complémentaires, munissez-vous des numéros de modèle et de série de votre produit et contactez un concessionnaire-réparateur agréé ou le service client Toro. La Figure 1 indique l'emplacement des numéros de modèle et de série sur le produit. Inscrivez les numéros dans l'espace réservé à cet effet.
Important: Avec votre appareil mobile, vous pouvez scanner le code QR sur l'autocollant du numéro de série (le cas échéant) afin d'accéder aux informations sur la garantie, les pièces détachées et autres renseignements sur le produit.

Ce manuel utilise deux termes pour faire passer des renseignements essentiels. Important, pour attirer l'attention sur des renseignements mécaniques spécifiques et Remarque, pour insister sur des renseignements d'ordre général méritant une attention particulière.
Le symbole de sécurité (Figure 2) qui figure à la fois dans ce manuel et sur la machine sert à identifier d'importantes consignes de sécurité que vous devez respecter pour éviter les accidents. Ce symbole s'accompagne des mentions Danger, Attention, ou Prudence.
Danger signale un danger immédiat qui, s'il n'est pas évité, entraînera obligatoirement des blessures graves ou mortelles.
Attention signale un danger potentiel qui, s'il n'est pas évité, pourrait entraîner des blessures graves ou mortelles.
Prudence signale un danger potentiel qui, s'il n'est pas évité, peut entraîner des blessures légères ou modérées.

Ce produit est conforme à toutes les directives européennes pertinentes. Pour plus de renseignements, reportez-vous à la Déclaration de conformité spécifique du produit fournie séparément.
CALIFORNIE
Proposition 65 - Avertissement
Le cordon d'alimentation de cette machine contient du plomb, une substance chimique considérée par l'état de Californie comme susceptible de provoquer des malformations congénitales et autres troubles de la reproduction. Lavez-vous les mains après avoir manipulé la batterie.
Les bornes de la batterie et accessoires connexes contiennent du plomb et des composés de plomb. L'état de Californie considère ces substances chimiques comme susceptibles de provoquer des cancers et des troubles de la reproduction. Lavez-vous les mains après avoir manipulé la batterie.
Cette machine est conçue en conformité avec les exigences de la norme SAE J2258 (nov 2016).
Ce produit peut causer des blessures. Respectez toujours toutes les consignes de sécurité pour éviter des blessures graves.
Vous devez lire et comprendre le contenu de ce Manuel de l'utilisateur avant de démarrer la machine. Assurez-vous que tous les utilisateurs de ce produit en connaissent parfaitement le fonctionnement et ont bien compris les consignes de sécurité.
Accordez toute votre attention à l'utilisation de la machine. Ne faites rien d'autre qui puisse vous distraire, au risque de causer des dommages corporels ou matériels.
N'approchez pas les mains ou les pieds des composants mobiles de la machine.
N'utilisez pas la machine s'il manque des capots ou d'autres dispositifs de protection, ou s'ils sont endommagés.
N'admettez personne, notamment les enfants, dans le périmètre de travail. N'autorisez jamais les enfants à utiliser la machine.
Arrêtez la machine, coupez le moteur et enlevez la clé avant d'effectuer tout entretien.
L'usage ou l'entretien incorrect de cette machine
peut occasionner des accidents. Pour réduire les risques d'accidents
et de blessures, respectez les consignes de sécurité
qui suivent. Tenez toujours compte des mises en garde signalées
par le symbole de sécurité (
) et la mention Prudence,
Attention ou Danger. Le non respect de ces instructions peut entraîner
des blessures graves ou mortelles.
![]() |
Des autocollants de sécurité et des instructions bien visibles par l'opérateur sont placés près de tous les endroits potentiellement dangereux. Remplacez tout autocollant endommagé ou manquant. |











Note: Les côtés gauche et droit de la machine sont déterminés d'après la position d'utilisation normale.
Pièces nécessaires pour cette opération:
| Volant | 1 |
| Couvre-moyeu du volant | 1 |
| Rondelle (½") | 1 |
| Couvre-moyeu | 1 |
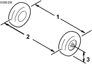
S'il est présent, déposez le couvre-moyeu du volant (Figure 3).
Retirez le contre-écrou (½") de l'arbre de direction (Figure 3).
Glissez le volant, le couvre-moyeu et la rondelle (½") sur l'arbre de direction (Figure 3).
Note: Les roues avant étant en position ligne droite, orientez le volant de sorte que la petite branche soit à la verticale.
Fixez le volant sur l'arbre au moyen d'un contre-écrou (½") serré à un couple de 18 à 30 N·m.
Reposez le couvre-moyeu sur le volant (Figure 3).

Contrôlez le niveau d'eau dans les batteries avant d'utiliser la machine ; voir Contrôle du niveau d'eau des batteries.
Vérifiez que les batteries sont chargées ; voir Charge des batteries.
Contrôlez le niveau de liquide de frein avant d'utiliser la machine ; voir Contrôle du niveau de liquide de frein.
Contrôlez la pression des pneus ; voir Contrôle de la pression des pneus.
Pour assurer l'efficacité optimale du système de freinage, rodez les freins avant d'utiliser la machine.
Amenez la machine à la vitesse maximum, appuyez rapidement sur la pédale de frein sans bloquer les roues.
Répétez 10 fois cette procédure, avec 1 minute d'intervalle entre les arrêts pour ne pas faire surchauffer les freins.
Important: Cette procédure est particulièrement efficace si la machine est chargée avec 227 kg.
Pièces nécessaires pour cette opération:
| Manuel de l'utilisateur | 1 |
| Manuel du propriétaire du moteur | 1 |
| Fiche d'enregistrement | 1 |
| Fiche de contrôle avant livraison | 1 |
| Certificat de qualité | 1 |
| Clé | 2 |
Lisez le Manuel de l'utilisateur et le manuel du propriétaire du moteur.
Remplissez la fiche d'enregistrement.
Remplissez la Fiche de contrôle avant livraison.
Lisez le Certificat de qualité.


Avant de mettre le moteur en marche et d'utiliser la machine, familiarisez-vous avec toutes les commandes.

Utilisez la pédale d'accélérateur (Figure 6) pour varier la vitesse de déplacement de la machine. Appuyez sur la pédale d'accélérateur pour démarrer la machine. Enfoncez davantage la pédale pour augmenter la vitesse de déplacement. Relâchez la pédale pour ralentir la machine et pour couper le moteur.
La vitesse de pointe en marche avant en mode performance est de 26 km/h comme montré à la Figure 9.
La vitesse de pointe en marche avant en mode économie est de 19 km/h comme montré à la Figure 9.
Elle permet d'arrêter la machine ou de réduire la vitesse de déplacement (Figure 6).
Un accident est possible si vous utilisez la machine alors que les freins sont usés ou mal réglés.
Si la pédale en bout de course se trouve à moins de 25 mm du plancher, il faut régler ou réparer les freins.
Le levier du frein de stationnement se trouve sur le panneau de commande (Figure 6).
Chaque fois que vous arrêtez la machine, serrez le frein de stationnement pour empêcher la machine de se déplacer accidentellement. Serrez toujours le frein de stationnement lorsque la machine est garée sur une pente raide.
Pour serrer le frein de stationnement, tirez le levier vers vous (Figure 7).

Pour desserrer le frein de stationnement, appuyez sur le bouton en haut du levier, tirez le levier vers vous pour le libérer puis poussez-le en avant (Figure 8).

Le sélecteur de direction est situé à gauche du levier du frein de stationnement. Le sélecteur de direction a 3 positions de réglage : MARCHE AVANT, MARCHE ARRIèRE et POINT MORT (Figure 6).
Note: La machine peut être placée dans n'importe laquelle des 3 positions, mais elle ne se déplace qu'aux positions de MARCHE AVANT et de MARCHE ARRIèRE.
Important: Arrêtez toujours la machine avant de changer la direction de déplacement.
Le bouton de l'avertisseur sonore est situé sur le panneau de commande (Figure 6). Appuyez sur ce bouton pour actionner l'avertisseur sonore.
L'interrupteur (Figure 6) permet d'allumer les phares. Appuyez sur le haut de l'interrupteur pour allumer les phares. Appuyez sur le bas de l'interrupteur pour éteindre les phares.
L'indicateur de décharge des batteries est situé sur la gauche de la colonne de direction (Figure 6). L'indicateur de décharge indique la charge restante des batteries. Lorsque les batteries sont chargées au maximum, 10 barres apparaissent de la position 0 à la position 1. À mesure que vous utilisez la charge, les barres de l'indicateur disparaissent à droite de l'indicateur. Pour plus de précisions sur l'indicateur de charge des batteries, voir Connaître et utiliser le système de batteries.
Le compteur horaire est situé à droite de l'interrupteur d'éclairage (Figure 6). Le compteur horaire indique le nombre total d'heures de fonctionnement de la machine. Le compteur horaire se déclenche chaque fois que vous tournez la clé en position CONTACT ou quand le moteur tourne.
Note: Lorsque le moteur tourne, le compteur horaire clignote de façon continue en enregistrant les heures d'utilisation.
La prise USB est située à gauche du levier du frein de stationnement (Figure 6). Cette prise sert à alimenter des appareils mobiles.
Important: Lorsque vous n'utilisez pas la prise USB, insérez l'obturateur en caoutchouc pour la protéger d'éventuels dommages.
Le commutateur d'allumage (Figure 6) sert à démarrer et arrêter le moteur.
Le commutateur d'allumage a 2 positions : CONTACT et ARRêT. Tournez la clé dans le sens horaire à la position MARCHE pour utiliser la machine. Lorsque vous arrêtez la machine, tournez la clé dans le sens antihoraire à la position ARRêT pour couper le moteur. Retirez la clé de l'interrupteur chaque fois que vous quittez la machine.
Ce commutateur est situé sous l'ensemble sièges et comprend 2 positions : PERFORMANCE et ÉCONOMIE. Tournez le commutateur dans le sens horaire à la position ÉCONOMIE pour limiter la vitesse maximale de la machine à 19 km/h. Tournez le commutateur dans le sens antihoraire à la position PERFORMANCE pour rétablir la vitesse maximale de la machine à 26 km/h, comme montré à la Figure 9.

Le voyant d'état est situé à droite du levier du frein de stationnement sur le panneau de commande (Figure 6).
Lorsque le moteur démarre, le voyant d'état vert s'allume en continu ou clignote.
Si le voyant est allumé en continu, cela indique que la machine est prête à fonctionner normalement. Si le voyant clignote, cela signifie qu'une anomalie doit être corrigée avant de reprendre le fonctionnement normal de la machine.
Si le voyant d'état clignote 2 fois, cela signifie que le frein de stationnement est serré alors que le sélecteur de direction est à la position de MARCHE AVANT ou de MARCHE ARRIèRE. Desserrez le frein de stationnement pour éteindre le voyant d'état.
Reportez-vous à la section si le voyant d'état clignote plus de 2 fois.
La poignée de maintien du passager est située sur l'extérieur de chaque siège (Figure 10).

Note: Les spécifications et la conception peuvent faire l'objet de modifications sans préavis.
| Poids de base | 633 kg à sec |
| Capacité nominale (sur surface horizontale) | 544 kg au total (comprend 91 kg pour l'utilisateur et 91 kg pour le passager, le chargement, les accessoires et les équipements) |
| Poids total autorisé en charge (PTAC) (sur surface plane) | 1 177 kg au total (comprend tous les poids susmentionnés) |
| Capacité de charge maximale du plateau (sur surface horizontale) | 363 kg au total (comprend les accessoires montés à l'arrière) |
| Capacité maximum du support d'accessoire de plateau de chargement arrière | 45 kg au total |
| Capacité de remorquage | Poids à la flèche : 91 kg |
| Poids brut de la remorque : 680 kg | |
| Largeur hors tout | 119 cm |
| Longueur hors tout | 302 cm |
| Hauteur hors tout | 127,5 cm |
| Garde au sol | 21,6 cm à l'avant, à vide et sans utilisateur |
| 14 cm à l'arrière à vide et sans utilisateur | |
| Empattement | 220 cm |
| Voie (entraxe) | Avant : 119 cm |
| Arrière : 119 cm | |
| Longueur du plateau de chargement | Intérieur : 102 cm |
| Extérieur : 114,3 cm | |
| Largeur du plateau de chargement | Intérieur : 98 cm |
| Extérieur des ailes moulées : 107,3 cm | |
| Hauteur du plateau de chargement | 28 cm à l'intérieur |
Les spécifications indiquées concernent des batteries Trojan T-125.
L'installation de batteries non standard peut réduire la capacité du plateau de chargement.
Une sélection d'outils et d'accessoires agréés par Toro est disponible pour augmenter et améliorer les capacités de la machine. Pour obtenir la liste de tous les accessoires et outils agréés, contactez votre concessionnaire-réparateur ou votre distributeur Toro agréé, ou rendez-vous sur www.Toro.com.
Pour garantir un rendement optimal et conserver la certification de sécurité de la machine, utilisez uniquement des pièces de rechange et accessoires d'origine Toro. Les pièces de rechange et accessoires provenant d'autres constructeurs peuvent être dangereux, et leur utilisation risque d'annuler la garantie de la machine.
Ne confiez jamais l'utilisation ou l'entretien de la machine à des enfants ou des personnes qui n'ont pas les compétences nécessaires ou ne sont physiquement aptes. Certaines législations imposent un âge minimum pour l'utilisation de ce type d'appareil. Le propriétaire de la machine doit assurer la formation de tous les utilisateurs et mécaniciens.
Familiarisez-vous avec le maniement correct du matériel, les commandes et les symboles de sécurité.
Avant de quitter la position d'utilisation, coupez le moteur, enlevez la clé et attendez l'arrêt complet de tout mouvement. Laissez refroidir la machine avant de la régler, d'en faire l'entretien, de la nettoyer ou de la remiser.
Apprenez à arrêter la machine et à couper le moteur rapidement.
Assurez-vous que le nombre d'occupants (vous et votre ou vos passagers) n'est pas supérieur au nombre de poignées de maintien prévues sur la machine.
Assurez-vous de la présence de tous les dispositifs de protection et tous les autocollants. Réparez ou remplacez tous les dispositifs de sécurité et remplacez tous les autocollants illisibles ou manquants. N'utilisez pas la machine s'ils sont absents et ne fonctionnent pas correctement.
| Périodicité d'entretien | Procédure d'entretien |
|---|---|
| À chaque utilisation ou une fois par jour |
|
Avant de démarrer la machine chaque jour, effectuez les procédures décrites à la section .
| Périodicité d'entretien | Procédure d'entretien |
|---|---|
| À chaque utilisation ou une fois par jour |
|
Spécifications de gonflage des pneus avant et arrière : 1,65 à 2,07 bar.
Important: Ne dépassez pas la pression de gonflage maximale indiquée sur le flanc des pneus.
Note: La pression de gonflage des pneus est déterminée par la charge utile que vous prévoyez de transporter.
Contrôlez la pression des pneus.
Réduisez la pression de gonflage pour transporter des charges utiles légères, pour réduire le compactage du sol, pour un plus grand confort de roulement et pour minimiser les traces laissées sur le sol.
Augmentez la pression de gonflage pour transporter des charges plus lourdes à des vitesses supérieures.
Au besoin, gonflez ou dégonflez les pneus pour obtenir la pression correcte.

La machine contient 8 batteries au plomb à décharge complète qui assurent l'alimentation du moteur et des accessoires. Une batterie à décharge complète est différente d'une batterie automobile. Une batterie automobile est conçue pour fournir une pointe de courant pour démarrer le moteur et un courant modéré pour alimenter les éclairages et les accessoires quand le moteur est coupé ou tourne au ralenti. L'alternateur la recharge ensuite continuellement pendant que le véhicule roule. Ainsi, la charge d'une batterie automobile descend rarement en dessous de 90 % du niveau maximum.
Une batterie à décharge complète constitue une source d'alimentation principale qui fournit une sortie régulière. Les batteries à décharge complète se déchargent régulièrement à 20 ou 30 % du niveau de charge maximum. Une décharge aussi importante est dite décharge complète.
Important: Les cycles répétés de décharge complète réduisent la vie utile des batteries.
Les batteries au plomb produisent de l'électricité par la réaction chimique qui se produit entre les plaques plombées et l'acide sulfurique. La mise en charge de la batterie inverse la réaction chimique, ce qui permet à la batterie de produire à nouveau de l'électricité.
Les batteries sont des composants périssables dont la durée de vie est limitée (Figure 12). Une batterie neuve doit passer par une période de rodage pour établir une production d'électricité efficace. Cette période nécessite généralement 100 à 150 cycles de décharge/charge.

Après la période de rodage, la batterie conserve une haute capacité pendant de très nombreux cycles. Le nombre de cycles que peut effectuer une batterie dépend des facteurs suivants :
Entretien des batteries – un entretien inadéquat réduit considérablement la durée de vie des batteries.
Le degré de décharge entre les cycles de charge – plus la décharge des batteries est importante et régulière entre les charges, plus la durée de vie des batteries sera réduite.
Fréquence de charge – chargez les batteries au maximum chaque fois que possible.
Important: Si les batteries sont complètement déchargées, elles seront endommagées et leur vie utile sera réduite.
Bas niveaux d'eau – si les plaques plombées sont exposées, les batteries peuvent être définitivement endommagées. Effectuez la procédure suivante pour maintenir le niveau correct d'électrolyte :
Avant de charger les batteries au maximum, remplissez-les d'eau distillée ou déminéralisée ; voir Contrôle du niveau d'eau des batteries et Ajout d'eau distillée ou déminéralisée dans les batteries.
Important: Charge les batteries au maximum avant d'ajouter de l'eau dans les batteries. L'électrolyte augmente de volume pendant la charge. Pour cette raison, si vous remplissez une batterie dont le niveau d'électrolyte est bas avant de la charger au maximum, l'électrolyte peut déborder et fuir par l'évent.
Lorsque les batteries arrivent en fin de vie, leur capacité électrique baisse progressivement.
Quand vos batteries sont entièrement chargées, la dixième barre (complètement à droite) s'allume sur l'indicateur de décharge de batterie (Figure 13).

Pendant l'utilisation de la machine, les barres disparaissent à mesure que la capacité électrique des batteries est consommée.
Lorsqu'il ne reste que la deuxième barre à partir de la gauche sur l'indicateur de décharge, il est temps de recharger les batteries (Figure 14).

Si vous continuez d'utiliser la machine quand il ne reste que 2 barres, les barres 1 et 2 clignotent alternativement.
Important: Lorsqu'il ne reste que la deuxième barre à partir de la gauche sur l'indicateur de décharge, la machine peut passer en mode vitesse réduite ; ce mode permet de protéger les batteries, mais le fonctionnement prolongé dans ce mode peut endommager les batteries et/ou la machine. Pour éviter ce problème, évitez de décharger les batteries jusqu'à la deuxième barre à partir de la gauche. Rechargez les batteries immédiatement.La machine s'arrêtera et toutes les fonctions seront désactivées en cas de décharge complète des batteries. Les batteries ne doivent jamais être complètement déchargées.
Important: Pour rentabiliser au maximum la vie des batteries, chargez-les systématiquement avant que l'indicateur n'atteigne la deuxième barre à partir de la gauche sur l'écran. La vie des batteries est réduite si elles se déchargent régulièrement en dessous de la deuxième barre à partir de la gauche.
| Périodicité d'entretien | Procédure d'entretien |
|---|---|
| Après les 100 premières heures de fonctionnement |
|
Rodez les machines neuves conformément aux directives pour assurer des performances correctes et prolonger la vie de la machine.
Contrôlez régulièrement le niveau de liquide de frein et d'eau dans les batteries.
Évitez de freiner brutalement pendant les premières heures de rodage d'une machine neuve. Les garnitures de frein ne deviennent véritablement performantes qu'après plusieurs heures de rodage ; voir Rodage des freins.
Reportez-vous à pour connaître les contrôles spéciaux à effectuer pendant le rodage.
Contrôlez la suspension avant et réglez sa position le cas échéant ; voir Réglage du parallélisme des roues avant.
Le propriétaire/l'utilisateur est responsable des accidents pouvant entraîner des dommages corporels ou matériels et peut les prévenir.
Les passagers ne doivent s'asseoir qu'aux emplacements spécifiés. Ne transportez jamais personne sur le plateau de chargement. Tenez tout le monde et les animaux domestiques à l'écart de la machine en marche.
Portez des vêtements appropriés, y compris une protection oculaire, un pantalon et des chaussures solides à semelle antidérapante. Si vos cheveux sont longs, attachez-les et ne portez pas de vêtements amples ni de bijoux pendants.
Accordez toute votre attention à l'utilisation de la machine. Ne faites rien d'autre qui puisse vous distraire, au risque de causer des dommages corporels ou matériels.
N'utilisez pas la machine si vous êtes fatigué, malade ou sous l'emprise de l'alcool, de drogues ou de médicaments.
Ne dépassez pas le poids brut maximum de la machine.
Redoublez de prudence quand vous freinez ou prenez un virage en transportant une lourde charge dans le plateau.
Le transport de charges surdimensionnées dans le plateau modifie la stabilité de la machine. Ne dépassez pas la capacité de transport du plateau.
La direction, le freinage et la stabilité de la machine sont affectés si la charge transportée ne peut pas être arrimée sur le plateau. Quand vous transportez une charge qui ne peut pas être arrimée sur la machine, freinez et changez de direction avec prudence.
Ralentissez votre course et allégez la charge transportée par la machine sur les terrains accidentés, irréguliers et près de bordures, trous et autres accidents de terrain. La charge peut se déplacer et rendre la machine instable.
Avant de mettre la machine en marche, assurez-vous que la transmission est au point mort, que le frein de stationnement est serré et que vous êtes au poste d'utilisation.
Vous et vos passagers devez rester assis pendant le déplacement de la machine. Vous devez garder les mains sur le volant et les passagers doivent se tenir aux poignées de maintien prévues à cet effet. Gardez toujours les bras et les jambes à l'intérieur de la machine.
N'utilisez la machine que si la visibilité est bonne. Méfiez-vous des trous, ornières, bosses, rochers ou autres obstacles cachés. Les irrégularités du terrain risquent de provoquer le retournement de la machine. L'herbe haute peut masquer les accidents du terrain. Soyez prudent à l'approche de tournants sans visibilité, de buissons, d'arbres ou d'autres objets susceptibles de vous masquer la vue.
Ne conduisez pas la machine à proximité de fortes dénivellations, fossés ou berges. La machine pourrait se retourner brusquement si une roue passe par-dessus une dénivellation quelconque et se retrouve dans le vide, ou si un bord s'effondre.
Méfiez-vous des obstacles en surplomb tels que branches d'arbres, jambages de portes, et passerelles, etc.
Avant de faire marche arrière, vérifiez que la voie est libre juste derrière la machine et sur sa trajectoire.
Lorsque vous utilisez la machine sur la voie publique, respectez le code de la route et utilisez les accessoires supplémentaires éventuellement exigés par la loi, tels éclairages, clignotants, panneau « véhicule lent » et autres.
Si la machine vibre de façon anormale, coupez le moteur et arrêtez immédiatement la machine, attendez l'arrêt de toutes les pièces mobiles et recherchez d'éventuels dommages. Réparez tout dommage de la machine avant de recommencer à travailler.
L'arrêt de la machine peut demander plus de temps sur les surfaces mouillées que sur les surfaces sèches. Pour sécher les freins par temps de pluie, conduisez lentement sur une surface plane en appuyant légèrement sur la pédale de frein.
Si vous conduisez la machine à haute vitesse et que vous freinez brusquement, les roues arrière peuvent se bloquer et vous risquez alors de perdre le contrôle de la machine.
Ne touchez pas le moteur pendant qu'il tourne ou juste après son arrêt car vous pourriez vous brûler.
Ne laissez pas la machine en marche sans surveillance.
Avant de quitter le poste de conduite :
Garez la machine sur une surface plane et horizontale.
Placez le sélecteur de direction à la position POINT MORT.
Serrez le frein de stationnement.
Coupez le moteur et enlevez la clé.
Attendez l'arrêt complet de tout mouvement.
N'utilisez pas la machine si la foudre menace.
Utilisez uniquement les accessoires et équipements agréés par The Toro® Company.
Ne dépassez pas le poids brut de la machine. Votre poids, celui de vos passagers et celui de la charge transportée contribuent tous au poids brut total de la machine.
Les passagers ne doivent s'asseoir qu'aux emplacements spécifiés. Ne transportez jamais de passagers sur le plateau de chargement.
Vous et vos passagers devez rester assis pendant le déplacement de la machine.
Le fait d'allonger la machine augmente le rayon de braquage ; pour cette raison, prévoyez un espace suffisant pour manÅ“uvrer la machine.
Note: Un système de protection antiretournement (ROPS) à 2 montants est un accessoire disponible pour cette machine. Utilisez un système ROPS lorsque vous tondez près de fortes dénivellations, d'étendues d'eau, sur un terrain accidenté ou sur une pente qui pourrait entraîner le retournement de la machine. Pour plus de renseignements, contactez un distributeur Toro agréé.
Les pentes augmentent significativement les risques de perte de contrôle et de basculement de la machine pouvant entraîner des accidents graves, voire mortels.
Examinez attentivement le site pour identifier les pentes sur lesquelles vous pouvez utiliser la machine sans risque et établissez vos propres procédures et règles de travail à appliquer sur les pentes en question. Faites toujours preuve de bon sens et de discernement quand vous réalisez cette étude.
Ne travaillez pas sur les pentes sur lesquelles vous ne vous sentez pas à l'aise.
Déplacez-vous à vitesse réduite et progressivement sur les pentes. Ne changez pas brusquement de vitesse ou de direction.
Évitez d'utiliser la machine sur un terrain humide. Les pneus risquent de perdre en adhérence. La machine peut se retourner avant que les roues ne perdent leur motricité.
Montez et descendez toujours les pentes en ligne droite.
Si la machine commence à perdre de la puissance pendant la montée d'une pente, freinez progressivement et redescendez lentement la pente en ligne droite et en marche arrière.
Il est dangereux de faire demi-tour alors que vous montez ou descendez une pente. Si vous devez tourner alors que vous vous trouvez sur une pente, procédez lentement et prudemment.
Les lourdes charges compromettent la stabilité de la machine sur les pentes. Allégez la charge et ralentissez sur les pentes ou si le centre de gravité de la charge est très élevé. Arrimez solidement la charge sur le plateau de la machine pour l'empêcher de se déplacer. Redoublez de prudence lorsque vous transportez des charges qui ont tendance à se déplacer facilement (liquide, pierres, sable, etc.).
Évitez de démarrer, de vous arrêter ou de tourner sur une pente, surtout avec un chargement. Il faut plus longtemps à la machine pour s'arrêter sur une pente que sur une surface horizontale. Si vous devez arrêter la machine, évitez les variations de vitesse soudaines qui pourraient la faire se renverser ou se retourner. Ne freinez pas brutalement quand vous faites marche arrière, car la machine pourrait se retourner.
Ne dépassez pas le poids total autorisé en charge de la machine lorsque le plateau est chargé et/ou si vous tractez une remorque ; voir Caractéristiques techniques.
Répartissez la charge uniformément sur le plateau pour améliorer la stabilité et la contrôle de la machine.
Avant de décharger le plateau, vérifiez que la voie est libre derrière la machine.
Ne déchargez pas le plateau si la machine est garée transversalement sur une pente. La modification de la répartition de la charge peut causer le retournement de la machine.
Le plateau levé peut retomber et blesser toute personne qui travaille dessous.
Calez toujours le plateau avec la béquille avant de travailler dessous.
Déchargez le plateau avant de le lever.
Ne conduisez pas la machine en laissant le plateau de chargement levé, car elle pourrait facilement se renverser ou se retourner. La structure du plateau peut être endommagée si vous conduisez la machine avec le plateau levé.
Abaissez toujours le plateau de chargement quand vous conduisez la machine.
Abaissez toujours le plateau de chargement après l'avoir déchargé.
Si une charge est regroupée à l'arrière du plateau, celui-ci peut basculer brusquement lorsque vous ouvrez les verrous et vous blesser ou blesser des personnes à proximité.
Centrez bien les charges sur le plateau si possible.
Maintenez le plateau abaissé et assurez-vous que personne n'est appuyé contre ou ne se tient juste derrière lorsque vous ouvrez les verrous.
Déchargez complètement le plateau avant de l'élever pour faire l'entretien de la machine.
Le plateau de chargement peut être lourd. Les mains ou autres parties du corps risquent d'être écrasées.
N'approchez pas les mains ni aucune autre partie du corps du plateau de chargement pendant qu'il s'abaisse.
Après avoir déchargé des matériaux en vrac (sable, pierres pour aménagement paysager ou copeaux de bois) du plateau, une petite partie peut rester coincée dans la charnière du hayon. Avant de refermer le hayon, effectuez la procédure suivante.
Enlevez à la main autant des débris logés dans la charnière que possible.
Faites pivoter le hayon à environ 45° (Figure 18).

Faites pivoter le hayon d'avant en arrière en l'agitant légèrement quelques secondes (Figure 18).
Note: Cela facilite l'élimination des débris présents dans la charnière.
Abaissez le hayon et assurez-vous qu'il ne reste pas de débris autour et dans la charnière.
Répétez les opérations 1 à 4 jusqu'à ce qu'il ne reste plus de débris dans la charnière.
Faites pivoter le hayon vers le haut et soulevez-le dans les encoches du plateau de chargement.
Utilisez le support d'accessoire du plateau de chargement arrière pour attacher des accessoires à l'arrière de la machine.
Capacité : 45 kg
Desserrez la poignée en « T » en la tournant dans le sens horaire (Figure 19).

Insérez l'accessoire dans le récepteur jusqu'à ce que les trous soient alignés (Figure 19).
Fixez l'accessoire assemblé au tube récepteur à l'aide de l'axe de chape et de la goupille fendue fournis avec l'accessoire.
Resserrez la poignée en « T » en la tournant dans le sens antihoraire (Figure 20).

Important: Lorsque vous arrêtez la machine sur un plan incliné, utilisez les freins de service pour arrêter la machine et le frein de stationnement pour l'immobiliser. Le moteur peut surchauffer ou les batteries peuvent se décharger si vous utilisez l'accélérateur pour arrêter la machine sur une pente.
Enlevez le pied de la pédale d'accélérateur.
Enfoncez lentement la pédale de frein pour serrer les freins de service jusqu'à ce que la machine s'immobilise complètement.
Note: La distance d'arrêt peut varier selon la charge et la vitesse de la machine.
Observez les instructions suivantes pour charger le plateau et utiliser la machine :
Respectez la capacité de charge nominale de la machine et limitez le poids de la charge transportée sur le plateau comme décrit sous Caractéristiques techniques et indiqué sur l'étiquette du poids total autorisé en charge de la machine.
Note: La charge nominale spécifiée n'est valable que si la machine est utilisée sur une surface plane.
Allégez la charge transportée sur le plateau quand vous utilisez la machine sur une pente ou un terrain accidenté.
Allégez la charge transportée sur le plateau si elle est haute (et que son centre de gravité est élevé), comme un tas de briques, des pièces de bois pour aménagements paysagers ou des sacs d'engrais. Répartissez la charge aussi bas que possible, en vous assurant qu'elle ne réduit pas la visibilité derrière la machine quand celle-ci est en marche.
Maintenez les chargements au centre du plateau en procédant comme suit :
Positionnez la charge uniformément entre les deux côtés du plateau.
Important: Un basculement est plus susceptible de se produire si le chargement est regroupé d'un seul côté du plateau.
Positionnez le chargement uniformément entre l'avant et l'arrière du plateau.
Important: Une perte de la direction ou le basculement de la machine peut se produire si la charge est placée derrière l'essieu arrière et que la motricité des roues avant est réduite.
Redoublez de prudence lorsque vous transportez des charges surdimensionnées dans le plateau de chargement, surtout s'il est impossible de centrer le poids de la charge.
Chaque fois que vous le pouvez, arrimez la charge sur le plateau pour l'empêcher de bouger.
Lorsque vous transportez des liquides, conduisez avec précaution pour monter ou descendre des pentes, quand vous changez subitement de vitesse ou que vous vous arrêtez, ou quand vous passez sur des surfaces accidentées.
Le plateau a une capacité de charge de 0,28 m3. La quantité (le volume) de matériau qu'il est possible de transporter sur le plateau sans dépasser les charges nominales spécifiées, dépend de la densité du matériau en question.
Les volumes maximum de divers matériaux sont indiqués dans le tableau suivant :
| Matériau | Densité | Capacité de charge maximale du plateau(sur surface horizontale) |
| Gravier, sec | 1 522 kg/m3 | Plein |
| Gravier humide | 1 922 kg/m3 | 3/4 plein |
| Sable sec | 1 442 kg/m3 | Plein |
| Sable humide | 1 922 kg/m3 | 3/4 plein |
| Bois | 721 kg/m3 | Plein |
| Écorce | <721 kg/m3 | Plein |
| Terre (compacte) | 1 602 kg/m3 | 3/4 plein (approx.) |
Avant de quitter le poste de conduite :
Garez la machine sur une surface plane et horizontale.
Placez le sélecteur de direction à la position POINT MORT.
Serrez le frein de stationnement.
Coupez le moteur et enlevez la clé.
Attendez l'arrêt complet de tout mouvement.
Laissez refroidir la machine avant de la régler, d'en faire l'entretien, de la nettoyer ou de la remiser.
Ne rangez pas la machine à proximité d'une flamme nue, d'une source d'étincelles ou d'une veilleuse, telle celle d'un chauffe-eau ou autre appareil.
Maintenez toutes les pièces de la machine en bon état de marche et toutes les fixations bien serrées.
Faites l'entretien de la ou des ceintures de sécurité, et nettoyez-les au besoin.
Remplacez tous les autocollants usés, endommagés ou manquants.
Procédez avec prudence pour charger la machine sur une remorque ou un camion, ainsi que pour la décharger.
Utilisez des rampes d'une seule pièce pour charger la machine sur une remorque ou un camion.
Arrimez solidement la machine.
L'emplacement des points d'arrimage sur la machine est indiqué à la Figure 21 et la Figure 22.
Note: Chargez la machine sur la remorque en dirigeant l'avant vers l'avant de la remorque. Si cela s'avère impossible, fixez le capot de la machine au cadre avec une sangle ou déposez-le car il pourrait s'envoler pendant le transport. Fixez et transportez le capot séparément.
Les sièges mal fixés peuvent tomber de la machine et de la remorque pendant le transport de la machine, et atterrir sur une autre machine ou bloquer la voie.
Enlevez les sièges ou vérifiez qu'ils sont solidement fixés par les axes de pivot.


En cas d'urgence, vous pouvez remorquer la machine sur une courte distance ; toutefois cette procédure ne doit pas être employée de manière habituelle.
Le remorquage à des vitesses excessives peut entraîner la perte du contrôle de la direction et provoquer des accidents.
Ne remorquez jamais la machine à plus de 8 km/h.
Le remorquage de la machine nécessite l'intervention de 2 personnes. S'il est nécessaire de déplacer la machine sur une longue distance, faites-la transporter par camion ou chargez-la sur une remorque ; voir Attelage d'une remorque.
Coupez le moteur et enlevez la clé.
Important: Si vous remorquez la machine en laissant la clé à la position MARCHE, le système électrique peut être endommagé.
Accrochez un câble de remorquage à la flèche d'attelage à l'avant du cadre de la machine (Figure 21).
Desserrez le frein de stationnement.
La machine peut tracter des remorques. Des dispositifs d'attelage sont disponibles pour la machine ; contactez un distributeur Toro agréé pour plus de détails.
Quand vous transportez un chargement ou que vous tractez une remorque, ne surchargez pas la machine ou la remorque. La surcharge de la machine ou de la remorque peut réduire les performances de la machine ou endommager les freins, l'essieu, le moteur, la boîte-pont, la direction, la suspension, la structure de la caisse ou les pneus.
Lorsque vous chargez la remorque, placez toujours 60 % de la charge à l'avant. La flèche d'attelage de la machine est ainsi soumise à environ 10 % du poids brut de la remorque.
Pour assurer un freinage et une motricité corrects, chargez toujours le plateau quand vous tractez une remorque. Ne dépassez pas le poids brut maximum de la remorque ou du véhicule.
Évitez de garer la machine sur une pente si une remorque est attelée. S'il est impossible de faire autrement, serrez le frein de stationnement et calez les roues de la remorque.
Ne confiez pas l'entretien de la machine à des personnes non qualifiées.
Avant de quitter le poste de conduite :
Garez la machine sur une surface plane et horizontale.
Placez le sélecteur de direction à la position POINT MORT.
Serrez le frein de stationnement.
Coupez le moteur et enlevez la clé.
Attendez l'arrêt complet de tout mouvement.
Laissez refroidir la machine avant de la régler, d'en faire l'entretien, de la nettoyer ou de la remiser.
Soutenez la machine avec des chandelles chaque fois que vous devez travailler dessous.
Ne travaillez pas sous le plateau levé sans mettre la béquille de sécurité en place.
Ne chargez pas les batteries pendant l'entretien de la machine
Vérifiez l'état de la machine dans son ensemble et maintenez toutes les fixations serrées au couple prescrit.
Pour réduire les risques d'incendie, débarrassez la machine de tout excès de graisse, débris d'herbe, feuilles et saletés.
Si possible, n'effectuez aucun entretien sur la machine en laissant le moteur en marche. Ne vous approchez pas des pièces mobiles.
Si le moteur doit tourner pour effectuer un réglage de la machine, n'approchez pas les mains, les pieds ou autres parties du corps, ni les vêtements des pièces mobiles. Ne laissez personne s'approcher de la machine.
Contrôlez le bon fonctionnement du frein de stationnement selon les recommandations du calendrier d'entretien, et réglez-le au révisez-le selon les besoins.
Maintenez toutes les pièces de la machine en bon état de marche et toutes les fixations serrées au couple correct. Remplacez tous les autocollants usés ou endommagés.
Ne cherchez jamais à modifier la fonction prévue d'un dispositif de sécurité ni à réduire la protection qu'il assure.
Si la machine nécessite une réparation importante ou si vous avez besoin de renseignements, faites appel à un concessionnaire Toro agréé.
Toute modification de la machine susceptible d'en altérer le fonctionnement, les performances, la durabilité ou l'utilisation peut entraîner des blessures parfois mortelles. Une telle utilisation pourrait aussi annuler la garantie produit de The Toro® Company.
| Périodicité d'entretien | Procédure d'entretien |
|---|---|
| Après les 100 premières heures de fonctionnement |
|
| À chaque utilisation ou une fois par jour |
|
| Toutes les 25 heures |
|
| Toutes les 100 heures |
|
| Toutes les 300 heures |
|
| Toutes les 400 heures |
|
| Toutes les 800 heures |
|
| Toutes les 1000 heures |
|
Note: Téléchargez un exemplaire gratuit du schéma électrique en vous rendant sur www.Toro.com et en cherchant votre machine sous le lien Manuels sur la page d'accueil.
Un mauvais entretien de la machine peut entraîner une défaillance prématurée des divers systèmes et vous blesser ou blesser les personnes à proximité.
Maintenez la machine bien entretenue et en bon état de marche, conformément aux instructions du présent manuel.
Copiez cette page pour pouvoir vous en servir régulièrement.
| Entretiens à effectuer | Pour la semaine du : | ||||||
|---|---|---|---|---|---|---|---|
| Lundi | Mardi | Mercredi | Jeudi | Vendredi | Samedi | Dimanche | |
| Contrôlez le fonctionnement du frein et du frein de stationnement. | |||||||
| Contrôlez le fonctionnement du changement de vitesse/du point mort. | |||||||
| Contrôlez le niveau d'eau des batteries. | |||||||
| Contrôlez le niveau de liquide de frein. | |||||||
| Vérifiez les bruits de fonctionnement anormaux. | |||||||
| Vérifiez la pression des pneus. | |||||||
| Recherchez les fuites éventuelles. | |||||||
| Vérifiez le fonctionnement des instruments. | |||||||
| Vérifiez le fonctionnement de l'accélérateur. | |||||||
| Retouchez les peintures endommagées. | |||||||
| Lavez la machine. | |||||||
Important: Dans les conditions indiquées ci-dessous, doublez la fréquence des entretiens :
Utilisation dans le désert
Utilisation par temps froid (au-dessous de 10 °C)
Attelage d'une remorque
Utilisation fréquente dans une atmosphère poussiéreuse
Travaux de construction
Après une utilisation prolongée dans la boue, le sable, l'eau ou autres environnements sales, effectuez ce qui suit :
Faites inspecter et nettoyer vos freins dès que possible. Cela permet d'éliminer les particules abrasives susceptibles de causer une usure excessive.
Lavez la machine seulement avec de l'eau ou en y ajoutant un détergent d'eau.
Important: Ne nettoyez pas la machine avec de l'eau saumâtre ou recyclée.
Levez le plateau de chargement avant d'effectuer un entretien. Le plateau levé peut retomber et blesser toute personne qui se trouve dessous.
Calez toujours le plateau avec la béquille avant de travailler dessous.
Déchargez le plateau avant de travailler dessous.
Garez la machine sur une surface plane et horizontale.
Placez le sélecteur de direction à la position POINT MORT.
Serrez le frein de stationnement.
Coupez le moteur et enlevez la clé.
Videz et relevez le plateau de chargement.
La machine soutenue par un cric peut être instable. La machine pourrait glisser du cric et blesser la personne qui se trouve dessous.
Ne mettez pas le moteur en marche lorsque la machine est soutenue par un cric.
Retirez toujours la clé du commutateur d'allumage avant de descendre de la machine.
Calez les roues lorsque la machine est soutenue par du matériel de levage.
Soutenez la machine avec des chandelles après l'avoir levée.
Important: Si le moteur de la machine doit tourner à des fins d'entretien et/ou de diagnostic, placez des chandelles sous l'essieu arrière afin de soulever les roues arrière à 25 mm au-dessus du sol.
Le point de levage avant de la machine est situé à l'avant du cadre, derrière la flèche d'attelage (Figure 23).

Le point de levage arrière est situé sous les tubes d'essieu (Figure 24).

Faites coulisser l'ensemble sièges sur les goupilles, et abaissez-le (Figure 28).

| Périodicité d'entretien | Procédure d'entretien |
|---|---|
| Toutes les 100 heures |
|
Type de graisse : graisse au lithium nº 2
Essuyez les graisseurs avec un chiffon pour éviter que des impuretés ne pénètrent dans le roulement ou la bague.
Avec une pompe à graisse, injectez 1 ou 2 jets de graisse dans les graisseurs de la machine.
Essuyez l'excès de graisse sur la machine.
Les graisseurs sont situés à l'extrémité intérieure des bras de suspension, sur la rotule de biellette et à l'extrémité extérieure des bras de suspension (Figure 29 et Figure 30).


| Périodicité d'entretien | Procédure d'entretien |
|---|---|
| Toutes les 300 heures |
|
Graisse spécifiée : Mobilgrease XHP™-222
Soulevez l'avant de la machine sur des chandelles.
Retirez les 4 écrous de roue qui fixent la roue au moyeu (Figure 31).

Retirez les boulons à embase (â…œ" x ¾") qui fixent le support du frein à la fusée et séparez le frein de la fusée (Figure 32).
Note: Soutenez le frein avant de passer à l'opération suivante.

Retirez le couvre-moyeu du moyeu (Figure 33).

Retirez la goupille fendue et le frein d'écrou de la fusée et de son écrou (Figure 33).
Enlevez l'écrou de la fusée, et séparez l'ensemble moyeu et rotor de la fusée (Figure 33 et Figure 34).

Essuyez la fusée avec un chiffon propre.
Répétez les opérations 1 à 7 pour le moyeu et le rotor de l'autre côté de la machine.
Déposez le roulement extérieur et la bague de roulement du moyeu (Figure 35).

Déposez le joint et le roulement intérieur du moyeu (Figure 35).
Essuyez le joint et vérifiez s'il est usé ou endommagé.
Note: N'utilisez pas de solvants ou de carburant pour nettoyer le joint. Remplacez le joint s'il est usé ou endommagé.
Nettoyez les roulements et leurs bagues, et vérifiez si ces pièces sont usées ou endommagées.
Note: Remplacez toutes les pièces usées ou endommagées. Vérifiez que les roulements et les bagues sont propres et secs.
Éliminez la graisse, la saleté et les débris déposés à l'intérieur de la cavité du moyeu (Figure 35).
Garnissez les roulements avec la graisse spécifiée.
Remplissez la cavité du moyeu de 50 à 80 % environ avec la graisse spécifiée (Figure 35).
Assemblez le roulement intérieur sur la bague sur le côté intérieur du moyeu et montez le joint (Figure 35).
Répétez les opérations 1 à 8 pour les roulements de l'autre moyeu.
Appliquez une fine couche de la graisse spécifiée sur la fusée (Figure 36).

Montez le moyeu et le rotor sur la fusée en plaçant le rotor à l'intérieur (Figure 36).
Montez le roulement extérieur sur la fusée et poussez le roulement contre la bague (Figure 36).
Montez la rondelle-frein à languette sur la fusée (Figure 36).
Vissez l'écrou de fusée sur la fusée et serrez l'écrou à 15 N·m tout en tournant le moyeu pour bien asseoir le roulement (Figure 36).
Serrez l'écrou de fusée jusqu'à ce que le moyeu tourne librement.
Serrez l'écrou de fusée à un couple de 1,70 à 2,26 N·m.
Placez le frein d'écrou sur l'écrou et vérifiez que la fente du frein d'écrou et le trou dans la fusée sont alignés et permettent d'insérer la goupille fendue (Figure 37).
Note: Si la fente dans le frein d'écrou et le trou dans la fusée ne sont pas alignés, alignez-les en serrant l'écrou de fusée à un couple maximum de 2,26 N·m.

Insérez la goupille fendue et repliez chaque jambe autour du frein d'écrou (Figure 37).
Reposez le couvre-moyeu sur le moyeu (Figure 37).
Répétez les opérations 1 à 10 pour le moyeu et le rotor de l'autre côté de la machine.
Nettoyez les 2 boulons à embase (â…œ" x ¾") et enduisez les filets d'une couche de composé antigrippant.
Alignez les plaquettes de frein de chaque côté du rotor (Figure 32) et alignez également les trous dans le support d'étrier et ceux de la fixation du frein sur le porte-fusée (Figure 36).
Fixez le support d'étrier au porte-fusée (Figure 32) à l'aide de 2 boulons à embase (â…œ" x ¾").
Serrez les 2 boulons à embase à un couple de 47 à 54 N·m.
Alignez les trous dans la roue et les goujons du moyeu puis montez la roue sur le moyeu en plaçant la valve à l'extérieur (Figure 31).
Note: Vérifiez que la surface de montage de la roue affleure le moyeu.
Fixez la roue au moyeu avec les écrous de roue (Figure 31).
Serrez les écrous de roues à un couple de 108 à 122 N·m.
Répétez les opérations 1 à 5 pour le frein et la roue de l'autre côté de la machine.
Débranchez la batterie avant de réparer la machine. Débranchez toujours la borne négative avant la borne positive. Rebranchez toujours la borne positive avant la borne négative.
Chargez la batterie dans un endroit dégagé et bien aéré, à l'écart des flammes ou sources d'étincelles. Débranchez le chargeur avant de brancher ou de débrancher la batterie. Portez des vêtements de protection et utilisez des outils isolés.
Pour réduire les risques d'incendie, débarrassez les batteries et le moteur de tout excès de graisse, débris d'herbe, feuilles et saletés.
Enlevez bijoux et montres avant d'effectuer l'entretien des batteries.
Ne chargez pas les batteries pendant l'entretien de la machine
Débranchez toujours tous les câbles de la batterie avant d'effectuer l'entretien des composants électriques ; voir Débranchement des batteries.
Note: Le débranchement de tous les câbles de la batterie coupe l'alimentation du système électrique.
L'électrolyte contient de l'acide sulfurique qui produit de l'hydrogène, un gaz explosif dans certaines conditions. L'acide sulfurique peut brûler la peau et endommager les vêtements ; sous sa forme gazeuse, il peut être nocif pour les poumons.
L'entretien de la machine, son remisage et la charge de la batterie doivent s'effectuer dans un endroit bien aéré.
Gardez les batteries éloignées des flammes nues et des sources d'étincelles.
Ne fumez pas à côté des batteries.
Ne vérifiez pas le niveau ou les fuites d'électrolyte à l'aide d'une flamme nue.
Protégez-vous les yeux, les mains et le visage.
Ne vous penchez jamais au-dessus des batteries.
Évitez de respirer les vapeurs d'électrolyte.
Faites le plein d'électrolyte à proximité d'une arrivée d'eau propre, de manière à pouvoir rincer abondamment la peau en cas d'accident.
Si de l'électrolyte rejaillit sur la peau ou dans les yeux, rincez la zone affectée pendant 20 minutes à l'eau propre. Retirez les vêtements contaminés. Consultez immédiatement un médecin.
Tenez les enfants et les animaux domestiques à l'écart des batteries et de l'électrolyte.
L'électrolyte est toxique.
Ne buvez pas l'électrolyte.
Si une personne avale de l'électrolyte, faites-lui boire immédiatement, si possible, de grandes quantités d'eau pour diluer l'électrolyte.
N'essayez pas de faire vomir la personne.
Contactez un centre anti-poison et consultez immédiatement un médecin.
Sauf à l'occasion du remplissage, les bouchons d'aération doivent être en place et bien serrés sur les batteries. N'utilisez pas la machine si l'un des bouchons d'aération manque ou est endommagé.
Lors du retrait ou de la mise en place des batteries, les bornes ne doivent toucher aucune partie métallique de la machine.
Évitez de créer des courts-circuits entre les bornes de la batterie et les parties métalliques de la machine avec des outils en métal.
Ne vérifiez pas l'état de charge des batteries en plaçant un objet métallique en travers des bornes. Vous provoqueriez des étincelles susceptibles de causer une explosion.
Laissez toujours les dispositifs de retenue en place pour protéger et immobiliser les batteries.
Veillez à lire et comprendre les instructions de charge avant de mettre les batteries en charge ; voir Charge des batteries. De plus, prenez toujours les précautions suivantes pour charger les batteries :
Tournez la clé sur ARRêT avant de connecter le chargeur à la source d'alimentation.
Utilisez uniquement le chargeur de batteries fourni avec la machine pour charger les batteries.
Ne chargez pas les batteries si elles sont endommagées ou gelées.
Débranchez toujours le cordon d'alimentation du secteur avant de le débrancher du connecteur de charge de la machine pour éviter de provoquer des étincelles.
Si une batterie en charge commence à chauffer, à produire du gaz en grande quantité ou à rejeter de l'électrolyte, débranchez immédiatement le cordon d'alimentation du chargeur du secteur. Faites réviser la machine par un concessionnaire-réparateur agréé avant de l'utiliser à nouveau.
Relevez l'ensemble sièges et levez le plateau de chargement avant de faire l'entretien des batteries ; voir Levage et abaissement de l'ensemble sièges et Levage du plateau de chargement à la position de déchargement.
Les bornes de la batterie ou les outils en métal peuvent causer des courts-circuits au contact des pièces métalliques et produire des étincelles. Les étincelles risquent de provoquer l'explosion des gaz de la batterie et de vous blesser.
Lors du retrait ou de la mise en place de la batterie, les bornes ne doivent toucher aucune partie métallique de la machine.
Évitez de créer des courts-circuits entre les bornes de la batterie et les parties métalliques de la machine avec des outils en métal.
Utilisez des outils isolés pour effectuer l'entretien des batteries.
Laissez toujours les dispositifs de retenue en place pour protéger et immobiliser les batteries.
Ne touchez pas les composants électriques ou les contacts du moteur.
Le fait de toucher ces composants ou contacts peut vous blesser gravement ou blesser des personnes à proximité.
| Périodicité d'entretien | Procédure d'entretien |
|---|---|
| Toutes les 25 heures |
|
Vérifiez que tous les bouchons sont bien serrés.
Nettoyez les batteries avec une serviette en papier.
Si les bornes de la batterie sont corrodées, nettoyez-les avec un mélange constitué de 4 volumes d'eau pour 1 volume de bicarbonate de soude. Nettoyez aussi les bornes et les colliers de câble avec un produit nettoyant spécial.
Note: Le métal des bornes et colliers doit être brillant.
Appliquez une fine couche de produit de protection pour batteries Toro.
| Périodicité d'entretien | Procédure d'entretien |
|---|---|
| À chaque utilisation ou une fois par jour |
|
Le chargeur de cette machine est situé à l'intérieur de la machine sous le siège de l'utilisateur. Pour prolonger la vie des batteries, chargez-les chaque fois que vous remisez la machine. Selon le degré de décharge des batteries et leur température ambiante, il leur faudra jusqu'à 16 heures pour être rechargées au maximum.
Note: Le temps de charge normal est d'environ 8 à 10 heures.
Important: Les batteries au plomb ne développent pas une mémoire de charge ; il est donc inutile de les décharger complètement avant de les recharger. Les batteries peuvent être endommagées si elles sont complètement déchargées. Chargez les batteries chaque fois que la machine ne sert pas.
La batterie en charge produit des gaz susceptibles d'exploser.
Ne fumez jamais et gardez les batteries éloignées des flammes et sources d'étincelles.
Placez la machine dans un lieu bien aéré près d'une prise électrique appropriée.
Contrôlez le niveau d'électrolyte et nettoyez les batteries.
Note: Avant de charger les batteries au maximum, remplissez-les d'eau distillée ou déminéralisée ; voir Ajout d'eau distillée ou déminéralisée dans les batteries.
Important: Charge les batteries au maximum avant d'ajouter de l'eau dans les batteries. L'électrolyte augmente de volume pendant la charge. Pour cette raison, si vous remplissez une batterie dont le niveau d'électrolyte est bas avant de la charger au maximum, l'électrolyte peut déborder et fuir par l'évent.
Branchez un cordon de chargeur de calibre 16 (ou de plus gros diamètre), de 2,5 m ou plus court à la prise de charge de la machine (Figure 38).
Note: Vérifiez toujours que la tension réglée pour le chargeur correspond à la tension de la prise d'alimentation utilisée.
Note: Lorsque la température ambiante est élevée, déposez l'ensemble sièges pour optimiser le temps de charge ; voir Dépose de l'ensemble sièges. Si le chargeur de batterie est trop chaud, la charge peut ne pas s'effectuer correctement. À basses températures, la charge des batteries peut demander plus de temps.

Branchez le cordon du chargeur dans la prise d'alimentation.
Note: Le voyant vert du chargeur clignote pendant la charge des batteries. Lorsque les batteries sont chargées au maximum, le voyant vert cesse de clignoter et reste allumé.
Débranchez le cordon de la prise secteur.
Débranchez le chargeur de la machine.
Reportez-vous au tableau suivant et à la Figure 38 pour connaître la signification des différentes couleurs du voyant d'état du chargeur.
| Couleur du voyant d'état du chargeur | Continu/clignotant | Signification |
| Vert | Continu | Charge terminée |
| Vert | Clignotant | Clignotement bref – moins de 80 % de chargeLong clignotement – plus de 80 % de charge |
| Orange | Clignotant | Mode puissance réduite – tension CA faible ou température interne élevée du chargeur ; chargez immédiatement |
| Rouge | Clignotant | Erreur de chargeur – réinitialiser l'alimentation du chargeurSi l'erreur persiste, reportez-vous aux codes de clignotement dans le manuel du chargeur |
| Périodicité d'entretien | Procédure d'entretien |
|---|---|
| À chaque utilisation ou une fois par jour |
|
Garez la machine sur une surface plane et horizontale, serrez le frein de stationnement, coupez le moteur, enlevez la clé et levez le plateau de chargement ; voir Levage du plateau de chargement à la position de déchargement.
Relevez l'ensemble sièges pour accéder aux batteries ; voir Levage et abaissement de l'ensemble sièges.
Sur chaque batterie, vérifiez si la pastille est noire ou blanche (Figure 39).
Note: Une pastille noire indique que la batterie est pleine d'eau. Une pastille blanche indique que le niveau d'eau est insuffisant dans la batterie.

Si les pastilles sont blanches, vous devez ajouter de l'eau distillée ou déminéralisée dans les batteries ; voir Ajout d'eau distillée ou déminéralisée dans les batteries.
| Périodicité d'entretien | Procédure d'entretien |
|---|---|
| Toutes les 25 heures |
|
Important: Charge les batteries au maximum avant d'ajouter de l'eau dans les batteries. L'électrolyte augmente de volume pendant la charge. Pour cette raison, si vous remplissez une batterie dont le niveau d'électrolyte est bas avant de la charger au maximum, l'électrolyte peut déborder et fuir par l'évent.
Important: Utilisez seulement de l'eau distillée ou déminéralisée propre pour remplir les batteries. L'utilisation d'eau du robinet peut endommager les batteries ou réduire leur vie utile.
Garez la machine sur une surface plane et horizontale, serrez le frein de stationnement, coupez le moteur, enlevez la clé et levez le plateau de chargement ; voir Levage du plateau de chargement à la position de déchargement.
Chargez les batteries au maximum ; voir Charge des batteries.
Relevez l'ensemble sièges pour accéder aux batteries ; voir Levage et abaissement de l'ensemble sièges.
Branchez la pompe à eau manuelle Toro à l'orifice de remplissage d'eau (Figure 40).

Pompez de l'eau dans les batteries jusqu'à ce que les pastilles deviennent noires au sommet des batteries, ce qui indique qu'elles sont remplie d'eau.
Important: Ne remplissez pas la batterie excessivement. L'électrolyte débordera sur d'autres parties de la machine ce qui causera une grave corrosion et de gros dommages. En outre, cela peut réduire la vie de la batterie.
Lorsque la machine commence à perdre de l'autonomie ou lorsque la durée du cycle de décharge ou de charge est réduite de manière significative, les batteries sont probablement trop vieilles et ne peuvent plus garder la charge aussi longtemps. Rendez-vous chez un concessionnaire-réparateur agréé et demandez-lui de tester les batteries pour déterminer si elles doivent être remplacées. Le concessionnaire pourra se charger du remplacement si vous le souhaitez. Si vous préférez remplacer vous-même les batteries, procédez comme suit :
Élevez le plateau de chargement, tournez la clé à la position ARRêT et enlevez la clé.
Débranchez le câble négatif principal (noir) de la batterie qui relie la rangée de batteries au point de masse de la machine (Figure 41).
Note: Les câbles principaux de batterie sont longs comparés aux câbles d'interconnexion de batterie.

Débranchez le câble positif principal (rouge) qui relie la rangée de batteries au contacteur principal de la machine (Figure 41).
Retirez tous les câbles d'interconnexion des batteries.
Enlevez les dispositifs de retenue situés entre les batteries.
Enlevez toutes les batteries et recyclez-les conformément à la réglementation locale en matière d'environnement.
Assemblez les nouvelles batteries dans la machine aux emplacements des batteries que vous avez déposées à l'opération 3.
Note: Tenez compte de la polarité lors de la mise en place des batteries neuves (Figure 41).
Installez les dispositifs de retenue des batteries et serrez les écrous jusqu'à ce que les batteries soient solidement bloquées en place.
Reliez les batteries entre elles, comme montré à la Figure 41, avec les câbles d'interconnexion que vous avez retirés à l'opération 1.
Vérifiez que les bornes des batteries sont propres et exemptes d'oxydation.
Branchez le câble positif principal (rouge) entre la rangée de batteries et la machine (Figure 41).
Branchez le câble négatif principal (noir) entre la rangée de batteries et la machine (Figure 41).
Serrez les écrous de fixation des câbles de batterie jusqu'à ce que les dispositifs de retenue bloquent solidement la batterie en place.
Enduisez les bornes des batteries de produit de protection Toro pour bornes de batteries.
Vérifiez que les capuchons en caoutchouc au bout de chaque câble sont bien en place sur les bornes des batteries.
Insérez la clé dans le commutateur d'allumage et tournez-la en position CONTACT.
Abaissez le plateau de chargement, tournez la clé à la position ARRêT et enlevez la clé.
Chargez les batteries au maximum avant de les placer sur la machine remisée. Branchez le chargeur à une prise murale pendant le remisage de la machine et des batteries. Laissez le chargeur branché à une prise murale et une prise de charge pendant le remisage pour maintenir les batteries chargées et les empêcher de geler ; sinon, chargez les batteries au moins une fois par mois.
Important: S'il n'est pas possible de brancher la machine pendant son remisage, chargez les batteries au maximum au moins une fois par mois. Les batteries se déchargent à la longue ce qui peut les endommager jusqu'à les rendre inutilisables, même si elles sont neuves.
Le système électrique contient 4 fusibles ; les autres emplacements sont inoccupés pour les options. Ils sont situés sous l'ensemble sièges, derrière une batterie sur le côté droit de la machine (Figure 42).
| Alimentation principale | 10 A |
| Relais électrique | 20 A |
| Prise USB | 5 A |
| Phares | 10 A |
| Kit de levage en option – emplacement libre | 15 A |
| Avertisseur sonore – en option (de série sur les modèles internationaux uniquement) | 30 A |

Débranchez les batteries ; voir Débranchement des batteries.
Ouvrez le capot.
Débranchez le connecteur électrique de faisceau du connecteur du phare (Figure 43).

Déposez les clips rapides qui fixent le phare à son support (Figure 43).
Note: Conservez toutes les pièces pour monter le phare de rechange.
Sortez le phare en le déplaçant vers l'avant à travers l'ouverture dans le pare-chocs avant (Figure 43).
Montez le phare neuf par l'ouverture dans le pare-chocs (Figure 43).
Note: Veillez à bien aligner les ergots sur les trous dans le support de montage derrière le pare-chocs.
Fixez le phare avec les clips rapides retirés à l'opération 4.
Branchez le connecteur électrique de faisceau sur le connecteur de l'ampoule (Figure 43).
Réglez les phares de façon à diriger les faisceaux à la position voulue ; voir Réglage des phares.
Chaque fois que vous déposez ou remplacez un phare, ajustez la position du faisceau comme suit :
Garez la machine sur une surface plane et horizontale, avec les phares à environ 7,6 m de distance d'un mur (Figure 44).
Mesurez la distance entre le sol et le centre du phare, et tracez un repère sur le mur à la même hauteur.
Tournez la clé à la position CONTACT et allumez les phares.
Notez l'emplacement du faisceau des phares sur le mur.
La partie la plus brillante du faisceau doit se trouver 20 cm en dessous du repère que vous avez tracé sur le mur (Figure 44).

Au dos du phare, tournez les vis de réglage (Figure 43) pour orienter le phare et aligner la position de son faisceau.
Branchez les batteries et fermez le capot ; voir Branchement des batteries.
| Périodicité d'entretien | Procédure d'entretien |
|---|---|
| Toutes les 100 heures |
|
Vérifiez l'état et l'usure des pneus et des jantes.
Note: Les accidents de conduite, comme une collision contre une bordure (de trottoir), peuvent endommager un pneu ou une jante et dérégler en outre le parallélisme des roues. Pour cette raison, vérifiez l'état des pneus après tout accident.
Serrez les écrous de roues à un couple de 108 à 122 N·m.
| Périodicité d'entretien | Procédure d'entretien |
|---|---|
| Toutes les 100 heures |
|
Le volant étant en centré (Figure 45), tournez-le vers la gauche ou la droite. Si vous tournez le volant de plus de 13 mm vers la gauche ou la droite et que les roues ne tournent pas, vérifiez que les composants suivants de la direction et la suspension ne sont pas desserrés ou endommagés :
Joint de l'arbre de direction sur la crémaillère de direction.
Important: Vérifier l'état et la fixation du joint de l'arbre de pignon (Figure 46).
Biellettes de crémaillère de direction


| Périodicité d'entretien | Procédure d'entretien |
|---|---|
| Toutes les 100 heures |
|
Vérifiez que les pneus avant sont gonflés à 0,82 bar.
Ajoutez une masse équivalente au poids moyen de l'utilisateur sur le siège du conducteur ou demandez à l'utilisateur de s'asseoir sur le siège. La masse ou l'utilisateur doit rester sur le siège pendant toute la procédure de réglage.
Sur une surface plane et horizontale, faites reculer la machine en ligne droite sur 2 à 3 m puis revenez à la position de démarrage d'origine. Cela permet à la suspension de se stabiliser à la position d'utilisation.
Outils fournis par le propriétaire de la machine : clé à ergots (réf. Toro 132-5069) ; voir un distributeur Toro agréé.
Important: Effectuez le réglage du carrossage uniquement si vous utilisez un accessoire avant ou si l'usure des pneus est irrégulière.
Contrôlez le carrossage de chaque roue ; il doit être aussi proche de zéro que possible.
Note: Les roues doivent être positionnées de sorte que la bande de roulement soit distribuée uniformément sur le sol pour réduire le risque d'usure irrégulière.
Si le carrossage des roues n'est pas correct, utilisez la clé à ergots pour tourner le collet sur l'amortisseur et orienter la roue correctement (Figure 47).

Important: Avant de régler le pincement, vérifiez que le réglage du carrossage est aussi proche de zéro que possible ; voir Réglage du carrossage.
Placez les roues avant en position ligne droite.
Mesurez la distance entre les roues avant à hauteur d'essieu, à l'avant et à l'arrière des roues (Figure 48).

Si les mesures ne sont pas comprises entre 0 et 6 mm, desserrez les écrous de blocage aux deux extrémités extérieures des biellettes (Figure 49).

Tournez les biellettes de façon à déplacer l'avant de la roue vers l'intérieur ou l'extérieur.
Resserrez les écrous de blocage des biellettes quand le réglage correct est obtenu.
Vérifiez si le volant parcourt toute sa course dans les deux sens.
| Périodicité d'entretien | Procédure d'entretien |
|---|---|
| Toutes les 100 heures |
|
Garez la machine sur une surface plane et horizontale.
Serrez le frein de stationnement.
Coupez le moteur et enlevez la clé.
Enlevez le bouchon de remplissage de la boîte-pont (Figure 50).
Note: Le niveau de liquide doit atteindre la base du bouchon de remplissage.

Si le niveau de liquide est trop bas, enlevez le bouchon de remplissage et ajoutez le liquide spécifié jusqu'à ce qu'il ressorte par l'orifice (Figure 50).
Remettez le bouchon de remplissage en place et vissez-le à un couple de 20 à 27 N·m.
| Périodicité d'entretien | Procédure d'entretien |
|---|---|
| Toutes les 100 heures |
|
| Toutes les 800 heures |
|
Type de liquide : SAE 10W-30 (classe de service API SJ ou mieux)
Capacité de liquide : 0,66 litre
Placez un bac de vidange sous la protection de la boîte-pont (Figure 51).

Retirez les boulons de la protection de la boîte-pont moteur et vidangez tout le liquide (Figure 51).
Note: Conservez la protection de la boîte-pont et le boulon.
Fixez la protection de la boîte-pont en place avec les boulons retirés précédemment, et serrez les boulons à un couple de 22 à 32 N·m.
Retirez le bouchon de remplissage de la boîte-pont et remplissez celle-ci avec le liquide spécifié jusqu'à ce qu'il ressorte par l'orifice de remplissage (Figure 50).
Remettez le bouchon de remplissage en place et vissez-le à un couple de 20 à 27 N·m.
Serrez le frein de stationnement en tirant le levier vers vous jusqu'à ce que vous sentiez une tension.
Si vous ne sentez pas une tension quand vous tirez le frein de stationnement vers vous à une distance de 11,4 à 16,5 cm du symbole « P » sur la planche de bord, vous devez régler le frein de stationnement ; voir Réglage du frein de stationnement.
Vérifiez que le frein de stationnement est desserré.
Utilisez des chandelles pour soulever l'arrière de la machine ; voir Levage de la machine.
Utilisez 2 clés, une pour maintenir le tenon de réglage en place sur l'étrier et l'autre pour desserrer l'écrou de blocage de 1/4 de tour (Figure 52).

Tout en maintenant le tenon de réglage et l'écrou de blocage en place, tournez le tenon pour le serrer (Figure 52).
Note: Effectuez cette procédure jusqu'à ce que vous sentiez un frottement sur la roue.
Tout en maintenant le tenon de réglage et l'écrou de blocage en place, tournez le tenon en arrière de 1/4 de tour (Figure 52).
Tout en maintenant le tenon de réglage et l'écrou de blocage en place, serrez l'écrou de blocage (Figure 52).
Effectuez les opérations 1 à 6 de l'autre côté.
Vérifiez que le frein de stationnement est réglé à la tension correcte ; voir Contrôle du frein de stationnement.
Note: S'il n'est pas possible de régler le frein de stationnement à la tension correcte, il se peut que les plaquettes de frein soient usées et doivent être remplacées. Pour tout renseignement complémentaire, adressez-vous à votre concessionnaire Toro agréé.
| Périodicité d'entretien | Procédure d'entretien |
|---|---|
| À chaque utilisation ou une fois par jour |
|
Type de liquide de frein : DOT 3
Garez la machine sur une surface plane et horizontale, serrez le frein de stationnement, coupez le moteur et enlevez la clé.
Soulevez le capot pour accéder au maître-cylindre de frein et au réservoir (Figure 53).

Observez le repère de niveau sur le côté du réservoir (Figure 54).
Note: Le niveau doit se situer au-dessus du repère du minimum.

Si le niveau de liquide est trop bas, procédez comme suit :
Nettoyez la surface autour du bouchon du réservoir et enlevez le bouchon (Figure 53).
Versez du liquide de frein DOT 3 dans le réservoir jusqu'à ce que le niveau dépasse le repère minimum (Figure 54).
Note: Ne remplissez pas excessivement le réservoir de liquide de frein.
Remettez le bouchon du réservoir (Figure 53).
Fermez le capot de la machine.
| Périodicité d'entretien | Procédure d'entretien |
|---|---|
| Toutes les 100 heures |
|
Important: Les freins sont l'un des composants de sécurité fondamentaux de la machine. Vérifiez-les attentivement aux intervalles d'entretien recommandés pour garantir le bon fonctionnement et la sécurité de la machine.
Vérifiez l'état et l'usure des segments de frein. Remplacez les segments de frein si la garniture (plaquette de frein) fait moins de 1,6 mm d'épaisseur.
Vérifiez si le support de garniture et autres composants semblent excessivement usés ou déformés. Remplacez les composants endommagés.
Contrôlez le niveau du liquide de frein ; voir Contrôle du niveau de liquide de frein.
| Périodicité d'entretien | Procédure d'entretien |
|---|---|
| Toutes les 400 heures |
|
Demandez à votre distributeur Toro agréé de vérifier et de remplacer éventuellement les plaquettes des freins de service et du frein de stationnement.
| Périodicité d'entretien | Procédure d'entretien |
|---|---|
| Toutes les 1000 heures |
|
Contactez un distributeur Toro agréé.
Si le loquet du plateau de chargement est déréglé, le plateau tressaute pendant le déplacement de la machine. Vous pouvez régler les ergots de verrouillage de sorte que les verrous maintiennent le plateau bien ajusté sur le châssis.
Vérifiez que le plateau de chargement se verrouille.
Note: Si le plateau de chargement ne se verrouille pas, la gâche du loquet est probablement trop basse. Si le plateau de chargement se verrouille mais tressaute pendant la conduite, la gâche est probablement trop haute.
Levez le plateau de chargement ; Levage du plateau de chargement à la position de déchargement.
Desserrez les 2 boulons sur la gâche du loquet et montez ou descendez la gâche selon qu'elle est trop haute ou trop basse (Figure 55).

Serrez les 2 boulons sur la gâche du loquet du plateau (Figure 55).
Vérifiez que le réglage est correct en verrouillant plusieurs fois le plateau de chargement.
| Périodicité d'entretien | Procédure d'entretien |
|---|---|
| À chaque utilisation ou une fois par jour |
|
Au besoin, lavez la machine seulement avec de l'eau ou en y ajoutant un détergent doux. Vous pouvez laver la machine à l'aide d'un chiffon.
Important: Ne nettoyez pas la machine avec de l'eau saumâtre ou recyclée.
Important: Il est déconseillé de laver la machine au jet d'eau. Vous risqueriez d'endommager le système électrique, de décoller des autocollants importants ou d'enlever la graisse nécessaire aux points de frottement. N'utilisez pas trop d'eau, surtout près du panneau de commande, du moteur, du contrôleur du moteur, du chargeur, de l'arrière de la planche de bord et des batteries.
Avant de quitter la position d'utilisation, coupez le moteur, enlevez la clé et attendez l'arrêt complet de tout mouvement. Laissez refroidir la machine avant de la régler, d'en faire l'entretien, de la nettoyer ou de la remiser.
Ne rangez pas la machine ni les bidons de carburant à proximité d'une flamme nue, d'une source d'étincelles ou d'une veilleuse, telle celle d'un chauffe-eau ou autre appareil.
Garez la machine sur une surface plane et horizontale, serrez le frein de stationnement, coupez le moteur et enlevez la clé.
Enlevez toutes les saletés et impuretés déposées sur la machine, y compris à l'extérieur du moteur.
Important: Vous pouvez laver la machine avec de l'eau et un détergent doux. Ne lavez pas la machine au jet d'eau haute pression. Le lavage à haute pression peut endommager le système électrique ou enlever la graisse nécessaire aux points de frottement. N'utilisez pas trop d'eau, surtout près du panneau de commande, des feux, du moteur et de la batterie.
Contrôlez les freins ; voir Contrôle du frein de stationnement.
Contrôlez la pression des pneus ; voir Contrôle de la pression des pneus.
Contrôlez et resserrez tous les boulons, écrous et vis. Réparez ou remplacez toute pièce endommagée.
Peignez toutes les surfaces métalliques éraflées ou mises à nu.
Note: Une peinture pour retouches est disponible chez les concessionnaires-réparateurs agréés.
Rangez la machine dans un endroit propre et sec, comme un garage ou une remise.
Retirez la clé et rangez-la en lieu sûr, hors de la portée des enfants.
Couvrez la machine pour la protéger et la garder propre.
Chargez les batteries au maximum avant de remiser la machine ; voir Charge des batteries. Branchez le chargeur à une prise murale pendant le remisage de la machine et des batteries. Laissez le chargeur branché à une prise murale et une prise de charge pendant le remisage pour maintenir les batteries chargées et les empêcher de geler ; sinon, chargez les batteries au moins une fois par mois.
Branchez le chargeur pendant le remisage de la machine pour maintenir la vie complète des batteries.
Important: S'il n'est pas possible de brancher la machine pendant son remisage, chargez les batteries au maximum au moins une fois par mois. Les batteries se déchargent à la longue ce qui peut les endommager jusqu'à les rendre inutilisables, même si elles sont neuves.
Après avoir chargé au maximum les batteries, remplissez-les d'eau distillée ou déminéralisée avant le remisage ; voir Ajout d'eau distillée ou déminéralisée dans les batteries.
| Problem | Possible Cause | Corrective Action |
|---|---|---|
| Le voyant d'état de la machine reste allumé. |
|
|
| Le voyant d'état de la machine a clignoté 1 fois. |
|
|
| Le voyant d'état de la machine a clignoté 2 fois. |
|
|
| Le voyant d'état de la machine a clignoté 3 fois. |
|
|
| Le voyant d'état de la machine a clignoté 4 fois. |
|
|
| Le voyant d'état de la machine a clignoté 5 fois. |
|
|
| Le voyant d'état de la machine a clignoté 6 fois. |
|
|
| Le voyant d'état de la machine a clignoté 7 fois. |
|
|
| Le voyant d'état de la machine a clignoté 8 fois. |
|
|
| Le voyant d'état de la machine a clignoté 10 fois. |
|
|
| Le voyant d'état de la machine a clignoté 11 fois. |
|
|
| Le voyant d'état de la machine a clignoté 12 fois. |
|
|
| Le voyant d'état de la machine a clignoté 13 fois. |
|
|
| Le voyant d'état de la machine a clignoté 14 fois. |
|
|
| Le voyant d'état de la machine ne s'allume pas. |
|
|