| Cadenza di manutenzione | Procedura di manutenzione |
|---|---|
| Prima di ogni utilizzo o quotidianamente |
|
Questo veicolo polifunzionale è stato progettato principalmente per trasportare persone e carichi di materiale su percorsi fuoristrada. L'utilizzo di questo prodotto per scopi diversi da quelli previsti potrebbe rivelarsi pericoloso per voi ed eventuali astanti.
Leggere attentamente queste informazioni per l’uso e la manutenzione del prodotto e per evitare infortuni e danni. Il proprietario è responsabile del corretto utilizzo del prodotto e della sicurezza.
Visitate il sito www.Toro.com per ricevere materiali di formazione sulla sicurezza e il funzionamento dei prodotti, avere informazioni sugli accessori, ottenere assistenza nella ricerca di un rivenditore o registrare il vostro prodotto.
Ogni volta che vi occorre assistenza, ricambi Toro originali o informazioni aggiuntive, contattate un Centro assistenza autorizzato o il Servizio clienti Toro e tenete pronto il numero di modello e il numero di serie del vostro prodotto. Il numero del modello e il numero di serie si trovano nella posizione illustrata nella Figura 1. Scrivere i numeri nell’apposito spazio.
Important: Con un dispositivo mobile è possibile effettuare la scansione del codice QR sull’adesivo che riporta il numero di serie (se presente) per accedere alla garanzia, ai ricambi e ad altre informazioni sui prodotti.

Per evidenziare le informazioni vengono utilizzate due parole. Importante indica informazioni di carattere meccanico di particolare importanza e Nota evidenzia informazioni generali di particolare rilevanza.
Il simbolo di avviso di sicurezza (Figura 2) compare sia in questo manuale sia sulla macchina per richiamare la vostra attenzione su importanti messaggi di sicurezza di cui dovrete seguire le indicazioni per evitare incidenti. Questo simbolo verrà accompagnato dalle parole Pericolo, Avvertenza o Attenzione.
Pericolo indica una situazione di pericolo imminente che, se non evitata, determina la morte o gravi infortuni.
Avvertenza indica una situazione di potenziale pericolo che, se non evitata, può determinare la morte o gravi infortuni.
Attenzione indica una situazione di potenziale pericolo che, se non evitata, potrebbe determinare infortuni lievi o moderati.

Questo prodotto è conforme a tutte le direttive europee pertinenti; vedere i dettagli nella Dichiarazione di Conformità (DICO) specifica del prodotto, fornita a parte.
CALIFORNIA
Avvertenza norma "Proposition 65"
Il cavo di alimentazione di questo prodotto contiene piombo, sostanza chimica che nello Stato della California è considerata causa di anomalie e di altre problematiche della riproduzione. Lavate le mani dopo averlo maneggiato.
I poli delle batterie, i morsetti e gli accessori attinenti contengono piombo e relativi composti, sostanze chimiche che nello Stato della California sono considerate cancerogene e causa di anomalie della riproduzione. Lavate le mani dopo aver maneggiato la batteria.
Questa macchina è stata progettata in conformità con i requisiti della norma SAE J2258 (novembre 2016).
Questo prodotto è in grado di procurare lesioni agli individui. Rispettate sempre tutte le norme di sicurezza per evitare gravi infortuni alla persona.
Leggete e comprendete il contenuto del presente Manuale dell'operatore prima di avviare la macchina. Accertatevi che chiunque utilizzi il prodotto sappia come farlo funzionare e comprenda le avvertenze.
Prestate la massima attenzione mentre utilizzate la macchina. Non intraprendete alcuna attività che vi possa distrarre; in caso contrario potreste causare infortuni o danni alla proprietà.
Non mettete le mani o i piedi vicino a componenti in movimento della macchina.
Non utilizzate la macchina senza che tutti gli schermi e gli altri dispositivi di protezione siano montati e correttamente funzionanti.
Tenete gli astanti e i bambini lontano dall’area di lavoro. Non permettete mai che bambini e ragazzi utilizzino la macchina.
Arrestate e spegnete la macchina e togliete la chiave prima di effettuare interventi di assistenza.
L'errato utilizzo o la manutenzione di questa macchina
può causare infortuni. Per ridurre il rischio di incidenti,
rispettate le seguenti norme di sicurezza e fate sempre attenzione
al simbolo di allarme (
), che indica: Attenzione, Avvertenza o Pericolo
– “norme di sicurezza”. Il mancato rispetto di queste
istruzioni può provocare infortuni o morte.
![]() |
Gli adesivi di sicurezza e di istruzione sono chiaramente visibili e sono affissi accanto a zone particolarmente pericolose. Sostituite eventuali adesivi se danneggiati o mancanti. |











Note: Stabilite i lati sinistro e destro della macchina dalla normale posizione di guida.
Parti necessarie per questa operazione:
| Volante | 1 |
| Coperchio del volante | 1 |
| Rondella (½") | 1 |
| Coperchietto antipolvere | 1 |
Togliete la protezione, se installata, dal mozzo del volante (Figura 3).
Togliete il dado di bloccaggio (½") dal piantone dello sterzo (Figura 3).
Fate scorrere volante, coperchietto antipolvere e rondella (½") sull'albero dello sterzo (Figura 3).
Note: Con le ruote anteriori diritte, orientate il volante in modo che la razza più piccola sul volante sia verticale.
Fissate il volante all'albero con il controdado (½") e serratelo tra 18 e 30 N∙m.
Montate la protezione sul volante (Figura 3).

Controllate il livello dell'acqua nelle batterie prima di azionare la macchina; fate riferimento a Controllo del livello dell'acqua delle batterie.
Assicuratevi che le batterie siano cariche; fate riferimento a Carica delle batterie.
Controllate il livello del liquido dei freni prima di azionare la macchina; fate riferimento a Controllo del livello del fluido dei freni.
Controllate la pressione dell'aria degli pneumatici; fate riferimento a Controllo della pressione degli pneumatici.
Per garantire prestazioni ottimali dell'impianto frenante, brunite (rodate) i freni prima dell'uso.
Portate la macchina a pieno regime, applicate i freni per fermare rapidamente la macchina senza bloccare gli pneumatici.
Ripetete questa procedura 10 volte, attendendo 1 minuto tra le fermate, per evitare di surriscaldare i freni.
Important: Questa procedura è più efficace se la macchina ha un carico di 227 kg.
Parti necessarie per questa operazione:
| Manuale dell'operatore | 1 |
| Manuale d'uso del motore | 1 |
| Scheda di registrazione | 1 |
| Modulo di controllo preconsegna | 1 |
| Certificato di qualità | 1 |
| Chiave | 2 |
Read the Operator's Manual and the engine owner's manual.
Compilate la scheda di registrazione.
Compilate il Modulo di controllo preconsegna.
Controllate il Certificato di qualità


Familiarizzate con tutti i comandi prima di avviare il motore e utilizzare la macchina.

Utilizzate il pedale dell'acceleratore (Figura 6) per variare la velocità di trazione della macchina. Premendo il pedale dell'acceleratore avviate la macchina. Premendo ulteriormente il pedale aumenterete la velocità di trazione. Il rilascio del pedale consente di rallentare la macchina e di arrestarla.
La velocità di avanzamento massima in modalità performance è di 26 km/h, come illustrato nella Figura 9.
La velocità di avanzamento massima in modalità economy è di 19 km/h, come illustrato nella Figura 9.
Utilizzate il pedale del freno per arrestare o rallentare la macchina (Figura 6).
L'utilizzo della macchina con i freni usurati o regolati male può comportare lesioni alle persone.
Se la corsa del pedale del freno si trova entro 25 mm dalla pedana della macchina, regolate o riparate i freni.
La leva del freno di stazionamento è situata sul quadro di comando (Figura 6).
Ogni volta che arrestate la macchina, inserite il freno di stazionamento per evitare movimenti accidentali della macchina. Se la macchina è parcheggiata su una pendenza ripida, assicuratevi di inserire il freno di stazionamento.
Per inserire il freno di stazionamento, tirate la relativa leva verso di voi (Figura 7).

Per disinserire il freno di stazionamento, spingete il pulsante sopra la leva del freno di stazionamento, tirate la leva del freno di stazionamento verso di voi per rilasciare la pressione e poi spingete la leva del freno di stazionamento in avanti (Figura 8).

Il selettore di direzione si trova sulla sinistra della leva del freno di stazionamento. Il selettore di direzione presenta 3 posizioni: MARCIA AVANTI, RETROMARCIA e FOLLE (Figura 6).
Note: La macchina può essere accesa in qualsiasi posizione, ma si muove solo nelle posizioni MARCIA AVANTI e RETROMARCIA.
Important: Prima di cambiare direzione fermate sempre la macchina.
Il pulsante dell'avvisatore acustico è situato sul quadro di comando (Figura 6). Premete il pulsante per attivare l'avvisatore acustico.
Utilizzate l'interruttore delle luci (Figura 6) per accendere i fari. Spingete in alto l'interruttore delle luci per accendere i fari. Spingete in basso l'interruttore delle luci per spegnere i fari.
L'indicatore di scaricamento della batteria è situato a sinistra del piantone di sterzo (Figura 6). L'indicatore di scaricamento della batteria indica la carica residua delle batterie. Quando le batterie della macchina sono completamente cariche, le 10 barre di indicazione vanno dalla posizione 0 alla 1. Man mano che utilizzate la carica, le barre di indicazione scompaiono, a partire dal lato destro del contatore. Per informazioni dettagliate sul misuratore della carica della batteria, consultate Descrizione e utilizzo delle batterie.
Il contaore si trova sulla destra dell'interruttore delle luci (Figura 6). Utilizzate il contaore per determinare il numero totale di ore di esercizio. Il contaore inizia a funzionare girando la chiave di accensione in posizione di ACCENSIONE o se la macchina è in funzione.
Note: Quando la macchina è in funzione, il contaore lampeggia continuamente, registrando l'utilizzo.
La presa di alimentazione USB si trova sulla sinistra della leva del freno di stazionamento (Figura 6). La presa di alimentazione viene utilizzata per alimentare accessori elettrici.
Important: Inserite il tappo di gomma nel punto di alimentazione USB quando non lo utilizzate per prevenire danni a suo carico.
Utilizzate l'interruttore a chiave (Figura 6) per avviare e spegnere la macchina.
L’interruttore a chiave ha due posizioni: ACCESO e SPENTO. Girate la chiave in senso orario, in posizione di ACCENSIONE, per mettere in funzione la macchina. Quando fermate la macchina, girate la chiave in senso antiorario fino alla posizione di SPEGNIMENTO per arrestare la macchina. Togliete la chiave ogni volta che abbandonate la macchina.
L'interruttore di controllo del limite di velocità, situato sotto il gruppo sedile, ha 2 posizioni: PERFORMANCE ed ECONOMY. Girate l'interruttore in senso orario in posizione ECONOMY per limitare la velocità massima della macchina a 19 km/h. Girate l'interruttore in senso antiorario in posizione PERFORMANCE per ripristinare la velocità massima della macchina a 26 km/h, come illustrato nella Figura 9.

La spia dello stato si trova sul lato destro della leva del freno di stazionamento sul quadro di comando (Figura 6).
Quando la macchina è accesa, la spia di stato verde è accesa, fissa o lampeggiante.
Se la spia è fissa, indica che la macchina è pronta per il normale funzionamento. Se la spia è lampeggiante, c'è un problema da risolvere prima di proseguire con il normale utilizzo della macchina.
Se la spia dello stato lampeggia 2 volte, ciò indica che il freno di stazionamento è inserito mentre il selettore della direzione è in posizione di MARCIA AVANTI o RETROMARCIA. Disinserite il freno di stazionamento per spegnere la spia dello stato.
Fate riferimento a se la spia dello stato lampeggia per più di 2 volte.
Le maniglie del passeggero sono situate all'esterno di ciascun sedile (Figura 10).

Note: Specifiche e disegno sono soggetti a variazione senza preavviso.
| Peso di base | 633 kg a secco |
| Capacità nominale (su terreno piano) | 544 kg totali, compresi 91 kg per l'operatore e 91 kg per il passeggero, il carico, gli accessori e gli attrezzi. |
| Peso lordo del veicolo (GVW) – su terreno pianeggiante | 1.177 kg totali, inclusi tutti i pesi elencati sopra |
| Capacità di carico massima (su terreno pianeggiante) | 363 kg totali, inclusi gli accessori montati posteriormente |
| Capacità massima del supporto accessorio del pianale posteriore | 45 kg totali |
| Capacità di traino | Peso del timone: 91 kg |
| Peso lordo del rimorchio (GTW): 680 kg | |
| Larghezza totale | 119 cm |
| Lunghezza totale | 302 cm |
| Altezza totale | 127,5 cm |
| Distanza da terra | 21,6 cm nella parte anteriore, senza carico né operatore |
| 14 cm nella parte posteriore, senza carico o operatore | |
| Interasse | 220 cm |
| Carreggiata (da linea centrale a linea centrale) | Anteriore: 119 cm |
| Posteriore: 119 cm | |
| Lunghezza del pianale | Interna: 102 cm |
| Esterna: 114,3 cm | |
| Larghezza del pianale | All'interno: 98 cm |
| All’esterno dei parafanghi stampati: 107,3 cm | |
| Altezza del pianale | 28 cm interna |
Le specifiche elencate si riferiscono a un veicolo con batterie Trojan T-125.
L'installazione di batterie non standard può ridurre la capacità del pianale.
È disponibile una gamma di attrezzi ed accessori approvati da Toro per l'impiego con la macchina, per ottimizzare ed ampliare le sue applicazioni. Richiedete la lista degli attrezzi e accessori approvati a un Centro assistenza o a un distributore Toro autorizzati, oppure visitate www.Toro.com.
Per garantire prestazioni ottimali e mantenere sempre la macchina in conformità con le norme di sicurezza, utilizzate esclusivamente ricambi e accessori originali Toro. L'utilizzo di parti di ricambio e accessori di altri produttori può essere pericoloso e rendere nulla la garanzia.
Non lasciate mai che bambini o persone non addestrate o fisicamente inabili utilizzino o effettuino interventi di manutenzione sulla macchina. Le normative locali possono imporre limiti all'età dell'operatore. Il proprietario è responsabile della formazione di tutti gli operatori e i meccanici.
Acquisite familiarità con il funzionamento sicuro dell'attrezzatura, dei comandi dell'operatore e dei segnali di sicurezza.
Spegnete la macchina, togliete la chiave e attendete che tutte le parti in movimento si arrestino prima di abbandonare la posizione dell'operatore. Lasciate raffreddare la macchina prima di eseguire interventi di riparazione, manutenzione, pulizia o di rimessarla.
Imparate come arrestare e spegnere rapidamente la macchina.
Assicuratevi che il numero di occupanti (voi e il/i passeggero/i) non superi il numero di maniglie presenti sulla macchina.
Controllate che tutti i dispositivi di sicurezza e gli adesivi siano al loro posto. Riparate o sostituite tutti i dispositivi di sicurezza illeggibili o mancanti. Non azionate la macchina se non sono presenti e funzionanti.
| Cadenza di manutenzione | Procedura di manutenzione |
|---|---|
| Prima di ogni utilizzo o quotidianamente |
|
Ogni giorno, prima di avviare la macchina, effettuate le procedure Ogni utilizzo/Giornaliere elencate in .
| Cadenza di manutenzione | Procedura di manutenzione |
|---|---|
| Prima di ogni utilizzo o quotidianamente |
|
Specifiche della pressione dell'aria negli pneumatici anteriori e posteriori: da 1,65 a 2,07 bar.
Important: Non superate la pressione dell'aria massima riportata sulle pareti laterali degli pneumatici.
Note: La pressione dell'aria necessaria è determinata dal carico utile che si intende trasportare.
Controllare la pressione d'aria degli pneumatici.
Utilizzate una pressione minore dell'aria negli pneumatici per carichi utili più leggeri, per ridurre la compattazione del suolo, regolarizzare la corsa e ridurre al minimo il segno degli pneumatici a terra.
Utilizzate una pressione maggiore dell'aria negli pneumatici per trasportare carichi utili più elevati a velocità superiori.
Se necessario, regolate la pressione dell'aria negli pneumatici aggiungendo o togliendo aria negli pneumatici.

La macchina contiene 8 batterie al piombo acido a carica profonda che forniscono alimentazione al motore e agli accessori. Le batterie a carica profonda non sono come le batterie delle automobili. Le batterie delle automobili sono progettate in modo da fornire un colpo di corrente per avviare la macchina e una corrente moderata per accendere i fari e gli accessori quando il motore è spento o al minimo. L'alternatore ricarica continuamente la batteria mentre l'automobile è in marcia, quindi la batteria dell'automobile scende raramente sotto il 90% del massimo livello di carica.
La batteria a carica profonda è intesa come fonte principale di corrente per un'alimentazione costante. Le batterie a carica profonda si scaricano normalmente al 20–30% del massimo livello di carica. Una scarica di questo livello è considerata una scarica profonda.
Important: Cicli di scaricamento completo ripetuti riducono la vita utile della batteria
Le batterie al piombo-acido producono elettricità mediante una reazione chimica tra piastre di piombo e acido solforico. Caricando una batteria si inverte la reazione chimica, e si consente alla batteria di produrre di nuovo l'elettricità.
La batteria si può deteriorare, pertanto ha una durata limitata (Figura 12). La batteria nuova ha bisogno di un periodo di rodaggio per produrre l'elettricità in modo efficiente. Il periodo di rodaggio richiede normalmente da 100 a 150 cicli di scarica/carica.

Al termine del periodo di rodaggio, la batteria mantiene un'elevata capacità per molti cicli. Il numero di cicli eseguiti dalla batteria dipende dai seguenti fattori:
Manutenzione della batteria – una manutenzione impropria riduce drasticamente la durata delle batterie.
Livello di scarica tra i cicli di carica – più basso è il livello di scarica regolare delle batterie tra le cariche, più corta è la vita delle batterie.
Frequenza di carica – caricate completamente le batterie ogni volta possibile.
Important: Lo scaricamento completo delle batterie le danneggia e ne riduce la durata.
Livello dell'acqua basso – se le piastre di piombo risultano esposte, possono danneggiare le batterie in modo permanente. Agite come di seguito riportato per mantenere il livello dell'elettrolito:
Dopo aver caricato completamente le batterie, riempitele con acqua distillata o deionizzata; vedere Controllo del livello dell'acqua delle batterie e Aggiunta di acqua distillata o deionizzata alle batterie.
Important: Caricate completamente le batterie prima di aggiungere acqua alle batterie. Durante la carica, l'elettrolito aumenta il proprio volume e rabboccando una batteria dal livello basso prima di caricare completamente le batterie può far sì che l'elettrolito fuoriesca dallo sfiato.
Al termine della vita delle batterie, le batterie perdono gradualmente capacità elettrica.
Quando le batterie sono completamente cariche, la decima barra (estrema destra) si illumina sull'indicatore di scaricamento della batteria (Figura 13).

Le barre scompaiono man mano che usate la macchina e utilizzate l'elettricità erogata dalle batterie.
Quando resta soltanto la seconda tacca sull'indicatore di scaricamento della batteria, è il momento di ricaricare (Figura 14).

Se continuate a utilizzare la macchina con solo 2 tacche residue, le tacche 1 e 2 lampeggeranno in sequenza alternata.
Important: Quando resta soltanto la seconda tacca da sinistra sull'indicatore di scaricamento della batteria, la macchina può entrare in modalità velocità ridotta che consente di proteggere le batterie, ma il cui funzionamento prolungato può danneggiare le batterie stesse e /o la macchina. Per evitare il problema, non scaricate le batterie oltre la seconda tacca da sinistra. Caricate immediatamente le batterie.Se le batterie si scaricano completamente, la macchina si spegne. Non lasciate scaricare completamente le batterie.
Important: Per ottimizzare la durata della batteria, caricatele sempre prima di giungere alla seconda tacca da sinistra sul display. Lo scaricamento regolare delle batterie oltre la seconda tacca da sinistra ne riduce la durata.
| Cadenza di manutenzione | Procedura di manutenzione |
|---|---|
| Dopo le prime 100 ore |
|
Mettete in pratica le linee guida per il rodaggio di una macchina nuova per prestazioni adeguate e una lunga durata della macchina.
Controllate regolarmente il livello di acqua e fluido dei freni nelle batterie.
Evitate le situazioni che richiedono un notevole impiego dei freni nelle prime ore di funzionamento in rodaggio di una macchina nuova. Le guarnizioni nuove dei freni potrebbero non offrire prestazioni ottimali sino a quando, dopo varie ore di funzionamento, i freni non risulteranno bruniti (rodati); fate riferimento a Brunitura dei freni
Vedere per eventuali controlli speciali a distanza di poche ore.
Controllate il posizionamento della sospensione anteriore e all'occorrenza regolatelo; fate riferimento a Regolazione dell’allineamento delle ruote anteriori.
Il proprietario/operatore può impedire ed è responsabile di incidenti che potrebbero causare infortuni alle persone o danni alla proprietà.
I passeggeri devono sedere unicamente nei posti designati. Non trasportate passeggeri nel pianale. Tenete gli astanti e gli animali domestici a distanza dalla macchina mentre è in funzione.
Indossate abbigliamento consono, comprendente occhiali di protezione, pantaloni lunghi, scarpe robuste e antiscivolo. Legate i capelli lunghi e non indossate abiti o gioielli larghi o pendenti.
Prestate la massima attenzione mentre utilizzate la macchina. Non intraprendete alcuna attività che vi possa distrarre; in caso contrario potreste causare infortuni o danni alla proprietà.
Non azionate la macchina se siete malati, stanchi o sotto l'influenza di alcool o farmaci.
Non superate il peso lordo massimo del veicolo (GVW).
Prestate particolare attenzione quando azionate la macchina, frenate o sterzate con un carico pesante nel pianale di carico.
Il trasporto di carichi fuori misura nel pianale riduce la stabilità della macchina. Non superate la capacità di trasporto del pianale.
Sterzata, frenata e stabilità della macchina possono subire conseguenze negative quando si trasporta un carico in cui il peso del materiale non possa essere fissato alla macchina. Quando trasportate materiale che non possa essere fissato alla macchina, prestate attenzione durante le sterzate o le frenate.
Riducete il carico e la velocità di trasferimento della macchina durante l'utilizzo su terreno accidentato o irregolare, e in prossimità di cordoli, buche e altre variazioni improvvise del terreno. I carichi potrebbero spostarsi, rendendo instabile la macchina.
Prima di avviare la macchina, assicuratevi che la trasmissione sia in posizione di folle, che il freno di stazionamento sia inserito e che vi troviate nella posizione operativa.
Voi e il passeggero dovete rimanere seduti ogniqualvolta la macchina è in movimento. Tenete le mani sul volante; il passeggero è tenuto a utilizzare le apposite maniglie. Tenete sempre le braccia e le gambe all'interno della carrozzeria della macchina.
Utilizzate la macchina solo quando la visibilità è buona. Prestate attenzione a buche, solchi, dossi, rocce o altri oggetti nascosti. Il terreno accidentato può ribaltare la macchina. L'erba alta può nascondere gli ostacoli. Prestate attenzione quando vi avvicinate ad angoli ciechi, cespugli, alberi o altri oggetti che possano ostacolare la vostra visuale.
Non utilizzate la macchina nelle adiacenze di scarpate, fossati o terrapieni. La macchina potrebbe ribaltarsi improvvisamente nel caso in cui una ruota ne superi il bordo o se il bordo dovesse cedere.
Prestate sempre attenzione ad evitare basse sporgenze come rami di alberi, stipiti di porte, passaggi sopraelevati ecc.
Prima di invertire la marcia, guardate indietro e in basso, assicurandovi che il percorso sia libero.
Quando utilizzate la macchina su strade pubbliche, attenetevi a tutte le norme del traffico e utilizzate gli accessori aggiuntivi eventualmente richiesti per legge, come luci, indicatori di direzione, segnali di veicolo lento (SMW) e altri, come applicabile.
Se la macchina dovesse vibrare in modo anomalo, arrestate e spegnete immediatamente la macchina, attendete che ogni movimento si interrompa e ispezionate per individuare eventuali danni. Riparate tutti i danni alla macchina prima di rimetterla in funzione.
Il tempo di arresto della macchina su superfici bagnate può essere maggiore rispetto a quello necessario su superfici asciutte. Per far asciugare i freni bagnati, guidate lentamente su un terreno pianeggiante esercitando una leggera pressione sul pedale del freno.
Una guida ad alta velocità seguita da una frenata brusca può causare un blocco delle ruote posteriori, con la conseguente perdita di controllo sulla macchina.
Non toccate il motore quando è in funzione o poco dopo averlo spento, in quanto queste superfici possono scottare ed ustionarvi.
Non lasciate incustodita una macchina in moto.
Prima di abbandonare la posizione di guida, seguite le seguenti istruzioni:
Parcheggiate la macchina su terreno pianeggiante.
Spostate il selettore di direzione su FOLLE.
Inserite il freno di stazionamento.
Spegnete la macchina e togliete la chiave.
Attendete che tutte le parti in movimento si arrestino.
Non utilizzate la macchina se c'è rischio di fulmini.
Usate soltanto accessori e attrezzi approvati da The Toro® Company.
Non superate il peso lordo del veicolo (GVW). Dovete tenere conto di voi stessi, dei passeggeri e del carico sul pianale che si sommano per contribuire al peso lordo complessivo della macchina.
I passeggeri devono sedere unicamente nei posti designati. Non consentite ai passeggeri di sedere nel pianale.
Voi e i passeggeri dovete rimanere seduti ogniqualvolta la macchina è in movimento.
Una lunghezza superiore della macchina determina un raggio di sterzata maggiore, quindi ricordate di lasciare uno spazio maggiore per le manovre.
Note: Una protezione antiribaltamento (ROPS) a 2 montanti è disponibile per questa macchina come accessorio. Utilizzate un ROPS se lavorate in prossimità di scarpate, zone d'acqua, terreni accidentati o su pendenze che potrebbero causare il ribaltamento. Per maggiori informazioni rivolgetevi a un distributore Toro autorizzato di zona.
Le pendenze sono la causa principale di incidenti dovuti a perdita di controllo e ribaltamenti, che possono provocare gravi infortuni o la morte.
Analizzate il sito per valutare su quali pendenze è sicuro utilizzare la macchina e decidete le vostre personali procedure e regole per l’uso su tali pendenze. Basatevi sempre su buon senso e giudizio quando effettuate questa ricognizione.
Se non vi sentite a vostro agio nell'utilizzo della macchina in pendenza, non utilizzatela.
Mantenete tutti i movimenti in pendenza lenti e graduali. Non cambiate bruscamente la velocità o la direzione della macchina.
Evitate di utilizzare la macchina su terreno bagnato. Gli pneumatici possono perdere trazione. Può verificarsi un ribaltamento prima che gli pneumatici perdano trazione.
Sui pendii, procedete dritti verso l’alto o verso il basso.
Se durante la salita di un pendio iniziate a perdere velocità, azionate i freni e invertite lentamente la marcia, scendendo dal pendio in linea retta.
Le manovre di svolta durante la salita o la discesa su un pendio possono essere pericolose. Qualora dobbiate svoltare su un pendio, procedete lentamente e con estrema cautela.
Sui pendii, i carichi pesanti influiscono sulla stabilità. Riducete il peso del carico e la velocità di trasferimento durante l'utilizzo del veicolo su un pendio oppure qualora il carico presenti un alto baricentro. Fissate il carico al pianale della macchina per evitarne lo spostamento. Prestate ulteriore attenzione quando trasportate carichi che si muovono con facilità (come liquidi, pietrame, sabbia, ecc.).
Evitate di avviare, arrestare o sterzare con la macchina in pendenza, soprattutto in presenza di un carico. L'arresto mentre si scende da un pendio richiede più tempo dell'arresto in pianura. Se la macchina deve essere arrestata, evitate improvvise variazioni di velocità che potrebbero causarne il ribaltamento o il rotolamento. Non agite bruscamente sui freni se scivolate all’indietro per evitare che la macchina si capovolga.
Non superate il peso lordo del veicolo (GVW) durante l’utilizzo con un carico nel pianale e/o trainando un rimorchio; fate riferimento a Specifiche.
Distribuite il carico in modo uniforme per migliorare la stabilità e il controllo della macchina.
Prima di scaricare, accertatevi che non vi sia nessuno dietro la macchina.
Non scaricate mai un pianale carico mentre la macchina si trova in posizione obliqua su un pendio. La variazione della distribuzione del peso può causare il capovolgimento della macchina.
Il pianale sollevato potrebbe cadere e causare lesioni alle persone sottostanti.
Utilizzate sempre l'asta di supporto per tenere sollevato il pianale prima di lavorarvi sotto.
Rimuovete il carico contenuto nel pianale prima di sollevarlo.
Guidare la macchina con il pianale sollevato potrebbe causare il ribaltamento o far oscillare più facilmente la macchina. Se la macchina viene utilizzata con il pianale sollevato, la struttura del pianale potrebbe riportare danni.
Utilizzate la macchina quando il pianale è abbassato.
Abbassate il pianale dopo averlo svuotato.
Se, quando sganciate i fermi, il carico è concentrato vicino alla parte posteriore del pianale, questo potrebbe inaspettatamente aprirsi e rovesciarsi ferendo voi o chi si trova nelle vicinanze.
Posizionate il carico quanto più possibile al centro del pianale.
Quando sganciate i fermi tenete giù il pianale e accertatevi che nessuno vi sia chinato sopra o si trovi dietro di esso.
Rimuovete qualsiasi carico dal pianale prima di sollevarlo per eseguire interventi di manutenzione alla macchina.
Il peso del pianale può essere notevole. Le mani o altre parti del corpo possono rimanere schiacciate.
Tenete mani e altre parti del corpo a distanza quando abbassate il pianale.
Accertatevi che il pianale sia abbassato e fissato.
Utilizzando entrambe le mani, sollevate la sponda posteriore utilizzando il bordo vicino alla parte superiore della sponda posteriore (Figura 17).
Abbassate la sponda posteriore in modo che sia a livello con la parte inferiore del pianale (Figura 17).

Se avete scaricato rinfuse come sabbia, pietre per la costruzione di giardini o segatura dal pianale della macchina, parte di tale materiale potrebbe essere penetrato nell'area delle cerniere della sponda posteriore. Effettuate i seguenti passaggi prima di chiudere la sponda posteriore.
Rimuovete la maggiore parte del materiale dall'area delle cerniere con le mani.
Ruotate la sponda posteriore in posizione di circa 45° (Figura 18).

Agitate con un movimento rapido per ruotare la sponda posteriore avanti e indietro più volte (Figura 18).
Note: L'azione consente di rimuovere il materiale dall'area delle cerniere.
Abbassate la sponda posteriore e controllare l'eventuale materiale rimasto nell'area delle cerniere.
Ripetete le fasi da 1 a 4 fino alla rimozione del materiale dell'area delle cerniere.
Ruotate la sponda posteriore verso l’alto e sollevatela inserendola nelle tacche nel pianale.
Usate il supporto posteriore per accessori del pianale per fissare gli accessori alla parte posteriore della macchina.
Capacità: 45 kg
Allentate la maniglia a T ruotandola in senso orario (Figura 19).

Inserite l'accessorio nel ricevitore in modo che i fori siano allineati (Figura 19).
Fissate l'accessorio assemblato al tubo del ricevitore con il perno con testa e la coppiglia in dotazione con l'accessorio
Serrate la maniglia a T ruotandola in senso antiorario (Figura 20).

Important: Quando arrestate la macchina in pendenza, utilizzate i freni di servizio per arrestare la macchina e inserite il freno di stazionamento per fissare la macchina in posizione. L'uso dell'acceleratore per fermare la macchina in pendenza può surriscaldare il motore o scaricare le batterie.
Togliete il piede dal pedale dell'acceleratore.
Premete lentamente il pedale del freno per applicare i freni di servizio fino a quando la macchina non si ferma completamente.
Note: La distanza di arresto può variare in funzione del carico e della velocità della macchina.
Seguite le linee guida riportate sotto per caricare il pianale e azionare la macchina.
Rispettate la capacità di carico della macchina e limitate il peso del carico da trasportare nel pianale come descritto in Specifiche e sull'etichetta della macchina che riporta il peso lordo del veicolo.
Note: Il carico nominale si riferisce esclusivamente al funzionamento della macchina su superfici piane.
Quando azionate la macchina su pendenze e terreno accidentato, riducete il peso del carico trasportato nel pianale.
Riducete il peso del carico trasportato in presenza di materiali lunghi (con baricentro elevato) come pile di mattoni, legname per la costruzione di giardini o sacchi di fertilizzante. Distribuite il carico mantenendolo il più basso possibile e assicuratevi che non riduca la visibilità posteriore mentre la macchina è in funzione.
Mantenete i carichi centrati caricando il pianale come segue:
Sistemate uniformemente il peso nel pianale da un lato all'altro.
Important: Le probabilità di ribaltamento aumentano se si carica il pianale da un solo lato.
Distribuite uniformemente il peso nel pianale dalla parte anteriore a quella posteriore.
Important: Se si posiziona il carico dietro l'assale posteriore riducendo la trazione sugli pneumatici anteriori può accadere di perdere il controllo dello sterzo o che la macchina si ribalti.
Prestate ulteriore cautela durante il trasporto di carichi di grandi dimensioni nel pianale, in particolare quando non è possibile centrare il peso del carico sovradimensionato sul pianale.
Se possibile, fissate il carico bloccandolo nel pianale in modo che non si sposti.
Quando trasportate liquidi, prestate particolare attenzione, se procedete in salita o in discesa, a bruschi cambiamenti di velocità o arresti e alle superfici sconnesse.
La capacità del pianale è di 0,28 m3. La quantità (volume) di materiale che potete collocare nel pianale senza superare il carico nominale della macchina può variare notevolmente in funzione della densità del materiale.
Per i limiti dei volumi di carico relativi a diversi materiali fate riferimento alla tabella riportata di seguito.
| Materiale | Densità | Capacità massima del pianale(su terreno pianeggiante) |
| Ghiaia asciutta | 1.522 kg/m3 | Pieno |
| Ghiaia bagnata | 1.922 kg/m3 | 3/4 pieno |
| Sabbia asciutta | 1.442 kg/m3 | Pieno |
| Sabbia bagnata | 1.922 kg/m3 | 3/4 pieno |
| Legna | 721 kg/m3 | Pieno |
| Corteccia | <721 kg/m3 | Pieno |
| Terra, costipata | 1.602 kg/m3 | 3/4 pieno (circa) |
Prima di abbandonare la posizione di guida, seguite le seguenti istruzioni:
Parcheggiate la macchina su terreno pianeggiante.
Spostate il selettore di direzione su FOLLE.
Inserite il freno di stazionamento.
Spegnete la macchina e togliete la chiave.
Attendete che tutte le parti in movimento si arrestino.
Lasciate raffreddare la macchina prima di eseguire interventi di riparazione, manutenzione, pulizia o di rimessarla.
Non rimessate la macchina in luoghi in cui siano presenti fiamme libere, scintille o fiamme pilota, come quelle di uno scaldabagno o di altri apparecchi.
Mantenete tutte le parti della macchina in buone condizioni operative e la bulloneria ben serrata.
Eseguite la manutenzione e la pulizia della/e cintura/e di sicurezza secondo necessità.
Sostituite tutti gli adesivi usurati, danneggiati o mancanti.
Prestate cautela durante il carico o lo scarico della macchina su un rimorchio o un autocarro.
Utilizzate rampe a piena larghezza per il carico della macchina su un rimorchio o un autocarro.
Ancorate saldamente la macchina.
Vedere Figura 21 e Figura 22 per conoscere la posizione dei punti di attacco sulla macchina.
Note: Caricate la macchina sul rimorchio con la parte anteriore rivolta in avanti. Se questo non è possibile, assicurate il cofano della macchina al telaio per mezzo di una cinghia, oppure rimuovete il cofano, poi trasportatelo separatamente dopo averlo assicurato al rimorchio, altrimenti potrebbe staccarsi durante il trasporto.
I sedili non correttamente fissati possono cadere dalla macchina e dal rimorchio durante il trasporto della macchina stessa e cadere su un'altra macchina od ostruire la strada.
Rimuovete i sedili o assicuratevi che siano fissati tramite i perni degli snodi.


In caso di emergenza, potete trainare la macchina per una breve distanza; tuttavia, ciò non deve trasformarsi in una normale procedura operativa.
Il traino a velocità eccessive può causare la perdita di controllo della sterzata e causare infortuni.
Non trainate mai la macchina a velocità superiori a 8 km/h.
Il traino della macchia deve essere effettuato da 2 persone. Se dovete spostare la macchina per una considerevole distanza, trasportatela su un autocarro o un rimorchio; fate riferimento a Traino di un rimorchio.
Spegnete la macchina e togliete la chiave.
Important: Se trainate la macchina con la chiave in posizione di ACCENSIONE, potreste danneggiare il sistema elettrico.
Fissate una fune di traino al timone sulla parte anteriore del telaio della macchina (Figura 21).
Disinserite il freno di stazionamento.
La macchina è in grado di trainare rimorchi. Per la macchina sono disponibili ganci di traino; per maggiori informazioni rivolgetevi al Distributore Toro autorizzato di zona.
Durante il trasporto di un carico o il traino di un rimorchio, non sovraccaricate la macchina né il rimorchio. Il sovraccarico della macchina o del rimorchio può dare luogo a prestazioni insoddisfacenti o danneggiare i freni, l'assale, il motore, il transaxle, lo sterzo, la sospensione, la carrozzeria o gli pneumatici.
Caricate il rimorchio sistemando sempre il 60% del peso del carico nella parte anteriore. Ciò colloca circa il 10% del peso lordo del rimorchio (GTW) sull'attacco di traino della macchina.
Per consentire una frenata e una trazione appropriate, caricate sempre il pianale quando trainate un rimorchio. Non superate i limiti del peso lordo del rimorchio o del veicolo.
Evitate di parcheggiare la macchina con rimorchio su un pendio. Qualora dobbiate stazionare su un pendio, innestate il freno di stazionamento e bloccate gli pneumatici del rimorchio.
Non permettete che personale non addestrato esegua interventi di manutenzione sulla macchina.
Prima di abbandonare la posizione di guida, seguite le seguenti istruzioni:
Parcheggiate la macchina su terreno pianeggiante.
Spostate il selettore di direzione su FOLLE.
Inserite il freno di stazionamento.
Spegnete la macchina e togliete la chiave.
Attendete che tutte le parti in movimento si arrestino.
Lasciate raffreddare la macchina prima di eseguire interventi di riparazione, manutenzione, pulizia o di rimessarla.
Supportate la macchina con cavalletti ogniqualvolta lavorate sotto di essa.
Non lavorate sotto un pianale sollevato senza aver inserito in posizione l'opportuno supporto di sicurezza del pianale.
Non ricaricate le batterie durante la manutenzione della macchina.
Per garantire che l'intera macchina sia in buone condizioni, mantenete tutta la bulloneria correttamente serrata.
Per ridurre il rischio di incendio, eliminate eccessive quantità di grasso, erba, foglie e i residui accumulatisi nell'area della macchina.
Se possibile, non effettuate la manutenzione mentre la macchina è in funzione. Tenetevi a distanza dalle parti in movimento.
Se dovete tenere la macchina in funzione per l'esecuzione di eventuali regolazioni di manutenzione, tenete mani, piedi, abbigliamento e qualsiasi parte del corpo a distanza da eventuali parti in movimento. Tenete lontano gli astanti dalla macchina.
Controllate il funzionamento del freno di stazionamento come raccomandato nel programma di manutenzione ed effettuate regolazioni e manutenzione, come opportuno.
Mantenete tutte le parti della macchina in buone condizioni operative e la bulloneria correttamente serrata. Sostituite tutti gli adesivi usurati o danneggiati.
Non interferite mai con la funzione prevista di un dispositivo di sicurezza e non riducete la protezione fornita dal dispositivo stesso.
Qualora siano necessari interventi di assistenza o di riparazione importanti, rivolgetevi a un distributore Toro autorizzato.
La modifica di questa macchina in qualsiasi modo può influire sul suo funzionamento, prestazioni, durata, oppure il suo utilizzo può comportare infortuni o la morte. Un tale utilizzo può rendere nulla la garanzia di The Toro® Company.
| Cadenza di manutenzione | Procedura di manutenzione |
|---|---|
| Dopo le prime 100 ore |
|
| Prima di ogni utilizzo o quotidianamente |
|
| Ogni 25 ore |
|
| Ogni 100 ore |
|
| Ogni 300 ore |
|
| Ogni 400 ore |
|
| Ogni 800 ore |
|
| Ogni 1000 ore |
|
Note: Scaricate una copia gratuita degli schemi elettrici dal sito www.Toro.com; per cercare la vostra macchina utilizzate il link Manuali sulla home page.
Una manutenzione non corretta della macchina può determinare un guasto prematuro dei sistemi della macchina, causando possibili infortuni a voi o agli astanti.
Sottoponete sempre la macchina alla corretta manutenzione e mantenetela in buone condizioni operative, come indicato in queste istruzioni.
Fotocopiate questa pagina e utilizzatela quando opportuno.
| Punto di verifica per la manutenzione | Per la settimana di: | ||||||
|---|---|---|---|---|---|---|---|
| Monday (lunedì) | Tuesday (martedì) | Wednesday (mercoledì) | Thursday (giovedì) | Friday (venerdì) | Saturday (sabato) | Sunday (domenica) | |
| Controllate il funzionamento del freno e del freno di stazionamento. | |||||||
| Controllate il funzionamento del selettore di velocità/folle. | |||||||
| Controllate il livello dell'acqua delle batterie. | |||||||
| Controllate il livello del fluido dei freni. | |||||||
| Controllate i rumori insoliti di funzionamento. | |||||||
| Controllate la pressione degli pneumatici. | |||||||
| Verificate che non ci siano perdite di liquido. | |||||||
| Verificate il funzionamento degli strumenti. | |||||||
| Verificate il funzionamento dell'acceleratore. | |||||||
| Ritoccate la vernice danneggiata. | |||||||
| Lavate la macchina. | |||||||
Important: Se la macchina è sottoposta a una delle condizioni indicate sotto, effettuate la manutenzione con una frequenza doppia.
Utilizzo nel deserto
Utilizzo in climi freddi, a meno di 10 °C
Traino di un rimorchio
Servizio frequente in ambiente polveroso
Lavori di costruzione
Dopo l'utilizzo prolungato in presenza di fango, sabbia, acqua o in ambienti che abbiano un analogo livello di sporcizia, attenetevi alle seguenti istruzioni:
Provvedete a ispezionare e pulire i freni quanto prima. Ciò evita un'eccessiva usura da parte di materiale abrasivo.
Lavate la macchina con acqua soltanto oppure acqua con l'aggiunta di un detergente neutro.
Important: Non utilizzate acqua salmastra o depurata per pulire la macchina.
Molte operazioni trattate nella presente sezione sulla manutenzione richiedono il sollevamento e l'abbassamento del pianale. Per evitare gravi infortuni o la morte, attenetevi alle seguenti precauzioni.
Sollevate il pianale prima di eseguire interventi di manutenzione. Il pianale sollevato potrebbe cadere e causare lesioni alle persone sottostanti.
Utilizzate sempre l'asta di supporto per tenere sollevato il pianale prima di lavorare sotto di esso.
Rimuovete il carico dal pianale prima di lavorare sotto di esso.
Parcheggiate la macchina su terreno pianeggiante.
Spostate il selettore di direzione su FOLLE.
Inserite il freno di stazionamento.
Spegnete la macchina e togliete la chiave.
Svuotate e sollevate il pianale di carico.
Durante l'impiego di un martinetto la macchina potrebbe risultare instabile. La macchina potrebbe scivolare dal martinetto, ferendo chi si trova sotto di essa.
Non avviate la macchina mentre si trova su un martinetto.
Togliete sempre la chiave dal relativo interruttore prima di abbandonare la macchina.
Bloccate gli pneumatici quando la macchina è supportata da attrezzatura di sollevamento.
Utilizzate cavalletti per sostenere la macchina una volta sollevata.
Important: Ogni volta che mettete in funzione la macchina per eseguire un intervento di manutenzione di routine e/o di diagnostica, assicuratevi che le ruote posteriori della macchina siano sollevate di 25 mm da terra con l'assale posteriore supportato da cavalletti.
Il punto di sollevamento nella parte anteriore della macchina si trova davanti al telaio dietro al timone di traino (Figura 23).

Il punto di sollevamento nella parte posteriore della macchina si trova sotto i tubi dell'assale (Figura 24).

Fate scorrere il gruppo sedile sui perni e abbassatelo (Figura 28).

| Cadenza di manutenzione | Procedura di manutenzione |
|---|---|
| Ogni 300 ore |
|
Specifiche del grasso: Mobilgrease XHP™-222
Alzate la parte anteriore della macchina e appoggiatela su cavalletti metallici.
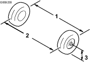
Togliete i 4 dadi a staffa che fissano la ruota al mozzo (Figura 29).

Togliete i bulloni a testa flangiata (⅜" x ¾") che fissano la staffa del gruppo del freno al mandrino e separate il freno dal mandrino (Figura 30).
Note: Sostenete il gruppo del freno prima di procedere al passaggio successivo.

Rimuovete il coperchietto antipolvere dal mozzo (Figura 31).

Rimuovete la coppiglia e il fermadado dal mandrino e dal relativo dado (Figura 31).
Rimuovete il dado del mandrino dal mandrino e separate il gruppo mozzo e rotore dal mandrino (Figura 31 e Figura 32).

Pulite il mandrino con un panno.
Ripetete i passaggi da 1 a 7 per il mozzo e il rotore sull'altro lato della macchina.
Rimuovete il cuscinetto esterno e il relativo anello dal mozzo (Figura 33).

Rimuovete la guarnizione e il cuscinetto interno dal mozzo (Figura 33).
Pulite la guarnizione e verificate che non sia consumata o danneggiata.
Note: Non pulite la guarnizione con solventi. Sostituite la guarnizione se usurata o danneggiata.
Pulite i cuscinetti e i relativi anelli e verificate che non siano consumati o danneggiati.
Note: Sostituite tutti i componenti usurati o danneggiati. Accertatevi che i cuscinetti e i relativi anelli siano puliti e asciutti.
Pulite la cavità del mozzo da tutto il grasso, la sporcizia e i detriti (Figura 33).
Ingrassate i cuscinetti con il grasso specificato.
Riempite la cavità del mozzo per il 50–80% di grasso specificato (Figura 33).
Montate il cuscinetto interno sull'anello sul lato interno del mozzo e montate la guarnizione (Figura 33).
Ripetete i passaggi da 1 a 8 per i cuscinetti dell'altro mozzo.
Lubrificate leggermente il mandrino con il grasso specificato (Figura 34).

Montate il mozzo e il rotore sul mandrino con il rotore verso l'interno (Figura 34).
Montate il cuscinetto esterno sul mandrino e inserite il cuscinetto sull'anello esterno (Figura 34).
Montate la rondella di sicurezza sul mandrino (Figura 34).
Avvitate il dado del mandrino sul mandrino e serrate il dado a 15 N∙m mentre ruotate il mozzo per posizionare in sede il cuscinetto (Figura 34).
Allentate il dado del mandrino fino a quando il mozzo non ruota liberamente.
Serrate il dado del mandrino a un valore compreso tra 1,7 e 2,26 N∙m.
Montate il fermo sul dado e controllate l'allineamento della scanalatura sul fermo con il foro del mandrino per la coppiglia (Figura 35).
Note: Se la scanalatura sul fermo e il foro del mandrino non sono allineati, serrate il dado del mandrino per allineare la scanalatura e il foro a una coppia massima di 2,26 N∙m sul dado.

Montate la coppiglia e piegate ciascuna asticella attorno al fermo (Figura 35).
Montate il coperchietto antipolvere sul mozzo (Figura 35).
Ripetete i passaggi da 1 a 10 per il mozzo e il rotore sull'altro lato della macchina.
Pulite i 2 bulloni a testa flangiata (⅜" x ¾") e applicate uno strato di composto frenafiletti a resistenza media sulle filettature dei bulloni.
Allineate le pastiglie dei freni su ciascun lato del rotore (Figura 30) e i fori sulla staffa della pinza con i fori sul supporto del freno del telaio del mandrino (Figura 34).
Fissate la staffa del calibro al telaio del mandrino (Figura 30) utilizzando i 2 bulloni a testa flangiata (⅜" x ¾").
Serrate i 2 bulloni a testa flangiata a una coppia compresa tra 47 e 54 N∙m.
Allineate i fori sulla ruota ai prigionieri del mozzo e montate la ruota sul mozzo con lo stelo della valvola rivolto all'esterno (Figura 29).
Note: Accertatevi che la superficie di montaggio della ruota sia in linea rispetto al mozzo.
Fissate la ruota al mozzo utilizzando i dadi per le ruote (Figura 29).
Serrate i dadi ad aletta tra 108 e 122 N∙m.
Ripetete i passaggi da 1 a 5 per il freno e la ruota sull’altro lato della macchina.
Scollegate la batteria prima di riparare la macchina. Scollegate prima il morsetto negativo, per ultimo quello positivo. Collegate prima il morsetto positivo e per ultimo quello negativo.
Caricate la batteria in un'area aperta e ben ventilata, lontano da scintille e fiamme. Scollegate il caricabatteria prima di collegare o scollegare la batteria. Indossate indumenti di protezione e utilizzate attrezzi isolati.
Per ridurre il rischio di incendio, eliminate eccessive quantità di grasso, erba, foglie e i residui accumulatisi nell'area del motore e delle batterie.
Togliete tutti i gioielli e l'orologio prima di revisionare le batterie.
Non ricaricate le batterie durante la manutenzione della macchina.
Scollegate sempre tutti i cavi della batteria prima di effettuare interventi di manutenzione di eventuali componenti elettrici; fate riferimento a Scollegamento della batteria.
Note: Lo scollegamento di tutti i cavi della batteria isola l'alimentazione dall'impianto elettrico.
L'elettrolito della batteria contiene acido solforico che produce idrogeno, un gas esplosivo in determinate condizioni. L'acido solforico può bruciare la pelle e danneggiare gli indumenti; quando emesso in forma gassosa, può danneggiare i polmoni.
Provvedete sempre alla manutenzione, al rimessaggio ed alla ricarica della macchina in un ambiente ben ventilato.
Tenete scintille e fiamme libere lontano dalle batterie.
Non fumate nelle adiacenze delle batterie.
Non utilizzate fiamme libere per controllare il livello o le perdite di elettrolito delle batterie.
Indossate le apposite protezioni degli occhi, delle mani e del viso.
Non chinatevi mai sopra le batterie.
Evitate di aspirare i vapori delle batterie.
Riempite le batterie nelle vicinanze di acqua pulita, per lavare la pelle.
Se dell'elettrolito dovesse schizzare sulla pelle o negli occhi, lavate la parte colpita per 20 minuti con acqua pulita. Rimuovete gli indumenti interessati e consultate immediatamente un medico.
Tenete bambini e animali da compagnia lontano dalle batterie e dall'elettrolito.
L'elettrolito è velenoso.
Non ingerite l'elettrolito.
In caso di ingestione dell'elettrolito, fate in modo che la persona beva grandi quantità d'acqua subito dopo l'ingestione, in modo da diluire l'elettrolito, se possibile.
Non cercate di indurre il vomito alla persona in questione.
Contattate un centro anti-veleni e consultate immediatamente un medico.
Tenete i tappi di sfiato saldamente montati sulle batterie quando non le riempite. Non usate la macchina con uno o più tappi di sfiato mancanti o danneggiati.
In sede di rimozione o montaggio delle batterie, impedite ai morsetti di toccare le parti metalliche della macchina.
Non lasciate che gli attrezzi metallici creino cortocircuiti fra i morsetti della batteria e le parti metalliche della macchina.
Non controllate la carica della batteria collocando un oggetto metallico sui poli; Ciò provoca scintille, che possono causare un'esplosione.
Tenete sempre correttamente posizionati i dispositivi di fissaggio delle batterie in modo da proteggerle e fissarle saldamente.
Prima di ricaricare le batterie leggete e comprendete le istruzioni pertinenti; vedere Carica delle batterie. Inoltre, prendete le seguenti precauzioni per il cambio delle batterie:
spostate l'interruttore a chiave della macchina in posizione di SPEGNIMENTO prima di collegare il caricabatterie alla presa di alimentazione;
ricaricate le batterie soltanto con il caricabatterie a corredo della macchina.
non ricaricate le batterie danneggiate o gelate;
staccate sempre il cavo c.a. dalla presa prima di staccarlo dalla presa di ricarica della macchina, per non causare scintille;
se durante la ricarica una batteria dovesse riscaldarsi, emettere grandi quantità di gas o spruzzare dell'elettrolito, scollegate immediatamente il cavo del caricabatterie dalla presa di alimentazione; prima di riutilizzare il veicolo fatelo revisionare da un Centro di Assistenza autorizzato.
Sollevate il gruppo sedile e il cassone prima di effettuare la manutenzione delle batterie; fate riferimento a Sollevamento e abbassamento del gruppo sedile e Sollevamento del pianale in posizione di scarico.
I morsetti della batteria e gli attrezzi metallici possono creare cortocircuiti con i componenti metallici, e provocare scintille, che possono fare esplodere i gas delle batterie e causare infortuni.
In sede di rimozione o montaggio della batteria, impedite ai morsetti di toccare le parti metalliche della macchina.
Non lasciate che gli attrezzi metallici creino cortocircuiti fra i morsetti della batteria e le parti metalliche della macchina.
Utilizzate utensili isolati durante la manutenzione delle batterie.
Tenete sempre correttamente posizionati i dispositivi di fissaggio delle batterie in modo da proteggerle e fissarle saldamente.
Non toccate eventuali componenti elettrici o contatti sul motore.
Toccando qualsiasi di questi componenti o contatti potreste ferirvi gravemente o morire.
| Cadenza di manutenzione | Procedura di manutenzione |
|---|---|
| Ogni 25 ore |
|
Verificate che i tappi delle batterie siano serrati.
Pulite le batterie con una salvietta di carta.
Se i morsetti delle batterie presentano segni di corrosione, puliteli con una soluzione di 4 parti di acqua ed 1 di bicarbonato di sodio. Pulite anche i poli e i morsetti dei cavi con un preparato apposito.
Note: I poli e i morsetti devono brillare.
Applicate un velo di preparato di protezione dei terminali delle batterie Toro.
| Cadenza di manutenzione | Procedura di manutenzione |
|---|---|
| Prima di ogni utilizzo o quotidianamente |
|
Il caricabatteria per questa macchina è situato all'interno della macchina, sotto il sedile dell'operatore. La batteria avrà una vita più lunga se la caricherete ogni volta che non usate la macchina. La carica delle batterie a piena capacità richiede fino a 16 ore, a seconda delle condizioni di scarica delle batterie e della loro temperatura ambiente.
Note: I tempi di carica normali sono di circa 8-10 ore.
Important: Le batterie al piombo non sono provviste di memoria di carica e non devono essere scaricate completamente prima di ricaricarle. Scaricando completamente le batterie potreste danneggiarle. Caricate sempre le batterie quando la macchina non viene utilizzata.
La ricarica delle batteria produce gas che possono esplodere.
Non fumate mai nelle adiacenze delle batterie, e tenetele lontano da scintille e fiamme.
Parcheggiate la macchina in un ambiente ben ventilato, accanto a una presa di alimentazione appropriata.
Controllate il livello dell'elettrolito delle batterie.
Note: Dopo aver caricato completamente le batterie, riempitele con acqua distillata o deionizzata; vedere Aggiunta di acqua distillata o deionizzata alle batterie.
Important: Caricate completamente le batterie prima di aggiungere acqua alle batterie. Durante la carica, l'elettrolito aumenta il proprio volume e rabboccando una batteria dal livello basso prima di caricare completamente le batterie può far sì che l'elettrolito fuoriesca dallo sfiato.
Collegate un cavo di ricarica calibro 16 (o di diametro superiore), da 2,5 m o più corto alla presa di ricarica sulla macchina (Figura 36).
Note: Assicuratevi che la regolazione della tensione del caricabatterie corrisponda alla tensione usata alla presa elettrica.
Note: In ambienti a temperatura ambiente elevata, rimuovete il gruppo del sedile per tempi di ricarica ottimali; fate riferimento a Rimozione del gruppo sedile. Se il caricabatterie è troppo caldo, potrebbe non ricaricare correttamente. In caso di temperature fredde, può essere necessario un tempo superiore per la ricarica delle batterie.

Inserite il cavo del caricabatterie nella presa.
Note: Mentre le batterie sono in fase di ricarica, la spia verde sul caricabatterie lampeggia in modo intermittente. Quando le batterie sono completamente ricaricate, la spia verde cessa di lampeggiare e rimane accesa.
Scollegate il cavo dalla presa di alimentazione.
Scollegate il caricabatterie dalla macchina.
Fate riferimento alla tabella seguente e Figura 36 per informazioni sui significati dei diversi colori della spia dello stato del caricabatterie.
| Colore delle spie dello stato del caricabatterie | Fissa/Lampeggiante | Significato |
| Verde | Fissa | Carica completa |
| Verde | Lampeggiante | Lampeggio breve – meno dell'80% di caricaLampeggio lungo: più dell'80% di carica |
| Giallo | Lampeggiante | Modalità ad alimentazione ridotta – bassa tensione CA o alta temperatura interna del caricabatterie; caricate immediatamente |
| Rosso | Lampeggiante | Errore di carica – resettate l'alimentazione del caricabatterieSe l'errore persiste, fate riferimento ai codici di lampeggiamento nel manuale del caricabatterie |
| Cadenza di manutenzione | Procedura di manutenzione |
|---|---|
| Prima di ogni utilizzo o quotidianamente |
|
Parcheggiate la macchina su una superficie pianeggiante, inserite il freno di stazionamento, spegnete la macchina, togliete la chiave e sollevate il cassone; Sollevamento del pianale in posizione di scarico.
Sollevate il gruppo sedile per accedere alle batterie; fate riferimento a Sollevamento e abbassamento del gruppo sedile.
Controllate gli occhielli su ciascuna delle batterie per vedere se sono neri o bianchi (Figura 37).
Note: Gli occhielli neri indicano che le batterie sono piene d'acqua. Gli occhielli bianchi indicano che è necessaria acqua nelle batterie.

Se gli occhielli sono bianchi, dovete aggiungere acqua distillata o deionizzata alle batterie, fate riferimento a Aggiunta di acqua distillata o deionizzata alle batterie.
| Cadenza di manutenzione | Procedura di manutenzione |
|---|---|
| Ogni 25 ore |
|
Important: Caricate completamente le batterie prima di aggiungere acqua alle batterie. Durante la carica, l'elettrolito aumenta il proprio volume e rabboccando una batteria dal livello basso prima di caricare completamente le batterie può far sì che l'elettrolito fuoriesca dallo sfiato.
Important: Usate solo acqua distillata o deionizzata pulita per riempire le batterie. L'utilizzo di acqua del rubinetto può danneggiare o ridurre la vita utile delle batterie.
Parcheggiate la macchina su una superficie pianeggiante, inserite il freno di stazionamento, spegnete la macchina, togliete la chiave e sollevate il cassone; Sollevamento del pianale in posizione di scarico.
Caricate completamente le batterie; vedere Carica delle batterie.
Sollevate il gruppo sedile per accedere alle batterie; fate riferimento a Sollevamento e abbassamento del gruppo sedile.
Collegate la vostra pompa manuale Toro al foro di riempimento dell'acqua (Figura 38).

Pompate acqua nelle batterie fino a quando tutti gli occhielli sopra le batterie non saranno neri, a indicare che sono pieni d'acqua.
Important: Non riempite troppo la batteria, L'elettrolito si verserebbe su altri componenti della macchina, causando grave corrosione e deterioramento. Inoltre, riempiendo troppo la batteria ne ridurreste la vita utile.
Quando la macchina inizia a perdere potenza o quando la durata del ciclo di scarica o carica è notevolmente ridotta, è probabile che le batterie siano usurate e non riescano a mantenere la carica. Portate la macchina ad un Centro Assistenza autorizzato e fate testare le batterie per stabilire se occorra sostituirle. Il Centro Assistenza potrà sostituire le batterie. Se preferite sostituire voi le batterie, osservate le seguenti procedure:
Sollevate il pianale di carico, girate l'interruttore a chiave in posizione di SPEGNIMENTO e togliete la chiave.
Scollegate il cavo negativo principale della batteria (nero) che collega la serie di batterie al punto di messa a terra della macchina (Figura 39).
Note: I cavi principali della batteria sono lunghi rispetto a quelli interconnessi alle batterie stesse.

Scollegate il cavo positivo principale della batteria (rosso) che collega la serie di batterie al contattore principale della macchina (Figura 39).
Scollegate tutti i cavi interconnessi alle batterie dalle batterie stesse.
Togliete i dispositivi di fissaggio delle batterie situati tra le batterie.
Togliete tutte le batterie e riciclatele nel pieno rispetto delle normative locali.
Montate le batterie nuove nella macchina nei punti in cui le avevate rimosse alla fase 3.
Note: Prestate attenzione alla polarità delle batterie quando montate le batterie nuove (Figura 39).
Montate i fermi delle batterie e serrate i dadi fino a quando il fermo non blocca saldamente le batterie.
Collegate le batterie come mostrato in Figura 39 con i cavi interconnessi alle batterie rimossi al punto 1.
Assicuratevi che i morsetti delle batterie siano puliti e privi di ossidazione.
Collegate il cavo positivo principale (rosso) della batteria tra la serie di batterie e la macchina (Figura 39).
Collegate il cavo negativo principale (nero) della batteria tra la serie di batterie e la macchina (Figura 39).
Serrate i dadi che fissano tutti i cavi delle batterie fino a quando il fermo non blocca saldamente la batteria.
Proteggete i morsetti delle batterie con l'apposito prodotto Toro.
Verificate che le protezioni di gomma dei cavi delle batterie siano saldamente fissate sui morsetti delle batterie.
Inserite la chiave nell'interruttore a chiave e giratela in posizione di ACCENSIONE.
Abbassate il cassone, girate l'interruttore a chiave in posizione di SPEGNIMENTO e togliete la chiave.
Caricate completamente le batterie prima del rimessaggio della macchina. Inserite il caricabatterie in una presa a muro mentre la macchina e le batterie sono in rimessa. Lasciate inserito il caricabatterie nella presa a muro e caricate la presa durante il rimessaggio, perché le batterie rimangano cariche e non gelino; diversamente, caricate le batterie almeno una volta al mese.
Important: Se non è possibile collegare la macchina durante il rimessaggio, caricate completamente le batterie almeno una volta al mese. Le batterie si scaricano automaticamente durante i lunghi periodi di tempo, il che può danneggiarle al punto da renderle inutilizzabili, anche se sono nuove.
Sono presenti 4 fusibili nell'impianto elettrico; gli altri slot sono aperti per gli accessori opzionali. Sono situati sotto il gruppo sedile, dietro una batteria sul lato destro della macchina (Figura 40).
| Alimentazione principale | 10 A |
| Relè elettrico | 20 A |
| Presa di alimentazione USB | 5 A |
| Fari | 10 A |
| Kit di sollevamento opzionale – aperto | 15 A |
| Avvisatore acustico | 30 A |

Scollegate le batterie; fate riferimento a Scollegamento della batteria.
Aprite il cofano.
Scollegate il connettore elettrico del cablaggio dal connettore del gruppo luci (Figura 41).

Togliete i fermagli che tengono bloccato il faro anteriore sulla relativa staffa (Figura 41).
Note: Conservate tutte le parti per il montaggio del nuovo faro.
Rimuovete il gruppo faro anteriore spostandolo in avanti attraverso l'apertura nel paraurti anteriore (Figura 41).
Montate il nuovo faro anteriore attraverso l'apertura nel paraurti (Figura 41).
Note: Assicuratevi che i poli di regolazione siano allineati con i fori nella staffa di montaggio dietro il paraurti.
Fissate il gruppo faro anteriore con i fermagli rimossi alla fase 4.
Collegate il connettore elettrico del cablaggio al connettore del nuovo gruppo luci (Figura 41).
Regolate i fari anteriori in modo da dirigere i fasci nella posizione desiderata, fate riferimento a Regolazione dei fari.
Osservate la seguente procedura per regolare la posizione del fascio dei fari ogni volta che viene sostituito o rimosso un gruppo faro.
Parcheggiate la macchina su terreno pianeggiante con i fari a circa 7,6 m di distanza da una parete (Figura 42).
Misurate la distanza dal pavimento al centro del faro e fate un segno sulla parete alla stessa altezza.
Girate l'interruttore a chiave sulla posizione di ACCENSIONE e accendete i fari.
Prendete nota del punto in cui i fari puntano sulla parete.
La parte più luminosa del fascio dei fari deve trovarsi 20 cm sotto il segno tracciato sulla parete (Figura 42).

Sul retro del gruppo faro, ruotate le viti di regolazione (Figura 41) per ruotare il gruppo faro e allineare la posizione di getto del fascio.
Collegate le batterie e chiudete il cofano; fate riferimento a Collegamento delle batterie.
| Cadenza di manutenzione | Procedura di manutenzione |
|---|---|
| Ogni 100 ore |
|
Ispezionate pneumatici e cerchi per escludere segni di usura e danni.
Note: Gli inconvenienti di gestione, come l'urto di un cordolo, possono danneggiare lo pneumatico o il cerchio e alterare l'allineamento delle ruote; in seguito ad un simile inconveniente controllate le condizioni degli pneumatici.
Serrate i dadi a staffe delle ruote a una coppia tra 108 e 122 N·m.
| Cadenza di manutenzione | Procedura di manutenzione |
|---|---|
| Ogni 100 ore |
|
Con il volante in posizione centrata (Figura 43) ruotate il volante a sinistra o a destra. Se ruotate il volante per più di 13 mm a destra o a sinistra, e gli pneumatici non girano, controllate i seguenti componenti dello sterzo e delle sospensioni per accertarvi che non siano lenti o danneggiati:
Giunto di assemblaggio del piantone con la cremagliera
Important: Ispezionate lo stato e la sicurezza della guarnizione dell'albero del pignone (Figura 44).
Tiranti del gruppo cremagliera di sterzo


| Cadenza di manutenzione | Procedura di manutenzione |
|---|---|
| Ogni 100 ore |
|
Controllate la pressione degli pneumatici per accertare che gli anteriori siano gonfiati a 0,83 bar.
Aggiungete zavorra al posto di guida pari al peso dell'operatore medio della macchina o fate sedere l'operatore sul sedile. La zavorra o l'operatore devono rimanere sul sedile per la durata dell’operazione di regolazione.
Su un terreno pianeggiante spostate la macchina all'indietro di 2–3 m e quindi in avanti nella posizione originale. Ciò fa sì che la sospensione si inserisca nella posizione operativa.
Attrezzi forniti dal proprietario: chiave fissa, n. cat. Toro 132-5069; fate riferimento al vostro distributore Toro autorizzato.
Important: Effettuate le regolazioni della campanatura solo se utilizzate un accessorio anteriore o se è presente usura disomogenea degli pneumatici.
Controllate la campanatura su ciascuna ruota; l’allineamento dovrebbe approssimarsi il più possibile al neutro (zero).
Note: Gli pneumatici dovrebbero essere allineati con il battistrada che poggia in modo uniforme sul terreno per evitare la formazione di zone differenti di usura.
Se la campanatura della ruota non è regolata correttamente, usate la chiave fissa per ruotare il collare dell’ammortizzatore per allineare la ruota (Figura 45).

Important: Prima di regolare la convergenza, assicuratevi che la campanatura sia regolata il più vicino possibile al neutro; fate riferimento a Regolazione della campanatura.
Misurate la distanza tra i pneumatici anteriori all'altezza dell'assale, davanti e dietro le ruote (Figura 46).

Se la misura non rientra nel campo specificato di 0–6 mm, allentate i controdadi all'estremità esterna dei tiranti (Figura 47).

Girate entrambi i tiranti in modo da spostare la parte anteriore dello pneumatico verso l'interno o l'esterno.
Quando la regolazione sarà corretta, serrate i controdadi dei tiranti.
Verificate che il volante presenti una corsa massima in entrambe le direzioni.
| Cadenza di manutenzione | Procedura di manutenzione |
|---|---|
| Ogni 100 ore |
|
Parcheggiate la macchina su terreno pianeggiante.
Inserite il freno di stazionamento.
Spegnete il motore e togliete la chiave.
Togliete il tappo di riempimento sul transaxle (Figura 48).
Note: Il fluido deve essere a filo con la base del tappo di riempimento.

Se il livello del fluido è basso, togliete il tappo di riempimento e aggiungete il fluido specificato finché non fuoriesce (Figura 48).
Montate il tappo di riempimento e serrate applicando una coppia compresa tra 20 e 27 N∙m.
| Cadenza di manutenzione | Procedura di manutenzione |
|---|---|
| Ogni 100 ore |
|
| Ogni 800 ore |
|
Tipo di fluido: SAE 10W-30 (API service SJ o superiore)
Capienza della coppa del fluido 0,66 litri
Allineate una bacinella di spurgo sotto la protezione del transaxle (Figura 49).

Rimuovete i bulloni dalla protezione del transaxle e spurgate completamente il fluido (Figura 49).
Note: Conservate la protezione del transaxle e il bullone.
Montate la protezione del transaxle utilizzando i bulloni rimossi in precedenza e serrateli a una coppia compresa tra 22 e 32 N∙m.
Togliete il tappo di riempimento sul transaxle e riempite il transaxle con il fluido indicato sinché non fuoriesce dal foro di riempimento (Figura 48).
Montate il tappo di riempimento e serrate applicando una coppia compresa tra 20 e 27 N∙m.
Per inserire il freno di stazionamento tirate la relativa leva verso di voi fino ad avvertire tensione.
Se non percepite la tensione tirando il freno di stazionamento verso di voi tra 11,4 e 16,5 cm dal simbolo “P” sul cruscotto, è necessario regolare il freno di stazionamento; fate riferimento a Regolazione del freno di stazionamento.
Assicuratevi che il freno di stazionamento sia disinserito.
Utilizzando dei cavalletti metallici, sollevate la parte posteriore della macchina; vedere Sollevamento della macchina.
Utilizzando 2 chiavi, mantenete fermo il montante di regolazione sulla pinza con una chiave e allentate il controdado di 1/4 di giro con l'altra chiave (Figura 50).

Tenendo fermo il montante di regolazione e il controdado, girate il montante di regolazione per serrarlo (Figura 50).
Note: Effettuate questa operazione fino ad avvertire attrito sulla ruota.
Tenendo fermo il montante di regolazione e il controdado, allentate di ¼ di giro (Figura 50).
Tenendo fermo il montante di regolazione e il controdado, serrate il controdado (Figura 50).
Effettuate le voci da 1 a 6 sull'altro lato.
Assicuratevi che il freno di stazionamento sia regolato alla giusta tensione; fate riferimento a Controllo del freno di stazionamento.
Note: Se non riuscite a regolare il freno di stazionamento alla tensione necessaria, le pastiglie dei freni potrebbero essere usurate e richiedere la sostituzione. Contattate il vostro distributore Toro autorizzato per ricevere assistenza.
| Cadenza di manutenzione | Procedura di manutenzione |
|---|---|
| Prima di ogni utilizzo o quotidianamente |
|
Tipo di fluido dei freni: DOT 3
Parcheggiate la macchina su terreno pianeggiante, inserite il freno di stazionamento, spegnete la macchina e togliete la chiave.
Sollevate il cofano per avere accesso al cilindro del freno principale e al serbatoio (Figura 51).

Osservate la linea del livello del fluido sul lato del serbatoio (Figura 52).
Note: L'olio deve superare la linea del minimo.

Se il livello del fluido è basso, agite come segue:
Pulite l'area intorno al tappo del serbatoio e togliete il tappo (Figura 51).
Aggiungete il fluido dei freni DOT 3 al serbatoio, in modo che il livello del fluido sia superiore alla linea del minimo (Figura 52).
Note: Non riempite troppo il serbatoio con il fluido dei freni.
Montate il tappo sul serbatoio (Figura 51).
Chiudete il cofano della macchina.
| Cadenza di manutenzione | Procedura di manutenzione |
|---|---|
| Ogni 100 ore |
|
Important: I freni sono componenti di sicurezza di somma importanza per la macchina. Ispezionateli accuratamente agli intervalli di manutenzione raccomandati per garantire prestazioni e sicurezza ottimali.
Ispezionate il rivestimento dei freni per escludere usura o danni. Se lo spessore del rivestimento (cuscinetto del freno) è inferiore a 1,6 mm, sostituite il rivestimento.
Ispezionate la piastra di supporto ed altri componenti per individuare eventuali segni di usura eccessiva o di deformazione. Sostituite eventuali componenti deformati.
Controllate il livello del fluido dei freni; vedere Controllo del livello del fluido dei freni.
| Cadenza di manutenzione | Procedura di manutenzione |
|---|---|
| Ogni 400 ore |
|
Rivolgetevi al distributore Toro autorizzato per l'ispezione e la possibile sostituzione delle pastiglie del freno di servizio e del freno di stazionamento.
| Cadenza di manutenzione | Procedura di manutenzione |
|---|---|
| Ogni 1000 ore |
|
Contattate il vostro distributore Toro autorizzato.
Se il fermo del pianale non è regolato correttamente, il pianale vibra verso l'alto e verso il basso mentre guidate. Potete regolare le colonnette di ancoraggio in modo che i fermi blocchino saldamente il pianale al telaio.
Accertatevi che il pianale si blocchi.
Note: Se il pianale non si blocca, il suo gancio di chiusura è probabilmente troppo basso. Se il pianale si blocca, ma vibra su e giù mentre guidate, il suo gancio di chiusura è probabilmente troppo alto.
Sollevate il pianale; fate riferimento a Sollevamento del pianale in posizione di scarico.
Allentate i 2 bulloni sul gancio di chiusura del pianale e spostate il gancio su o giù, a seconda se è troppo alto o troppo basso (Figura 53).

Serrate i 2 bulloni sul gancio di chiusura del pianale (Figura 53).
Verificate che la regolazione sia corretta bloccando varie volte il pianale.
| Cadenza di manutenzione | Procedura di manutenzione |
|---|---|
| Prima di ogni utilizzo o quotidianamente |
|
Lavate la macchina secondo necessità con acqua soltanto oppure acqua con l'aggiunta di un detergente neutro. Potete utilizzare un panno per il lavaggio della macchina.
Important: Non utilizzate acqua salmastra o depurata per pulire la macchina.
Important: Durante il lavaggio della macchina sconsigliamo l'uso di acqua sotto pressione, Potrebbe danneggiare l'impianto elettrico, staccare adesivi importanti ed eliminare il grasso necessario nei punti di attrito. Non usate una quantità d'acqua eccessiva, particolarmente in prossimità del quadro di comando, del motore, del controllerà del motore, del caricabatterie, della parte posteriore del cruscotto e delle batterie.
Spegnete la macchina, togliete la chiave e attendete che tutte le parti in movimento si arrestino prima di abbandonare la posizione dell'operatore. Lasciate raffreddare la macchina prima di eseguire interventi di riparazione, manutenzione, pulizia o di rimessarla.
Non rimessate la macchina o la tanica del carburante in luoghi in cui siano presenti fiamme libere, scintille o spie, come quelle di uno scaldabagno o di altri apparecchi.
Parcheggiate la macchina su terreno pianeggiante, inserite il freno di stazionamento, spegnete la macchina e togliete la chiave.
Rimuovete la terra e la morchia da tutta la macchina, incluso l'esterno dell'alloggiamento del motore.
Important: La macchina può essere lavata con detersivo neutro ed acqua. Non lavatela con acqua sotto pressione, perché potreste danneggiare l'impianto elettrico o rimuovere il grasso necessario per la lubrificazione dei punti di attrito. Non utilizzate una quantità d'acqua eccessiva, in particolare in prossimità del quadro di comando, luci, motore e batteria.
Ispezionate i freni; fate riferimento a Ispezione dei freni.
Controllate la pressione degli pneumatici; vedere Controllo della pressione degli pneumatici.
Controllate e serrate tutti i bulloni, i dadi e le viti. Riparate o sostituite le parti danneggiate.
Ritoccate tutti i graffi e le superfici metalliche sverniciate.
Note: La vernice può essere ordinata al Centro di Assistenza autorizzato di zona.
Riponete la macchina in una rimessa o in un deposito pulito ed asciutto.
Togliete la chiave e riponetela in un luogo sicuro, fuori dalla portata dei bambini.
Coprite la macchina con un telo per proteggerla e mantenerla pulita.
Caricate completamente le batterie prima del rimessaggio della macchina; fate riferimento a Carica delle batterie. Inserite il caricabatterie in una presa a muro mentre la macchina e le batterie sono in rimessa. Lasciate inserito il caricabatterie nella presa a muro e caricate la presa durante il rimessaggio, perché le batterie rimangano cariche e non gelino; diversamente, caricate le batterie almeno una volta al mese.
Collegate il caricabatterie durante il rimessaggio per mantenere al massimo la durata delle batterie.
Important: Se non è possibile collegare la macchina durante il rimessaggio, caricate completamente le batterie almeno una volta al mese. Le batterie si scaricano automaticamente durante i lunghi periodi di tempo, il che può danneggiarle al punto da renderle inutilizzabili, anche se sono nuove.
Dopo aver caricato completamente le batterie, riempitele con acqua distillata o deionizzata prima del rimessaggio; vedere Aggiunta di acqua distillata o deionizzata alle batterie.
| Problem | Possible Cause | Corrective Action |
|---|---|---|
| La spia di stato della macchina è sempre accesa. |
|
|
| La spia di stato della macchina ha lampeggiato 1 volta. |
|
|
| La spia di stato della macchina ha lampeggiato 2 volte. |
|
|
| La spia di stato della macchina ha lampeggiato 3 volte. |
|
|
| La spia di stato della macchina ha lampeggiato 4 volte. |
|
|
| La spia di stato della macchina ha lampeggiato 5 volte. |
|
|
| La spia di stato della macchina ha lampeggiato 6 volte. |
|
|
| La spia di stato della macchina ha lampeggiato 7 volte. |
|
|
| La spia di stato della macchina ha lampeggiato 8 volte. |
|
|
| La spia di stato della macchina ha lampeggiato 10 volte. |
|
|
| La spia di stato della macchina ha lampeggiato 11 volte. |
|
|
| La spia di stato della macchina ha lampeggiato 12 volte. |
|
|
| La spia di stato della macchina ha lampeggiato 13 volte. |
|
|
| La spia di stato della macchina ha lampeggiato 14 volte. |
|
|
| La spia di stato della macchina non è accesa. |
|
|