Makineyi düz bir zemine park edin.
Park frenini etkinleştirin.
Motoru kapatın ve anahtarı çıkarın.
Akü bağlantısını ayırın; Kullanma Kılavuzuna bakın.
Yük kasasını boşaltma konumuna yükseltin ve kasa tutma çubuğuyla sabitleyin.
Bu prosedür için gerekli parçalar:
| Ön montaj borusu | 2 |
| Flanş başlı cıvata (5/16 x 3 inç) | 2 |
| Ara parça (⅝ x 1 inç) | 2 |
| Flanşlı somun (5/16 inç) | 4 |
| Taşıyıcı cıvata (5/16 x 2 inç) | 2 |
Şekil Şekil 3 ile gösterildiği gibi, 2 flanş başlı cıvatayı (5/16 x 3 inç), 2 ara parçayı (⅝ x 1 inç), 4 flanşlı somunu (5/16 inç) ve 2 taşıyıcı cıvatayı (5/16 x 2 inç) kullanarak 2 ön montaj borusunu gevşek bir şekilde takın.

Important: Bu işleme başlamadan önce, makinenizde zaten montaj delikleri olup olmadığını kontrol edin. Yoksa, bu işleme başlayın.
Note: Bu işlem boyunca çıkardığınız tüm donanımı saklayın.
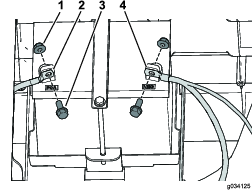
Yakıt deposunu depo tepsisine sabitleyen flanş başlı cıvatayı sökün (Şekil 4).

Bastırma düzeneğini sabitleyen vidaları sökün (Şekil 4).
Havalandırma borusunu ve yakıt hattını depodan ayırın (Şekil 4).
Note: Yakıt hattını depodan ayırırken dökülebilecek yakıtı tutmaya ve temizlemeye hazırlıklı olun.
Bazı koşullarda, yakıt aşırı derecede yanıcı ve patlayıcıdır. Benzinin yanması veya patlaması sizi ve başkalarını yakabilir, maddi hasar verebilir.
Yakıt deposundaki yakıtı motor soğukken boşaltın. Bu işlemi açık havada yapın. Dökülen yakıtı silerek giderin.
Yakıtla çalışırken asla sigara içmeyin ve alevlerden veya kıvılcımların yakıt buharlarını tutuşturabileceği yerlerden uzak durun.
Yakıt deposunu tepsiden çıkarın.
Depo tepsisini şasiye sabitleyen 2 flanş başlı cıvatayı sökün (Şekil 5).

Sol yan paneli alt koltuk grubuna sabitleyen 4 vidayı sökün (Şekil 6).

Önce eksi (-), ardından da artı (+) kabloyu aküden ayırın (Şekil 7).

Akü tepsisini şasiye sabitleyen 2 flanş başlı cıvatayı sökün (Şekil 8).

Sağ yan paneli alt koltuk grubuna sabitleyen 4 vidayı sökün (Şekil 8).
Important: Bu işleme başlamadan önce, makinenizde zaten montaj delikleri olup olmadığını kontrol edin. Yoksa, bu işleme başlayın.
Note: Bu işlem boyunca çıkardığınız tüm donanımı saklayın.
Şekil Şekil 11 ile gösterilen ölçümleri kullanarak destek braketinde delik açın.
En üstteki deliği açarken, dış brakete, şasi borusuna ve bölme sacına kadar delin.
Elektrikli bir makinenin şasisinin sağ tarafında delik açarken dikkatli olun.
Çok fazla delerseniz, akülere ve diğer bileşenlere zarar verebilirsiniz.

Daha önce söktüğünüz 4 vidayı kullanarak sağ paneli sabitleyin (Şekil 8).
Daha önce söktüğünüz 2 flanş başlı cıvatayı kullanarak akü tepsisini şasiye sabitleyin (Şekil 8).
Daha önce söktüğünüz 2 cıvata ile 2 somunu kullanarak akü kablolarını sabitleyin ve akü terminallerini bağlayın (Şekil 7).
Daha önce söktüğünüz 4 vidayı kullanarak sol paneli sabitleyin (Şekil 6).
Daha önce söktüğünüz 2 flanş başlı cıvatayı kullanarak depo tepsisini şasiye sabitleyin (Şekil 5).
Yakıt deposunu yakıt tepsisine yerleştirin.
Yakıt hattını ve havalandırma borusunu yakıt deposuna bağlayın (Şekil 4).
Daha önce söktüğünüz vidaları kullanarak bastırma düzeneğini sabitleyin (Şekil 4).
Daha önce söktüğünüz flanş başlı cıvatayı kullanarak yakıt deposunu depo tepsisine sabitleyin (Şekil 4).
Yakıt deposunu doldurun; bkz. Kullanma Kılavuzu.
Bu prosedür için gerekli parçalar:
| Arka montaj borusu | 2 |
| Boru montaj braketi | 1 |
| Flanş başlı cıvata (5/16 x 3 inç) | 2 |
| Flanşlı somun (5/16 inç) | 2 |
| Flanş başlı cıvata (⅜ x 1¾ inç) | 2 |
| Flanş başlı cıvata (⅜ x 3½ inç) | 2 |
| Kilit somunu (⅜ inç) | 4 |
| İnce ayar contası | 1 |
Şekil Şekil 12 ile gösterildiği gibi, 2 flanş başlı cıvatayı (⅜ x 3½ inç), 2 flanş başlı cıvatayı (⅜ x 1¾ inç) ve 4 kilit somununu (⅜ inç) kullanarak 2 arka montaj borusunu gevşek bir şekilde takın.

2 flanş başlı cıvatayı (5/16 x 3 inç) ve 2 flanşlı somunu (5/16 inç) kullanarak, boru montaj braketini şekil Şekil 13 ile gösterildiği gibi arka montaj borularına sabitleyin.
İnce ayar contasını boru montaj braketinin üstüne takın (Şekil 13).

1. adımda taktığınız sabitleme elemanlarını sıkın.
5/16 inç sabitleme elemanlarını 20 ila 25 N∙m torkla sıkın.
⅜ inç sabitleme elemanlarını 37 ila 45 N∙m torkla sıkın.
Bu prosedür için gerekli parçalar:
| Uzun tente destek braketi | 2 |
| Altıgen pullu cıvata (5/16 x ¾ inç) | 8 |
| İnce ayar contası | 2 |
Bu prosedür için gerekli parçalar:
| Tente | 1 |
| Flanş başlı cıvata (¼ x 1¾ inç) | 4 |
| Sızdırmazlık rondelası | 4 |
| Kilit somunu (¼ inç) | 4 |
Important: Bir ayna seti takacaksanız, tenteden önce onu takın.
Şekil 15 ile gösterildiği gibi 4 flanş başlı cıvatayı (¼ x 1¾ inç), 4 sızdırmazlık rondelasını ve 4 kilit somununu (¼ inç) kullanarak tenteyi ön ve arka montaj borularına sabitleyin.

Bu prosedür için gerekli parçalar:
| Tente destek braketi | 1 |
| Flanş başlı cıvata (¼ x 2¼ inç) | 2 |
| Kilit somunu (¼ inç) | 2 |
| Sızdırmazlık rondelası | 2 |
| İnce ayar contası | 1 |
| Ara parça (¼ inç) | 2 |
Bu prosedür için gerekli parçalar:
| Tente destek borusu | 1 |
| Kilit somunu (¼ inç) | 6 |
| Sızdırmazlık rondelası | 2 |
| Flanş başlı cıvata (¼ x 1½ inç) | 2 |
| Köpük dolgu | 1 |
| Flanş başlı cıvata (¼ x 1¼ inç) | 4 |
Köpük dolguyu tente destek borusuna uygulayın (Şekil 18).

Şekil 19 ile gösterildiği gibi 4 flanş başlı cıvatayı (¼ x 1¼ inç) ve 4 kilit somununu (¼ inç) kullanarak tente destek borusunu uzun tente destek braketlerine sabitleyin.

Tente destek borusunu şablon olarak kullanarak, tentede 2 delik (6 mm veya ¼ inç) açın.
Şekil 20 ile gösterildiği gibi 2 flanş başlı cıvatayı (¼ x 1½ inç), 2 sızdırmazlık rondelasını ve 2 kilit somununu (¼ inç) kullanarak tente destek borusunu tenteye sabitleyin.
