Important: A gép biztonságának, teljesítményének és megfelelő működésének maximalizálása érdekében olvassa el gondosan és értelmezze teljes egészében ennek a Kezelői kézikönyvnek a tartalmát. Ha nem tartja be ezeket a használati utasításokat, vagy nem kap megfelelő képzést, az személyi sérülést okozhat. Látogasson el a www.Toro.com webhelyre további információkért a biztonságos üzemeltetési gyakorlatokról, beleértve a biztonsági tanácsokat és oktatási anyagokat.
A termékekkel és tartozékokkal kapcsolatos információkért, a márkakereskedőkre vonatkozó tájékoztatásért vagy terméke regisztrációjáért a Torót közvetlenül is elérheti a www.Toro.com címen.
Ha szervizre, eredeti Toro-alkatrészekre vagy további információkra van szüksége, forduljon hivatalos márkaszervizhez vagy a Toro ügyfélszolgálatához, és készítse elő terméke típus- és sorozatszámát. Az Ábra 1 jelzi a típus- és sorozatszám helyét a terméken. Írja fel a számokat az erre előkészített helyre.
Important: Mobileszköze segítségével a sorozatszámon található QR-kódot (ha van) beolvasva elérheti a garanciális tudnivalókat, az alkatrészekre vonatkozó adatokat és az egyéb termékinformációkat.

Ez a kézikönyv azonosítja a lehetséges veszélyeket, és tartalmazza a (Ábra 2) biztonsági figyelmeztető jelzéssel azonosított biztonsági üzeneteket. Ezek az üzenetek olyan veszélyt jeleznek, amely súlyos sérülést vagy halált okozhat, amennyiben nem követi az ajánlott óvintézkedéseket.

Ez a kézikönyv 2 szót használ az információ kiemelésére. A Fontos speciális műszaki információra hívja fel a figyelmet, a Megjegyzés külön figyelemre érdemes általános információt hangsúlyoz.
![]() |
A biztonsági címkék és utasítások a kezelő számára feltűnő helyen, a potenciálisan veszélyes területek közelében találhatók. A sérült vagy hiányzó matricát cserélje le, illetve pótolja. |

Note: A gép jobb és bal oldalát normál üzemeltetési helyzetben határozza meg.

Parkolja le a gépet sík talajon.
Húzza be a rögzítőféket.
Állítsa le a motort és vegye ki az indítókulcsot.
Ehhez az eljáráshoz szükséges alkatrészek:
| Csuklócsapkonzol | 1 |
| Kapupántcsavar (5/16 × ¾") | 2 |
| Önbiztosító anya (5/16") | 5 |
| Rögzítőpedál | 1 |
| Perselylemez | 1 |
| Hatlapfejű csavar (5/16 × ¾") | 3 |
| Távtartó (⅝ × 1-1/16") | 1 |
| Torziós rugó | 1 |
| Alátét (1⅛ × 2") | 1 |
| Rögzítőgyűrű | 1 |
| Alátét (⅝ × 1") | 1 |
| Önzáró anya (⅝") | 1 |
| Önbiztosító anya (¼") | 2 |
| Kerékagyszerelvény | 1 |
| Csavar (¼ × 2¾") | 1 |
| Alátét(9/32") | 1 |


Szerelje fel a csuklócsapkonzolt a lábtartóra 2 kapupántcsavar (5/16 × ¾") és 2 önbiztosító anya (5/16") segítségével a Ábra 5 szerint.

A csuklócsapkonzolt fúrási sablonként használva készítsen 3 furatot (8 mm) a lábtartó peremébe (Ábra 6).

Távolítsa el a csuklócsapkonzolt, a 2 kapupántcsavart (5/16 × ¾") és a 2 önbiztosító anyát (5/16") a gépről (Ábra 7).

Távolítsa el a 2. lépésben kifúrt 3 furat elkészítésekor esetlegesen keletkezett fémforgácsot.
A lábtartó peremének belső oldalán igazítsa össze a csuklócsapkonzolon lévő 3 furatot a peremen lévő 3 furattal (Ábra 8).

Szerelje fel a csuklócsapkonzolt a lábtartóra (Ábra 9) 3 hatlapfejű csavar (5/16 × ¾") és 3 rögzítőanya (5/16") segítségével.

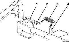
Szerelje fel a távtartót (⅝ × 1-1/16") a rögzítőpedál forgótengelye fölé (Ábra 10).

Igazítsa össze a rögzítőpedált a bal lábtartóval és a csuklócsapkonzolon lévő furatokkal (Ábra 11).

Szerelje fel a perselylemezt a csuklócsapkonzolra és a lábtartóra (Ábra 12) 2 kapupántcsavar (5/16 × ¾") és 2 rögzítőanya (5/16") segítségével.

Húzza meg az önbiztosító anyákat 71–92 N cm nyomatékkal.
Csúsztassa rá a torziós rugót a perselylemezre, miközben a rugó egyik végét beakasztja a rögzítőpedálon lévő kis tőcsavarba, a másik végét pedig a padlólemeznek nyomja (Ábra 13).
Note: Helyezze a rugót a perselylemezre az ábrán látható módon.

Rögzítse a torziós rugót a kis tőcsavarhoz egy önbiztosító anya (¼") segítségével; lásd: Ábra 13.
Rögzítse a torziós rugót a perselylemezhez egy lapos alátét (1⅛ × 2") és egy rögzítőgyűrű segítségével (Ábra 14).

Rögzítse a rögzítőpedált a lábtartóra és a perselylemezre egy lapos alátét (⅝ × 1") és egy önbiztosító anya (⅝") segítségével; lásd: Ábra 15.
Note: Ne húzza túl az anyát; a rögzítőpedálnak szabadon kell forognia a lenyomásakor.



Szerelje fel a kerékagyszerelvényt a bal oldali lábtartóra 2 kapupántcsavar (5/16 × ¾") és 2 önbiztosító anya (5/16") segítségével.

Rögzítse a kerékagyszerelvény alját a gép vázához egy csavar (¼ × 2¾"), egy alátét (¼") és egy önbiztosító anya (¼") segítségével; lásd: Ábra 17.
Húzza meg az önbiztosító anyákat 71–92 N cm nyomatékkal.
Igazítsa össze a rögzítőpedált a bal lábtartóval és a kerékagyszerelvényen lévő furatokkal (Ábra 18).

Illessze be a rögzítőpedál forgótengelyét a bal oldali lábtartón lévő furaton és a kerékagyszerelvényen keresztül (Ábra 18).
Csúsztassa rá a torziós rugót a kerékagyszerelvényre, miközben a rugó egyik végét beakasztja a rögzítőpedálon lévő kis tőcsavarba, a másik végét pedig a padlólemeznek nyomja (Ábra 19).
Note: Helyezze a rugót a kerékagyszerelvényre a Ábra 19 ábrán látható módon.


Rögzítse a torziós rugót a kis tőcsavarhoz egy önbiztosító anya (¼") segítségével; lásd: Ábra 19.
Rögzítse a torziós rugót a perselylemezhez egy lapos alátét (1⅛ × 2") és egy rögzítőgyűrű segítségével (Ábra 20).

Rögzítse a rögzítőpedált a lábtartóra és a kerékagyszerelvényre egy lapos alátét (⅝ x 1") és egy önbiztosító anya (⅝") segítségével; lásd: Ábra 21.
Note: Ne húzza túl az anyát; a rögzítőpedálnak szabadon kell forognia a lenyomásakor.

Selejtezze le az alkatrészeket, amelyek nem szükségesek a géphez.
Ehhez az eljáráshoz szükséges alkatrészek:
| Rögzítőkonzol-egység | 2 |
| Csavar (½ × 3½") | 4 |
| Rögzítőanya (½″) | 4 |
Note: Győződjön meg arról, hogy az első és hátsó gumiabroncsokat 28–41 kPa nyomásra fújták fel.
Rögzítse a gép hátulját, majd távolítsa el a hátsó gumiabroncsokat.
Note: Helyezzen fatömböt a hátsó kerék motortartó bakjai alá.
Lazán rögzítse a rögzítőkonzol-egységet a lábtartó jobb és bal csöveire 2 csavar (½ × 3½") és önbiztosító anyák (½") segítségével. Állítsa be a rögzítőkonzol-egységeket és a csavarokat a Ábra 22 ábrán látható módon.
Note: A jobb oldali rögzítőkonzolt nem kell felszerelni, ha a gép középső rögzítésű tartórúddal szerelt.

Ehhez az eljáráshoz szükséges alkatrészek:
| Jobb emelőkar | 1 |
| Bal emelőkar | 1 |
| Kengyelcsapszeg | 2 |
| Biztosító sasszeg | 2 |
| Torziós cső | 1 |
| Csavar (⅜" × 1") | 4 |
| Önbiztosító anya (⅜") | 4 |
Állítsa be az emelőkarokat úgy, hogy az egyes emelőkarkonzolok rögzítőfuratai igazodjanak a rögzítőkeretek furataihoz (Ábra 23).
Rögzítse a jobb emelőkart a rögzítőkerethez egy kengyelcsapszeg és egy biztosító sasszeg segítségével (Ábra 23).
Lazán szerelje fel a torziós cső egyik végét a jobb emelőkarra 2 csavar (⅜ × 1") és önbiztosító anyák (⅜") segítségével; lásd: Ábra 23.
Note: Ekkor még ne húzza meg a kötőelemeket.
Rögzítse a bal emelőkart a rögzítőkerethez egy kengyelcsapszeg és egy biztosító sasszeg segítségével (Ábra 23).
Lazán szerelje fel a torziós cső másik végét a bal emelőkarra 2 csavar (⅜ × 1") és önbiztosító anyák (⅜") segítségével; lásd: Ábra 23.
Note: Ekkor még ne húzza meg a kötőelemeket.

Ehhez az eljáráshoz szükséges alkatrészek:
| 1016 mm-es vágókés (opcionálisan külön megvásárolható, 1524 mm-es vágókést is felszerelhet) | 1 |
| Merevítőlemez | 2 |
| Csavar (⅜" × 1") | 2 |
| Önbiztosító anya (⅜") | 6 |
| Csavar (⅜ × 3") | 4 |
Note: Opcionálisan 1524 mm-es vágókést is vásárolhat. A jelen fejezet 1016 mm-es vágókésre vonatkozó utasításai szerint szerelje fel.
Lazán rögzítse a merevítőlemezt a vágókésegység egyes belső rögzítőfüleire.
Note: Állítsa be a merevítőlemezek helyzetét a Ábra 24 ábra alapján.
Lazán rögzítse az emelőkarok elejét a vágókésrögzítő konzolokhoz és merevítőlemezekhez 4 csavar (⅜ × 3") és 4 önbiztosító anya (⅜") segítségével; lásd: Ábra 24.
Note: A vágókésrögzítő konzolokon lévő felső rögzítőfuratok használatával a vágókések agresszívebb módon fognak működni (Ábra 24).
A vágókést fektesse egy vízszintes felületre, és húzza meg az emelőkarokat a vágókéshez rögzítő kötőelemeket (Ábra 24).
Note: Húzza meg az anyákat 19–24 N∙m nyomatékkal.
Húzza meg a csavarokat és önbiztosító anyákat, amelyek a torziós csövek végét az emelőkarokhoz rögzítik (Ábra 23).
Note: Húzza meg az anyákat 19–24 N∙m nyomatékkal.

Ehhez az eljáráshoz szükséges alkatrészek:
| Emelőkar lábpedálja | 1 |
| Csavar (⅜ × 3") | 2 |
| Önbiztosító anya (⅜") | 4 |
| Rugótartó konzol | 2 |
| Csavar (⅜ × 2¾") | 2 |
| Feszítőrugó | 2 |
| Rugós rúd | 2 |
Szerelje fel az emelőkar lábpedálját a bal emelőkar külsejére 2 csavar (⅜ × 3") és 2 önbiztosító anya (⅜") segítségével.
Note: Állítsa be a lábpedál helyzetét a Ábra 25 alapján.

Távolítsa el az alsó anyát és csavart, amely egyes emelőszerkezet csövének egyes rögzítőkonzoljait a függőleges vázcsövekhez rögzíti (Ábra 26).
Note: Dobja el az anyát és a csavart.
Az emelőszerkezet csövének nyitott rögzítőfuratai segítségével rögzítsen egy rugótartó konzolt minden emelőszerkezetcső-tartóelemre/függőleges vázcsőre egy csavar (⅜ × 2¾") és egy anya (⅜") segítségével.
Note: Állítsa be a rugótartó konzolok helyzetét a Ábra 26 alapján.

Húzza vissza a fogantyút a vágókés vonulási helyzetbe való felemeléséhez és ilyen helyzetben való rögzítéséhez.
Húzza meg az összes többi kötőelemet is.
Csatlakoztassa a feszítőrugót az emelőkarhoz és egy rugós rúdhoz.
Szerelje be a rugós rudat a rugótartó konzol furatába, majd rögzítse lazán egy önbiztosító anyával (⅜").
Ismételje meg az 6. és a 7. lépést a gép ellentétes oldalán.
Szerelje fel a hátsó kerekeket, majd távolítsa el a gép hátulja alól a farönköket.
Note: Húzza meg a kerékanyákat 61–75 N∙m nyomatékkal.
A rugó beállítása szabályozza a vágókések vonulási helyzetbe való felemeléséhez szükséges erőt. Ha a rugó túl laza, a vágókések nehezen emelhetők vonulási helyzetbe. Ha azonban a rugófeszesség túl nagy, a vágókések túlzottan lebeghetnek működés közben.
Engedje a talajra a vágókést.
Note: Ha a rugók beállítása megfelelő, a vágókés aljának teljes hossza legfeljebb 6 mm-re fog elemelkedni a talajtól.
A vágókés felemeléséhez az óramutató járásával megegyező irányba, a leengedéséhez pedig az óramutató járásával ellentétes irányban forgassa el a rugóállító anyákat (Ábra 27).

Húzza vissza a fogantyút a vágókés vonulási helyzetbe való felemeléséhez és ilyen helyzetben való rögzítéséhez. Nyomja meg a rögzítőpedált a vágókés üzemi helyzetbe való kiengedéséhez.
A vágókés segítségével kilökheti vagy behúzhatja a homokot és a szennyeződéseket. A vágókés üzemi helyzetében egyszerűen tolja előre vagy húzza vissza finoman a fogantyút, vagy nyomja meg az emelőkar lábpedálját az ekézési művelet szabályozásához.
Note: Ha a kerekek ekézés közben forognak, a fogantyú visszahúzásával kis mértékben emelje fel a vágókést. Előfordulhat, hogy a motor elkezd túlterhelődni. Ilyen esetben fokozatosan engedje el a hajtópedált a motorfordulatszám és -teljesítmény növeléséhez.
Óvatosan távolítsa el a rugós rudat a rugótartó konzolokhoz rögzítő állítóanyákat.
A rugók üzemi helyzetben feszülnek, így személyi sérülést okozhatnak.
Az energiát tároló alkatrészekből engedje ki óvatosan a nyomást.
Távolítsa el a rugós rudat és a rugókat.
Engedje a talajra a vágókést.
Távolítsa el a biztosító sasszegeket és a kengyelcsapszegeket, amelyek az emelőkarokat a rögzítőkonzolokhoz csatlakoztatják.
Emelje fel a gép elejét, és csúsztassa ki a teljes vágókésegységet a géptől előrefelé.