| Периодичность технического обслуживания | Порядок технического обслуживания |
|---|---|
| Перед каждым использованием или ежедневно |
|
Данный технологический автомобиль предназначен в основном для перевозки людей и грузов вне дорог. Использование этого изделия не по прямому назначению может быть опасным для пользователя и находящихся рядом людей.
Внимательно изучите данное Руководство, чтобы знать, как правильно использовать и обслуживать машину, не допуская ее повреждения и травмирования персонала. Вы несете ответственность за правильное и безопасное использование машины.
Посетите веб-сайт www.Toro.com для получения информации о технике безопасности при работе с изделием, обучающих материалов по эксплуатации изделия, информации о принадлежностях, а также для получения помощи в поисках дилера или для регистрации вашего изделия.
Для выполнения технического обслуживания, приобретения оригинальных запчастей Toro или получения дополнительной информации обращайтесь в сервисный центр официального дистрибьютора или в отдел технического обслуживания компании Toro. Не забудьте при этом указать модель и серийный номер изделия. Рисунок 1 показано местонахождение номера модели и серийного номера на автомобиле. Запишите номера в предусмотренном для этого месте.
Important: С помощью мобильного устройства вы можете отсканировать QR-код на табличке с серийным номером (при наличии), чтобы получить информацию по гарантии и запчастям, а также другие сведения об изделии.

Для выделения информации в данном руководстве используются два слова. Внимание – привлекает внимание к специальной информации, относящейся к механической части машины, и Примечание – выделяет общую информацию, требующую специального внимания.
Символ предупреждения об опасности (Рисунок 2) используется как в этом руководстве, так и на машине для обозначения важных указаний о безопасности, которых вы должны придерживаться для предотвращения несчастных случаев. Этот символ также сопровождается надписью Опасно! (Danger), Внимание! (Warning) или Предупреждение! (Caution).
Опасно! указывает на непосредственно опасную ситуацию, которая, если ее не предотвратить, приведет к серьезным травмам, в том числе с летальным исходом.
Внимание! указывает на потенциально опасную ситуацию, которая, если ее не предотвратить, может привести к серьезным травмам, в том числе с летальным исходом.
Предупреждение! указывает на потенциально опасную ситуацию, которая, если ее не предотвратить, может привести к травмам легкой или средней тяжести.

Данное изделие удовлетворяет всем соответствующим европейским директивам; подробные сведения содержатся в документе «Декларация соответствия» на каждое отдельное изделие.
Раздел 4442 или 4443 Калифорнийского свода законов по общественным ресурсам запрещает использовать или эксплуатировать на землях, покрытых лесом, кустарником или травой, двигатель без исправного искрогасительного устройства, описанного в разделе 4442 и поддерживаемого в надлежащем рабочем состоянии; или двигатель должен быть изготовлен, оборудован и проходить обслуживание с учетом противопожарной безопасности.
Прилагаемое Руководство владельца двигателя содержит информацию о требованиях Агентства по охране окружающей среды США (EPA) и (или) Директивы по контролю вредных выбросов штата Калифорния, касающихся систем выхлопа, технического обслуживания и гарантии. Запасные части можно заказать у изготовителя двигателя.
КАЛИФОРНИЯ
Положение 65, Предупреждение
Согласно законам штата Калифорния считается, что выхлопные газы этого изделия содержат химические вещества, которые вызывают рак, врождённые пороки, и представляют опасность для репродуктивной функции.
Полюсные выводы аккумуляторной батареи, клеммы, и сопутствующие принадлежности содержат свинец и соединения свинца - химические вещества, которые в штате Калифорния расцениваются как вызывающие рак и нарушающие репродуктивную функцию. После работы с этими элементами необходимо мыть руки.
Конструкция данной машины разработана в соответствии с требованиями стандарта SAE J2258 (ноябрь 2016 г.).
Нарушение правил работы с данным изделием может стать причиной травм. Во избежание тяжелых травм следует всегда соблюдать все правила техники безопасности.
Перед запуском двигателя машины прочитайте и изучите содержание настоящего Руководства оператора. Убедитесь, что все лица, эксплуатирующие изделие, знают, как его применять, и понимают все предупредительные надписи.
При работе на данной машине следует быть предельно внимательным. Во избежание травмирования людей или повреждения имущества запрещается отвлекаться во время работы.
Запрещается помещать руки и ноги рядом с движущимися компонентами машины.
Запрещается эксплуатировать данную машину без установленных на ней исправных ограждений и других защитных устройств.
Не допускайте посторонних лиц и детей в рабочую зону. Запрещается допускать детей к эксплуатации машины.
Перед техническим обслуживанием или заправкой топливом остановите машину, заглушите двигатель и извлеките ключ.
Нарушение правил
эксплуатации или
технического обслуживания
машины может привести
к травме. Чтобы
снизить вероятность
травмирования,
следует выполнять
правила техники
безопасности и
всегда обращать
внимание на символы,
предупреждающие
об опасности (
, которые
имеют следующее
значение: «Предупреждение!»,
«Осторожно!» или
«Опасно!» – указания
по обеспечению
личной безопасности.
Несоблюдение данных
инструкций может
стать причиной
травмы или гибели.
![]() |
Предупреждающие наклейки и инструкции по технике безопасности должны быть хорошо видны оператору и установлены во всех местах потенциальной опасности. Заменяйте поврежденные или утерянные наклейки. |















Note: Определите левую и правую стороны автомобиля относительно рабочего места оператора.
Детали, требуемые для этой процедуры:
| Рулевое колесо | 1 |
| Крышка рулевого колеса | 1 |
| Шайба (½ дюйма) | 1 |
| Пылезащитная крышка | 1 |
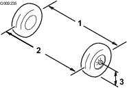
Если установлена крышка, снимите ее со ступицы рулевого колеса (Рисунок 3).
Отверните контргайку (½ дюйма) с рулевого вала (Рисунок 3).
Наденьте рулевое колесо, пылезащитную крышку и шайбу (½ дюйма) на рулевой вал (Рисунок 3).
Note: Установив передние колеса прямо вперед, поверните рулевое колесо так, чтобы малая спица рулевого колеса была в вертикальном положении.
Закрепите рулевое колесо на валу контргайкой (½ дюйма) и затяните ее с моментом 18–30 Н∙м.
Установите крышку на рулевое колесо (Рисунок 3).

До и после первого запуска двигателя проверьте уровень моторного масла; см. раздел Проверка уровня масла в двигателе.
Перед первым запуском двигателя проверьте уровень тормозной жидкости; см. раздел Проверка уровня тормозной жидкости.
Перед первым запуском двигателя проверьте уровень жидкости в коробке передач; см. раздел Проверка уровня трансмиссионной жидкости.
Проверьте давление воздуха в шинах; см. Проверка давления в шинах.
Для оптимальной работы тормозной системы выполните перед началом эксплуатации приработку тормозов.
Разгоните автомобиль до полной скорости и нажмите на педаль тормоза для быстрой остановки автомобиля без блокировки колес.
Повторите эту операцию 10 раз, делая перерыв между остановками в 1 минуту для предотвращения перегрева тормозов.
Important: Данная операция наиболее эффективна при перемещении автомобилем груза массой 227 кг.
Детали, требуемые для этой процедуры:
| Руководство оператора | 1 |
| Руководство владельца двигателя | 1 |
| Регистрационная карточка | 1 |
| Форма проверки перед доставкой | 1 |
| Сертификат качества | 1 |
| Ключ | 2 |
Прочитайте Руководство оператора и руководство для владельца двигателя.
Заполните регистрационную карточку.
Заполните Форму проверки перед доставкой.
Просмотрите Сертификат качества.


Прежде чем запустить двигатель и начать эксплуатацию машины, ознакомьтесь со всеми органами управления.

Педаль акселератора (Рисунок 6), используется, чтобы изменить скорость движения автомобиля. Нажатие на педаль акселератора запускает двигатель. Дальнейшее нажатие на педаль увеличивает скорость движения. При отпускании педали автомобиль замедляется, и двигатель глохнет.
Note: Максимальная скорость движения — 26 км/ч.
Педаль тормоза предназначена для остановки или замедления автомобиля (Рисунок 6).
Эксплуатация автомобиля с изношенными или неправильно отрегулированными тормозами может привести к травме.
Если расстояние между нажатой до упора педалью тормоза и полом не превышает 25 мм, тормоза необходимо отрегулировать или отремонтировать.
Пусковой переключатель расположен в нижнем правом углу приборной панели (Рисунок 6).
Пусковой переключатель имеет три положения: Выкл., Вкл. и Пуск.
Предусмотрено 2 режима запуска двигателя; см. раздел Пуск двигателя.
Рычаг стояночного тормоза расположен на панели управления (Рисунок 6).
Чтобы предотвратить случайное движение автомобиля, всегда включайте стояночный тормоз при выключении двигателя. Если автомобиль паркуется на крутом склоне, убедитесь, что стояночный тормоз включен.
Для включения стояночного тормоза потяните его рычаг на себя (Рисунок 7).

Для выключения стояночного тормоза нажмите кнопку сверху рычага стояночного тормоза, потяните рычаг на себя, чтобы снять c него усилие, а затем передвиньте рычаг стояночного тормоза вперед (Рисунок 8).

Ручка воздушной заслонки расположена на панели управления. При запуске холодного двигателя вытяните ручку воздушной заслонки на себя (Рисунок 6). После запуска двигателя отрегулируйте воздушную заслонку для поддержания устойчивой работы двигателя. После прогрева двигателя переместите ручку воздушной заслонки внутрь в положение ВЫКЛ.
У рычага переключения передач есть три положения по индикатору переключения передач: Передний ход (F), Задний ход (R) и Нейтраль (N) (Рисунок 9).
Note: Двигатель запускается и работает в любом из этих трех положений.
Из нейтрального (N) положения рычаг переключения передач можно переместить влево в положение переднего хода (F) или вправо в положение заднего хода (R) (Рисунок 9).
Important: Перед переключением передач следует остановить автомобиль.

Кнопка звукового сигнала расположена на панели управления (Рисунок 6). Нажимайте эту кнопку для подачи звукового сигнала.
Выключатель освещения расположен слева от рулевой колонки (Рисунок 10). Используйте выключатель освещения для включения передних фар. Чтобы включить фары, нужно нажать выключатель вверх. Чтобы выключить фары, нужно нажать выключатель вниз.

Счетчик моточасов расположен справа от выключателя освещения (Рисунок 10). Используйте счетчик моточасов, чтобы определить общую наработку двигателя в часах. Счетчик моточасов начинает отсчет, как только ключ зажигания поворачивается в положение ВКЛ, положение ПУСК, а также действует при уже работающем двигателе.
Note: Когда автомобиль работает, счетчик моточасов непрерывно мигает, записывая наработку автомобиля.
Розетка питания USB расположена слева от рычага стояночного тормоза (Рисунок 6). Используйте розетку питания USB для подключения мобильных устройств.
Important: Когда вы не используете порт USB, вставьте резиновую заглушку для предотвращения его повреждения.
Указатель уровня топлива (Рисунок 11) расположен в крышке заливной горловины топливного бака с левой стороны автомобиля. Указатель топлива показывает количество топлива в баке.

Поручни для пассажиров расположены снаружи каждого сиденья (Рисунок 12).

Note: Технические характеристики и конструкция автомобиля могут быть изменены без уведомления.
| Сухая масса | 397 кг |
| Номинальная грузоподъемность (на горизонтальной поверхности). | Всего 544 кг, включая массу оператора 90,7 кг, пассажира 91 кг, груза, вспомогательных приспособлений и навесных орудий |
| Полная масса автомобиля (GVW) – на ровной горизонтальной поверхности | Всего 941 кг, включая все нагрузки, перечисленные выше |
| Максимальная грузоподъемность (на горизонтальной поверхности). | Всего 363 кг, включая установленное сзади дополнительное оборудование |
| Максимальная грузоподъемность заднего крепления принадлежностей на грузовом кузове | Всего 45 кг |
| Грузоподъемность буксируемого прицепа | Масса сцепного устройства: 91 кг |
| Полная масса прицепа (GTW): 680 кг | |
| Габаритная ширина | 119 см |
| Габаритная длина | 302 см |
| Габаритная высота | 127,5 см |
| Дорожный просвет | 21,6 см в передней части без груза или оператора |
| 14 см в задней части без груза или оператора | |
| Колесная база | 220 см |
| Ширина колеи (по осям колес) | Спереди: 119 см |
| Сзади: 119 см | |
| Длина грузового кузова | Внутренний размер: 102 см |
| Наружный размер: 114,3 см | |
| Ширина грузового кузова | Внутренний размер: 98 см |
| По наружным краям формованных крыльев: 107,3 см | |
| Высота грузового кузова | 28 см внутри |
| Частота вращения двигателя | Малая частота холостого хода: от 1250 до 1350 об/мин |
| Высокая частота холостого хода: от 3650 до 3750 об/мин |
Для улучшения и расширения возможностей машины можно использовать ряд утвержденных компанией Toro вспомогательных приспособлений и навесного оборудования. Обратитесь в сервисный центр официального дилера или дистрибьютора или посетите сайт www.Toro.com, на котором приведен список всех утвержденных навесных орудий и вспомогательных приспособлений.
Для поддержания оптимальных рабочих характеристик машины и регулярного прохождения сертификации безопасности всегда приобретайте только оригинальные запасные части и приспособления компании Toro. Использование запасных частей и приспособлений, изготовленных другими производителями, может быть опасным и привести к аннулированию гарантии на изделие.
Note: Определите левую и правую стороны машины относительно места оператора.
Детям или людям, не имеющим соответствующей подготовки или физических возможностей запрещается эксплуатировать или выполнять обслуживание машины. Минимальный возраст оператора устанавливается местными правилами и нормами. Владелец несет ответственность за подготовку всех операторов и механиков.
Ознакомьтесь с приемами безопасной эксплуатации оборудования, органами управления и знаками безопасности.
Прежде чем покинуть рабочее место оператора, выключите машину, извлеките ключ и дождитесь остановки всех движущихся частей. Дайте машине остыть перед регулировкой, техническим обслуживанием, очисткой или помещением на хранение.
Изучите порядок быстрого останова и выключения машины.
Убедитесь в том, что число людей, находящихся в машине (вы и ваш пассажир(пассажиры)), не превышает количество поручней, установленных на машине.
Проверьте, чтобы все защитные устройства и предупреждающие наклейки находились на штатных местах. Замените или отремонтируйте все защитные устройства и замените все неразборчивые или отсутствующие наклейки. Не приступайте к эксплуатации автомобиля, пока не убедитесь в наличии и правильной работе защитных устройств.
Будьте предельно осторожны при обращении с топливом. Топливо легко воспламеняется, а его пары взрывоопасны.
Потушите все сигареты, сигары, трубки и другие источники возгорания.
Используйте только разрешенную к применению емкость для топлива.
Запрещается снимать крышку топливного бака и доливать топливо в бак во время работы двигателя или когда двигатель нагрет.
Запрещается доливать или сливать топливо в закрытом пространстве.
Запрещается хранить машину или емкость с топливом в местах, где есть открытое пламя, искры или малая горелка, используемая, например, в водонагревателе или другом оборудовании.
В случае разлива топлива не пытайтесь запустить двигатель; пока пары топлива не рассеются, следите, чтобы не возникло возгорания.
| Периодичность технического обслуживания | Порядок технического обслуживания |
|---|---|
| Перед каждым использованием или ежедневно |
|
Каждый день перед запуском автомобиля необходимо выполнять «Процедуру ежедневного обслуживания», описанную в разделе .
| Периодичность технического обслуживания | Порядок технического обслуживания |
|---|---|
| Перед каждым использованием или ежедневно |
|
Давление воздуха в шинах передних и задних колес: от 1,65 до 2,07 бар.
Important: Не превышайте максимально допустимое давление, указанное на боковине шины.
Note: Необходимое давление в шинах определяется полезной нагрузкой, которую вы собираетесь перевезти.
Проверьте давление воздуха в шинах.
Используйте более низкое давление в шинах при более низких нагрузках для меньшего уплотнения почвы, более плавного хода и уменьшения давления шин на грунт.
Используйте более высокое давление в шинах при транспортировке более тяжелых грузов и при более высокой скорости.
Если необходимо, отрегулируйте давление воздуха в шинах, подкачав шины или стравив из них воздух.

| Тип | Неэтилированный бензин |
| Минимальное октановое число | 87 (США) или 91 (исследовательское октановое число – за пределами США) |
| Этиловый спирт | Не более 10% по объему |
| Метиловый спирт | Отсутствуют |
| MTBE (метил-трет-бутиловый эфир) | Менее 15% по объему |
| Масло | Не добавляйте в топливо |
Используйте только чистое, свежее топливо (полученное в течение последних 30 дней) от признанных поставщиков.
Important: Для улучшения запуска добавьте стабилизирующую/кондиционирующую присадку в свежее топливо, следуя указаниям изготовителя присадки.
См. дополнительную информацию в руководстве владельца двигателя для вашей машины.
Емкость топливного бака составляет приблизительно 18,9 л.
Установите машину на ровной поверхности.
Переключите коробку передач в положение Нейтраль.
Включите стояночный тормоз.
Отключите машину и извлеките ключ из замка зажигания.
Очистите поверхность вокруг крышки топливного бака (Рисунок 14).

Снимите крышку топливного бака.
Заправьте бак так, чтобы уровень топлива не доходил примерно 25 мм до верха бака (низа заливной горловины).
Note: Оставшееся в баке пространство позволяет топливу расширяться. Не переполняйте топливный бак.
Надежно закройте крышку топливного бака.
Удаляйте пролитое топливо.
| Периодичность технического обслуживания | Порядок технического обслуживания |
|---|---|
| Через первые 100 часа |
|
Выполните следующие указания, чтобы обеспечить надлежащие рабочие характеристики автомобиля.
Убедитесь, что произведена проработка тормозов; см. раздел Приработка тормозов
Регулярно проверяйте уровни рабочих жидкостей и моторного масла. Внимательно следите за признаками перегрева автомобиля или его компонентов.
После запуска холодного двигателя дайте ему прогреться около 15 секунд перед эксплуатацией автомобиля.
Note: Дайте двигателю прогреться в течение более длительного времени при работе в условиях низкой температуры окружающей среды.
Меняйте скорость автомобиля во время эксплуатации. Старайтесь трогаться с места и останавливаться плавно.
Двигатель не требует обкаточного масла. Первоначальное моторное масло — того же типа, который указан для регулярной замены масла.
Все специальные проверки после малого пробега описаны в разделе .
Проверьте положение передней подвески и, если необходимо, отрегулируйте его; см. раздел Регулировка углов установки передних колес.
Владелец или пользователь несет полную ответственность за любые несчастные случаи с людьми, а также за нанесение ущерба имуществу, и должен предпринять все меры для предотвращения таких случаев.
Пассажиры должны находиться только на специально предназначенных для этого сиденьях. Перевозка пассажиров в грузовом кузове запрещена. Не допускайте посторонних лиц и детей в рабочую зону.
Используйте подходящую одежду, включая защитные очки, длинные брюки, нескользящую прочную обувь и средства защиты органов слуха. Закрепляйте длинные волосы на затылке и не носите свободную одежду и ювелирные украшения.
Будьте предельно внимательны при работе на данной машине. Во избежание травмирования людей или повреждения имущества запрещается отвлекаться во время работы.
Запрещается управлять машиной в состоянии болезни, усталости, а также под воздействием алкоголя или сильнодействующих лекарственных препаратов.
Эксплуатируйте машину только на открытом воздухе или в хорошо вентилируемой зоне.
Запрещается превышать полную разрешенную массу машины (GVW).
Соблюдайте повышенную осторожность при торможении или повороте на машине с тяжелым грузом в грузовом кузове.
Перевозка грузов больших размеров в грузовом кузове изменяет устойчивость автомобиля. Не превышайте предельную грузоподъемность кузова.
На рулевое управление, торможение и устойчивость автомобиля отрицательно влияет вес перевозимых грузов, которые нельзя жестко привязать к машине. При перевозке материала, который нельзя привязать к машине, соблюдайте меры предосторожности при рулевом управлении или торможении.
Снижайте нагрузку и скорость машины при движении по пересеченной местности, на неровном грунте, рядом с бордюрами, ямами и другими резкими изменениями рельефа. Груз может сместиться, при этом машина станет неустойчивой.
Прежде чем запускать двигатель машины, убедитесь в том, что коробка передач находится в нейтральном положении, стояночный тормоз включен и вы находитесь на рабочем месте оператора.
Вы и ваши пассажиры должны оставаться на сиденьях все время, пока автомобиль находится в движении. Держите обе руки на рулевом колесе; пассажиры должны держаться за предусмотренные поручни. Руки и ноги должны не должны выступать за габариты корпуса машины.
Машину разрешается эксплуатировать только в условиях хорошей видимости. Остерегайтесь ям, выбоин, ухабов, камней и других скрытых препятствий. При движении по неровной поверхности машина может перевернуться. Высокая трава может скрывать различные препятствия. Будьте осторожны, приближаясь к закрытым поворотам, кустарникам, деревьям или к другим объектам, которые могут ухудшать обзор.
Запрещается эксплуатировать машину в непосредственной близости от ям, канав и насыпей. В случае наезда колесом на край обрыва или канавы, а также в случае обрушения их кромки машина может внезапно опрокинуться.
Будьте внимательны, чтобы избежать столкновения с нависающими сверху предметами, такими как ветки деревьев, дверные косяки и подвесные мостки.
Прежде чем начать движение на машине задним ходом, посмотрите назад и вниз и убедитесь, что путь свободен.
При проезде на этом автомобиле по дорогам общего пользования соблюдайте все правила дорожного движения и используйте все дополнительные средства, требуемые законодательством, такие как осветительные приборы, указатели поворота, знак тихоходного транспортного средства (SMV) и другие, если необходимо.
При появлении в машине аномальной вибрации немедленно остановитесь, заглушите двигатель, дождитесь остановки всех движущихся частей и осмотрите машину на наличие повреждений. Прежде чем возобновлять работу, устраните все повреждения машины.
На мокрых поверхностях тормозной путь автомобиля длиннее, чем на сухих. Чтобы просушить мокрые тормоза, двигайтесь медленно на ровной горизонтальной поверхности, слегка нажимая педаль тормоза.
Движение автомобиля с большой скоростью с последующей быстрой остановкой может вызвать блокировку задних колес, ухудшая управляемость.
Чтобы не обжечься, не прикасайтесь к двигателю, трансмиссии, глушителю или коллектору глушителя, когда двигатель работает или сразу после его останова, так как эти области могут быть достаточно горячими.
Не оставляйте работающую машину без присмотра.
Прежде чем покинуть рабочее место оператора, выполните следующие действия:
Установите машину на ровной поверхности.
Переключите коробку передач в положение Нейтраль.
Включите стояночный тормоз.
Выключите машину и извлеките ключ.
Дождитесь остановки всех движущихся частей.
Запрещается работать на автомобиле, если существует вероятность удара молнией.
Используйте только приспособления и навесное оборудование, утвержденное к применению компанией Toro®.
Запрещается превышать полную массу автомобиля (GVW). Вы должны учитывать собственный вес, вес пассажиров и груз в грузовом кузове, из-за которых увеличивается общая полная масса автомобиля (GVW).
Пассажиры должны находиться только на специально предназначенных для этого сиденьях. Перевозка пассажиров в грузовом кузове запрещена.
Во время движения автомобиля вы и ваши пассажиры должны оставаться на сиденьях.
Увеличение длины автомобиля увеличивает радиус его поворота, поэтому предусматривайте дополнительное пространство для маневрирования.
Note: Конструкцию защиты оператора при опрокидывании (ROPS) с двумя стойками можно приобрести для данного автомобиля в качестве принадлежности. Конструкцию ROPS следует использовать при работе рядом с обрывами, водоемами, на неровной местности или склонах, где автомобиль может опрокинуться. Для получения дополнительной информации обратитесь к официальному дистрибьютору компании Toro.
Основная опасность при работе на склонах — потеря управляемости и опрокидывание автомобиля, которое может привести к травме или гибели.
Осмотрите рабочую площадку, чтобы определить, на каких склонах будет безопасно работать на машине, и установите собственные методики и правила эксплуатации машины на таких склонах. При выполнении этого осмотра всегда руководствуйтесь здравым смыслом и правильно оценивайте ситуацию.
Если у вас возникают трудности при работе на склоне, не эксплуатируйте на нем машину.
Все перемещения на склонах должны быть плавными и выполняться на малой скорости. Не изменяйте резко скорость или направление движения машины.
Старайтесь не работать на влажной траве. Колеса могут потерять сцепление с поверхностью. Опрокидывание может произойти еще до потери сцепления колес с покрытием.
Двигайтесь по склону вверх или вниз по прямой линии.
Если двигатель заглох или автомобиль начинает терять момент инерции при движении вверх по склону, плавно нажмите на тормоз и медленно двигайтесь задним ходом по прямой траектории вниз по склону.
Поворот при движении вверх или вниз по склону может быть опасным. При необходимости поворота на склоне, выполняйте его медленно и осторожно.
Тяжелые грузы ухудшают устойчивость на склоне. Уменьшите массу груза и снизьте скорость автомобиля при движении на склоне или в случае, если груз имеет высокий центр тяжести. Закрепите груз в грузовом кузове автомобиля, чтобы предотвратить его смещение. Будьте крайне осторожны при транспортировке грузов, которые могут легко переместиться (жидкость, скальная порода, песок и т.п.).
Старайтесь не начинать движения, не останавливаться и не поворачивать на склонах, особенно при наличии груза. При остановке на спуске со склона остановочный путь будет длиннее, чем на горизонтальной поверхности. При остановке автомобиля старайтесь резко не изменять скорость, так как при этом автомобиль может опрокинуться или перевернуться. Не нажимайте резко на тормоз при свободном скатывании назад, так как при этом автомобиль может перевернуться.
При работе с грузом в грузовом кузове и (или) при буксировке прицепа не превышайте разрешенную максимальную массу автомобиля (GVW); см. раздел Технические характеристики.
Распределяйте груз в грузовом кузове равномерно, чтобы повысить устойчивость и управляемость автомобиля.
Перед выгрузкой убедитесь, что позади автомобиля никого нет.
Запрещается разгружать кузов, когда автомобиль стоит поперек склона. Перераспределение веса может привести к опрокидыванию автомобиля.
Падение поднятого кузова может стать причиной тяжелых травм у людей, работающих под ним.
Прежде чем выполнять работу под кузовом, обязательно установите опорную стойку, чтобы удерживать кузов в поднятом положении.
Прежде чем поднимать кузов удалите из него весь загруженный материал.
Перемещение автомобиля с поднятым грузовым кузовом повышает опасность опрокидывания или переворачивания автомобиля. Перемещение автомобиля с поднятым кузовом может привести к повреждению конструкции кузова.
Управлять автомобилем разрешено только при опущенном грузовом кузове.
После опорожнения грузового кузова опустите его.
Если груз сконцентрирован в задней части грузового кузова, при отпускании защелок грузовой кузов может неожиданно опрокинуться, причинив травмы оператору и находящимся поблизости людям.
По возможности старайтесь расположить груз по центру в грузовом кузове.
При отпускании защелок придерживайте грузовой кузов, предварительно убедившись, что никто не наклонился под кузовом или не стоит позади него.
Удалите весь груз из кузова, прежде чем поднимать его и производить техническое обслуживание автомобиля.
Масса кузова может быть большой. Может произойти сдавливание рук или других частей тела.
При опускании кузова держите руки и другие части тела на безопасном расстоянии.
После разгрузки сыпучего материала, например песка, камней или деревянных опилок, из грузового кузова автомобиля некоторая часть разгружаемого материала может попасть в зону шарнира откидного борта. Прежде чем закрывать откидной борт, выполните следующие действия.
Вручную удалите как можно больше такого материала из зоны шарнира.
Установите откидной борт в положение под углом приблизительно 45° (Рисунок 18).

Короткими движениями, встряхивая, переместите откидной борт назад и вперед несколько раз (Рисунок 18).
Note: Это действие поможет удалить материал из зоны шарнира.
Опустите откидной борт и проверьте наличие оставшегося материала в зоне шарнира.
Повторяйте действия 1–4 до полного удаления материала из зоны шарнира.
Поверните откидной борт вверх и поднимите его до посадки в выемки в грузовом кузове.
Используйте заднее крепление для принадлежностей на грузовом кузове для присоединения вспомогательных приспособлений к задней части автомобиля.
Грузоподъемность: 45 кг
Ослабьте Т-образную рукоятку, повернув ее по часовой стрелке (Рисунок 19).

Вставьте вспомогательное приспособление в приемное устройство до совмещения отверстий (Рисунок 19).
Закрепите смонтированное вспомогательное приспособление на трубе приемного устройства при помощи шплинтуемого штифта и игольчатого шплинта, поставляемых в комплекте со вспомогательным приспособлением.
Затяните Т-образную рукоятку, повернув ее против часовой стрелки (Рисунок 20).

При загрузке кузова и управлении автомобилем соблюдайте следующие указания:
Не превышайте грузоподъемность автомобиля и ограничивайте массу перевозимого в кузове груза, как описано в разделе Технические характеристики и указано на табличке полной массы автомобиля.
Note: Номинальная грузоподъемность указана только для эксплуатации автомобиля на ровной поверхности.
При работе автомобиля на склонах и неровной поверхности следует снизить массу перевозимого груза.
Снижайте массу груза при перевозке высоких грузов (с высоко расположенным центром тяжести), таких как штабель из кирпичей, лесоматериалы или пакеты с удобрениями. Распределите груз как можно ниже, чтобы он не ухудшал обзор зоны позади автомобиля во время работы.
Держите груз по центру кузова, загружая его следующим образом:
Равномерно распределите вес груза в кузове по сторонам.
Important: Опасность переворачивания автомобиля увеличивается, если груз в кузове сосредоточен на одной стороне.
Равномерно распределите вес груза в кузове от передней до задней части.
Important: При расположении груза позади заднего моста сцепление передних шин с грунтом уменьшается, что может привести к потере управляемости или опрокидыванию автомобиля.
Соблюдайте дополнительные меры предосторожности при транспортировке крупногабаритных грузов в кузове, в особенности при невозможности разместить вес крупногабаритного груза по центру кузова.
По возможности закрепляйте груз, привязывая его к грузовому кузову, чтобы он не смещался.
При транспортировке жидкостей соблюдайте меры предосторожности при движении машины вверх или вниз по склону, при резком изменении скорости, резкой остановке или при движении по неровной поверхности.
Вместимость грузового кузова составляет 0,28 м3. Количество (объем) материала, которое можно поместить в кузов, не превысив номинальной грузоподъемности автомобиля, может значительно изменяться в зависимости от плотности материала.
См. предельные значения объема загрузки различных материалов в следующей таблице:
| Материал | Плотность | Максимальная вместимость кузова (на ровной горизонтальной поверхности) |
| Гравий, сухой | 1522 кг/м3 | Полный |
| Гравий, влажный | 1922 кг/м3 | ¾ полного объема |
| Песок, сухой | 1442 кг/м3 | Полный |
| Песок, влажный | 1922 кг/м3 | ¾ полного объема |
| Древесина | 721 кг/м3 | Полный объем |
| Кора | < 721 кг/м3 | Полный объем |
| Земля, упакованная | 1602 кг/м3 | 3/4 полного объема (приблизительно) |
Займите место оператора, вставьте ключ в пусковой переключатель и поверните ключ по часовой стрелке в положение Вкл. или Пуск.
Есть два режима пуска автомобиля.
Запуск от педали – поверните пусковой переключатель в положение ON (Вкл.) и нажмите педаль акселератора.
Note: При отпускании педали акселератора двигатель заглохнет.
Пуск от ключа – поверните пусковой переключатель в положение Пуск; двигатель будет работать, пока вы не повернете ключ в положение Выкл.
Note: Если двигатель запускается с помощью ключа, вы можете включить стояночный тормоз и отойти от автомобиля для выполнения работы, при этом двигатель будет работать и поддерживать заряд аккумулятора.
Note: При повороте ключа в положение Пуск двигатель прокручивается стартером, пока не запустится. Если двигатель прокручивается, но не запускается более 10 секунд, верните ключ в положение Выкл. и найдите, в чем проблема (например, необходимо отрегулировать положение воздушной заслонки, проверить воздухоочиститель на наличие засорения, проверить уровень топлива в баке, исправность свечи зажигания и т.п.), прежде чем пытаться снова запустить автомобиль.
Note: Если на автомобиле установлен дополнительный звуковой сигнал заднего хода, то при установке рычага переключения передач в положение заднего хода, когда пусковой переключатель находится в положении Вкл. или Пуск, прозвучит сигнал, предупреждающий оператора, что автомобиль находится на передаче заднего хода.
Используйте рычаг переключения передач для изменения направления движения автомобиля.
Выключите стояночный тормоз.
Медленно нажмите на педаль акселератора.
Note: Если двигатель холодный, выжмите педаль акселератора приблизительно на половину ее хода и удерживайте ее в этом положении, а также вытяните ручку воздушной заслонки в положение Вкл. После прогрева двигателя верните ручку воздушной заслонки в положение Выкл.
Important: При остановке автомобиля на склоне используйте рабочие тормоза, чтобы остановить автомобиль, и включите стояночный тормоз, чтобы удержать автомобиль на месте. Использование педали акселератора для удерживания автомобиля на склоне может привести к повреждению автомобиля.
Снимите ногу с педали акселератора.
Медленно нажмите педаль тормоза, чтобы задействовать рабочие тормоза, и удерживайте педаль до тех пор, пока автомобиль полностью не остановится.
Note: Остановочный путь может изменяться в зависимости от нагрузки и скорости автомобиля.
Остановите автомобиль с помощью рабочих тормозов, нажимая и удерживая педаль тормоза.
Включите стояночный тормоз, потянув его рычаг на себя.
Поверните ключ против часовой стрелки в положение ВЫКЛ
Извлеките ключ.
Прежде чем покинуть рабочее место оператора, выполните следующие действия:
Установите машину на ровной поверхности.
Переключите коробку передач в положение Нейтраль.
Включите стояночный тормоз.
Выключите машину и извлеките ключ.
Дождитесь остановки всех движущихся частей.
Дайте машине остыть перед регулировкой, техническим обслуживанием, очисткой или помещением на хранение.
Запрещается хранить автомобиль или емкость с топливом в местах, где есть открытое пламя, искры или малая горелка, используемая, например, в водонагревателе или другом оборудовании.
Следите, чтобы все компоненты автомобиля были в исправном состоянии, а все крепежные детали были затянуты.
Производите техническое обслуживание и очистку ремня (ремней) безопасности по мере необходимости.
Если предупреждающая наклейка изношена, повреждена или отсутствует, установите новую наклейку.
Будьте осторожны при погрузке машины в прицеп или грузовик, а также или ее выгрузке.
Для погрузки автомобиля на прицеп или грузовик используйте наклонные въезды полной ширины.
Надежно привяжите автомобиль в точках крепления.
См. местонахождение точек крепления автомобиля на Рисунок 21 и Рисунок 22.
Note: Погрузите автомобиль на прицеп передней стороной по направлению движения. При отсутствии такой возможности прикрепите ремнем капот автомобиля к раме или снимите капот, закрепите и перевезите его отдельно. В противном случае возможен срыв капота во время транспортировки под воздействием встречного воздушного потока.
Незакрепленные сиденья могут отсоединиться от автомобиля и выпасть из прицепа во время транспортировки автомобиля, что может привести к повреждению других транспортных средств или создать помеху на дороге.
Снимите сиденья или убедитесь в том, что сиденья зафиксированы поворотными штифтами.


В экстренном случае автомобиль можно отбуксировать на небольшое расстояние, однако буксировка не должна являться стандартной рабочей процедурой.
Буксировка на повышенной скорости может вызвать потерю рулевого управления и стать причиной травмы.
Запрещается буксировка автомобиля со скоростью свыше 8 км/ч.
Буксировку автомобиля должны выполнять два человека. Если автомобиль требуется перевезти на значительное расстояние, транспортируйте ее на грузовом автомобиле или прицепе; см. раздел Буксировка прицепа.
Снимите ремень привода с автомобиля; см. Замена приводного ремня.
Прикрепите буксирный трос к сцепному устройству в передней части рамы машины (Рисунок 21).
Переведите коробку передач в Нейтраль положение и выключите стояночный тормоз.
Этот автомобиль может буксировать прицепы. Для этой цели он оснащен тягово-сцепным устройством. Для получения подробной информации обращайтесь к официальному дистрибьютору компании Toro.
Не допускается перегружать автомобиль или прицеп при перевозке груза или буксировке прицепа. Перегрузка автомобиля или прицепа может привести к ухудшению рабочих характеристик или повреждению тормозов, оси, двигателя, коробки передач, рулевого управления, подвески, конструкции корпуса или шин.
Всегда загружайте прицеп таким образом, чтобы 60% массы груза находились в передней части прицепа. При этом тягово-сцепное устройство автомобиля будет воспринимать приблизительно 10% от полной массы прицепа (GTW).
Чтобы гарантировать эффективность торможения и тяги, всегда нагружайте кузов при буксировке прицепа. Не превышайте предельные значения GTW или GVW.
Старайтесь не парковать автомобиль с прицепом на склоне. Если вам необходимо припарковать автомобиль на склоне, включите стояночный тормоз и заблокируйте шины прицепа.
Не допускайте к обслуживанию автомобиля необученный персонал.
Прежде чем покинуть рабочее место оператора, выполните следующие действия:
Установите машину на ровной поверхности.
Переключите коробку передач в положение Нейтраль.
Включите стояночный тормоз.
Опустите грузовой кузов.
Выключите машину и извлеките ключ.
Дождитесь остановки всех движущихся частей.
Дайте машине остыть перед регулировкой, техническим обслуживанием, очисткой или помещением на хранение.
Каждый раз при работе под машиной используйте для поддержки машины подъемные опоры.
Запрещается работать под поднятым кузовом, не установив надлежащую опорную стойку кузова на место.
Запрещается заряжать аккумуляторы во время техобслуживания машины.
Чтобы убедиться в полностью исправном состоянии машины, проверьте правильность затяжки всех крепежных деталей.
Для уменьшения опасности возгорания не допускайте скопления на машине чрезмерного количества смазки, травы, листьев и грязи.
По возможности не выполняйте техническое обслуживание на машине с работающим двигателем. Держитесь на безопасном расстоянии от движущихся частей.
Если для выполнения регулировок при техническом обслуживании двигатель должен работать, держите руки, ноги, одежду и другие части тела на безопасном расстоянии от всех движущихся частей. Не разрешайте посторонним приближаться к машине.
Удаляйте следы утечек масла или топлива.
Проверьте работу стояночного тормоза в соответствии с рекомендациями в регламенте техобслуживания и по мере необходимости отрегулируйте или произведите его обслуживание.
Следите, чтобы все детали машины были в исправном рабочем состоянии и все крепежные детали были затянуты надлежащим образом. Заменяйте изношенные или поврежденные наклейки.
Запрещается вмешиваться в работу защитных устройств или снижать степень защиты, обеспечиваемой устройством.
Не превышайте допустимую частоту вращения двигателя, изменяя настройки регулятора оборотов. В целях обеспечения безопасности и точности следует направить официальному дилеру по техническому обслуживанию запрос на проверку максимальной частоты вращения двигателя с помощью тахометра.
По вопросам, связанным с капитальным ремонтом и техническим обслуживанием, обращайтесь к официальному дистрибьютору компании Toro.
Любая переделка данной машины, которая может повлиять на ее работу, рабочие характеристики, долговечность или использование, может привести к травмам или гибели. Использование автомобиля с внесенными изменениями может привести к аннулированию гарантии компании Toro.
| Периодичность технического обслуживания | Порядок технического обслуживания |
|---|---|
| Через первые 5 часа |
|
| Через первые 8 часа |
|
| Через первые 50 часа |
|
| Через первые 100 часа |
|
| Перед каждым использованием или ежедневно |
|
| Через каждые 50 часов |
|
| Через каждые 100 часов |
|
| Через каждые 200 часов |
|
| Через каждые 300 часов |
|
| Через каждые 400 часов |
|
| Через каждые 800 часов |
|
| Через каждые 1000 часов |
|
| Ежегодно |
|
Note: Загрузите бесплатную копию электрической схемы, посетив веб-сайт www.Toro.com, где можно найти свою машину, перейдя по ссылке Manuals (Руководства) на главной странице.
Important: Для получения информации о дополнительном техническом обслуживании см. руководство владельца двигателя.
Невыполнение требований по надлежащему техническому обслуживанию машины может привести к преждевременному отказу систем машины и возможным травмам оператора или находящихся рядом посторонних лиц.
Своевременно обслуживайте машину и поддерживайте ее в исправном рабочем состоянии, как описано в данном руководстве.
К выполнению технического обслуживания, ремонта, регулировки или проверки автомобиля должен допускаться только обученный и аттестованный персонал.
Не допускайте возникновения пожароопасности и обеспечьте наличие в рабочей зоне противопожарного оборудования. Запрещается использовать открытое пламя для проверки уровня топлива или поиска утечки топлива, аккумуляторного электролита или охлаждающей жидкости.
Не допускается использовать для очистки частей открытые поддоны с топливом или легковоспламеняющимися чистящими жидкостями.
Если вы оставите ключ в замке зажигания, кто-нибудь может случайно запустить двигатель и нанести серьезные травмы вам или окружающим.
Перед выполнением любого технического обслуживания заглушите двигатель и извлеките ключ из замка зажигания.
Скопируйте эту страницу для повседневного использования.
| Пункт проверки при техобслуживании | Дни недели: | ||||||
|---|---|---|---|---|---|---|---|
| Понедельник | Вторник | Среда | Четверг | Пятница | Суббота | Воскресенье | |
| Проверьте работу тормоза и стояночного тормоза. | |||||||
| Проверьте переключение передач / нейтральное положение. | |||||||
| Проверьте уровень электролита в аккумуляторах. | |||||||
| Проверьте уровень тормозной жидкости. | |||||||
| Убедитесь в отсутствии посторонних шумов при работе автомобиля. | |||||||
| Проверьте давление воздуха в шинах. | |||||||
| Проверьте систему на наличие утечек жидкостей. | |||||||
| Проверьте работу приборов. | |||||||
| Проверьте работу педали акселератора. | |||||||
| Отремонтируйте поврежденное лакокрасочное покрытие. | |||||||
| Вымойте машину. | |||||||
Important: Если автомобиль подвергается воздействию любого из нижеперечисленных условий, техническое обслуживание должно производиться в два раза чаще:
Эксплуатация в пустыне
Эксплуатация в холодном климате при температуре ниже 10 °C
Буксировка прицепа
Частая эксплуатация в условиях повышенной запыленности
Строительные работы
После продолжительной эксплуатации в иле, песке, воде или в других аналогичных условиях повышенной загрязненности выполните следующие действия:
При первой возможности проверьте и очистите тормоза. Это предотвратит чрезмерный износ, вызываемый любым абразивным материалом.
Промойте машину, используя только воду или воду с мягким моющим средством.
Important: Не допускается использовать для очистки машины солоноватую воду или регенерированные сточные воды.
Установите машину на ровной поверхности.
Переключите коробку передач в положение Нейтраль.
Включите стояночный тормоз.
Выключите двигатель и извлеките ключ из замка зажигания.
Выгрузите груз из грузового кузова и поднимите кузов.
При использовании домкрата автомобиль может быть неустойчивым. Автомобиль может соскользнуть с домкрата и травмировать находящегося под ним человека.
Не запускайте двигатель, если автомобиль находится на домкрате.
Прежде чем покинуть автомобиль, обязательно выньте ключ из пускового переключателя.
Заблокируйте колеса, если автомобиль поддерживается подъемным оборудованием.
Если вы подняли автомобиль, используйте для его поддержки подъемные опоры.
Important: Когда двигатель автомобиля запускается для планового технического обслуживания и (или) диагностики, задние колеса автомобиля должны быть подняты на 25 мм над землей, а задний мост должен опираться на подъемные опоры.
Точка подъема в передней части автомобиля находится в передней части рамы позади сцепного устройства для буксировки (Рисунок 23).

Точка подъема в задней части автомобиля находится под трубами моста (Рисунок 24).

Установите сиденье в сборе на штифты и опустите его (Рисунок 28).

| Периодичность технического обслуживания | Порядок технического обслуживания |
|---|---|
| Через каждые 300 часов |
|
Характеристики консистентной смазки: Mobilgrease XHP™-222
Поднимите переднюю часть автомобиля и зафиксируйте ее с помощью подъемных опор.
Отверните 4 зажимные гайки, которые крепят каждое колесо к ступице (Рисунок 29).

Выверните болты с фланцевыми головками (⅜ x ¾ дюйма), которые крепят кронштейн тормоза в сборе к оси, и отделите тормоз от оси (Рисунок 30).
Note: Прежде чем перейти к следующему пункту, поместите подставки под тормоз в сборе.

Снимите пылезащитную крышку со ступицы (Рисунок 31).

Снимите шплинт и держатель гайки с оси и гайки оси (Рисунок 31).
Снимите гайку оси с оси и отделите ступицу и тормозной диск в сборе от оси (Рисунок 31 и Рисунок 32).

Начисто протрите ось ветошью.
Повторите действия, описанные в пунктах 1–7, для ступицы и тормозного диска с другой стороны автомобиля.
Снимите наружный подшипник и кольцо подшипника со ступицы (Рисунок 33).

Снимите уплотнение и внутренний подшипник со ступицы (Рисунок 33).
Начисто протрите уплотнение и проверьте его на наличие износа и повреждений.
Note: Запрещается использовать очищающий растворитель для очистки уплотнения. Замените уплотнение в случае его износа или повреждения.
Очистите подшипники и кольца и проверьте их на наличие износа и повреждений.
Note: Замените все изношенные или поврежденный части. Убедитесь, что подшипники и кольца чистые и сухие.
Очистите полость ступицы от всей консистентной смазки, грязи и мусора (Рисунок 33).
Заполните подшипники консистентной смазкой указанного типа.
Заполните полость ступицы на 50–80% консистентной смазкой указанного типа (Рисунок 33).
Установите внутренний подшипник на кольцо с внутренней стороны ступицы и установите уплотнение (Рисунок 33).
Повторите действия с 1 по 8 для подшипников другой ступицы.
Нанесите тонкий слой консистентной смазки указанного типа на ось (Рисунок 34).

Установите ступицу и тормозной диск на ось так, чтобы тормозной диск был внутри (Рисунок 34).
Установите наружный подшипник на ось и в наружное кольцо (Рисунок 34).
Установите стопорную шайбу на ось (Рисунок 34).
Наверните гайку шпинделя на шпиндель и затяните гайку с моментом 15 Н∙м, поворачивая ступицу так, чтобы подшипник был посажен на место (Рисунок 34).
Ослабьте гайку оси до свободного вращения ступицы.
Затяните гайку шпинделя с моментом от 1,70 до 2,26 Н∙м.
Установите держатель поверх гайки и проверьте совмещение паза в держателе с отверстием в оси под шплинт (Рисунок 35).
Note: Если паз держателя и отверстие оси не совмещены, затяните гайку оси, чтобы совместить паз с отверстием, при этом максимальный момент затяжки гайки не должен превышать 2,26 Н∙м.

Установите шплинт и загните обе лапки вокруг держателя (Рисунок 35).
Установите пылезащитную крышку на ступицу (Рисунок 35).
Повторите действия, описанные в пунктах 1–10, для ступицы и тормозного диска с другой стороны автомобиля.
Очистите 2 болта с фланцевыми головками (⅜ x ¾ дюйма) и нанесите слой резьбового герметика средней степени фиксации на резьбовые поверхности болтов.
Совместите тормозные колодки с обеих сторон тормозного диска (Рисунок 30 ) с отверстиями в кронштейне суппорта и отверстиями в креплении тормоза на цапфе (Рисунок 34).
Закрепите кронштейн суппорта на цапфе (Рисунок 30) с помощью 2 болтов с фланцевыми головками (⅜ x ¾ дюйма).
Затяните2 болта с фланцевыми головками с моментом от 47 до 54 Н∙м.
Совместите отверстия в колесе со шпильками в ступице и установите колесо на ступицу так, чтобы вентиль шины был направлен наружу (Рисунок 29).
Note: Убедитесь, что монтажная поверхность колеса находится на одном уровне со ступицей.
Закрепите колесо на ступице с помощью зажимных гаек (Рисунок 29).
Затяните зажимные гайки с моментом 108-122 Н∙м.
Повторите действия, описанные в пунктах 1 – 5, для тормоза и колеса на другой стороне машины.
Прежде чем проверять уровень масла или заливать масло в картер двигателя, выключите двигатель, извлеките ключ и дождитесь остановки всех движущихся частей.
Следите, чтобы руки, ноги и другие части тела, а также одежда находились на безопасном расстоянии от глушителя и других горячих поверхностей.
| Периодичность технического обслуживания | Порядок технического обслуживания |
|---|---|
| Через каждые 50 часов |
|
Проверьте корпус воздухоочистителя на отсутствие повреждений, которые могли бы вызвать утечку воздуха. Замените поврежденный корпус воздухоочистителя.
Очистите крышку воздухоочистителя и удалите мусор из пылезащитной крышки, как показано на Рисунок 36.

| Периодичность технического обслуживания | Порядок технического обслуживания |
|---|---|
| Через каждые 50 часов |
|
| Через каждые 100 часов |
|
Note: Чаще обслуживайте элемент воздухоочистителя (каждые несколько часов), если приходится работать в условиях повышенной запыленности или в песке.
Осторожно извлеките элемент воздухоочистителя из корпуса воздухоочистителя (Рисунок 37).
Note: Старайтесь не ударить воздухоочиститель о боковую поверхность корпуса.
Important: Не пытайтесь очистить элемент воздухоочистителя.
Проверьте новый элемент на наличие повреждений; для этого следует осмотреть элемент внутри, осветив его снаружи яркой лампой.
Note: Отверстия в элементе будут выглядеть как яркие точки. Осмотрите элемент на наличие разрывов, масляной пленки или повреждений на резиновом уплотнении. Если элемент поврежден, не используйте его.
Осторожно вставьте элемент в корпус воздухоочистителя.
Important: Не надавливайте на мягкую внутреннюю область элемента.
Установите крышку воздухоочистителя таким образом, чтобы сторона, обозначенная UP (ВВЕРХ), была направлена вверх, и закрепите защелки (Рисунок 37).

Емкость картера: 1,0 л
Тип масла: Масло с моющими свойствами класса SJ или выше по API
Вязкость:См. таблицу ниже.

| Периодичность технического обслуживания | Порядок технического обслуживания |
|---|---|
| Перед каждым использованием или ежедневно |
|
Note: Автомобиль поставляется с заправленным маслом в картере двигателя, однако до и после первого запуска двигателя необходимо проверить уровень масла.
Note: Наилучший момент для проверки уровня масла в двигателе — на холодном двигателе перед его первым запуском в день. Если двигатель уже поработал, перед проверкой дайте маслу стечь в поддон (не менее 10 минут). Если уровень масла низкий, долейте масло, чтобы довести его уровень до отметки «Full» (Полный). Не допускайте переполнения.
Проверьте уровень масла в двигателе, как показано на Рисунок 39.

| Периодичность технического обслуживания | Порядок технического обслуживания |
|---|---|
| Через первые 5 часа |
|
| Через каждые 50 часов |
|
| Через каждые 100 часов |
|
Note: Во время эксплуатации автомобиля при повышенном содержании пыли или песка в воздухе замена масла должна производиться чаще.
Note: Отработанное масло и масляные фильтры сдаются в местный центр сбора отходов для последующей утилизации.
Запустите двигатель и дайте ему поработать несколько минут.
Установите машину на ровной поверхности.
Включите стояночный тормоз.
Выключите двигатель и извлеките ключ из замка зажигания.
Поднимите грузовой кузов и закрепите его опорной стойкой; см. раздел Подъем грузового кузова в положение техобслуживания.
Произведите замену масла в двигателе, как показано на Рисунок 40.

| Периодичность технического обслуживания | Порядок технического обслуживания |
|---|---|
| Через каждые 100 часов |
|
Тип свечи зажигания для модели с карбюратором: Champion XC12YC
Тип свечи зажигания для модели с электронным впрыском топлива (EFI): Champion RC12LC4
Воздушный зазор: 0,76 мм
Important: Следует заменить свечу зажигания, если она имеет трещины, следы нагара, загрязнена или неисправна. Для очистки электродов не используйте пескоструйную обработку, не пытайтесь соскабливать загрязнения с электродов и не очищайте их с помощью проволочной щетки, так как абразивная пыль может со свечи случайно попасть в цилиндр. Результатом обычно является повреждение двигателя.
Note: Свеча зажигания обычно работает в течение длительного времени; однако при нарушении нормальной работы двигателя ее необходимо снять и проверить.
Очистите место вокруг свечи зажигания так, чтобы после извлечения свечи в цилиндр двигателя не могли попасть посторонние материалы.
Снимите провод с клеммы свечи зажигания.
Выверните свечу зажигания из головки двигателя.
Проверьте состояние бокового электрода, выровняйте по центру электрод и выровняйте по центру изолятор электрода, чтобы избежать повреждений (Рисунок 41).
Note: Не используйте поврежденную или изношенную свечу. Замените ее новой свечой зажигания указанного типа.

Установите воздушный зазор между центральным и боковым электродами на 0,76 мм, как показано на Рисунок 41.
Установите свечу зажигания в головку блока цилиндров и затяните ее с моментом 27 Н∙м.
Присоедините провод свечи зажигания.
Повторите действия, описанные в пунктах 1–7, для другой свечи зажигания.
Поднимите грузовой кузов и закрепите его опорной стойкой.
На корпусе троса дроссельной заслонки ослабьте переднюю контргайку и затяните заднюю контргайку, чтобы увеличить малую частоту холостого хода (Рисунок 42).

Проверьте высокие обороты холостого хода с помощью тахометра:
Убедитесь, что рычаг переключения передач находится в нейтральном положении.
Запустите двигатель.
Нажмите до упора педаль акселератора и измерьте частоту вращения двигателя тахометром; частота вращения двигателя должна быть в диапазоне от 3 650 до 3 750 об/мин. Если она не находится в этом диапазоне, выключите двигатель и отрегулируйте контргайки троса.
Important: Не снижайте высокие обороты холостого хода. Проверьте тахометром, чтобы высокая частота холостого хода находилась в диапазоне от 3 650 до 3 750 об/мин.
Опустите и зафиксируйте грузовой кузов.
| Периодичность технического обслуживания | Порядок технического обслуживания |
|---|---|
| Через каждые 400 часов |
|
Проверьте топливные трубопроводы, штуцеры и зажимы на наличие признаков утечек, ухудшения качества, повреждений или ослабления соединений.
Note: Замените все поврежденные или протекающие компоненты топливной системы, прежде чем эксплуатировать автомобиль.
| Периодичность технического обслуживания | Порядок технического обслуживания |
|---|---|
| Через каждые 400 часов |
|
Установите машину на ровной поверхности.
Включите стояночный тормоз.
Выключите двигатель и извлеките ключ из замка зажигания.
Поднимите кузов и закрепите его опорной стойкой.
Отсоедините аккумулятор; см. Отсоединение аккумулятора.
Подставьте под топливный фильтр чистую емкость и замените топливный фильтр, как показано на Рисунок 43.

Подсоедините аккумулятор и опустите грузовой кузов; см. раздел Подсоединение аккумулятора.
| Периодичность технического обслуживания | Порядок технического обслуживания |
|---|---|
| Через первые 50 часа |
|
| Через каждые 200 часов |
|
Проверьте отверстие в нижней части угольного элемента воздушного фильтра и убедитесь, что оно чистое и не перекрыто мусором или посторонними предметами (Рисунок 44).
Очистите угольный элемент воздушного фильтра чистым сжатым воздухом.

Прежде чем приступать к ремонту машины, отсоедините аккумулятор. Сначала отсоедините отрицательную клемму, затем положительную. При повторном подключении аккумулятора сначала подсоедините положительную, затем отрицательную клемму.
Заряжайте аккумулятор в открытом, хорошо проветриваемом месте, вдали от искр и открытого огня. Отсоединяйте зарядное устройство перед подсоединением или отсоединением аккумулятора. Используйте защитную одежду и электроизолированный инструмент.
Напряжение аккумулятора: 12 В при силе тока 300 А (в режиме холодной прокрутки) и при -18 °C.
Всегда храните аккумулятор чистым и полностью заряженным.
Если клеммы аккумулятора корродировали, очистите их раствором, состоящим из четырех частей воды и одной части пищевой соды.
Для предотвращения коррозии нанесите на клеммы аккумулятора тонкий слой консистентной смазки.
Неправильное подключение кабелей к аккумулятору может вызвать искрение, что приведет к повреждению автомобиля и кабелей. Искры могут вызвать взрыв аккумуляторных газов, что приведет к получению травмы.
Всегда отсоединяйте отрицательный (черный) кабель аккумуляторной батареи перед отсоединением положительного (красного) кабеля.
Всегда присоединяйте положительный (красный) кабель аккумулятора до присоединения отрицательного (черного) кабеля.
Хомут для защиты и фиксации аккумулятора всегда должен быть на месте .
Клеммы батареи или металлические инструменты могут закоротить на металлические компоненты автомобиля, вызвав искрение. Искры могут вызвать взрыв аккумуляторных газов, что приведет к получению травмы.
При демонтаже или установке аккумулятора не допускайте прикосновения его клемм к металлическим частям машины.
Не допускайте короткого замыкания клемм аккумулятора металлическими инструментами на металлические части машины.
Отсоедините аккумуляторную батарею, как показано на Рисунок 45.

Отсоедините кабели аккумулятора; см. Отсоединение аккумулятора.
Снимите аккумуляторную батарею, как показано на Рисунок 46.

Установите аккумуляторную батарею, как показано на Рисунок 47.

Подсоедините кабели аккумулятора; см. Подсоединение аккумулятора.
Подсоедините аккумуляторную батарею, как показано на Рисунок 48.

При зарядке аккумулятора выделяются взрывоопасные газы.
Запрещается курить рядом с аккумулятором. Не допускайте появления искр или пламени вблизи аккумулятора.
Important: Всегда храните аккумулятор полностью заряженным. Это особенно важно для предотвращения повреждения аккумулятора, когда температура опускается ниже 0°C (32°F).
Извлеките аккумуляторную батарею из автомобиля; см. Демонтаж аккумуляторной батареи.
Подсоедините к полюсным штырям аккумулятора зарядное устройство, обеспечивающее силу тока от 3 до 4 А. Заряжайте аккумулятор током от 3 до 4 А в течение 4–8 часов (12 В).
Note: Не допускайте избыточного заряда аккумулятора.
Установите аккумулятор; см. раздел Установка аккумуляторной батареи.
При постановке автомобиля на хранение сроком более 30 дней снимите аккумуляторную батарею и полностью ее зарядите. Храните аккумулятор на полке или установленном на автомобиле. Оставьте кабели отсоединенными, если аккумулятор хранится на машине. Храните аккумулятор в прохладном месте во избежание быстрого снижения заряда. Для предотвращения замерзания аккумулятора храните его полностью заряженным.
В электрической системе есть 4 плавких предохранителя; другие гнезда являются разомкнутыми для подсоединения дополнительного оборудования. Они расположены под сиденьем в сборе (Рисунок 49).
| Звуковой сигнал | 30 A |
| Основное электропитание | 15 A |
| Фары | 10 A |
| Розетка питания USB / вспомогательных устройств | 10 A |
| Дополнительный комплект для подъема – разомкнут | 15 A |

В электрической системе есть 5 плавких предохранителей; другие гнезда являются разомкнутыми для подсоединения дополнительного оборудования. Они расположены под сиденьем в сборе (Рисунок 50).
| Звуковой сигнал | 30 A |
| Основное электропитание | 15 A |
| Фары | 10 A |
| Розетка питания USB / вспомогательных устройств | 10 A |
| Топливо | 10 A |
| Дополнительный комплект для подъема – разомкнут | 15 A |

Технические данные: см. Каталог запчастей для автомобиля.
Отсоедините аккумулятор; см. Отсоединение аккумулятора.
Откройте капот.
Отсоедините электрический соединитель жгута проводов от соединителя лампы в сборе (Рисунок 51).

Снимите скобы под саморез, которые крепят фару к кронштейну фары (Рисунок 51).
Note: Сохраните все детали для установки новой фары.
Снимите фару в сборе, подавая ее вперед сквозь отверстие в переднем бампере (Рисунок 51).
Вставьте новую лампу через отверстие в бампере (Рисунок 51).
Note: Убедитесь, что регулировочные стойки выровнены с отверстиями в монтажном кронштейне позади бампера.
Закрепите фару в сборе с помощью скоб под саморез, снятых при выполнении действий, описанных в пункте 4.
Подсоедините электрический соединитель жгута к соединителю лампы в сборе (Рисунок 51).
Отрегулируйте фары так, чтобы направить лучи света в требуемом направлении; см. Регулировка фар.
Используйте следующую процедуру для регулировки луча лампы, когда лампа в сборе заменяется или снимается.
Припаркуйте машину на ровной горизонтальной поверхности; фары должны находиться приблизительно на расстоянии 7,6 м от стены (Рисунок 52).
Измерьте расстояние от пола до центра фары и сделайте на стене отметку на такой же высоте.
Поверните пусковой переключатель в положение Вкл. и включите фары.
Запомните, в каком месте луч фар попадает на стену.
Самая яркая часть луча фары должна быть на 20 см ниже отметки, нанесенной на стене (Рисунок 52).

В задней части узла передней фары поверните регулировочные винты (Рисунок 51), чтобы повернуть фару и изменить положение луча.
Подсоедините аккумулятор и закройте капот; см. Подсоединение аккумулятора.
| Периодичность технического обслуживания | Порядок технического обслуживания |
|---|---|
| Через каждые 100 часов |
|
Осмотрите шины и ободы на наличие признаков износа или повреждений.
Note: Аварии в процессе эксплуатации, такие как удар о бордюрный камень, могут повредить шину или обод, а также нарушить регулировку углов установки колес, поэтому после аварии следует проверить состояние шин.
Затяните зажимные гайки колес с моментом 108–122 Н∙м.
| Периодичность технического обслуживания | Порядок технического обслуживания |
|---|---|
| Через каждые 100 часов |
|
Установив рулевое колесо в среднее положение (Рисунок 53), поверните рулевое колесо влево или вправо. Если вы повернете рулевое колесо более чем на 13 мм влево или вправо и колеса не поворачиваются, проверьте следующие компоненты рулевого управления и подвески, чтобы убедиться в отсутствии их ослабления или повреждений:
Соединение рулевого вала с рулевой рейкой в сборе
Important: Проверьте состояние и надежность уплотнения вала ведущей шестерни (Рисунок 54).
Тяги рулевой рейки в сборе


| Периодичность технического обслуживания | Порядок технического обслуживания |
|---|---|
| Через каждые 100 часов |
|
Проверьте давление воздуха в шинах, чтобы убедиться в том, что передние шины накачаны до 0,83 бар.
Положите груз на сиденье водителя, равный средней массе тела оператора, который управляет автомобилем, или попросите самого оператора сесть на сиденье в этот момент. Масса груза или масса тела оператора должна воздействовать на сиденье на протяжении всего времени выполнения этой процедуры.
На ровной поверхности откатите автомобиль строго назад на 2–3 м, а затем строго вперед в исходное положение запуска. Это позволит подвеске установиться в рабочее положение.
Инструменты, предоставляемые владельцем: гаечный ключ № 132-5069 по каталогу Toro; обратитесь к официальному дистрибьютору компании Toro.
Important: Выполняйте регулировку развала колес только в случае, если используется переднее навесное оборудование или если шины изнашиваются неравномерно.
Проверьте регулировку развала для каждого колеса; развал должен в максимальной степени приближаться к нейтральному (нулевому).
Note: Шины должны быть выровнены таким образом, чтобы протектор располагался равномерно на поверхности земли для предотвращения неровного износа.
Если развал не отрегулирован, используйте ключ, чтобы повернуть кольцо на амортизаторе для выравнивания колеса (Рисунок 55).

Important: Прежде чем регулировать схождение, убедитесь, что развал отрегулирован как можно ближе к нейтральному; см. раздел Регулировка развала.
Измерьте расстояние между обеими передними шинами на уровне моста, с передней и задней стороны передних шин (Рисунок 56).

Если измеренное значение выходит за пределы 0–6 мм, ослабьте контргайки с обоих концов тяг (Рисунок 57).

Поверните обе тяги, чтобы переместить переднюю часть шины внутрь или наружу.
Затяните контргайки тяг, когда будет получена правильная регулировка.
Убедитесь в полном ходе рулевого колеса в обоих направлениях.
| Периодичность технического обслуживания | Порядок технического обслуживания |
|---|---|
| Через каждые 100 часов |
|
Тип рабочей жидкости: SAE 80W-90 (API MT-1) или SAE 80W-90 (API GL-5)
Установите машину на ровной поверхности.
Включите стояночный тормоз.
Выключите двигатель и извлеките ключ из замка зажигания.
Снимите пробку заливного отверстия в коробке передач (Рисунок 58).
Note: Уровень рабочей жидкости должен быть вровень с нижней кромкой пробки заливного отверстия.

Если уровень жидкости низкий, снимите пробку заливного отверстия и доливайте жидкость указанного типа до тех пор, пока она не начнет вытекать из отверстия (Рисунок 58).
Установите на место пробку заливного отверстия и затяните ее с моментом от 20 до 27 Н∙м.
| Периодичность технического обслуживания | Порядок технического обслуживания |
|---|---|
| Через каждые 800 часов |
|
Тип рабочей жидкости: SAE 80W-90 (API MT-1) или SAE 80W-90 (API GL-5)
Заправочная емкость: 1,6 л
Подставьте под пробку сливного отверстия сливной поддон (Рисунок 58).
Снимите пробку заливного отверстия и уплотнение (Рисунок 58).
Note: Сохраните пробку заливного отверстия и уплотнение для последующей установки, описанной в пункте 6.
Снимите пробку сливного отверстия и уплотнение и дайте рабочей жидкости полностью стечь (Рисунок 58).
Note: Сохраните пробку сливного отверстия и уплотнение для последующей установки, описанной в пункте 4.
Установите пробку сливного отверстия и уплотнение, затяните пробку с моментом 20–27 Н∙м.
Заливайте в ведущий мост жидкость указанного типа до тех пор, пока она не начнет вытекать из заливного отверстия.
Установите пробку заливного отверстия и уплотнение, затяните пробку с моментом 20–27 Н∙м.
| Периодичность технического обслуживания | Порядок технического обслуживания |
|---|---|
| Перед каждым использованием или ежедневно |
|
| Через каждые 100 часов |
|
При выполнении планового техобслуживания и (или) диагностики двигателя переведите коробку передач в положение NEUTRAL (Нейтраль). У автомобиля есть нейтральное положение на рычаге переключения передач, которое включает нейтральное положение в трансмиссии. Выполните следующие действия, чтобы убедиться в правильной работе рычага переключения трансмиссии в нейтральном положении:
Установите рычаг переключения передач в нейтральное положение.
Поверните вторичное сцепление (Рисунок 65), чтобы убедиться в его свободном вращении в нейтральном положении.
Установите рычаг переключения передач в положение переднего хода (F).
Поверните вторичное сцепление (Рисунок 65), чтобы убедиться, что оно передает крутящий момент на задние колеса.
Установите рычаг переключения передач в положение заднего хода (R).
Поверните вторичное сцепление (Рисунок 65), чтобы убедиться, что оно передает крутящий момент на задние колеса.
Если не удается успешно провести какую-либо из указанных проверок, перейдите к разделу Регулировка нейтрального положения механизма переключения передач.
Ослабьте контргайки на тросе переключения передач и отрегулируйте их при необходимости (Рисунок 59).

Проверьте положение переключения передач, повернув рычаг переключения передач в три различных положения и проверив правильность перемещения рычага переключения передач (Рисунок 59) при их переключении; см. Рычаг и индикатор переключения передач.
Убедитесь в правильной работе механизма переключения передач во всех положениях, повторив действия, описанные в разделе Проверка нейтрального положения рычага переключения передач.
| Периодичность технического обслуживания | Порядок технического обслуживания |
|---|---|
| Через каждые 400 часов |
|
При очистке сцепления пыль попадает в воздух и может причинить вред глазам или вызвать затруднения дыхания.
При выполнении этой процедуры используйте защитные очки, пылезащитную маску или другое средство защиты глаз и органов дыхания.
Поднимите и зафиксируйте защелкой грузовой кузов.
Отверните три болта крепления крышки сцепления и снимите крышку (Рисунок 60).
Note: Сохраните крышку и болты для последующей установки.

С помощью сжатого воздуха тщательно очистите внутреннюю поверхность крышки и внутренние компоненты сцепления.
Установите крышку сцепления и закрепите ее 3 болтами (Рисунок 60), снятыми при выполнении пункта 2.
Опустите грузовой кузов.
При очистке сцепления пыль попадает в воздух и может причинить вред глазам или вызвать затруднения дыхания.
При выполнении этой процедуры используйте защитные очки, пылезащитную маску или другое средство защиты глаз и органов дыхания.
Поднимите и зафиксируйте стойкой грузовой кузов; см. раздел Подъем грузового кузова в положение техобслуживания.
Отверните болты крепления крышки первичной муфты сцепления, как показано на Рисунок 61.
Important: Будьте осторожны при снятии крышки сцепления – пружина находится в сжатом состоянии.
Important: Отметьте для себя взаимное расположение отметки "X" на кожухе сцепления и узле муфты сцепления для последующей установки.

Снимите пружину.
Добавьте или удалите проставки, чтобы отрегулировать максимальную скорость. Используйте следующую таблицу, чтобы определить необходимое количество проставок.
| Проставки | Максимальная скорость |
| 2 (стандартная настройка) | 26 км/ч (стандартная настройка) |
| 3 | 19 км/ч |
| 4 | 14 км/ч |
| 5 | 10 км/ч |
| 6 | 6 км/ч |
Important: Запрещается эксплуатировать автомобиль, если не установлено по крайней мере 2 проставки.
Установите пружину и крышку сцепления.
Important: Убедитесь в том, что расположение отметок соответствует их расположению до разборки.
Затяните болты с моментом от 179 до 228 Н∙м.
Проглатывание охлаждающей жидкости двигателя может вызвать отравление. Храните ее в месте, недоступном для детей и домашних животных.
Выброс под давлением горячей охлаждающей жидкости или прикосновение к горячему радиатору и расположенным рядом деталям могут привести к тяжелым ожогам.
Прежде чем снимать крышку радиатора, подождите не менее 15 минут, чтобы двигатель остыл.
При открывании крышки радиатора используйте ветошь; открывайте крышку медленно, чтобы выпустить пар.
Не эксплуатируйте машину без установленных на штатные места крышек.
Следите за тем, чтобы пальцы и кисти рук, а также одежда не оказались вблизи вращающегося вентилятора и приводного ремня.
Перед выполнением технического обслуживания выключите двигатель и извлеките ключ.
| Периодичность технического обслуживания | Порядок технического обслуживания |
|---|---|
| Через каждые 100 часов |
|
Important: Эксплуатация двигателя с засоренным вращающимся сетчатым фильтром, загрязненными или забитыми охлаждающими ребрами или снятыми охлаждающими колпаками приведет к повреждению двигателя в результате перегрева.
Important: Никогда не очищайте двигатель водой под давлением, так как вода может загрязнить топливную систему.
Очистите впуск, охлаждающие ребра и наружные поверхности двигателя.
Note: Очищайте охлаждающие компоненты двигателя более часто в условиях сильной запыленности или грязи.
Включите стояночный тормоз, потянув рычаг стояночного тормоза на себя до ощущения натяжения.
Если не ощущается натяжение при вытягивании рычага стояночного тормоза на себя в пределах от 11,4 до 16,5 см от символа «P» на приборной панели, необходимо отрегулировать стояночный тормоз; см. Регулировка стояночного тормоза.
Убедитесь, что стояночный тормоз выключен.
Поднимите заднюю часть автомобиля с помощью подъемных опор; см. Подъем автомобиля.
Используя два ключа, удерживайте регулировочный штырь на суппорте одним ключом и ослабьте контргайку на ¼ оборота другим ключом (Рисунок 62).

Удерживая регулировочный штырь и контргайку на месте, поверните регулировочный штырь для затягивания (Рисунок 62).
Note: Выполняйте это действие до тех пор, пока не почувствуете трение при вращении колеса.
Удерживая регулировочный штырь и контргайку на месте, отверните штырь на ¼ оборота (Рисунок 62).
Удерживая регулировочный штырь и контргайку на месте, затяните контргайку (Рисунок 62).
Выполните действия, описанные в пунктах 1–6, для другой стороны.
Убедитесь, что стояночный тормоз отрегулирован с нужным натяжением; см. Проверка стояночного тормоза.
Note: Если не удается отрегулировать нужное натяжение на стояночном тормозе, это может означать, что тормозные колодки изношены и требуется их замена. За помощью обращайтесь к местному официальному дистрибьютору компании Toro.
| Периодичность технического обслуживания | Порядок технического обслуживания |
|---|---|
| Перед каждым использованием или ежедневно |
|
Тип тормозной жидкости: DOT 3
Установите машину на ровной поверхности.
Включите стояночный тормоз.
Выключите двигатель и извлеките ключ из замка зажигания.
Поднимите капот, чтобы получить доступ к главному тормозному цилиндру и бачку (Рисунок 63).

Проверьте уровень жидкости в боковой части бачка (Рисунок 64).
Note: Уровень должен быть выше отметки «Минимум».

Если уровень жидкости низкий, выполните следующие действия:
Закройте капот автомобиля.
| Периодичность технического обслуживания | Порядок технического обслуживания |
|---|---|
| Через каждые 100 часов |
|
Important: Тормоза являются важнейшим компонентом безопасности автомобиля. Тщательно проверяйте их через рекомендуемые интервалы техобслуживания, чтобы обеспечить оптимальные рабочие характеристики и безопасность.
Осмотрите тормозные колодки на наличие износа или повреждений. Если толщина накладок (тормозных колодок) меньше 1,6 мм, замените тормозные колодки.
Осмотрите опорную плиту и другие компоненты на наличие признаков чрезмерного износа или деформаций. Замените все деформированные детали.
Проверьте уровень тормозной жидкости; см. Проверка уровня тормозной жидкости.
| Периодичность технического обслуживания | Порядок технического обслуживания |
|---|---|
| Через каждые 400 часов |
|
Свяжитесь с официальным дистрибьютором компании Toro для проведения осмотра и возможной замены колодок рабочего и стояночного тормозов.
| Периодичность технического обслуживания | Порядок технического обслуживания |
|---|---|
| Через каждые 1000 часов |
|
Обратитесь к официальному дистрибьютору компании Toro.
| Периодичность технического обслуживания | Порядок технического обслуживания |
|---|---|
| Через первые 8 часа |
|
| Через каждые 200 часов |
|
Установите машину на ровной поверхности.
Включите стояночный тормоз.
Выключите двигатель и извлеките ключ из замка зажигания.
Поднимите грузовой кузов и закрепите его опорной стойкой; см. раздел Подъем грузового кузова до положения разгрузки.
Переключите коробку передач в нейтральное положение.
Проверните и осмотрите ремень (Рисунок 65) на наличие чрезмерного износа или повреждений.
Note: Замените ремень в случае чрезмерного износа или повреждения; см. Замена приводного ремня.

Опустите грузовой кузов.
Поднимите грузовой кузов; см. раздел Подъем грузового кузова до положения разгрузки.
Переключите коробку передач в нейтральное положение, включите стояночный тормоз, поверните ключ замка зажигания в положение ВЫКЛ и извлеките ключ.
Поверните и проложите ремень поверх вторичного сцепления (Рисунок 65).
Снимите ремень с главного сцепления (Рисунок 65).
Note: Удалите в отходы старый ремень.
Проложите новый ремень поверх главного сцепления (Рисунок 65).
Поверните и проложите ремень поверх вторичного сцепления (Рисунок 65).
Опустите грузовой кузов.
| Периодичность технического обслуживания | Порядок технического обслуживания |
|---|---|
| Через первые 8 часа |
|
| Через каждые 200 часов |
|
Поднимите грузовой кузов; см. раздел Подъем грузового кузова до положения разгрузки.
Ослабьте затяжку регулировочной гайки стартера-генератора (Рисунок 65).
Вставьте монтировку между креплением двигателя и стартером.
Нажав на монтировку вниз, поверните стартер вниз в пазу таким образом, чтобы натяжение ремня позволяло отклонять его только на 6 мм при воздействии усилия в 44 Н∙м (Рисунок 65).
Затяните регулировочную гайку от руки и снимите монтировку (Рисунок 65).
Затяните регулировочную гайку с моментом от 88 до 115 Н∙м.
Опустите грузовой кузов.
Если защелка грузового кузова не отрегулирована, он будет вибрировать вверх и вниз при движении автомобиля. Вы можете отрегулировать стойки защелок, чтобы они удерживали грузовой кузов плотно прижатым к шасси.
Убедитесь, что грузовой кузов фиксируется защелками.
Note: Если грузовой кузов не фиксируется защелками, то, возможно, ударный выступ защелки кузова расположен слишком низко. Если грузовой кузов фиксируется защелками, но вибрирует вверх и вниз во время движения автомобиля, то ударный выступ защелки расположен слишком высоко.
Поднимите грузовой кузов; см. раздел Подъем грузового кузова до положения разгрузки.
Ослабьте 2 болта на ударном выступе защелки кузова и переместите ударный выступ вверх или вниз, если он расположен слишком низко или слишком высоко (Рисунок 66).

Затяните 2 болта на ударном выступе защелки кузова (Рисунок 66).
Убедитесь в правильности регулировки, защелкнув грузовой кузов несколько раз.
| Периодичность технического обслуживания | Порядок технического обслуживания |
|---|---|
| Перед каждым использованием или ежедневно |
|
Мойте машину по мере необходимости, используя только воду или воду с мягким моющим средством. При мойке машины можно использовать ткань.
Important: Не допускается использовать для очистки машины солоноватую воду или регенерированные сточные воды.
Important: Не допускается использовать для мойки машины оборудование, подающее воду под давлением. Мойка под давлением может вывести из строя электрооборудование, ослабить важные предупреждающие таблички или смыть необходимую консистентную смазку в трущихся местах. Старайтесь не использовать много воды около панели управления, двигателя и аккумулятора.
Important: Не мойте машину при работающем двигателе. Мойка машины при работающем двигателе может привести к внутренним повреждениям двигателя.
Прежде чем покинуть рабочее место оператора, выключите машину, извлеките ключ и дождитесь остановки всех движущихся частей. Дайте машине остыть перед регулировкой, техническим обслуживанием, очисткой или помещением на хранение.
Запрещается хранить машину или емкость с топливом в местах, где есть открытое пламя, искры или малая горелка, используемая, например, в водонагревателе или другом оборудовании.
Установите машину на ровной поверхности.
Включите стояночный тормоз.
Выключите двигатель и извлеките ключ из замка зажигания.
Очистите автомобиль от грязи и сажевого налета, включая наружные поверхности ребер головки цилиндров двигателя и корпус вентилятора.
Important: Автомобиль можно мыть мягким моющим средством с водой. Не допускается использовать для мойки автомобиля оборудование, подающее воду под давлением. Мойка автомобиля под давлением может вывести из строя электрооборудование или смыть необходимую консистентную смазку в точках трения. Избегайте излишнего использования воды около панели приборов, фонарей, двигателя и аккумулятора.
Осмотрите тормоза; см. Осмотр тормозов.
Обслужите воздухоочиститель, см.Обслуживание воздухоочистителя
Замените масло в двигателе; см. Обслуживание моторного масла.
Проверьте давление воздуха в шинах, см. Проверка давления в шинах.
Помещая машину на хранение на срок более 30 дней, подготовьте топливную систему следующим образом:
Добавьте стабилизирующую/кондиционирующую присадку в свежее топливо в баке. Не используйте стабилизатор топлива на спиртовой основе (этанол или метанол).
Important: Запрещается хранить топливо с добавлением стабилизатора/кондиционера топлива дольше срока, рекомендованного изготовителем стабилизатора топлива.
Запустите двигатель на 5 минут для распределения кондиционированного топлива по топливной системе.
Остановите двигатель, дайте ему остыть и слейте топливо из топливного бака.
Note: Утилизируйте надлежащим образом все неиспользованное топливо. Утилизируйте топливо согласно местным законам.
Запустите двигатель и дайте ему проработать до остановки.
Закройте воздушную заслонку.
Запустите двигатель и дайте ему поработать до тех пор, пока он не перестанет запускаться.
Снимите свечи зажигания и проверьте их состояние; см. Обслуживание свечи зажигания.
После снятия свечей зажигания с двигателя залейте по 15 мл (2 столовые ложки) моторного масла в отверстие каждой свечи зажигания.
Используйте электрический стартер для проворачивания двигателя и распределения масла внутри цилиндра.
Установите свечи зажигания на место и затяните с рекомендованным крутящим моментом; см. Обслуживание свечи зажигания.
Note: Не присоединяйте провода к свечам зажигания.
Снимите аккумулятор с шасси и полностью зарядите его; см. Демонтаж аккумуляторной батареи.
Note: Во время хранения не подсоединяйте аккумуляторные кабели к штырям аккумулятора.
Important: Аккумулятор должен быть полностью заряжен для предотвращения его замерзания и повреждения при температуре ниже 0 °C. Полностью заряженный аккумулятор сохраняет свой заряд около 50 суток при температуре ниже 4 °C.
Проверьте и затяните все крепления. Отремонтируйте или замените все поврежденные части.
Подкрасьте все поцарапанные или оголенные металлические поверхности краской, которую можно приобрести у официального дистрибьютора компании Toro.
Храните автомобиль в чистом, сухом гараже или складском помещении.
Извлеките ключ из замка зажигания и уберите его в безопасное место, недоступное для детей.
Накройте автомобиль для его защиты и сохранения в чистоте.