| Bakım Servisi Aralıkları | Bakım Prosedürü |
|---|---|
| Her kullanımdan önce veya günlük |
|
Bu hizmet aracının temel tasarım amacı, arazide insan ve malzeme yükleri taşımaktır. Bu ürünün kullanım amacı dışında kullanılması size ve çevrenizdekilere zarar verebilir.
Ürünü kullanmayı ve bakımlarını yapmayı öğrenmek ve olası yaralanmalar ile maddi hasarları önlemek için bu bilgileri dikkatle okuyun. Ürünü doğru ve emniyetli bir şekilde kullanmak sizin sorumluluğunuzdur.
Ürün emniyeti ve kullanımıyla ilgili eğitim materyalleri ile aksesuar bilgilerine erişmek, bayi bulmak veya ürününüzü kaydettirmek için www.Toro.com adresine gidin.
Servise, orijinal Toro parçalarına veya ek bilgiye ihtiyaç duyduğunuz takdirde Yetkili bir Servis Merkeziyle ya da Toro Müşteri Hizmetleriyle iletişim kurun ve ürünün model ve seri numaralarını hazır bulundurun. Şekil 1, model ve seri numaralarının ürün üzerindeki yerini belirtir. Bu numaraları, ilgili alana yazın.
Important: Garanti, yedek parça ve diğer ürün bilgilerine erişmek için, seri numarası etiketindeki (varsa) QR kodunu mobil aygıtınızla taratabilirsiniz.

Bu kılavuzda, bilgileri vurgulamak için 2 farklı sözcük kullanılır. Önemli sözcüğü bazı özel mekanik bilgilere dikkat çeker, Not sözcüğü ise dikkate alınması gereken genel bilgileri vurgular.
Hem bu kılavuzda hem de makinede görülen emniyet uyarısı sembolü (Şekil 2), kazaları önlemek için uymanız gereken önemli emniyet mesajlarını tanımlar. Bu sembol, Tehlike, Uyarı veya Dikkat sözcüğüyle birlikte görünür.
Tehlike, önlenmediği takdirde ağır yaralanma veya ölümle sonuçlanacak yakın bir tehlike durumunu belirtir.
Uyarı, önlenmediği takdirde ağır yaralanma veya ölümle sonuçlanabilecek potansiyel bir tehlike durumunu belirtir.
Dikkat, önlenmediği takdirde hafif veya orta seviyeli yaralanmayla sonuçlanabilecek potansiyel bir tehlike durumunu belirtir.

Bu ürün, ilgili tüm Avrupa direktiflerine uygundur. Detaylı bilgi için, ayrı olarak verilen Ürün Uygunluk Beyanı (DOC) sayfasını inceleyin.
California Kamu Kaynakları Yasası Bölüm 4442 veya 4443 uyarınca, motorun, Bölüm 4442'de belirtildiği gibi iyi çalışır durumdaki bir kıvılcım tutucuyla donatılmadığı veya yangının önlenmesine uygun bir şekilde üretilip tasarlanmadığı takdirde orman, çalı veya çimle kaplı bir yerde kullanılması veya çalıştırılması yasaktır.
Ekteki motor kullanıcı kılavuzu, ABD Çevre Koruma Ajansı (EPA) ve emisyon sistemleri, bakım ve garanti ile ilgili California Emisyon Kontrol Yönetmeliği hakkında bilgi vermek üzere sunulmuştur. Yedek parçalar motorun üreticisi kanalıyla sipariş edilebilir.
CALIFORNIA
Öneri 65 Uyarısı
Bu ürünün motor egzozu ve içerdiği bazı maddelerin Kaliforniya Eyaleti tarafından kansere, doğuştan rahatsızlıklara ve başka zararlara neden olduğu kayda geçirilmiştir.
Akü kutup başları, uçları ve ilgili aksesuarlar Kaliforniya Eyaleti tarafından kansere ve başka zararlara neden olan kimyasal maddeler olarak kayda geçirilmiş kurşun ve kurşun bulunduran bileşenler içermektedir. Dokunduktan sonra ellerinizi yıkayın.
Bu makine, SAE J2258 (Kasım 2016) gerekliliklerine uygun tasarlanmıştır.
Bu ürün, yaralanmaya yol açabilir. Ağır yaralanmaları önlemek için, tüm emniyet talimatlarına her zaman uyun.
Makineyi çalıştırmadan önce bu Kullanma Kılavuzunu iyice okuyup anlayın. Bu ürünü kullanan herkesin, ürünü kullanmayı bildiğinden ve uyarıları anladığından emin olun.
Makineyi kullanırken tüm dikkatinizi işinize verin. Dikkatinizi dağıtabilecek başka şeylerle ilgilenmeyin, aksi takdirde yaralanma veya maddi hasar meydana gelebilir.
Ellerinizi veya ayaklarınızı, makinenin hareketli parçalarının yakınına koymayın.
Tüm koruyucular ve emniyet aygıtları makinede ve çalışır durumda değilken makineyi çalıştırmayın.
Çocukları ve çevredekileri çalışma alanından uzak tutun. Çocukların makineyi kullanmasına asla izin vermeyin.
Makinede bakım yapmadan veya yakıt doldurmadan önce makineyi durdurup kapatın ve anahtarını çıkarın.
Bu makinenin uygunsuz bir şekilde kullanılması
veya uygun bakım işlemlerinin yapılmaması
yaralanmaya yol açabilir. Yaralanma risklerini azaltmak amacıyla
bu emniyet talimatlarına her zaman uyun ve Dikkat, Uyarı
veya Tehlike anlamına gelen emniyet uyarısı sembolüne
çok dikkat edin.
Bu talimatlara uyulmaması yaralanma veya ölümle sonuçlanabilir.
![]() |
Tehlike potansiyeli barındıran tüm noktalara, operatör tarafından kolayca görülebilecek emniyet etiketleri ve talimatları yerleştirilmiştir. Hasar gören veya kaybolan etiketleri yenisiyle değiştirin. |















Note: Makinenin sağ ve sol taraflarını, normal çalışma konumuna göre belirleyin.
Bu prosedür için gerekli parçalar:
| Direksiyon | 1 |
| Direksiyon kapağı | 1 |
| Rondela (½ inç) | 1 |
| Toz kapağı | 1 |
Kapak takılmışsa, direksiyon göbeğinden çıkarın (Şekil 3).
Direksiyon milinin kilit somununu (½ inç) sökün (Şekil 3).
Direksiyonu, toz kapağını ve rondelayı (½ inç) direksiyon milinin üzerine kaydırın (Şekil 3).
Note: Ön tekerlekler düz konumdayken, direksiyonu, üzerindeki küçük direksiyon kolu parçası dik olacak biçimde döndürün.
Kilit somununu (½ inç) kullanarak direksiyonu mile sabitleyin ve 18 ila 30 N∙m torkla sıkın.
Kapağı, direksiyona takın (Şekil 3).

Motoru ilk kez çalıştırmadan önce ve sonra motor yağı seviyesini kontrol edin; bkz. Motor Yağı Seviyesi Kontrolü.
Motoru ilk kez çalıştırmadan önce fren hidroliği seviyesini kontrol edin; bkz. Fren Hidroliği Seviyesinin Kontrol Edilmesi.
Motoru ilk kez çalıştırmadan önce transaks yağı seviyesini kontrol edin; bkz. Transaks Yağı Seviyesinin Kontrol Edilmesi.
Lastiklerin hava basıncını kontrol edin; bkz. Lastik Hava Basıncının Kontrol Edilmesi.
Fren sisteminden optimum performansı alabilmek için, kullanmadan önce frenleri perdahlayın (alıştırın).
Makineyi azami hıza getirin ve lastikleri kilitlemeden makineyi durdurmak için hızla frenleri uygulayın.
Frenlerin aşırı ısınmasını önlemek için her defasında 1 dakika bekleyerek bu işlemi 10 defa tekrarlayın.
Important: Bu işlem en çok, makinede 227 kg yük olduğunda etkindir.
Bu prosedür için gerekli parçalar:
| Kullanma Kılavuzu | 1 |
| Motor kullanıcı kılavuzu | 1 |
| Kayıt kartı | 1 |
| Teslimat Öncesi Kontrol Formu | 1 |
| Kalite Belgesi | 1 |
| Anahtar | 2 |
Kullanma Kılavuzunu ve motorun kullanıcı kılavuzunu okuyun.
Kayıt kartını doldurun.
Teslimat Öncesi Kontrol Formunu doldurun.
Kalite Belgesini inceleyin.


Motoru çalıştırmadan ve makineyi kullanmadan önce tüm kontrolleri tanıyın.

Makinenin yürüyüş hızını değiştirmek için gaz pedalını (Şekil 6) kullanın. Gaz pedalına basılınca motor çalışır. Pedala daha da basılınca yürüyüş hızı artar. Pedal bırakılınca makine yavaşlar ve motor kapanır.
Note: Maksimum ileri hız saatte 26 km'dir.
Makineyi durdurmak veya yavaşlatmak için fren pedalını kullanın (Şekil 6).
Makinenin aşınmış veya hatalı ayarlanmış frenlerle kullanılması yaralanmaya yol açabilir.
Fren pedalı makinenin zemin plakasının 25 mm'lik kısmının içine kadar hareket ederse frenleri ayarlayın veya onarın.
Anahtarlı şalter, gösterge panelinin sağ alt köşesindedir (Şekil 6).
Anahtarlı şalterin 3 konumu vardır: KAPALı, AçıK ve ÇALışTıR.
Makineyi çalıştırmak için 2 mod vardır; bkz. Motorun Çalıştırılması.
Park freni kolu, kontrol panelindedir (Şekil 6).
Motoru her kapattığınızda, makinenin kazayla hareket etmesini önlemek için park frenini etkinleştirin. Makine dik bir eğime park edilmişse, park frenini etkinleştirdiğinizden emin olun.
Park frenini etkinleştirmek için, park freni kolunu kendinize doğru çekin (Şekil 7).

Park frenini devre dışı bırakmak için, park freni kolunun en üst kısmındaki düğmeye basın, park freni kolunu kendinize doğru çekerek basıncı boşaltın ve park freni kolunu ileri itin (Şekil 8).

Jigle kontrolü, kontrol panelindedir. Soğuk bir motorun çalıştırılmasını kolaylaştırmak için, jigle kontrolünü dışarı doğru çekerek jigleyi etkinleştirin (Şekil 6). Motor çalıştıktan sonra, motorun sorunsuz çalışmaya devam etmesi için jigleyi ayarlayın. Motor ısınırken, jigle kontrolünü KAPALı konumuna bastırın.
Vites kolu, vites göstergesinde 3 farklı konuma ayarlanabilir: İLERI, GERI ve BOş (Şekil 9).
Note: Motor, 3 konumun hepsinde de çalışır.
Vites BOş konumdayken vites kolunu sola İLERI konumuna veya sağa GERI konumuna getirebilirsiniz (Şekil 9).
Important: Vites değiştirmeden önce makineyi mutlaka durdurun.

Korna düğmesi, kontrol panelindedir (Şekil 6). Kornayı çalmak için korna düğmesine basın.
Işık anahtarı, direksiyon kolonunun solunda bulunur (Şekil 10). Farları yakmak için ışık anahtarını kullanın. Farları yakmak için ışık anahtarını yukarı itin. Farları söndürmek için ışık anahtarını aşağı itin.

Saat ölçer, ışık anahtarının sağında bulunur (Şekil 10). Motorun toplam çalışma saatini öğrenmek için saat ölçeri kullanın. Anahtarlı şalteri her AçıK veya ÇALışTıR konumuna getirdiğinizde veya motor çalışıyorsa saat ölçer çalışmaya başlar.
Note: Makine çalışıyorken saat ölçer sürekli yanıp sönerek kullanımı kaydeder.
USB güç noktası, park freni kolunun solunda bulunur (Şekil 6). Mobil aygıtlara güç vermek için güç noktasını kullanın.
Important: USB güç noktasını kullanmadığınız zamanlarda, güç noktasının hasar görmesini önlemek için kauçuk tapayı takın.
Yakıt göstergesi (Şekil 11), makinenin sol tarafında, yakıt deposunda dolum kapağında bulunur. Gösterge, depodaki yakıt miktarını gösterir.

Yolcu tutunma çubukları, her bir koltuğun dış kısmında bulunur (Şekil 12).

Note: Tasarım ve teknik özellikler önceden haber verilmeden değiştirilebilir.
| Baz ağırlık | 397 kg |
| Nominal kapasite (yer seviyesinde) | 90,7 kg operatör ve 91 kg yolcu, yük, aksesuar ve ek parçalarla birlikte toplam 544 kg. |
| Brüt araç ağırlığı (yer seviyesinde) | Yukarıda belirtilen tüm ağırlıklar dahil toplam 941 kg |
| Maksimum yük kapasitesi (yer seviyesinde) | Arkaya monte aksesuarlar dahil 363 kg |
| Maksimum arka yük kasası aksesuarı montaj yatağı kapasitesi | Toplam 45 kg |
| Çekme kapasitesi | Çeki ağırlığı: 91 kg |
| Brüt römork ağırlığı: 680 kg | |
| Toplam genişlik | 119 cm |
| Toplam uzunluk | 302 cm |
| Toplam yükseklik | 127,5 cm |
| Yerden yükseklik | Yük veya operatör yokken, önde 21,6 cm |
| Yük veya operatör yokken, arkada 14 cm | |
| Aks mesafesi | 220 cm |
| Tekerlek izi (orta çizgiden orta çizgiye) | Ön: 119 cm |
| Arka: 119 cm | |
| Yük kasası uzunluğu | İç: 102 cm |
| Dış: 114,3 cm | |
| Yük kasası genişliği | İç: 98 cm |
| Kalıplı çamurlukların dışı: 107,3 cm | |
| Yük kasası yüksekliği | İç: 28 cm |
| Motor devri | Düşük rölanti: 1.250 ila 1.350 dev/dak |
| Yüksek rölanti: 3.650 ila 3.750 dev/dak |
Makine işlevlerini artırmak amacıyla makineyle birlikte kullanılabilecek çok sayıda Toro onaylı ek parça ve aksesuar vardır. Onaylanmış tüm ek parça ve aksesuarların bir listesi için Yetkili Toro Bayinize veya distribütörünüze ulaşın ya da www.Toro.com adresine gidin.
Makinenin en yüksek performansı sergilemesi ve emniyet sertifikası geçerliliğinin korunması için sadece orijinal Toro yedek parça ve aksesuarlarını kullanın. Başka üreticilerin ürettiği yedek parça ve aksesuarlar tehlike yaratabilir ve bunların kullanılması ürün garantisini geçersiz kılabilir.
Note: Makinenin sağ ve sol taraflarını, normal çalışma konumuna göre belirleyin.
Çocukların, eğitim almamış kişilerin veya makineyi güvenli bir şekilde kullanmak ya da bakım yapmak için gereken fiziksel kapasiteye sahip olmayanların makineyi kullanmasına veya bakım yapmasına asla izin vermeyin. Yerel yönetmelikler operatör yaşını sınırlandırabilir. Makine sahibi, tüm operatör ve bakım teknisyenlerinin eğitilmesini sağlamakla sorumludur.
Ekipmanın ve operatör kontrollerinin emniyetli bir şekilde kullanılmasını ve emniyet etiketlerinin anlamlarını öğrenin.
Operatör konumundan ayrılmadan önce, makinenin motorunu kapatın, anahtarı çıkarın ve tüm hareketin durmasını bekleyin. Makineyi ayarlamadan, bakım yapmadan, temizlemeden veya depoya kaldırmadan önce soğumasını bekleyin.
Makineyi hızla durdurmayı ve kapatmayı öğrenin.
Makinede, tutunma çubuklarının sayısından daha fazla yolcu (siz + yolcuların toplamı) bulunmadığından emin olun.
Tüm emniyet aygıtları ile etiketlerin yerinde olduğunu kontrol edin. Sorunlu tüm emniyet aygıtlarını onarın veya yenisiyle değiştirin ve okunamayan veya eksik tüm etiketleri yenileriyle değiştirin. Bunlar tamamlanmadan veya sorunsuz çalışmaya başlamadan makineyi çalıştırmayın.
Yakıt elleçlerken son derece dikkatli olun. Yakıt yanıcıdır ve buharı patlayıcıdır.
Sigaraları, puroları, pipoları ve diğer tutuşma kaynaklarını söndürün.
Sadece onaylanmış bir yakıt kabı kullanın.
Motor çalışıyorken veya sıcakken yakıt kapağını çıkarmayın ya da yakıt deposunu doldurmayın.
Kapalı bir yerde yakıt eklemeyin veya boşaltmayın.
Makineyi veya yakıt kabını asla bir su ısıtıcısı veya diğer cihazlarda bulunan tipte açık alev, kıvılcım veya tutuşturma alevlerinin bulunduğu yerlerde depolamayın.
Yakıt dökerseniz motoru çalıştırmayın; yakıt buharları tamamen ortadan kaybolana kadar her tür tutuşma kaynağını önleyin.
| Bakım Servisi Aralıkları | Bakım Prosedürü |
|---|---|
| Her kullanımdan önce veya günlük |
|
Her gün, makineyi çalıştırmadan önce bölümünde belirtilen Her Kullanımda/Her Gün prosedürlerini uygulayın.
| Bakım Servisi Aralıkları | Bakım Prosedürü |
|---|---|
| Her kullanımdan önce veya günlük |
|
Ön ve arka lastikler için hava basıncı değerleri: 165 ila 207 kPa (24 ila 30 psi)
Important: Lastiğin yan duvarına belirtilen maksimum hava basıncı değerini aşmayın.
Note: Lastikte gereken hava basıncı, taşımak istediğiniz yük hacmine göre belirlenir.
Lastiklerdeki hava basıncını kontrol edin.
Daha hafif yük hacimleri, daha az toprak sıkışması, daha sorunsuz bir sürüş ve yerde minimum lastik izleri için daha düşük hava basıncı kullanın.
Daha yüksek hızlarda daha ağır yükler taşıma için daha yüksek lastik hava basınçları kullanın.
Gerekiyorsa, lastiklere hava ekleyerek veya lastiklerin havasını alarak lastiklerdeki hava basıncını ayarlayın.

| Tip | Kurşunsuz benzin |
| Minimum oktan derecesi | 87 (ABD) veya 91 (seçilebilir oktan ABD dışı) |
| Etanol | Hacmen maksimum %10 |
| Metanol | Hiçbiri |
| MTBE (metil tertier bütil eter) | Hacmen %15'ten az |
| Yağ | Yakıta eklemeyin. |
Sadece güvenilir bir satıcıdan alınmış temiz ve yeni (en fazla 30 günlük) yakıt kullanın.
Important: Marş sorunlarını azaltmak için, temiz yakıtın içine, yakıt stabilizatörü/koşullandırıcı üreticisinin belirttiği gibi yakıt stabilizatörü/koşullandırıcı ekleyin.
Detaylı bilgi için motorun kullanma kılavuzuna bakın.
Yakıt deposu kapasitesi yaklaşık 18,9 litredir.
Makineyi düz bir zemine park edin.
Vitesi BOş konumuna getirin.
Park frenini etkinleştirin.
Makinenin motorunu kapatın ve anahtarını çıkarın.
Yakıt deposu kapağının çevresini temizleyin (Şekil 14).

Yakıt deposu kapağını çıkarın.
Depoyu, deponun en üst kısmının (dolum boynunun tabanı) yaklaşık 25 mm altına kadar doldurun.
Note: Depodaki bu alan, yakıtın genleşmesine imkan tanımak içindir. Yakıt deposunu aşırı doldurmayın.
Yakıt deposu kapağını sıkıca takın.
Dökülen yakıtı silerek giderin.
| Bakım Servisi Aralıkları | Bakım Prosedürü |
|---|---|
| İlk 100 saatten sonra |
|
Makinenin düzgün performans sergilemesi için şunları yapın:
Frenlerin perdahlanmasını sağlayın; bkz. Frenlerin Perdahlanması.
Hidrolik ve motor yağı seviyelerini düzenli olarak kontrol edin. Makinenin veya parçalarının aşırı ısındığına ilişkin belirtileri dikkatle takip edin.
Soğuk bir motoru çalıştırdıktan sonra, makineyi kullanmadan önce yaklaşık 15 saniye bekleyin.
Note: Soğuk havalarda çalıştırdığınız zaman, motorun ısınmasını daha uzun bir süre bekleyin.
Çalışma sırasında makine hızını çeşitli aralıklarla değiştirin. Hızlı çalıştırma ve durdurma işlemlerinden kaçının.
Motor için rodaj yağı kullanılması gerekmez. Düzenli yağ değişimlerinde kullanılacak yağ, makine için başlangıçta belirtilen orijinal motor yağıdır.
Özel, düşük saatli kontroller için bkz. .
Ön süspansiyon konumunu kontrol edin ve gerekiyorsa ayarlayın; bkz. Ön Tekerlek Hizalamasının Ayarlanması.
Makine sahibi/operatörü, yaralanma veya maddi hasara yol açabilecek kazaları önleyebilir ve önlemekle sorumludur.
Yolcular, sadece ayrılan oturma yerlerine oturmalıdır. Yük kasasının içinde yolcu taşımayın. Çocukları ve çevredekileri çalışma alanından uzak tutun.
Göz koruyucu, uzun pantolon, kaymaz ayakkabı ve kulak koruyucu gibi uygun kişisel koruyucu donanımlar giyin. Saçınız uzunsa toplayıp bağlayın, bol kıyafet giymeyin, bol takı takmayın.
Makineyi kullanırken tüm dikkatinizi işinize verin. Dikkatinizi dağıtabilecek başka şeylerle ilgilenmeyin, aksi takdirde yaralanma veya maddi hasar meydana gelebilir.
Yorgun, hasta veya alkol/ilaç etkisi altındayken makineyi çalıştırmayın.
Makineyi sadece açık havada veya iyi havalandırılmış yerlerde kullanın.
Makinenin maksimum brüt araç ağırlığını (GVW) aşmayın.
Yük kasasında ağır yük olduğunda fren yaparken veya viraj dönerken çok dikkatli olun.
Yük kasasında çok büyük ebatlı yükler taşımak makinenin dengesini azaltır. Kasanın taşıma kapasitesini aşmayın.
Makineye sabitlenemeyen malzemeler taşınması, direksiyon, fren ve makine hakimiyetini olumsuz etkileyebilir. Makineye sabitlenemeyen bir malzeme taşıyorsanız, dönüşler veya frenlemeler sırasında çok dikkatli olun.
Bozuk ve düzensiz zeminlerde, bordürlerin ve deliklerin yakınlarında ve arazideki diğer ani değişimlerde daha az yük taşıyın ve makinenin yürüyüş hızını azaltın. Yükler yer değiştirerek makinenin dengesini kaybetmesine yol açabilir.
Makineyi çalıştırmadan önce, şanzımanın boş vites konumunda, park freninin etkinleştirilmiş ve sizin de çalışma konumunda olduğunuzu teyit edin.
Makine hareket ediyorken hem sizin hem de yolcuların oturuyor olması gerekir. Ellerinizi direksiyondan ayırmayın, yolcularınız ise tutunma çubuklarını kullanmalıdır. Kol ve bacaklarınızı her zaman makinenin içinde tutun.
Makineyi sadece görüş imkanının iyi olduğu ortamlarda kullanın. Deliklere, tekerlek izlerine, tümseklere, kayalara ve diğer gizli nesnelere karşı dikkatli olun. Bozuk zemin, makinenin devrilmesine yol açabilir. Uzun çimler bazı engelleri gizliyor olabilir. Keskin virajlara, çalılara, ağaçlara veya görüş imkanını kısıtlayabilecek diğer nesnelere yaklaşırken çok dikkatli olun.
Makineyi yamaçların, hendeklerin veya toprak setlerinin yakınında sürmeyin. Bir tekerlek eşiğin üzerinden geçer veya eşik çökerse makine aniden devrilebilir.
Ağaç dalları, kapı pervazları, asılı yürüme yolları vb. alçak sarkan cisimlere karşı her zaman dikkatli olun ve bunlardan kaçının.
Makineyle geriye doğru hareket etmeden önce, arkanıza ve aşağıya bakarak yolun açık olduğunu teyit edin.
Makineyi trafikte kullanırken tüm trafik kurallarına uyun ve kanunların zorunlu kılmış olabileceği lambalar, sinyaller, yavaş hareket eden vasıta (SMV) vb. gibi tüm ek parçaları kullanın.
Makine anormal bir şekilde titreşiyorsa derhal makineyi durdurup kapatın, tüm hareketlerin durmasını bekleyin ve hasar kontrolü yapın. Çalışmaya devam etmeden önce makinedeki tüm hasarı onarın.
Makineyi ıslak zeminde durdurmak kuru zeminde durdurmaktan daha uzun sürebilir. Islanan frenleri kurutmak için, makineyi düz bir zeminde ayağınızı hafifçe fren pedalına basılı tutarak yavaşça sürün.
Makineyi yüksek hızda sürerken hızla durdurmanız arka tekerleklerin kilitlenmesine, bu da makine hakimiyetini kaybetmenize yol açabilir.
Motor çalışıyorken veya kapattıktan hemen sonra motora, şanzımana, egzoz susturucusuna veya egzoz manifolduna dokunmayın; buralar çok sıcak olabilir ve yanmanıza yol açabilir.
Çalışmakta olan bir makinenin başından ayrılmayın.
Çalışma konumundan ayrılmadan önce şunları yapın:
Makineyi düz bir zemine park edin.
Vitesi BOş konumuna getirin.
Park frenini etkinleştirin.
Makinenin motorunu kapatın ve anahtarını çıkarın.
Tüm hareketin durmasını bekleyin.
Yıldırım riski bulunan durumlarda makineyi çalıştırmayın.
Yalnızca Toro® Company tarafından onaylanmış aksesuar ve ek parçalar kullanın.
Makinenin brüt araç ağırlığını (GVW) aşmayın. Makinenin brüt araç ağırlığını hesaplarken kendinizi, yolcularınızı ve yük kasasındaki yükleri hesaba katın.
Yolcular, sadece ayrılan oturma yerlerine oturmalıdır. Yolcuların yük kasasının içine oturmalarına izin vermeyin.
Makine hareket ediyorken hem sizin hem de yolcuların oturuyor olması gerekir.
Makine uzunluğunun artması dönüş yarıçapını büyüteceğinden, makineyle manevra yapmak için daha fazla alan sağlayın.
Note: Bu makine için, ek aksesuar olarak sunulan 2 direkli bir Devrilme Koruma Sistemi (ROPS) mevcuttur. Yamaçların veya suyun yanında, bozuk zeminlerde ya da eğimde çalışırken makinenin devrilme tehlikesi bulunduğundan buralarda çalışacağınız zaman ROPS kullanın. Daha fazla bilgi için yetkili Toro distribütörüne danışın.
Eğimler araç hakimiyetinin kaybedilmesine ve aracın devrilmesine, bu da ağır yaralanma veya ölüme yol açabilir.
Sahayı kontrol ederek hangi eğimlerin makineyi kullanmak için emniyetli olduğunu tespit edin ve bu tür eğimlerde emniyetli çalışmak için kendi prosedür ve kurallarınızı oluşturun. Bu incelemeyi yaparken mantıklı düşünün ve doğru kararlar vermeye dikkat edin.
Makineyi eğimli bir yerde kullanabileceğinizden emin değilseniz, kullanmayın.
Eğimli zeminlerde tüm hareketleri yavaşça ve kademeli olarak yapın. Makinenin hızını veya yönünü aniden değiştirmeyin.
Makineyi ıslak zeminlerde çalıştırmaktan kaçının. Lastikler çekişten düşebilir. Makine, lastikler çekişten düşmeden önce de devrilebilir.
Bir eğimde düz yukarı ve düz aşağı hareket edin.
Bir eğimi tırmanırken momentum kaybederseniz frenleri kademeli olarak etkinleştirin ve makineyi düz bir şekilde tekrar yokuş aşağı doğru yönlendirin.
Eğim çıkarken veya inerken dönüş yapmak tehlikeli olabilir. Bir eğimde dönüş yapmanız gerekirse yavaşça ve dikkatle yapın.
Eğimli zeminlerde ağır yükler dengeyi olumsuz etkiler. Eğimde çalışıyorsanız veya yükün yüksek bir ağırlık merkezi varsa yükü azaltın ve yürüyüş hızınızı düşürün. Yükün yer değiştirmesini önlemek için yükü makinenin yük kasasına sabitleyin. Kolayca yer değiştirebilen yükler (örn. sıvılar, kaya, kum vs.) taşırken çok daha dikkatli olun.
Özellikle yük taşıyorken, makineyi eğimlerde çalıştırmayın, durdurmayın veya döndürmeyin. Bir eğimde ilerlerken durmak, düz bir zeminde durmaktan daha uzun sürer. Makineyi durdurmanız gerekiyorsa ani hız değişimlerinden kaçının, aksi takdirde makine yan yatabilir veya devrilebilir. Geriye doğru kayarken frenleri aniden etkinleştirmeyin, makine devrilebilir.
Makineyi yük kasasında yükle kullanıyorken ve/veya römork çekiyorken makinenin brüt araç ağırlığını aşmayın; bkz. Özellikler.
Makinenin denge ve hakimiyetini artırmak için yükü yük kasasında eşit olarak dağıtın.
Yükü boşaltmadan önce, makinenin arkasında kimse bulunmadığından emin olun.
Dolu bir yük kasasını, makine bir eğimde yanlamasına duruyorken boşaltmayın. Ağırlık dağılımındaki bir değişim makinenin devrilmesine neden olabilir.
Yükseltilen bir kasa aniden düşebilir ve altında çalışanları yaralayabilir.
Kasanın altında çalışmaya başlamadan, kasayı yukarıda tutması için mutlaka kasa tutma çubuğunu kullanın.
Kasayı yükseltmeden önce, varsa yükleri boşaltın.
Makinenin yük kasası yükseltilmiş bir şekilde sürülmesi makinenin yan yatmasına veya devrilmesine yol açabilir. Makineyi kasa yükseltilmiş olarak kullanırsanız yük kasasının yapısına zarar verebilirsiniz.
Makineyi, yük kasası indirilmiş olarak kullanın.
Yük kasasını boşalttıktan sonra indirin.
Kasa kilitlerini açtığınız zaman yük kasasının arka kısmında yük birikmesi olursa kasa beklenmedik bir şekilde açılabilir ve sizi veya çevredekileri yaralayabilir.
Mümkünse, yükleri yük kasasının içinde ortalayın.
Yük kasasını indirilmiş halde tutun ve kilitlerini açarken kimsenin kasaya yaslanmadığından veya arkasında durmadığından emin olun.
Makineye bakım yapmak için kasayı yükselteceğiniz zaman öncelikle kasadaki tüm yükü boşaltın.
Kasa çok ağır olabilir. Elleriniz veya vücudunuzun diğer kısımları sıkışıp ezilebilir.
Kasayı indirirken ellerinizi ve vücudunuzun diğer kısımlarını uzak tutun.
Makinenin yük kasasından kum, peyzaj taşı veya ahşap talaşı gibi gevşek malzemeler boşalttıysanız, boşalttığınız malzemenin bir kısmı arka kapağın menteşesine sıkışmış olabilir. Aka kapağı kapatmadan önce şunları yapın:
Menteşenin bulunduğu kısımdan elinizle olabildiğince fazla miktarda malzemeyi çıkarın.
Arka kapağı yaklaşık 45° konumuna döndürün (Şekil 18).

Kısa bir sarsma hareketiyle arka kapağı birkaç kez ileri-geri döndürün (Şekil 18).
Note: Bu işlem, malzemenin menteşe alanından çıkarılmasına yardımcı olur.
Arka kapağı indirin ve menteşe alanında malzeme kalıp kalmadığını kontrol edin.
Menteşe alanındaki malzeme tamamen giderilene kadar 1 - 4 arası adımları tekrarlayın.
Arka kapağı yukarı döndürün ve yük kasasındaki çentiklerin içine doğru yukarı kaldırın.
Aksesuarları makinenin arkasına sabitlemek için arka yük kasası aksesuar montaj yatağını kullanın.
Kapasite: 45 kg
“T” kolunu, saat yönünde döndürerek gevşetin (Şekil 19).

Aksesuarı, delikler hizalanana kadar yuvanın içine yerleştirin (Şekil 19).
Monte edilen aksesuarı, aksesuarla birlikte verilen çatal pim ve kopilyayı kullanarak yuva borusuna sabitleyin.
“T” kolunu, saatin aksi yönünde döndürerek sıkın (Şekil 20).

Yük kasasına malzeme doldururken ve makineyi çalıştırırken şunlara riayet edin:
Makinenin ağırlık kapasitesine ve yük kasasında taşıyacağınız yükün ağırlığına, Özellikler bölümünde ve makinenin brüt araç ağırlığı etiketinde belirtildiği gibi uyun.
Note: Yük derecelendirmesi, makinenin düz bir zeminde olması şartına göre belirtilmiştir.
Makineyi yamaçlarda ve bozuk zeminlerde kullanacağınız zaman yük kasasındaki yük ağırlığını azaltın.
Tuğla istifi, peyzaj kerestesi veya gübre torbaları gibi yüksek (ve ağırlık merkezi yüksekte olan) malzemeler taşıyacağınız zaman yük ağırlığını azaltın. Çalışırken yükün makinenin arkasını görme imkanınızı kısıtlamaması için yükü olabildiğince dağıtın.
Malzemeyi yük kasasına şöyle yükleyerek yükleri ortada tutun:
Ağırlığı, yük kasasının içinde yandan yana eşit yerleştirin.
Important: Yük kasası tek bir tarafa doğru yüklenirse devrilme riski artar.
Ağırlığı, yük kasasının içinde önden arkaya eşit yerleştirin.
Important: Yükü arka aksın arkasına yerleştirirseniz direksiyon hakimiyeti kaybedilebilir, makine devrilebilir ve ön lastiklerin çekişi düşer.
Özellikle büyük yükün ağırlığını yük kasasında ortalayamayacağınız zamanlarda, yük kasasında büyük yükler taşıyacağınız zaman dikkatli olun.
Mümkün olan her durumda, yerinden oynamaması için yükü yük kasasına bağlayarak sabitleyin.
Sıvı taşıyacağınız zamanlarda makineyi yokuş aşağı veya yokuş yukarı sürerken, ani hız değişimleri veya frenlemeler yaparken veya bozuk yüzeylerden geçerken çok dikkatli olun.
Yük kasasının kapasitesi 0,28 m3'tür. Makinenin yük kapasitelerini aşmadan kasaya yükleyebileceğiniz malzeme miktarı (hacmi), malzemenin yoğunluğuna bağlı olarak büyük ölçüde değişebilir.
Çeşitli malzemelerle geçerli olan yük hacmi sınırları için aşağıdaki tabloya bakın:
| Malzeme | Yoğunluk | Maksimum Yük Kasası Kapasitesi(yer seviyesinde) |
| Çakıl, kuru | 1522 kg/m3 | Tam dolu |
| Çakıl, ıslak | 1922 kg/m3 | ¾ Dolu |
| Kum, kuru | 1442 kg/m3 | Tam dolu |
| Kum, ıslak | 1922 kg/m3 | ¾ Dolu |
| Ahşap | 721 kg/m3 | Tam dolu |
| Ağaç Kabuğu | < 721 kg/m3 | Tam dolu |
| Toprak, paketlenmiş | 1602 kg/m3 | ¾ Dolu (yaklaşık olarak) |
Operatör koltuğuna oturun, anahtarı kontak yuvasına takın ve AçıK veya ÇALışTıR konumuna döndürün.
Makineyi çalıştırmak için 2 mod vardır:
Pedal ile Çalıştırma—anahtarlı şalteri AçıK konumuna getirin ve gaz pedalına basın.
Note: Ayağınızı gaz pedalından çektiğiniz zaman motor kapanır.
Anahtar ile Çalıştırma—anahtarı ÇALışTıR konumuna getirin; motor, anahtar KAPALı konumuna getirilene kadar çalışır.
Note: Anahtarla çalıştırma modunu kullandığınızda, park frenini etkinleştirebilir ve motor çalışmaya devam ederek ve akü şarjı tüketilmeyerek makineden uzakta çalışabilirsiniz.
Note: Anahtarı ÇALışTıR konumuna getirirseniz motor çalışana kadar marş alır. Motorun marş alması 10 saniyeden uzun sürerse anahtarı KAPALı konumuna getirin ve makineyi tekrar çalıştırmadan önce sorunun nedenini belirleyin (örn. jiglenin etkinleştirilmesi gerekip gerekmediğini kontrol edin, hava filtresinde tıkanma kontrolü yapın, yakıt deposunun dolu olduğunu kontrol edin, bujide sorun olup olmadığına bakın vs.).
Note: Makine opsiyonel sunulan geri vites alarmıyla donatılmışsa, anahtar AçıK veya ÇALışTıR konumundayken vites kolunu GERI VITES konumuna getirdiğinizde makinenin geri vitese geçtiği konusunda sizi uyarmak için sesli bir uyarı duyulur.
Vites kolunu, makine için istediğiniz hareket yönüne getirin.
Park frenini devre dışı bırakın.
Gaz pedalına hafifçe basın.
Note: Motor soğuksa, gaz pedalını hareket mesafesinin yaklaşık yarısına kadar basılı tutun ve jigle kolunu dışarı doğru AçıK konumuna çekin. Motor ısındıktan sonra jigle kolunu KAPALı konumuna getirin.
Important: Makineyi bir eğimde durdururken, servis frenlerini kullanarak makineyi durdurun ve yerinde tutmak için park frenini etkinleştirin. Makine motorunu boğarak durdurmak için yokuşta gaz pedalını kullanmak makineye hasar verebilir.
Ayağınızı gaz pedalından çekin.
Servis frenlerini uygulamak için, makine tamamen durana kadar fren pedalına yavaşça basın.
Note: Durma mesafesi, makinenin yük ve hızına bağlı olarak değişebilir.
Fren pedalını basılı tutarak servis frenlerini etkinleştirerek makineyi durdurun.
Park frenini etkinleştirmek için, park freni kolunu kendinize doğru çekin.
Anahtarı KAPALı konumuna döndürün.
Anahtarı çıkarın.
Çalışma konumundan ayrılmadan önce şunları yapın:
Makineyi düz bir zemine park edin.
Vitesi BOş konumuna getirin.
Park frenini etkinleştirin.
Makinenin motorunu kapatın ve anahtarını çıkarın.
Tüm hareketin durmasını bekleyin.
Makineyi ayarlamadan, bakım yapmadan, temizlemeden veya depoya kaldırmadan önce soğumasını bekleyin.
Makineyi asla bir su ısıtıcısı veya diğer cihazlarda bulunan tipte açık alev, kıvılcım veya tutuşturma alevlerinin bulunduğu yerlerde depolamayın.
Makinenin tüm parçalarını sorunsuz çalışır ve tüm donanımları sıkılmış durumda tutun.
Gerekiyorsa emniyet kemer(ler)ine bakım yapın ve temizleyin.
Aşınmış, hasar görmüş veya eksik tüm etiketleri yenileriyle değiştirin.
Makineyi bir römork veya kamyona yüklerken ve indirirken dikkatli olun.
Makineyi bir römork veya kamyona yüklemek için tam genişlikte rampalar kullanın.
Makineyi emniyetli bir şekilde bağlayın.
Makinedeki bağlama konumlarını görmek için bkz. Şekil 21 ve Şekil 22.
Note: Makineyi, ön kısmı ileri bakacak biçimde römorka yükleyin. Bu mümkün değilse, makine kaputunu bir kayışla şasiye sabitleyin veya kaputu çıkarıp ayrı olarak taşıyın; aksi takdirde, taşıma sırasında kaput yerinden çıkarak hasar görebilir.
Makine taşınırken koltuklar gevşeyerek makine ve römorktan düşebilir, ayrıca koltuklar başka bir makineye temas edebilir ya da yolu kapatabilir.
Koltukları çıkarın ve kılavuz pimlerle sabitlendiğinden emin olun.


Acil bir durumda, makineyi kısa bir mesafeye kadar çekebilirsiniz. Bununla birlikte, standart çalışma prosedürü bu değildir.
Makineyi aşırı hızlarda çekmek direksiyon hakimiyetinin kaybedilmesine ve yaralanmaya neden olabilir.
Makineyi asla saatte 8 km'den yüksek hızlarla çekmeyin.
Makinenin çekilmesi 2 kişiyle gerçekleştirilmelidir. Makineyi uzun bir mesafeye kadar çekmeniz gerekiyorsa bir kamyon veya römork üzerinde taşıyın; bkz. Römork Çekme.
Tahrik kayışını makineden sökün; bkz. Tahrik Kayışının Değiştirilmesi.
Makine şasisinin ön kısmındaki çekme diline bir çekme halatı bağlayın (Şekil 21).
Vitesi BOş konumuna getirin ve park frenini bırakın.
Makine, römork çekebilir. Makine için bir çekme donanımı vardır. Detaylar için Toro distribütörünüzle irtibata geçin.
Yük taşırken veya römork çekerken makineyi veya römorku aşırı yüklemeyin. Makinenin veya römorkun aşırı yüklenmesi frenlerin, aksın, motorun, transaksın, direksiyonun, süspansiyonun, gövde yapısının veya lastiklerin performansını düşürebilir veya bunlara hasar verebilir.
Bir römorku her zaman yük ağırlığının %60'ı römorkun ön tarafına gelecek biçimde yükleyin. Bu durumda, brüt römork ağırlığının (GTW) yaklaşık %10'u makinenin çekme donanımına binecektir.
Yeterli frenleme ve çekiş sağlamak için, bir römork kullanırken yük kasasını mutlaka doldurun. Brüt araç veya römork ağırlığı sınırlarını aşmayın.
Bir römork bağlıyken makineyi eğimlerde park etmeyin. Makineyi mutlaka bir eğimde park etmeniz gerekiyorsa, park frenini etkinleştirin ve römorkun lastiklerine takoz yerleştirin.
Eğitimsiz personelin makineye bakım yapmasına izin vermeyin.
Çalışma konumundan ayrılmadan önce şunları yapın:
Makineyi düz bir zemine park edin.
Vitesi BOş konumuna getirin.
Park frenini etkinleştirin.
Yük kasasını indirin.
Makinenin motorunu kapatın ve anahtarını çıkarın.
Tüm hareketin durmasını bekleyin.
Makineyi ayarlamadan, bakım yapmadan, temizlemeden veya depoya kaldırmadan önce soğumasını bekleyin.
Makinenin altında çalışacağınız zaman makineyi mutlaka krikolarla destekleyin.
Gerekli kasa emniyet desteği takılı değilken, yükseltilmiş bir kasanın altında çalışmayın.
Aküleri, makineye servis uygularken şarj etmeyin.
Tüm makinenin iyi durumda olmasını sağlamak için tüm donanımları iyi sıkılmış durumda tutun.
Yangın tehlikesini azaltmak için, makinenin çevresindeki gres, çim ve yaprak kalıntıları ile kir birikmelerini giderin.
Mümkünse, makine çalışıyorken bakım işi yapmayın. Hareketli parçalardan uzak durun.
Bir bakım ayarı yapmak için motoru çalıştırmanız gerekirse, ellerinizi, ayaklarınızı, giysilerinizi ve vücudunuzun tüm kısımlarını hareketli parçalardan uzak tutun. Etraftakileri makineden uzak tutun.
Yağ ve yakıt dökülmelerini silerek giderin.
Park freninin çalışmasını bakım planında tavsiye edildiği gibi kontrol edin, gerekiyorsa ayarlayın veya onarım yapın.
Makinenin tüm parçalarını sorunsuz çalışır ve tüm donanımları iyi sıkılmış durumda tutun. Aşınmış veya hasar görmüş etiketleri yenileriyle değiştirin.
Bir emniyet donanımının işlevsel amacında hiçbir değişiklik yapmayın veya o donanımın sağladığı koruma seviyesini azaltmayın.
Regülatör ayarlarını değiştirerek motora aşırı devir yaptırmayın. Emniyet ve doğruluğu sağlamak için, Yetkili Servise, maksimum motor devrini bir takometreyle kontrol ettirin.
Büyük onarımlar gerekiyorsa veya yardıma ihtiyacınız varsa, yetkili bir Toro Distribütörüne danışın.
Bu makinede herhangi bir şekilde değişiklik yapılması makinenin çalışmasını, performansını veya dayanıklılığını etkileyebilir ya da yaralanma veya ölüme yol açabilir. Bu tür bir işlem, Toro® Company ürün garantisini de geçersiz hale getirecektir.
| Bakım Servisi Aralıkları | Bakım Prosedürü |
|---|---|
| İlk 5 saatten sonra |
|
| İlk 8 saatten sonra |
|
| İlk 50 saatten sonra |
|
| İlk 100 saatten sonra |
|
| Her kullanımdan önce veya günlük |
|
| Her 50 saatte |
|
| Her 100 saatte |
|
| Her 200 saatte |
|
| Her 300 saatte |
|
| Her 400 saatte |
|
| Her 800 saatte |
|
| Her 1000 saatte |
|
| Yıllık |
|
Note: www.Toro.com adresine gidip ana sayfadaki Kılavuzlar bağlantısına tıklayarak elektrik şemasının ücretsiz bir kopyasını indirebilirsiniz.
Important: Bakım prosedürlerini öğrenmek için motorun kullanma kılavuzuna bakın.
Makineye gerektiği gibi bakılmaması sistemlerinin erken arızalanmasına, bu da sizin veya etraftakilerin zarar görmesine yol açabilir.
Makineye her zaman bu talimatlarda belirtildiği gibi bakım yapın ve sorunsuz çalışır durumda olmasını sağlayın.
Sadece yetkili personel makinede bakım, onarım, ayar veya kontrol yapmalıdır.
Çalışma alanındaki yangın risklerini ortadan kaldırın ve yangınla mücadele donanımı bulundurun. Akışkan seviyelerini veya yakıt, akü elektroliti ya da soğutma suyu sızıntılarını kontrol etmek için açık alev kullanmayın.
Parçaları temizlemek için açık yakıt veya alev alır temizlik sıvısı kapları kullanmayın.
Anahtarı anahtar yuvasında bırakırsanız yetkisiz bir kişi motoru çalıştırabilir ve sizi ya da çevredekileri ağır yaralayabilir.
Herhangi bir bakım işi yapmadan önce motoru kapatın ve anahtarı çıkarın.
Rutin kullanım için bu sayfayı çoğaltın.
| Bakım Kontrol Öğesi | Bakım haftası: | ||||||
|---|---|---|---|---|---|---|---|
| Pazartesi | Salı | Çarşamba | Perşembe | Cuma | Cumartesi | Pazar | |
| Frenin ve park freninin çalışmasını kontrol edin. | |||||||
| Vites kolu/boş vites çalışmasını kontrol edin. | |||||||
| Akülerin su seviyesini kontrol edin. | |||||||
| Fren hidroliği seviyesini kontrol edin. | |||||||
| Olağan dışı çalışma sesleri olup olmadığını kontrol edin. | |||||||
| Lastik basıncını kontrol edin. | |||||||
| Sıvı sızıntıları olup olmadığını kontrol edin. | |||||||
| Göstergenin çalışmasını kontrol edin. | |||||||
| Gaz pedalının çalışmasını kontrol edin. | |||||||
| Boya hasarlarını düzeltin. | |||||||
| Makineyi yıkayın. | |||||||
Important: Makine aşağıdaki koşullara maruz kalıyorsa, bakımları iki kat daha sık yapın:
Çölde çalışma
Soğuk iklimlerde (10°C'nin altında) çalışma
Römork çekme
Tozlu koşullarda sık çalışma
İnşaat işleri
Çamurlu, kumlu, sulu veya kirli koşullarda uzun süre çalıştıktan sonra şunları yapın:
Frenlerinizi en kısa sürede kontrol ettirip temizletin. Bu, aşındırıcı maddelerin yüksek aşınmaya neden olmasını önler.
Makineyi sadece su veya hafif deterjanlı suyla yıkayın.
Important: Makineyi temizlemek için tuzlu veya geri kazanılmış su kullanmayın.
Makineyi düz bir zemine park edin.
Vitesi BOş konumuna getirin.
Park frenini etkinleştirin.
Motoru kapatın ve anahtarı çıkarın.
Yük kasasını boşaltın ve yükseltin.
Kriko kullanılması makine stabilitesini bozabilir. Makine aniden krikodan düşerek altındaki birini yaralayabilir.
Makine krikonun üzerindeyken makineyi çalıştırmayın.
Makineden inmeden önce anahtarı kontaktan mutlaka çıkarın.
Makine bir kaldırma ekipmanıyla destekleniyorken lastiklerin altına takoz yerleştirin.
Makineyi kaldırdıktan sonra desteklemek için kriko ayaklarını kullanın.
Important: Makineyi rutin bakım ve/veya arıza tespiti için çalıştırdığınızda, arka aks kriko kollarının üzerinde destekleniyorken makinenin arka tekerleklerinin yerden 25 mm yüksekte olduğunu teyit edin.
Makinenin ön tarafındaki kaldırma noktası, şasinin önünde, çekme dilinin arkasında bulunur (Şekil 23).

Makinenin arka tarafındaki kaldırma noktası, aks borularının altında bulunur (Şekil 24).

Kaputun her iki tarafındaki kauçuk kaput mandallarının kolunu yukarı kaldırın (Şekil 25).

Kaputu yukarı kaldırın.
Kaputu yavaşça indirin.
Kauçuk kilit mandallarını kaputun her iki yanında bulunan kilit ankrajlarının üzerine hizalayarak kaputu sabitleyin (Şekil 25).
Koltuk grubunu pimlerin üzerine doğru kaydırın ve koltuk grubunu indirin (Şekil 28).

| Bakım Servisi Aralıkları | Bakım Prosedürü |
|---|---|
| Her 300 saatte |
|
Gres özelliği: Mobilgrease XHP™-222
Makinenin ön kısmını yukarı kaldırın ve kriko ayaklarıyla destekleyin.
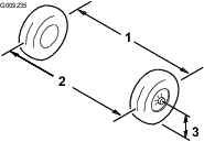
Tekerleği göbeğe sabitleyen 4 bijon somununu sökün (Şekil 29).

Fren grubu braketini mile sabitleyen flanş başlı cıvataları (⅜ x ¾ inç) sökün ve freni milden ayırın (Şekil 30).
Note: Bir sonraki adıma geçmeden önce fren grubunu destekleyin.

Toz kapağını göbekten sökün (Şekil 31).

Kopilyayı ve somun tutucuyu milden ve mil somunundan sökün (Şekil 31).
Mil somununu milden sökün ve göbek ve rotor grubunu milden ayırın (Şekil 31 ve Şekil 32).

Mili bir bezle silerek temizleyin.
1 ile 7 arası adımları, makinenin diğer tarafındaki göbek ve rotor için tekrarlayın.
Dış yatak ve yatak bileziğini göbekten çıkarın (Şekil 33).

Contayı ve iç yatağı, göbekten sökün (Şekil 33).
Contayı silerek temizleyin, aşınma ve hasar kontrolü yapın.
Note: Contayı temizlemek için temizlik solventi kullanmayın. Aşınmış veya hasarlıysa contayı yenisiyle değiştirin.
Yatakları ve bilezikleri temizleyin, aşınma ve hasara karşı kontrol edin.
Note: Aşınmış veya hasar görmüş tüm parçaları yenileriyle değiştirin. Yataklar ile bileziklerin temiz ve kuru olduğunu kontrol edin.
Göbeğin oluğundaki tüm gres, kir ve birikintileri giderin (Şekil 33).
Yatakları, belirtilen gresle doldurup kapatın.
Göbeğin oluğunu, belirtilen gresle %50 ila %80'e kadar doldurun (Şekil 33).
İç yatağı, göbeğin iç yatak tarafındaki bileziğin üzerine monte edin ve contayı takın (Şekil 33).
1 ile 8 arası adımları, diğer göbeğin yatakları için de tekrarlayın.
Mile, belirtilen gresten ince bir kat sürün (Şekil 34).

Göbek ve rotoru, rotor iç yatağıyla birlikte milin üzerine monte edin (Şekil 34).
Dış yatağı milin üzerine monte edin ve yatağı dış yatak bileziğinin üzerine yerleştirin (Şekil 34).
Tırnaklı rondelayı milin üzerine monte edin (Şekil 34).
Mil somununu milin üzerine sabitleyin ve yatağı yerine oturtmak için göbeği döndürürken mil somununu 15 N∙m torkla sıkın (Şekil 34).
Mil somununu, göbek serbestçe dönene kadar gevşetin.
Mil somununu 170 ila 225 N∙cm torkla sıkın.
Somun tutucuyu somunun üzerine takın ve tutucudaki yarık ile mildeki kopilya deliğinin hizalanmasını kontrol edin (Şekil 35).
Note: Tutucudaki yarık ile mildeki kopilya deliği aynı hizada değilse, yarık ile deliği hizalamak için mil somununu maksimum 226 N∙cm torkla sıkın.

Kopilyayı takın ve her bir ayağını tutucunun etrafında bükün (Şekil 35).
Toz kapağını göbeğin üzerine takın (Şekil 35).
1 ile 10 arası adımları, makinenin diğer tarafındaki göbek ve rotor için tekrarlayın.
2 flanş başlı cıvatayı (⅜ x ¾ inç) temizleyin ve cıvataların dişlerine bir kat orta kuvvetli diş kilitleme bileşeni sürün.
Rotorun her iki tarafındaki fren balatalarını (Şekil 30) ve kaliper braketindeki delikleri, mil şasisinin fren montaj yuvasındaki deliklerle hizalayın (Şekil 34).
2 flanş başlı cıvatayı (⅜ x ¾ inç) kullanarak kaliper braketini mil çerçevesine (Şekil 30) sabitleyin.
2 flanş başlı cıvatayı 47 ila 54 Nm torkla sıkın.
Tekerlekteki delikleri göbeğin saplamalarıyla hizalayın ve tekerleği, supap gövdesi dışa gelecek biçimde göbeğe monte edin (Şekil 29).
Note: Tekerleğin montaj yüzeyinin göbekle aynı hizada olmasını sağlayın.
Bijon somunlarını kullanarak tekerleği tekerlek göbeğine sabitleyin (Şekil 29).
Bijon somunlarını 108 ila 122 Nm torkla sıkın.
1 ile 5 arası adımları, makinenin diğer tarafındaki fren ve tekerlek için de tekrarlayın.
Karterdeki yağı kontrol etmeden veya kartere yağ eklemeden önce motoru kapatın, anahtarı çıkarın ve tüm hareketli parçaların durmasını bekleyin.
Ellerinizi, ayaklarınızı, yüzünüzü, giysilerinizi ve vücudunuzun diğer parçalarını egzoz susturucudan ve diğer sıcak yüzeylerden uzak tutun.
| Bakım Servisi Aralıkları | Bakım Prosedürü |
|---|---|
| Her 50 saatte |
|
Hava filtresi gövdesinde hava sızıntısına neden olabilecek bir hasar olup olmadığını kontrol edin. Hasarlı bir hava filtresi gövdesini yenisiyle değiştirin.
Hava filtresi kapağını temizleyin ve Şekil 36 şeklinde gösterildiği gibi toz kapağındaki birikintileri giderin.

| Bakım Servisi Aralıkları | Bakım Prosedürü |
|---|---|
| Her 50 saatte |
|
| Her 100 saatte |
|
Note: Aşırı tozlu veya kumlu çalışma koşulları söz konusuysa hava filtresi elemanına daha sık (her birkaç saatte bir) bakım yapın.
Hava filtresi elemanını hafifçe kaydırarak hava filtresi gövdesinden çıkarın (Şekil 37).
Note: Hava filtresini, gövdenin yan tarafına vurmaktan kaçının.
Important: Hava filtresi elemanını temizlemeye çalışmayın.
Filtre elemanın dış kısmına parlak bir ışık tutup inceleyerek yeni filtre elemanı hasara karşı kontrol edin.
Note: Filtre elemanındaki delikler parlak birer nokta olarak görünür. Filtre elemanını yırtılmaya, yağ tabakalarına ve kauçuk conta hasarına karşı kontrol edin. Filtre elemanı hasarlıysa kullanmayın.
Filtre elemanını dikkatle hava filtresi gövdesinin içine kaydırın.
Important: Filtre elemanının yumuşak iç kısmına bastırmayın.
Hava filtresi kapağını UP ile gösterilen taraf yukarı bakacak biçimde takın ve kilit mandallarını sabitleyin (Şekil 37).

Karter Kapasitesi: 1,0 lt
Yağ Tipi: API servis sınıfı SJ veya üzeri deterjanlı yağ
Viskozite: Aşağıdaki tabloya bakın.

| Bakım Servisi Aralıkları | Bakım Prosedürü |
|---|---|
| Her kullanımdan önce veya günlük |
|
Note: Makine, kartere yağ doldurulmuş olarak teslim edilir; bununla birlikte, motoru çalıştırmadan önce ve çalıştırdıktan sonra yağ kontrolü yapın.
Note: Motor yağı seviyesini kontrol etmek için ideal zaman, motorun soğuk olduğu veya o gün motorun henüz çalıştırılmadığı bir zamandır. Motoru çalıştırdıysanız, motor yağı seviyesini kontrol etmeden önce, yağın kartere geri akması için en az 10 dakika bekleyin. Yağ seviyesi düşükse, seviye Tam (Full) işaretine gelene kadar yağ ekleyin. Aşırı doldurmayın.
Motor yağı seviyesini Şekil 39 şeklinde gösterildiği gibi kontrol edin.

| Bakım Servisi Aralıkları | Bakım Prosedürü |
|---|---|
| İlk 5 saatten sonra |
|
| Her 50 saatte |
|
| Her 100 saatte |
|
Note: Çalışma koşulları çok tozlu veya kumluysa yağı daha sık değiştirin.
Note: Eski motor yağını ve yağ filtresini, sertifikalı bir geri dönüşüm merkezinde bertaraf edin.
Makineyi çalıştırın ve motorun birkaç dakika çalışmasını bekleyin.
Makineyi düz bir zemine park edin.
Park frenini etkinleştirin.
Motoru kapatın ve anahtarı çıkarın.
Yük kasasını yükseltin ve kasa tutma çubuğuyla sabitleyin; bkz. Yük Kasasının Servis Konumuna Yükseltilmesi.
Motor yağını, Şekil 40 şeklinde gösterildiği gibi değiştirin.

| Bakım Servisi Aralıkları | Bakım Prosedürü |
|---|---|
| Her 100 saatte |
|
Karbüratör Modeli Buji Tipi: Champion XC12YC
EFI Modeli Buji Tipi: Champion RC12LC4
Hava Boşluğu: 0,76 mm
Important: Çatlamış, tıkanmış, kirlenmiş veya arızalı bir bujiyi yenisiyle değiştirmelisiniz. Elektrotları kumlamayın, kazımayın veya tel fırçayla temizlemeyin, aksi takdirde bujiden çıkan birikintiler silindirin içine düşebilir. Bu da genellikle motora hasar verir.
Note: Buji genellikle uzun ömürlü olsa da, motor arızalandığı zaman buji de çıkarılıp kontrol edilmelidir.
Bujiyi çıkaracağınız zaman, silindirin içine yabancı madde düşmesini önlemek için bujinin etrafını temizleyin.
Buji bağlantı ucundaki buji telini çekerek çıkarın.
Bujiyi silindir kapağından çıkarın.
Yan elektrodun, orta elektrodun ve orta elektrot izolatörünün durumunu kontrol ederek herhangi bir hasar bulunmadığını teyit edin (Şekil 41).
Note: Hasarlı veya aşınmış bir bujiyi kullanmayın. Böyle bir bujiyi, belirtilen tipte yeni bir bujiyle değiştirin.

Elektrotların ortası ile yanı arasındaki hava boşluğunu, Şekil 41 şeklinde gösterildiği gibi 0,76 mm'ye ayarlayın.
Silindir kapağının içine bujiyi takın ve 27 N∙m torkla sıkın.
Buji telini takın.
Diğer buji için de 1 - 7 arası adımları tekrarlayın.
Yük kasasını kaldırın ve kasa tutma çubuğuyla sabitleyin.
Gaz kelebeği teli muhafazasında, düşük rölanti devrini artırmak için ön sıkma somununu gevşetin ve arka sıkma somununu sıkın (Şekil 42).

Yüksek rölanti devrini bir takometreyle test edin.
Vites kolunun BOş konumunda olduğunu kontrol edin.
Motoru çalıştırın.
Gaz pedalına sonuna kadar basın ve motor devrini bir takometreyle ölçün; motor devri 3.650 ila 3.750 dev/dak arasında olmalıdır. Değilse, motoru kapatın ve gaz teli sıkma somunlarını ayarlayın.
Important: Yüksek rölanti devrini azaltmayın. Bir takometreyle test ederek, yüksek rölanti devrinin 3.650 ila 3.750 dev/dak arasında olduğunu teyit edin.
Yük kasasını indirin ve sabitleyin.
| Bakım Servisi Aralıkları | Bakım Prosedürü |
|---|---|
| Her 400 saatte |
|
Yakıt hatlarını, bağlantı parçalarını ve kelepçelerini, sızdırma, aşınma, hasar veya gevşek bağlantı izlerine karşı kontrol edin.
Note: Makineyi kullanmadan önce, varsa hasarlı veya sızdıran yakıt sistemi bileşenlerini onarın.
| Bakım Servisi Aralıkları | Bakım Prosedürü |
|---|---|
| Her 400 saatte |
|
Makineyi düz bir zemine park edin.
Park frenini etkinleştirin.
Motoru kapatın ve anahtarı çıkarın.
Kasayı yükseltin ve kasa tutma çubuğuyla sabitleyin.
Akü bağlantısını ayırın; bkz. Akü Bağlantısının Ayrılması.
Yakıt filtresinin altına temiz bir kap yerleştirin ve yakıt filtresini Şekil 43 şeklinde gösterildiği gibi yenisiyle değiştirin.

Aküyü bağlayın ve yük kasasını indirin; bkz. Akünün Bağlanması.
| Bakım Servisi Aralıkları | Bakım Prosedürü |
|---|---|
| İlk 50 saatten sonra |
|
| Her 200 saatte |
|
Karbon kanisteri hava filtresinin tabanındaki açıklığı kontrol ederek temiz olduğunu ve herhangi bir birikinti veya tıkanma olmadığını teyit edin (Şekil 44).
Karbon kanisteri hava filtresini basınçlı temiz havayla temizleyin.

Makineyi onarmadan önce akü bağlantısını ayırın. İlk önce eksi, ardından da artı ucunu ayırın. İlk önce artı, ardından da eksi ucunu bağlayın.
Aküyü, kıvılcım ve alevlerden uzak, iyi havalandırılan, açık bir ortamda şarj edin. Aküyü bağlamadan veya bağlantısını ayırmadan önce şarj cihazının fişini çekin. Koruyucu kıyafet giyin ve yalıtımlı aletler kullanın.
Akü Voltajı: -18°C (0°F) derecede, 300 A ile 12 V (soğukta çalıştırma) .
Aküyü her zaman temiz ve tam dolu tutun.
Akü uçları aşınmışsa, bunları 4 birim su ve 1 birim sodyum bikarbonat içeren bir çözeltiyle temizleyin.
Korozyonu önlemek için, akü uçlarına ince bir kat gres sürün.
Akü kablolarının yanlış bağlanması, makinenin ve kabloların kıvılcım çıkarmasına sebep olabilir. Kıvılcımlar akü gazlarının patlamasına, bu da yaralanmaya yol açabilir.
Her zaman, artı (kırmızı) akü kablosunun bağlantısını ayırmadan önce eksi (siyah) akü kablosunun bağlantısını ayırın.
Her zaman, eksi (siyah) akü kablosunu tekrar bağlamadan önce artı (kırmızı) akü kablosunu tekrar bağlayın.
Aküyü korumak ve sabitlemek için akü kayışını hiçbir zaman yerinden çıkarmayın.
Akü bağlantı uçları veya metal aletler makinenin metal bileşenleriyle temas edip kısa devre oluşmasına, bu da kıvılcımlar çıkmasına yol açabilir. Kıvılcımlar akü gazlarının patlamasına, bu da yaralanmaya yol açabilir.
Aküyü takarken veya yerinden çıkarırken akü bağlantı uçlarının makinenin hiçbir metal parçasına temas etmemesini sağlayın.
Metal aletlerin, akü bağlantı uçları ile makinenin metal parçaları arasında kısa devreye yol açmasına izin vermeyin.
Akü bağlantısını, Şekil 45 şeklinde gösterildiği gibi ayırın.

Akü kablolarının bağlantısını ayırın; bkz. Akü Bağlantısının Ayrılması.
Aküyü, Şekil 46 şeklinde gösterildiği gibi yerinden çıkarın.

Aküyü, Şekil 47 şeklinde gösterildiği gibi takın.

Akü kablolarını bağlayın; bkz. Akünün Bağlanması.
Aküyü, Şekil 48 şeklinde gösterildiği gibi bağlayın.

Akünün şarj edilmesi, patlayabilecek gazlar üretir.
Akünün yanında asla sigara içmeyin ve kıvılcımlar ile alevleri aküden uzak tutun.
Important: Aküyü her zaman tam dolu tutun. Bu, özellikle 0°C'nin altındaki sıcaklıklarda akü hasarını önlemek için önemlidir.
Aküyü makineden sökün; bkz. Akünün Yerinden Çıkarılması.
Akü kutup başlarına 3 ila 4 A bir akü şarj cihazı bağlayın. Aküyü, 4 ila 8 saat boyunca 3 ila 4 A (12 V) miktarla şarj edin.
Note: Aküyü aşırı şarj etmeyin.
Aküyü takın; bkz. Akünün Takılması.
Makineyi 30 günden uzun bir süre boyunca depoya kaldıracaksanız aküyü çıkarın ve tam şarj edin. Aküyü, rafta veya makinenin üzerinde depolayın. Makinenin üzerinde depolayacaksanız kablolarını takmayın. Akü şarjının hızla bitmesini önlemek için aküyü serin bir yerde muhafaza edin. Akünün donmasını önlemek için tam şarjlı olduğundan emin olun.
Elektrik sisteminde 4 sigorta vardır, diğer yarıklar opsiyonel donanımlar için açıktır. Bunlar, koltuk grubunun altında bulunurlar (Şekil 49).
| Korna | 30 A |
| Ana güç | 15 A |
| Farlar | 10 A |
| USB güç noktası/opsiyonel donanımlar | 10 A |
| Opsiyonel kaldırma seti—Açık | 15 A |

Elektrik sisteminde 5 sigorta vardır, diğer yarıklar opsiyonel donanımlar için açıktır. Bunlar, koltuk grubunun altında bulunurlar (Şekil 50).
| Korna | 30 A |
| Ana güç | 15 A |
| Farlar | 10 A |
| USB güç noktası/opsiyonel donanımlar | 10 A |
| Yakıt | 10 A |
| Opsiyonel kaldırma seti—Açık | 15 A |

Teknik Özellikler için bkz. Parça Kataloğu.
Akü bağlantısını ayırın; bkz. Akü Bağlantısının Ayrılması.
Kaputu açın.
Kablo demeti elektrik konnektörünü lamba grubu konnektöründen ayırın (Şekil 51).

Farı far braketine sabitleyen hız klipslerini yerlerinden çıkarın (Şekil 51).
Note: Yeni farı takmak için tüm parçaları saklayın.
Far grubunu, ön tampondaki açıklıktan ileri doğru kaydırarak yerinden çıkarın (Şekil 51).
Yeni farı, tampondaki açıklıktan geçirerek takın (Şekil 51).
Note: Ayar çubuklarının, tamponun arkasındaki montaj braketindeki deliklerle aynı hizada olmasını sağlayın.
Far grubunu, 4 no'lu adımda çıkardığınız hız klipsleriyle sabitleyin.
Kablo demeti elektrik konnektörünü lamba grubu konnektörüne bağlayın (Şekil 51).
Farları, ışık huzmesi istediğiniz yöne bakacak biçimde ayarlayın; bkz. Farların Ayarlanması.
Bir far grubu çıkarılınca veya yenisiyle değiştirilince far huzmesi konumunu ayarlamak için aşağıdaki prosedürü uygulayın.
Makineyi, farlar bir duvardan yaklaşık 7,6 m uzağa gelecek biçimde düz bir zemine park edin (Şekil 52).
Yerden farın ortasına kadar olan mesafeyi ölçün ve duvara aynı yükseklikte bir işaret çizin.
Anahtarı AçıK konumuna getirip farları çalıştırın.
Farların duvarda yansıdığı noktayı not edin.
Far huzmesinin en parlak kısmı, duvardaki işaretin 20 cm altında olmalıdır (Şekil 52).

Far grubunun arka kısmında, ayar vidalarını (Şekil 51) döndürerek far grubunu yönlendirin ve dökme kirişin konumunu hizalayın.
Aküyü bağlayın ve kaputu kapatın; bkz. Akünün Bağlanması.
| Bakım Servisi Aralıkları | Bakım Prosedürü |
|---|---|
| Her 100 saatte |
|
Lastik ve jantları, aşınma ve hasar izlerine karşı kontrol edin.
Note: Kaldırım kenarlarına çarpmak gibi çalışma kazaları lastiğe veya janta hasar verebileceği gibi tekerlek hizalamasını da bozabilir; bu nedenle, bir kazadan sonra lastiğin durumunu kontrol edin.
Bijon somunlarını 108 ila 122 N∙m torkla sıkın.
| Bakım Servisi Aralıkları | Bakım Prosedürü |
|---|---|
| Her 100 saatte |
|
Direksiyon orta konumdayken (Şekil 53) direksiyonu sağa veya sola döndürün. Direksiyonu sağa veya sola doğru 13 mm'den fazla döndürmenize rağmen lastikler dönmüyorsa, aşağıdaki direksiyon ve süspansiyon bileşenlerinin gevşemiş veya hasarlı olmadığını kontrol edin:
Direksiyon mili - direksiyon kremayer grubu bağlantısı
Important: Pinyon mili contasının durumunu ve sağlamlığını kontrol edin (Şekil 54).
Kremayer grubu bağlantı çubukları


| Bakım Servisi Aralıkları | Bakım Prosedürü |
|---|---|
| Her 100 saatte |
|
Lastik hava basıncını kontrol ederek ön lastiklerin 82 kPa (12 psi) değeriyle şişirildiğini teyit edin.
Koltuğa makineyi çalıştıracak ortalama bir operatörün ağırlığına eşit bir ağırlık yerleştirin veya bir operatörden koltuğa oturmasını isteyin. Ayar işlemi boyunca ağırlık veya operatör koltukta kalmalıdır.
Düz bir zeminde, makineyi düz bir şekilde geriye doğru 2 ila 3 m ilerletin, ardından da ileri doğru tekrar orijinal konumuna ilerletin. Bu, süspansiyonu çalışma konumuna oturmasını sağlayacaktır.
Makine sahibinin temin edeceği aletler: Somun anahtarı, Toro Parça Numarası: 132-5069; Yetkili Toro Distribütörüne danışın.
Important: Kamber ayarlarını, sadece bir ön ek parça kullanıyorsanız veya eşit olmayan bir lastik aşınması varsa yapın.
Kamber hizalamasını her bir tekerlekte kontrol edin; hizalama, sıfıra olabildiğince yakın olmalıdır.
Note: Eşit olmayan aşınmanın azaltılması için, lastiklerin yere temas eden sırtları eşit hizada olmalıdır.
Tekerlek kamberi hiza dışıysa, tekerleği hizalamak için amortisörün üzerindeki ayar halkasını somun anahtarıyla döndürün (Şekil 55).

Important: Toe açısını ayarlamadan önce, kamber ayarının sıfıra olabildiğince yakın olduğundan emin olun; bkz. Kamber Ayarı.
Ön lastiklerin hem önünde hem de arkasında aks yüksekliğinde ön lastiklerin her ikisi arasındaki mesafeyi ölçün (Şekil 56).

Ölçüm 0 ila 6 mm arasında değilse, bağlantı çubuklarının dış ucundaki sıkma somunlarını gevşetin (Şekil 57).

Lastiğin ön kısmını içeri veya dışarı hareket ettirmek için her iki bağlantı çubuğunu döndürün.
Ayar doğru olunca, bağlantı çubuğu sıkma somunlarını sıkın.
Direksiyonun her iki yönde de sonuna kadar dönebildiğini teyit edin.
| Bakım Servisi Aralıkları | Bakım Prosedürü |
|---|---|
| Her 100 saatte |
|
Yağ Tipi: SAE 80W-90 (API MT-1) veya SAE 80W-90 (API GL-5)
Makineyi düz bir zemine park edin.
Park frenini etkinleştirin.
Motoru kapatın ve anahtarı çıkarın.
Transakstaki dolum tapasını çıkarın (Şekil 58).
Note: Yağ seviyesi, dolum tapasının dibiyle aynı hizada olmalıdır.

Yağ seviyesi düşükse dolum tapasını çıkarın ve delikten yağ taşana kadar belirtilen tipte yağ ekleyin (Şekil 58).
Dolum tapasını tekrar takın ve 20 ila 27 N∙m torkla sıkın.
| Bakım Servisi Aralıkları | Bakım Prosedürü |
|---|---|
| Her 800 saatte |
|
Yağ Tipi: SAE 80W-90 (API MT-1) veya SAE 80W-90 (API GL-5)
Yağ Kapasitesi: 1,6 lt
Boşaltma tapasının altına bir boşaltma kabı yerleştirin (Şekil 58).
Dolum tapasını ve contayı çıkarın (Şekil 58).
Note: Dolum tapasını ve contayı, 6 adımında tekrar takmak üzere saklayın.
Boşaltma tapası ile contayı çıkarın ve içerideki yağın tamamen boşalmasını bekleyin (Şekil 58).
Note: Boşaltma tapasını ve contayı, 4 adımında tekrar takmak üzere saklayın.
Boşaltma tapasını ve contayı tekrar takın ve 20 ila 27 N∙m torkla sıkın.
Transaksa, dolum deliğinden yağ taşana kadar belirtilen tipte yağ doldurun.
Dolum tapasını ve contayı tekrar takın ve 20 ila 27 N∙m torkla sıkın.
| Bakım Servisi Aralıkları | Bakım Prosedürü |
|---|---|
| Her kullanımdan önce veya günlük |
|
| Her 100 saatte |
|
Rutin bakım ve/veya motor arıza tespiti yaparken transaksı BOş vites konumuna alın. Makine, transakstaki boş vites konumunu kontrol eden vites seçicideki bir BOş vites konumuna sahiptir. Boş vites kolunun transaksın boş vites konumunu doğru işletmesini sağlamak için şu adımları uygulayın:
Vites seçiciyi BOş vites konumuna getirin.
Yardımcı kavramayı (Şekil 65) döndürerek, BOş vites konumunda serbestçe dönebildiğini teyit edin.
Vites seçiciyi İLERI vites konumuna getirin.
Yardımcı kavramayı (Şekil 65) döndürerek, arka tekerlekleri döndürdüğünü teyit edin.
Vites seçiciyi GERI vites konumuna getirin.
Yardımcı kavramayı (Şekil 65) döndürerek, arka tekerlekleri döndürdüğünü teyit edin.
Bu testlerden biri başarısız olursa Boş Vites Konumunun Ayarlanması adımına geçin.
Vites kablosundaki sıkma somunlarını gevşetin ve gerektiği gibi ayarlayın (Şekil 59).

Vites seçiciyi 3 farklı konuma döndürerek vites konumunu test edin ve vites değişince vites kolunun (Şekil 59) düzgün hareket edip etmediğine bakın; bkz. Vites Kolu ve Vites Göstergesi.
Boş Vites Konumunun Kontrol Edilmesi kısmındaki adımları tekrarlayarak tüm konumların sorunsuz çalıştığını teyit edin.
| Bakım Servisi Aralıkları | Bakım Prosedürü |
|---|---|
| Her 400 saatte |
|
Kavramadaki toz havayla taşınır ve gözlerinize zarar verebilir ya da solursanız soluma güçlüklerine yol açabilir.
Bu işlemi yaparken emniyet gözlüğü veya toz maskesi ya da başka bir uygun solunum koruma donanımı takın.
Yük kasasını yükseltin ve kilitle sabitleyin.
Kapağı kavramaya sabitleyen 3 cıvatayı sökün ve kapağı yerinden çıkarın (Şekil 60).
Note: Kapağı ve cıvataları, daha sonra tekrar takmak üzere saklayın.

Kapağın içini ve kavramanın iç bileşenlerini, basınçlı hava kullanarak iyice temizleyin.
Kavrama kapağını takın ve 2 no'lu adımda söktüğünüz 3 cıvatayla (Şekil 60) sabitleyin.
Yük kasasını indirin.
Kavramadaki toz havayla taşınır ve gözlerinize zarar verebilir ya da solursanız soluma güçlüklerine yol açabilir.
Bu işlemi yaparken emniyet gözlüğü veya toz maskesi ya da başka bir uygun solunum koruma donanımı takın.
Yük kasasını yükseltin ve kilitle sabitleyin; bkz. Yük Kasasının Servis Konumuna Yükseltilmesi.
Ana kavrama kapağını sabitleyen cıvataları Şekil 61 şeklinde gösterildiği gibi sökün.
Important: Kavrama kapağını yerinden çıkarırken dikkatli olun, yay basınç altındadır.
Important: Kavrama kapaklarındaki ve kavrama gruplarındaki X yönünü, sonraki montaj işlemi için not edin.

Yayı yerinden çıkarın.
Azami hızı ayarlamak için ara parçalar ekleyin veya çıkarın. Gereken ara parça sayısını belirlemek için aşağıdaki tabloyu kullanın.
| Ara parçalar | Azami Hız |
| 2 (standart) | 16 mil/s (standart) |
| 3 | 12 mil/s |
| 4 | 9 mil/s |
| 5 | 6 mil/s |
| 6 | 4 mil/s |
Important: Makineyi, en az 2 kavrama ara parçası yerinde değilken çalıştırmayın.
Yayı ve kavrama kapağını takın.
Important: X ifadesinin tekrar orijinal konumuna geldiğinden emin olun.
Cıvataları 179 ila 228 N∙m torkla sıkın.
Motor soğutma suyunun yutulması zehirlenmeye yol açabilir, çocuklardan ve evcil hayvanlardan uzak tutun.
Sıcak ve basınçlı soğutma suyu boşalması veya sıcak radyatöre ve çevredeki parçalara dokunulması ağır yanıklara yol açabilir.
Radyatör kapağını çıkarmadan önce motorun en az 15 dakika soğumasını bekleyin.
Radyatör kapağını açarken bir bez kullanın ve kapağı buhar boşalacak biçimde yavaşça açın.
Makineyi, kapaklar takılı değilken çalıştırmayın.
Parmaklarınızı, ellerinizi ve giysilerinizi, dönen fan ve tahrik kayışından uzak tutun.
Bakım işlerinden önce motoru kapatın ve anahtarı çıkarın.
| Bakım Servisi Aralıkları | Bakım Prosedürü |
|---|---|
| Her 100 saatte |
|
Important: Motorun tıkanmış bir döner filtreyle, kirli veya tıkanmış soğutma kanatlarıyla veya soğutma ızgaraları çıkarılmış olarak çalıştırılması aşırı ısınma nedeniyle motorun hasar görmesine yol açabilir.
Important: Motoru asla basınçlı yıkayıcılarla temizlemeyin, aksi takdirde su yakıt sistemini kirletebilir.
Motorun girişini, soğutma kanatlarını ve dış yüzeylerini temizleyin.
Note: Olağanüstü kirli ve tozlu koşullar söz konusuysa motor soğutma bileşenlerini daha sık temizleyin.
Park frenini etkinleştirmek için, park freni kolunu bir gergi hissedene kadar kendinize doğru çekin.
Park frenini gösterge kısmındaki "P" harfinden itibaren 11,4 ila 16,5 cm kendinize doğru çektiğinizde bir gergi hissetmiyorsanız, park frenini ayarlamanız gerekiyor demektir; bkz. Park Freninin Ayarlanması.
Park freninin devre dışı bırakıldığını kontrol edin.
Kriko ayaklarını kullanarak makinenin arkasını yukarı kaldırın; bkz. Makinenin Kaldırılması.
2 somun anahtarı kullanarak, 1 somun anahtarıyla kaliperdeki ayar çubuğunu tutun, diğer somun anahtarıyla da sıkma somununu ¼ tur gevşetin (Şekil 62).

Ayar çubuğunu ve sıkma somununu yerinde tutarak, ayar çubuğunu döndürüp sıkın (Şekil 62).
Note: Tekerlekte bir sürtünme hissedene kadar bu adımı gerçekleştirin.
Ayar çubuğunu ve sıkma somununu yerinde tutarak, ¼ tur gevşetin (Şekil 62).
Ayar çubuğunu ve sıkma somununu yerinde tutarak, sıkma somununu sıkın (Şekil 62).
1 - 6 arası adımları diğer tarafta da tekrarlayın.
Park freninin doğru gergiye ayarlandığını teyit edin; bkz. Park Freninin Kontrol Edilmesi.
Note: Park frenini doğru gergiye ayarlayamazsanız fren balataları aşınabilir ve değiştirilmesi gerekebilir. Destek için yetkili Toro distribütörünüze başvurun.
| Bakım Servisi Aralıkları | Bakım Prosedürü |
|---|---|
| Her kullanımdan önce veya günlük |
|
Fren Hidroliği Tipi: DOT 3
Makineyi düz bir zemine park edin.
Park frenini etkinleştirin.
Motoru kapatın ve anahtarı çıkarın.
Kaputu kaldırarak ana fren silindirine ve fren hidroliği deposuna ulaşın (Şekil 63).

Depo tarafından bakarak hidrolik seviyesini kontrol edin (Şekil 64).
Note: Seviye, Minimum çizgisinin üzerinde olmalıdır.

Hidrolik seviyesi düşükse şunları yapın:
Makinenin kaputunu kapatın.
| Bakım Servisi Aralıkları | Bakım Prosedürü |
|---|---|
| Her 100 saatte |
|
Important: Frenler makinenin kritik bir parçasıdır. Optimum performans ve emniyet sergileyebilmeleri için frenleri önerilen bakım aralıklarıyla detaylı bir şekilde kontrol edin.
Fren balatasını aşınma veya hasara karşı kontrol edin. Fren balatası kalınlığı 1,6 mm'den azsa fren balatasını yenisiyle değiştirin.
Fren balatasını ve diğer fren bileşenlerini aşırı aşınma veya deformasyona karşı kontrol edin. Deforme olmuş bileşenleri yenileriyle değiştirin.
Fren hidroliği seviyesini kontrol edin; bkz. Fren Hidroliği Seviyesinin Kontrol Edilmesi.
| Bakım Servisi Aralıkları | Bakım Prosedürü |
|---|---|
| Her 400 saatte |
|
Servis ve park freni balatalarını kontrol ettirmek ve gerekiyorsa yenileriyle değiştirtmek için yetkili Toro distribütörünüze danışın.
| Bakım Servisi Aralıkları | Bakım Prosedürü |
|---|---|
| Her 1000 saatte |
|
Yetkili Toro distribütörünüze danışın.
| Bakım Servisi Aralıkları | Bakım Prosedürü |
|---|---|
| İlk 8 saatten sonra |
|
| Her 200 saatte |
|
Makineyi düz bir zemine park edin.
Park frenini etkinleştirin.
Motoru kapatın ve anahtarı çıkarın.
Yük kasasını yükseltin ve kasa tutma çubuğuyla sabitleyin; bkz. Yük Kasasının Yükseltilmesi(Boşaltma Konumuna Yükseltme).
Vitesi BOş vites konumuna alın.
Kayışı (Şekil 65) döndürün ve aşırı aşınma veya hasara karşı kontrol edin.
Note: Aşırı aşınmış veya hasar görmüşse kayışı yenisiyle değiştirin; bkz. Tahrik Kayışının Değiştirilmesi.

Yük kasasını indirin.
Yük kasasını yükseltin; bkz. Yük Kasasının Yükseltilmesi(Boşaltma Konumuna Yükseltme).
Vitesi BOş vites konumuna alın, park frenini etkinleştirin, anahtarı KAPALı konumuna getirin ve yerinden çıkarın.
Kayışı döndürün ve yardımcı kavramanın üzerine yönlendirin (Şekil 65).
Ana kavramanın kayışını yerinden çıkarın (Şekil 65).
Note: Eski kayışı atın.
Yeni kayışı ana kavramanın üzerine hizalayın (Şekil 65).
Kayışı döndürün ve yardımcı kavramanın üzerine yönlendirin (Şekil 65).
Yük kasasını indirin.
| Bakım Servisi Aralıkları | Bakım Prosedürü |
|---|---|
| İlk 8 saatten sonra |
|
| Her 200 saatte |
|
Yük kasasını yükseltin; bkz. Yük Kasasının Yükseltilmesi(Boşaltma Konumuna Yükseltme).
Marş motoru jeneratörünün kılavuz somununu gevşetin (Şekil 65).
Motor takozu ile marş motoru arasına bir levye yerleştirin.
Levyeye baskı uygulayarak, kayış gergisi 44 N∙m kuvvetle sadece 6 mm bükülmeye izin verene kadar marş motorunu oluğun içinde döndürün (Şekil 65).
Kılavuz somunu elinizle sıkın ve levyeyi yerinden alın (Şekil 65).
Kılavuz somunu 88 ila 115 N∙m torkla sıkın.
Yük kasasını indirin.
Yük kasası kilit mandalı hatalı ayarlanırsa, makineyi sürmeniz sırasında yük kasası yukarı-aşağı titrer. Kilit mandalı çubuklarını, kilit mandalları yük kasasını şasiye sabitlenmiş halde tutacak biçimde ayarlayabilirsiniz.
Yük kasasının kilitlendiğinden emin olun.
Note: Yük kasası kilitlenmemişse, kasa kilit mandalı çatalı muhtemelen çok aşağıdadır. Yük kasası kilitlenmişse fakat siz makineyi sürerken yukarı-aşağı titriyorsa, kasa kilit mandalı çatalı muhtemelen çok yüksektedir.
Yük kasasını yükseltin; Yük Kasasının Yükseltilmesi(Boşaltma Konumuna Yükseltme).
Kasa kilit mandalı çatalındaki 2 cıvatayı gevşetin ve çatalın çok yüksekte veya alçakta olma durumuna göre çatalı aşağı veya yukarı hareket ettirin (Şekil 66).

Kasa kilit mandalı çatalındaki 2 cıvatayı sıkın (Şekil 66).
Yük kasasını birkaç kez kilitleyerek ayarın doğru olduğunu teyit edin.
| Bakım Servisi Aralıkları | Bakım Prosedürü |
|---|---|
| Her kullanımdan önce veya günlük |
|
Gerektiğinde, makineyi sadece su veya hafif deterjanlı suyla yıkayın. Makineyi yıkarken bez kullanabilirsiniz.
Important: Makineyi temizlemek için tuzlu veya geri kazanılmış su kullanmayın.
Important: Makineyi yıkamak için elektrikli yıkama ekipmanı kullanmayın. Elektrikli yıkama ekipmanı makinenin elektrik sistemine zarar verebilir, önemli etiketleri sökebilir veya sürtünme noktalarındaki gerekli gresi koparabilir. Kontrol panelinin, motorun ve akünün yakınında aşırı su kullanmayın.
Important: Motor çalışıyorken makineyi yıkamayın. Motor çalışıyorken makineyi yıkamak iç motor hasarına yol açabilir.
Operatör konumundan ayrılmadan önce, makinenin motorunu kapatın, anahtarı çıkarın ve tüm hareketin durmasını bekleyin. Makineyi ayarlamadan, bakım yapmadan, temizlemeden veya depoya kaldırmadan önce soğumasını bekleyin.
Makineyi veya yakıt kabını asla bir su ısıtıcısı veya diğer cihazlarda bulunan tipte açık alev, kıvılcım veya tutuşturma alevlerinin bulunduğu yerlerde depolamayın.
Makineyi düz bir zemine park edin.
Park frenini etkinleştirin.
Motoru kapatın ve anahtarı çıkarın.
Silindir kapağı kanatlarının ve fan muhafazasının dış kısmındakiler dahil tüm makinedeki kir ve yabancı maddeleri giderin.
Important: Makineyi, yumuşak bir deterjan ve suyla yıkayabilirsiniz. Makineyi yıkamak için elektrikli yıkama ekipmanı kullanmayın. Makinenin basınçla yıkanması elektrik sistemine hasar verebilir veya sürtünme noktalarındaki gerekli gresi koparabilir. Kontrol panelinin, ışıkların, motorun ve akünün yakınında aşırı su kullanmayın.
Frenleri kontrol edin; bkz. Frenlerin Kontrol Edilmesi.
Hava temizleyicisine bakım yapın; bkz. Hava Filtresi Bakımı.
Motor yağını değiştirin; bkz. Motor Yağı Servisi.
Lastik hava basıncını kontrol edin; bkz. Lastik Hava Basıncının Kontrol Edilmesi.
30 günden uzun depolama için yakıt sistemini şu şekilde hazırlayın:
Depodaki temiz yakıta yakıt stabilizatörü/koşullandırıcı ekleyin. Alkol bazlı yakıt stabilizatörü (etanol veya metanol) kullanmayın.
Important: Stabilizatör/koşullandırıcı içeren yakıtı, yakıt stabilizatörü üreticisinin tavsiye ettiğinden daha uzun bir süre boyunca depolamayın.
Koşullandırılan yakıtı tüm yakıt sistemine dağıtmak için motoru 5 dakika çalıştırın.
Motoru kapatın, soğumasını bekleyin ve yakıt deposunu boşaltın.
Note: Yakıtı düzgün bir şekilde bertaraf edin. Yerel yönetmeliklere göre geri dönüştürün.
Motoru tekrar çalıştırın ve durana kadar çalışmaya bırakın.
Motoru boğun.
Motoru çalıştırın ve tekrar çalışmayana kadar çalışmaya bırakın.
Bujiyi çıkarın ve durumunu kontrol edin; bkz. Bujiye Bakım Yapılması.
Bujiler motordan çıkarılmış haldeyken, buji deliğine 15 ml (2 yemek kaşığı) motor yağı dökün.
Motora marş vermek için elektrikli marş motorunu kullanın ve yağı silindirin içinde dağıtın.
Bujileri tekrar takın ve tavsiye edilen torkla sıkın; bkz. Bujiye Bakım Yapılması.
Note: Teli bujilere takmayın.
Aküyü şasiden çıkarın ve sonuna kadar şarj edin; bkz. Akünün Yerinden Çıkarılması.
Note: Depolama süresince akü kabloları akü uçlarına bağlanmamalıdır.
Important: 0°C'den düşük sıcaklıklarda donmasını ve hasar görmesini önlemek için akü tam şarjlı durumda olmalıdır. Tam şarjlı bir akü, 4°C'den düşük sıcaklıklarda şarj seviyesini yaklaşık 50 gün boyunca korur.
Tüm sabitleme elemanlarını kontrol edin ve sıkın. Hasarlı parçaları onarın veya yenisiyle değiştirin.
Çizilmiş veya çıplak metal yüzeyleri, yetkili Toro distribütöründen satın alabileceğiniz boyayla boyayın.
Makineyi temiz ve kuru bir garajda veya depoda saklayın.
Anahtarı kontak yuvasından çıkarın ve çocukların ulaşamayacağı güvenli bir yerde muhafaza edin.
Makineyi korumak ve temiz tutmak için üzerini örtün.