Mantenimiento
Note: Los lados derecho e izquierdo de la máquina se determinan desde la posición normal del operador.
Important: Si es necesario inclinar la máquina más de 25°, bloquee la manguera de ventilación con una pinza en la parte superior del/de los depósito(s) de combustible para evitar que el combustible contamine el cartucho de carbono.
Seguridad durante el mantenimiento
Cuidado
Si deja la llave en el interruptor, alguien podría arrancar el motor accidentalmente y causar lesiones graves a usted o a otras personas.
Retire la llave del interruptor antes de realizar cualquier operación de mantenimiento.
-
Aparque la máquina en una superficie nivelada, desengrane el sistema hidráulico auxiliar, baje el accesorio, ponga el freno de estacionamiento (si está instalado), apague el motor y retire la llave. Espere a que se detengan todas las piezas en movimiento y deje que se enfríe la máquina antes de hacer trabajos de ajuste, limpieza, almacenamiento o reparación.
-
Limpie cualquier aceite o combustible derramado.
-
No permita que la máquina sea revisada o reparada por personas que no hayan recibido una formación adecuada.
-
Utilice soportes fijos para apoyar los componentes cuando sea necesario.
-
Alivie con cuidado la tensión de aquellos componentes que tengan energía almacenada; consulte Cómo aliviar la presión hidráulica.
-
Desconecte la batería antes de efectuar cualquier reparación; consulte Mantenimiento de la batería.
-
Mantenga las manos y los pies alejados de las piezas en movimiento. Si es posible, no haga ajustes mientras el motor está funcionando.
-
Mantenga todas las piezas en buenas condiciones de funcionamiento, y todos los herrajes bien apretados. Sustituya cualquier pegatina desgastada o deteriorada.
-
No manipule los dispositivos de seguridad.
-
Utilice solamente accesorios homologados por Toro. Los aperos y accesorios pueden cambiar la estabilidad y las características operativas de la máquina. La garantía puede quedar anulada si se utiliza la máquina con accesorios no autorizados.
-
Utilice solamente piezas de repuesto genuinas de Toro.
-
Si alguna operación de mantenimiento o reparación requiere que los brazos de carga estén en posición elevada, bloquee los brazos en la posición elevada usando el/los bloqueo(s) del/de los cilindro(s) hidráulico(s).
Calendario recomendado de mantenimiento
| Intervalo de mantenimiento y servicio | Procedimiento de mantenimiento |
|---|---|
| Después de las primeras 8 horas |
|
| Después de las primeras 50 horas |
|
| Cada vez que se utilice o diariamente |
|
| Cada 25 horas |
|
| Cada 100 horas |
|
| Cada 200 horas |
|
| Cada 250 horas |
|
| Cada 400 horas |
|
| Cada 500 horas |
|
| Cada 1500 horas |
|
| Cada año o antes del almacenamiento |
|
Important: Consulte los procedimientos adicionales de mantenimiento del manual del propietario del motor.
Note: Después de 50 horas de operación, y luego cada 100 horas (150, 250, 350 etc. horas), el horímetro muestra CHG OIL (Cambiar Aceite) para recordarle que debe cambiar el aceite del motor. Después de cada 100 horas, la pantalla muestra SVC para recordarle que debe realizar los otros procedimientos de mantenimiento programados para cada 100, 200 o 400 horas. Estos recordatorios comienzan a aparecer 3 horas antes del intervalo de mantenimiento, y parpadean en intervalos regulares durante 6 horas.
Procedimientos previos al mantenimiento
Uso del bloqueo del cilindro
Advertencia
Los brazos de carga pueden bajarse accidentalmente cuando están en posición elevada, aplastando a cualquier persona que se encuentre debajo de ellos.
Instale los bloqueos de los cilindros antes de realizar cualquier operación de mantenimiento que requiera que los brazos de carga estén elevados.
Instalación del bloqueo del cilindro
-
Retire el accesorio.
-
Lleve los brazos de carga a su posición de elevación máxima.
-
Pare el motor y retire la llave.
-
Retire el pasador de seguridad que fija el bloqueo del cilindro al brazo de carga (Figura 26).

-
Baje el bloqueo del cilindro sobre la barra del cilindro y fíjelo con el pasador de seguridad(Figura 26).
-
Baje lentamente los brazos de carga hasta que el bloqueo del cilindro toque el extremo del cuerpo del cilindro y la rótula.
Retirada y almacenamiento del bloqueo del cilindro
Important: Retire el bloqueo del cilindro de la varilla y guárdelo correctamente en su posición de almacenamiento antes de operar la máquina.
-
Arranque el motor.
-
Lleve los brazos de carga a su posición de elevación máxima.
-
Pare el motor y retire la llave.
-
Retire el pasador de seguridad que fija el bloqueo del cilindro.
-
Suba el bloqueo del cilindro al brazo de carga, girándolo, y fíjelo con el pasador de seguridad.
-
Baje los brazos de carga.
Acceso a los componentes internos
Advertencia
Si abre o retira una cubierta, un capó, o una rejilla con el motor en marcha, podría tocar alguna pieza en movimiento y sufrir graves lesiones.
Antes de abrir una cubierta, un capó o una rejilla, apague el motor, retire la llave del interruptor de encendido y deje que el motor se enfríe.
Cómo abrir el capó
Cómo cerrar el capó
-
Desenganche la varilla del soporte del capó y bájela a su alojamiento.
-
Baje el capó y fíjelo empujando hacia abajo sobre la parte delantera del mismo hasta que quede bloqueado.
-
Ajuste el tornillo de bloqueo del capó para asegurar el cierre (Figura 27).
Cómo abrir el panel de acceso trasero
Cierre del panel de acceso trasero
-
Coloque el panel de acceso trasero en su sitio sobre la parte trasera de la máquina, asegurándose de alinear las pestañas con las ranuras.
-
Empuje hacia adelante la tapa de acceso, alineando las roscas de los pomos con los taladros de la máquina.
-
Apriete los pomos para sujetar firmemente el panel de acceso trasero.
Cómo retirar las rejillas laterales
-
Abra el capó.
-
Deslice las rejillas laterales (Figura 30) hacia arriba y retírelas de las ranuras de la rejilla delantera y del bastidor.

Cómo instalar las rejillas laterales
Deslice las rejillas laterales a su lugar, encajándolas en las ranuras de la rejilla delantera y del bastidor.
Cómo retirar la rejilla delantera
Cuidado
Si el motor ha estado en marcha, el protector térmico estará muy caliente y podría quemarle.
Deje que la máquina se enfríe completamente antes de tocar el protector térmico.
-
Abra el capó y retire ambas rejillas laterales.
-
Afloje los pernos que fijan los contrapesos (Figura 31).

-
Retire los pernos y las tuercas que fijan la placa inclinada (Figura 31).
-
Tire la placa inclinada hacia arriba y retírela de la máquina.
-
Retire los 4 pernos que sujetan la rejilla delantera al bastidor (Figura 32).

-
Retire los pernos de cuello largo y las tuercas que fijan el enfriador de aceite a la parte superior de la rejilla delantera (Figura 33).

-
Retire la rejilla delantera.
-
Cuando termine, instale la rejilla delantera con los 4 pernos que retiró anteriormente.
-
Instale el enfriador de aceite en la rejilla delantera con los 4 pernos de cuello largo y las tuercas que retiró anteriormente.
-
Deslice la placa inclinada entre el bastidor y los contrapesos; fíjela a la rejilla delantera con los pernos y las tuercas que retiró anteriormente (Figura 31).
-
Ajuste los pernos que fijan los contrapesos delanteros (Figura 31).
-
Instale las rejillas laterales y cierre el capó.
Lubricación
Engrasado de la máquina
| Intervalo de mantenimiento y servicio | Procedimiento de mantenimiento |
|---|---|
| Cada vez que se utilice o diariamente |
|
Tipo de grasa: Grasa de propósito general
-
Aparque la máquina en una superficie nivelada, ponga el freno de estacionamiento (si hay) y baje los brazos de carga.
-
Pare el motor y retire la llave.
-
Limpie los engrasadores con un trapo.
-
Conecte una pistola de engrasar a cada punto de engrase (Figura 34 y Figura 35).


-
Bombee grasa hasta que empiece a rezumar grasa de los cojinetes (3 aplicaciones aproximadamente).
-
Limpie cualquier exceso de grasa.
Engrasado de la plataforma
| Intervalo de mantenimiento y servicio | Procedimiento de mantenimiento |
|---|---|
| Cada vez que se utilice o diariamente |
|
Tipo de grasa: Grasa de propósito general
-
Aparque la máquina en una superficie nivelada, ponga el freno de estacionamiento y baje los brazos de carga.
-
Pare el motor y retire la llave.
-
Limpie los engrasadores con un trapo.
-
Conecte una pistola de engrasar a cada engrasador (Figura 36).

-
Bombee hasta que empiece a rezumar grasa (3 aplicaciones aproximadamente).
-
Limpie cualquier exceso de grasa.
Mantenimiento del motor
Seguridad del motor
-
Apague el motor antes de comprobar el aceite o añadir aceite al cárter.
-
No cambie los ajustes del regulador del motor ni haga funcionar el motor a una velocidad excesiva.
-
Mantenga las manos, los pies, la cara, la ropa y otras partes del cuerpo alejados del silenciador y otras superficies calientes.
Mantenimiento del limpiador de aire
| Intervalo de mantenimiento y servicio | Procedimiento de mantenimiento |
|---|---|
| Cada vez que se utilice o diariamente |
|
| Cada 25 horas |
|
Mantenimiento de la tapa y el cuerpo del limpiador de aire
Important: Cambie el filtro del limpiador de aire únicamente cuando el indicador de mantenimiento se ve rojo (Figura 37). El cambiar el filtro antes de que sea necesario sólo aumenta la posibilidad de que entre suciedad en el motor al retirar el filtro.
-
Aparque la máquina en una superficie nivelada, ponga el freno de estacionamiento (si hay) y baje los brazos de carga.
-
Pare el motor y retire la llave.
-
Abra el capó y coloque la varilla de sujeción (en su caso).
-
Inspeccione la carcasa del limpiador de aire en busca de daños que pudieran causar una fuga de aire. Compruebe todo el sistema de admisión en busca de fugas, daños o abrazaderas sueltas.
Sustituya o repare cualquier componente dañado.
-
Abra los cierres del limpiador de aire y tire de la tapa del limpiador de aire para separarla de la carcasa del limpiador de aire (Figura 37).
Important: No retire el filtro de aire.

-
Apriete los lados del tapón antipolvo para abrirlo, y golpéelo para vaciarlo de polvo.
-
Limpie el interior de la tapa del limpiador de aire con aire comprimido por debajo de los 205 kPa (30 psi).
Important: No utilice aire comprimido en la carcasa del limpiador de aire.
-
Compruebe el indicador de mantenimiento.
-
Si el indicador de mantenimiento se ve transparente, instale la tapa del limpiador de aire con el tapón antipolvo orientado hacia abajo, y cierre los enganches (Figura 37).
-
Si el indicador de mantenimiento está de color rojo, reemplace el filtro de aire según lo descrito en Cómo cambiar el filtro.
-
Cómo cambiar el filtro
Important: Para evitar dañar el motor, no haga funcionar nunca el motor sin que estén instalados el filtro de aire y la tapa.
-
Extraiga con cuidado el filtro de la carcasa del limpiador de aire (Figura 37).
Note: Evite golpear el filtro contra el lado de la carcasa.
Important: No intente limpiar el filtro.
-
Inspeccione el filtro nuevo por si estuviera roto, tuviera una película aceitosa o la junta de goma estuviera dañada. Mire dentro del filtro mientras dirige una luz potente sobre el exterior del filtro; los agujeros del filtro aparecerán en forma de puntos luminosos.
Si el filtro está dañado, no lo use.
-
Instale con cuidado el filtro (Figura 37).
Note: Asegúrese de que el filtro esté bien asentado empujando sobre el borde exterior del filtro mientras lo instala.
Important: No empuje sobre la zona blanda interior del filtro.
-
Instale la tapa del limpiador de aire con el tapón antipolvo orientado hacia abajo, y cierre los enganches (Figura 37).
-
Cierre el capó.
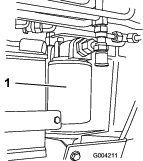
Mantenimiento del cartucho de carbón
Cambio del filtro de aire del cartucho de carbón
| Intervalo de mantenimiento y servicio | Procedimiento de mantenimiento |
|---|---|
| Cada 200 horas |
|
-
Aparque la máquina en una superficie nivelada, ponga el freno de estacionamiento y baje los brazos de carga.
-
Pare el motor y retire la llave.
-
Retire el panel de acceso trasero.
-
Retire y deseche el filtro de aire del cartucho de carbón (Figura 38).

-
Coloque un filtro nuevo en el cartucho de carbón (Figura 38).
-
Instale el panel de acceso trasero.
Cambio del filtro del tubo de purga del cartucho de carbón
| Intervalo de mantenimiento y servicio | Procedimiento de mantenimiento |
|---|---|
| Cada 200 horas |
|
Note: Inspeccione el filtro del tubo de purga periódicamente en busca de suciedad. Si el filtro parece sucio, cámbielo.
-
Aparque la máquina en una superficie nivelada, ponga el freno de estacionamiento y baje los brazos de carga.
-
Pare el motor y retire la llave.
-
Retire el panel de acceso trasero.
-
Aleje del filtro las abrazaderas de muelle de ambos lados del filtro del tubo de purga del cartucho de carbón (Figura 38).
-
Retire y deseche el filtro del tubo de purga (Figura 38).
-
Coloque un filtro nuevo en la manguera, con la flecha del filtro apuntando fuera del cartucho de carbón, y fíjelo con las abrazaderas (Figura 38).
-
Instale el panel de acceso trasero.
Mantenimiento del aceite de motor
| Intervalo de mantenimiento y servicio | Procedimiento de mantenimiento |
|---|---|
| Después de las primeras 50 horas |
|
| Cada vez que se utilice o diariamente |
|
| Cada 100 horas |
|
| Cada 200 horas |
|
Especificaciones de aceite del motor
Tipo de aceite: Aceite detergente (API SG, SH o SJ o superior)
Capacidad del cárter: con filtro, 2.0 L (2.1 cuartos de galón)
Viscosidad: consulte la tabla siguiente

Comprobación del nivel de aceite del motor
-
Aparque la máquina en una superficie nivelada, ponga el freno de estacionamiento y baje los brazos de carga.
-
Detenga el motor, retire la llave y deje que el motor se enfríe.
-
Abra el capó.
-
Limpie la zona alrededor de la varilla de aceite (Figura 40).

-
Retire la varilla y limpie el extremo metálico (Figura 40).
-
Introduzca la varilla a fondo en el tubo de la varilla (Figura 40).
-
Retire la varilla y observe el extremo metálico.
-
Si el nivel de aceite es bajo, limpie alrededor del tapón de llenado y retire el tapón (Figura 41).

-
Vierta lentamente solo la cantidad de aceite suficiente para que el nivel llegue a la marca F (Lleno).
Important: No llene excesivamente el cárter con aceite para evitar dañar el motor.
-
Vuelva a colocar el tapón de llenado y la varilla.
-
Cierre el capó.
Cómo cambiar el aceite del motor
-
Arranque el motor y déjelo funcionar durante 5 minutos.
Note: De esta forma, el aceite se calentará y será más fácil drenarlo.
-
Aparque la máquina de manera que el lado de drenaje esté ligeramente más bajo que el lado opuesto para asegurar que el aceite se drene completamente.
-
Baje los brazos de carga, ponga el freno de estacionamiento, apague el motor y retire la llave.
-
Retire el tapón de vaciado (Figura 42).

-
Cuando se haya drenado completamente el aceite, vuelva a colocar el tapón.
Note: Elimine el aceite usado en un centro de reciclaje homologado.
-
Retire el tapón de llenado (Figura 41) y vierta lentamente aproximadamente el 80 % de la cantidad especificada de aceite a través de la tapa de la válvula.
-
Compruebe el nivel de aceite.
-
Añada lentamente más aceite hasta que el nivel llegue a la marca F (Lleno) de la varilla.
-
Vuelva a colocar el tapón de llenado.
Cómo cambiar el filtro de aceite
-
Drene el aceite del motor; consulte Cómo cambiar el aceite del motor.
-
Cuando se haya drenado completamente el aceite, vuelva a colocar el tapón.
Note: Elimine el aceite usado en un centro de reciclaje homologado.
-
Coloque un recipiente poco hondo o un paño debajo del filtro para recoger el aceite.
-
Retire el filtro usado (Figura 43) y limpie con un paño la superficie de la junta del adaptador del filtro.

-
Vierta aceite nuevo del tipo correcto por el agujero central del filtro. Deje de verter cuando el aceite llegue a la parte inferior de la rosca.
-
Espere 1 a 2 minutos para que el material del filtro absorba el aceite, luego retire el exceso de aceite.
-
Aplique una capa fina de aceite nuevo a la junta de goma del filtro nuevo.
-
Instale el filtro de aceite nuevo en el adaptador del filtro. Gire el filtro en el sentido de las agujas del reloj hasta que la junta de goma entre en contacto con el adaptador del filtro, luego apriete el filtro media vuelta más.
-
Retire el tapón de llenado (Figura 41) y vierta lentamente aproximadamente el 80 % de la cantidad especificada de aceite a través de la tapa de la válvula.
-
Compruebe el nivel de aceite.
-
Añada lentamente más aceite hasta que el nivel llegue a la marca F (Lleno) de la varilla.
-
Vuelva a colocar el tapón de llenado.
Mantenimiento de la(s) bujía(s)
| Intervalo de mantenimiento y servicio | Procedimiento de mantenimiento |
|---|---|
| Cada 200 horas |
|
| Cada 500 horas |
|
Asegúrese de que la distancia entre los electrodos central y lateral es correcta antes de instalar cada bujía. Utilice una llave para bujías para desmontar e instalar cada bujía, y una galga de espesores/herramienta de separación de electrodos para comprobar y ajustar la distancia entre los mismos. Instale bujías nuevas si es necesario.
Tipo: Champion XC12YC o equivalente.
Hueco entre electrodos: 0.75 mm (0.03")
Retirada de la bujía
-
Aparque la máquina en una superficie nivelada, ponga el freno de estacionamiento (si hay) y baje los brazos de carga.
-
Detenga el motor, retire la llave y deje que el motor se enfríe.
-
Limpie la zona alrededor de la base de la(s) bujía(s) para que no caiga suciedad en el motor.
-
Retire la(s) bujía(s) como se muestra en la Figura 44.

Inspección de la bujía
Important: No limpie las bujías. Cambie siempre la(s) bujía(s) si tiene(n) un revestimiento negro, los electrodos desgastados, una película aceitosa o grietas.
Si se observa un color gris o marrón claro en el aislante, el motor está funcionando correctamente. Si el aislante aparece de color negro, significa que el limpiador de aire está sucio.
Ajuste la distancia a 0.75 mm (0.03").

Instalación de la bujía

Mantenimiento del sistema de combustible
Peligro
En ciertas condiciones, el combustible es extremadamente inflamable y altamente explosivo. Un incendio o una explosión provocados por el combustible puede causarle quemaduras a usted y a otras personas así como daños materiales.
-
No drene el combustible de los depósitos de combustible si el motor está frío. Realice esta operación en un área abierta. Limpie cualquier combustible derramado.
-
No fume nunca mientras drena el combustible y manténgase alejado de llamas desnudas o de lugares donde una chispa pudiera inflamar los vapores.
-
Consulte Seguridad en el manejo de combustible para obtener una lista completa de precauciones relacionadas con el sistema de combustible.
Cambio del filtro de combustible
| Intervalo de mantenimiento y servicio | Procedimiento de mantenimiento |
|---|---|
| Cada 200 horas |
|
-
Aparque la máquina en una superficie nivelada, ponga el freno de estacionamiento y baje los brazos de carga.
-
Pare el motor y retire la llave.
-
Abra el capó.
-
En el Modelo 22342HA, retire la rejilla lateral derecha.
En el Modelo 22342HD, retire la rejilla lateral izquierda.
-
Afloje el tapón del depósito de combustible para aliviar la presión.
-
Bloquee los tubos de combustible en ambos lados del filtro de combustible del motor (Figura 47).

-
Apriete los extremos de las abrazaderas y deslícelas por el tubo alejándolas del filtro (Figura 47).
-
Coloque un recipiente debajo de los tubos de combustible para recoger cualquier fuga, luego retire el filtro de los tubos de combustible.
-
Deslice los tubos de combustible sobre los conectores del filtro de combustible nuevo, asegurándose de que la flecha del filtro señale hacia el tubo que va a la bomba de combustible, no al tubo que viene del depósito de combustible.
Important: No instale nunca un filtro sucio.
-
Acerque las abrazaderas al filtro.
-
Retire el bloqueo del flujo de combustible y abra las válvulas de combustible.
-
Apriete el tapón del depósito de combustible.
-
Vuelva a colocar la rejilla lateral y cierre el capó.
Drenaje del depósito de combustible
-
Aparque la máquina en una superficie nivelada, ponga el freno de estacionamiento y baje los brazos de carga.
-
Pare el motor y retire la llave.
-
Vacíe el combustible del depósito usando una bomba tipo sifón.
Note: Éste es el momento más adecuado para instalar un filtro de combustible nuevo, porque el depósito de combustible está vacío.
Mantenimiento del sistema eléctrico
Seguridad del sistema eléctrico
-
Desconecte la batería antes de reparar la máquina. Desconecte primero el terminal negativo y luego el positivo. Conecte primero el terminal positivo y luego el negativo.
-
Cargue la batería en una zona abierta y bien ventilada, lejos de chispas y llamas. Desenchufe el cargador antes de conectar o desconectar la batería. Lleve ropa protectora y utilice herramientas aisladas.
-
El ácido de la batería es tóxico y puede causar quemaduras. Evite el contacto con la piel, los ojos y la ropa. Protéjase la cara, los ojos y la ropa cuando trabaje con una batería.
-
Los gases de la batería pueden explotar. Mantenga alejados de la batería cigarrillos, chispas y llamas.
Mantenimiento de la batería
Mantenga siempre la batería limpia y completamente cargada. Utilice una toalla de papel para limpiar la caja de la batería. Si los bornes de la batería están corroídos, límpielos con una disolución de 4 partes de agua y 1 parte de bicarbonato sódico. Aplique una ligera capa de grasa en los terminales de la batería para reducir la corrosión.
Especificaciones: 12 V, 585 amperios (arranque en frío)
Cómo retirar la batería
Advertencia
Los bornes de la batería o una herramienta metálica podrían hacer cortocircuito si entran en contacto con los componentes metálicos de la máquina, causando chispas. Las chispas podrían hacer explotar los gases de la batería, causando lesiones personales.
-
Al retirar o colocar la batería, no deje que los bornes toquen ninguna parte metálica de la máquina.
-
No deje que las herramientas metálicas hagan cortocircuito entre los bornes de la batería y las partes metálicas de la máquina.
-
Aparque la máquina en una superficie nivelada, ponga el freno de estacionamiento (si hay) y baje los brazos de carga.
-
Pare el motor y retire la llave.
-
Abra el capó.
-
Retire las tuercas de orejeta y la barra que fijan la batería (Figura 48).

-
Desconecte el cable negativo de tierra (negro) del borne de la batería (Figura 48). Guarde las fijaciones.
-
Retire la cubierta de goma del cable positivo (rojo).
-
Desconecte el cable positivo (rojo) del borne de la batería (Figura 48). Guarde las fijaciones.
-
Aparte con cuidado las mangueras hidráulicas y levante la batería del chasis.
Cómo cargar la batería
Important: Mantenga siempre la batería completamente cargada (densidad de 1.265). Esto es especialmente importante para evitar daños a la batería cuando la temperatura está por debajo de los 0 ºC (32 °F).
-
Retire la batería de la máquina; consulte Cómo retirar la batería.
-
Cargue la batería durante 10 a 15 minutos a 25–30 A, o durante 30 minutos a 4–6 A (Figura 49). No sobrecargue la batería.

-
Cuando la batería esté completamente cargada, desconecte el cargador de la toma de electricidad, luego desconecte los cables del cargador de los bornes de la batería (Figura 49).
Limpieza de la batería
Note: Mantenga limpios los terminales y toda la carcasa de la batería para alargar la vida de la batería.
-
Aparque la máquina en una superficie nivelada, ponga el freno de estacionamiento (si hay) y baje los brazos de carga.
-
Pare el motor y retire la llave.
-
Retire la batería de la máquina; Cómo retirar la batería.
-
Lave toda la carcasa con una solución de bicarbonato y agua.
-
Enjuague la batería con agua limpia.
-
Aplique una capa de grasa Grafo 112X (Nº de Pieza Toro 505-47) o de vaselina a los conectores de los cables y a los bornes de la batería para evitar la corrosión.
-
Instale la batería; consulte Instalación de la batería.
Instalación de la batería
-
Usando las fijaciones que retiró anteriormente, conecte el cable positivo (rojo) al borne positivo (+) de la batería (Figura 48).
-
Deslice el protector de borne rojo sobre el borne positivo de la batería.
-
Usando las fijaciones que retiró anteriormente, conecte el cable negativo (negro) al borne negativo (-) de la batería (Figura 48).
-
Fije la batería usando la barra y las tuercas de orejeta (Figura 48).
Important: Asegúrese de que los cables de la batería no entren en contacto con bordes cortantes, y que no se toquen entre sí.
Mantenimiento de una batería de recambio
La batería original no requiere mantenimiento. Consulte las instrucciones del fabricante de la batería respecto al mantenimiento de una batería de recambio.
Mantenimiento del sistema de transmisión
Mantenimiento de las orugas
| Intervalo de mantenimiento y servicio | Procedimiento de mantenimiento |
|---|---|
| Después de las primeras 50 horas |
|
| Cada vez que se utilice o diariamente |
|
| Cada 100 horas |
|
| Cada 250 horas |
|
Limpieza de las orugas
-
Aparque la máquina en una superficie nivelada y ponga el freno de estacionamiento.
-
Con el cucharón instalado y orientado hacia abajo, bájelo al suelo para que la parte delantera de la unidad de tracción se levante unos centímetros del suelo.
-
Pare el motor y retire la llave.
-
Usando una manguera de agua o un sistema de lavado a presión, retire la suciedad de cada conjunto de oruga.
Important: Solamente lave con agua a alta presión la zona de las orugas. No utilice un sistema de lavado a alta presión para limpiar el resto de la máquina. No utilice agua a alta presión entre la rueda motriz y la máquina porque podría dañar las juntas del motor. El lavado a alta presión puede dañar el sistema eléctrico y las válvulas hidráulicas, o eliminar grasa.
Important: Asegúrese de limpiar completamente las ruedas de rodaje, la rueda tensora y la rueda motriz (Figura 50). Las ruedas de rodaje deben rodar libremente cuando están limpias.

Ajuste de la tensión de las orugas
Debería haber 7 cm (2¾") entre la tuerca tensora y la parte trasera del tubo tensor (Figura 51). Si no es así, ajuste la tensión de las orugas usando el procedimiento siguiente:

-
Aparque la máquina en una superficie nivelada, ponga el freno de estacionamiento y baje los brazos de carga.
-
Pare el motor y retire la llave.
-
Levante/apoye el lado de la unidad de tracción en el que va a trabajar hasta que la oruga esté separada del suelo.
-
Retire el perno de bloqueo y la tuerca (Figura 52).

-
Con una llave de vaso de ½", gire el tornillo tensor en el sentido contrario a las agujas del reloj hasta que la distancia entre la tuerca tensora y la parte trasera del tubo tensor (Figura 51) sea de 7 cm (2¾").
-
Alinee la muesca más próxima del tornillo tensor con el taladro del perno de bloqueo, y fije el tornillo con el perno de bloqueo y la tuerca (Figura 52).
-
Baje la unidad de tracción al suelo.
Cómo cambiar las orugas
Sustitución de orugas estrechas
Cuando las orugas estén muy desgastadas, cámbielas.
Note: Usted tiene orugas estrechas si las ruedas tensoras delanteras están montadas dentro de una horquilla en el extremo del tubo tensor (Figura 53).
-
Aparque la máquina en una superficie nivelada, ponga el freno de estacionamiento y baje los brazos de carga.
-
Pare el motor y retire la llave.
-
Levante/apoye el lado de la unidad de tracción en el que va a trabajar hasta que la oruga esté a 8–10 cm (3"–4") del suelo.
-
Retire el perno de bloqueo y la tuerca (Figura 52).
-
Usando una llave de carraca de ½", alivie la tensión en la oruga girando el tornillo tensor en sentido horario (Figura 52 y Figura 53).

-
Empuje la rueda tensora hacia la parte de atrás de la unidad de tracción para mover el tubo tensor contra el bastidor (Figura 53).
Si no toca el bastidor, siga girando el tornillo tensor hasta que lo toque.
-
Retire la oruga empezando en la parte superior de la rueda tensora, retirándola de la rueda mientras mueve la oruga hacia adelante.
-
Cuando haya retirado la oruga de la rueda tensora, retírela de la rueda motriz y de las ruedas de rodaje (Figura 53).
-
Comenzando en el piñón de transmisión, enrosque la nueva oruga alrededor del piñón, y asegúrese de que los dientes de la oruga queden entre los dientes del piñón (Figura 53).
-
Empuje la oruga por debajo de y entre las ruedas de rodaje (Figura 53).
-
Empezando en la parte de abajo de la rueda tensora, instale la oruga alrededor de dicha rueda moviendo la oruga hacia atrás mientras empuja los dientes para que encajen en la rueda.
-
Gire el tornillo tensor en sentido antihorario hasta que la distancia entre la tuerca tensora y la parte de atrás del tubo tensor (Figura 51) sea de 7 cm (2¾").
-
Alinee la muesca más próxima del tornillo tensor con el taladro del perno de bloqueo, y fije el tornillo con el perno de bloqueo y la tuerca.
-
Baje la unidad de tracción al suelo.
-
Repita los pasos 3 a 14 para cambiar la otra oruga.
Sustitución de orugas anchas
Cuando las orugas estén muy desgastadas, cámbielas.
Note: Usted tiene orugas anchas si las ruedas tensoras delanteras están montadas en los laterales del extremo del tubo tensor (Figura 54).
-
Aparque la máquina en una superficie nivelada, ponga el freno de estacionamiento y baje los brazos de carga.
-
Pare el motor y retire la llave.
-
Levante/apoye el lado de la unidad de tracción en el que va a trabajar hasta que la oruga esté a 8–10 cm (3"–4") del suelo.
-
Retire el perno de bloqueo y la tuerca (Figura 52).
-
Usando una llave de carraca de ½", alivie la tensión en la oruga girando el tornillo tensor en sentido horario (Figura 52 y Figura 54).

-
Empuje la rueda tensora hacia la parte de atrás de la unidad de tracción para mover el tubo tensor contra el bastidor (Figura 54).
Si no toca el bastidor, siga girando el tornillo tensor hasta que lo toque.
-
Retire la tuerca que fija la rueda tensora exterior y retire la rueda (Figura 54).
-
Retire la oruga (Figura 54).
-
Retire la tuerca que fija la rueda tensora interior y retire la rueda (Figura 54).
-
Retire las 4 arandelas grandes de las 2 ruedas, 1 de cada lado de cada rueda.
-
Limpie la grasa y suciedad de la zona entre la posición de las arandelas y los cojinetes dentro de las ruedas, luego llene esta zona, en cada lado de cada rueda, de grasa.
-
Instale las arandelas grandes en las ruedas encima de la grasa.
-
Instale la rueda tensora interior y fíjela con la tuerca que retiró anteriormente (Figura 54).
-
Apriete la tuerca a 407 N·m (300 pies-libra).
-
Instale la oruga nueva, asegurándose de que los salientes de la oruga encajen entre los dientes del centro la rueda motriz (Figura 54).
-
Instale la rueda tensora exterior y fíjela con la tuerca que retiró anteriormente (Figura 54).
-
Apriete la tuerca a 407 N·m (300 pies-libra).
-
Gire el tornillo tensor en sentido antihorario hasta que la distancia entre la tuerca tensora y la parte de atrás del tubo tensor (Figura 51) sea de 7 cm (2¾").
-
Alinee la muesca más próxima del tornillo tensor con el taladro del perno de bloqueo, y fije el tornillo con el perno de bloqueo y la tuerca.
-
Baje la unidad de tracción al suelo.
-
Repita los pasos 3 a 20 para cambiar la otra oruga.
Mantenimiento de las ruedas de rodaje
-
Retire las orugas; consulte Cómo cambiar las orugas.
-
Retire los 4 pernos que sujetan cada guía de oruga inferior, que contienen las ruedas de rodaje, y retírelas (Figura 55).

-
Retire la anilla a presión y el tapón de una de las ruedas de rodaje (Figura 56).

-
Compruebe la grasa que hay debajo del tapón y alrededor de la junta (Figura 56). Si está sucia, tiene arenilla o queda poca grasa, elimine toda la grasa, cambie la junta, y añada grasa nueva.
-
Asegúrese de que la rueda de rodaje gira libremente sobre el cojinete. Si se queda bloqueada, cambie la rueda de rodaje según lo descrito en las Instrucciones de instalación del Kit de rueda de rodaje o póngase en contacto con su Servicio Técnico Autorizado para repararla.
-
Coloque el tapón engrasado sobre la cabeza del perno (Figura 53).
-
Sujete el tapón de la rueda de rodaje con la anilla a presión (Figura 53).
-
Repita los pasos 3 a 7 en las demás ruedas de rodaje.
-
Instale las guías de oruga en el bastidor de la unidad de tracción usando los herrajes que retiró anteriormente. Apriete los pernos a 91–112 N∙m (67–83 pies-libra).
-
Instale las orugas; consulte Cómo cambiar las orugas.
Mantenimiento de los frenos
Comprobación del freno de estacionamiento
| Intervalo de mantenimiento y servicio | Procedimiento de mantenimiento |
|---|---|
| Cada vez que se utilice o diariamente |
|
-
Ponga el freno de estacionamiento; consulte Palanca del freno de estacionamiento.
-
Arranque el motor.
-
Intente conducir la máquina lentamente hacia adelante o hacia atrás.
-
Si la máquina se mueve, póngase en contacto con un Servicio Técnico Autorizado para que la revise.
Mantenimiento de las correas
Inspección y sustitución de la correa de transmisión
| Intervalo de mantenimiento y servicio | Procedimiento de mantenimiento |
|---|---|
| Cada 25 horas |
|
| Cada 200 horas |
|
Para cambiar la correa de transmisión, complete el procedimiento siguiente:
Note: Para completar este procedimiento, necesitará un gancho de metal resistente para desconectar el muelle de la polea tensora, como la herramienta para la retirada de muelles (número de pieza Toro 92-5771) disponible para la compra por medio de su Servicio Técnico Autorizado.
-
Aparque la máquina en una superficie nivelada, ponga el freno de estacionamiento y baje los brazos de carga.
-
Pare el motor y retire la llave.
-
Abra el capó.
-
Conecte el gancho de la herramienta para la retirada de muelles al gancho del muelle de la polea tensora, y desenganche el muelle del espárrago según se muestra en Figura 57.

-
Retire el muelle de la polea tensora del conjunto de la polea tensora (Figura 58).

-
Retire la correa de las 3 poleas (Figura 59).

-
Instale una nueva correa de transmisión alrededor de las 3 poleas (Figura 58).
-
Instale el extremo del muelle de la polea tensora en el brazo del conjunto de la polea tensora.
Important: Si ha retirado la cubierta del muelle, ahora asegúrese de colocarla sobre el muelle.
-
Usando la Herramienta para la Retirada de Muelles, tire hacia arriba del muelle tensor y engánchelo en el espárrago de la unidad de tracción para tensar la polea tensora.
-
Retire la Herramienta para la Retirada de Muelles del muelle y cierre el capó.
Mantenimiento del sistema de control
Ajuste de los controles
Los controles son ajustados en fábrica antes del envío de la máquina. No obstante, tras muchas horas de uso, es posible que usted necesite ajustar la alineación del control de tracción, la posición de PUNTO MUERTO del control de tracción y el desplazamiento del control de tracción en posición hacia adelante a velocidad máxima.
Important: Para ajustar correctamente los controles, complete cada procedimiento en el orden señalado.
Ajuste de la alineación del control de tracción
Si la barra de control de tracción no queda enrasada con y paralela a la barra de referencia cuando está en la posición de marcha atrás, complete inmediatamente el procedimiento siguiente:
-
Aparque la máquina en una superficie nivelada, ponga el freno de estacionamiento y baje los brazos de carga.
-
Pare el motor y retire la llave.
-
Tire hacia atrás del control de tracción hasta que la parte delantera del control entre en contacto con la barra de referencia (Figura 60).

-
Si la parte delantera del control de tracción no queda enrasada con y paralela a la barra de referencia, afloje la tuerca con arandela prensada y el perno del tubo del control de tracción (Figura 61).

-
Ajuste el control de tracción hasta que quede enrasado con la barra de referencia al tirar de él hacia atrás del todo (Figura 61 y Figura 62).

-
Apriete la tuerca con arandela prensada y el perno del tubo del control de tracción.
Ajuste de la posición de punto muerto del control de tracción
Si la máquina se desplaza lentamente hacia adelante o hacia atrás cuando el control de tracción está en PUNTO MUERTO y la unidad está caliente, realice inmediatamente el procedimiento siguiente:
-
Levante/bloquee la máquina de manera que ambas orugas estén levantadas del suelo.
-
Abra el panel de acceso trasero.
-
Afloje las contratuercas de las varillas de tracción, debajo del panel de control (Figura 63).

-
Arranque la unidad de tracción y ponga el acelerador en posición 1/3 abierto aproximadamente.
Advertencia
Si la máquina está en marcha, usted podría quedar atrapado por las piezas en movimiento y lesionarse, o quemarse en las superficies calientes.
Manténgase alejado de los puntos de peligro, las piezas en movimiento y las superficies calientes si ajusta la máquina cuando está funcionando.
-
Si se mueva la oruga izquierda, alargue o acorte la varilla de tracción derecha hasta que la oruga se pare.
-
Si se mueva la oruga derecha, alargue o acorte la varilla de tracción izquierda hasta que la oruga se pare.
-
Apriete las contratuercas.
-
Cierre el panel de acceso trasero.
-
Apague el motor y baje la máquina al suelo.
-
Conduzca la máquina en marcha atrás a velocidad máxima, comprobando que la unidad va en línea recta. Si no es así, observe en qué sentido se desvía. Repita el ajuste anterior hasta que se desplace en línea recta en marcha atrás.
Ajuste del desplazamiento del control de tracción, marcha hacia adelante a velocidad máxima
Si la máquina no se desplaza en línea recta cuando usted sujeta el control de tracción contra la barra de referencia, complete el procedimiento siguiente:
-
Conduzca la máquina con el control de tracción contra la barra de referencia, observando en qué dirección se desplaza la unidad de tracción.
-
Suelte el control de tracción.
-
Si la unidad de tracción se desvía a la izquierda, afloje la contratuerca de la derecha y ajuste el tornillo de fijación de desplazamiento en la parte delantera del control de tracción (Figura 64).
-
Si la unidad de tracción se desvía a la derecha, afloje la contratuerca de la izquierda y ajuste el tornillo de fijación de desplazamiento en la parte delantera del control de tracción (Figura 64).

-
Repita los pasos 1 a 4 hasta que la máquina avance en línea recta en posición de marcha adelante a velocidad máxima.
Important: Asegúrese de que los tornillos de fijación entran en contacto con los topes en la posición de velocidad máxima hacia adelante para evitar forzar los émbolos de las bombas hidráulicas.
Mantenimiento del sistema hidráulico
Seguridad del sistema hidráulico
-
Busque atención médica inmediatamente si el fluido penetra en la piel. El líquido que penetre en la piel deberá ser retirado en pocas horas por un médico mediante una intervención quirúrgica.
-
Asegúrese de que todas las mangueras y líneas de fluido hidráulico están en buenas condiciones de uso, y que todos los acoplamientos y conexiones hidráulicos están apretados, antes de aplicar presión al sistema hidráulico.
-
Mantenga el cuerpo y las manos alejados de fugas pequeñas o boquillas que liberen fluido hidráulico a alta presión.
-
Utilice un cartón o un papel para detectar fugas de fluido hidráulico.
-
Alivie de manera segura toda presión en el sistema hidráulico antes de realizar trabajo alguno en el sistema hidráulico.
Cómo aliviar la presión hidráulica
Para aliviar la presión hidráulica con el motor en marcha, desengrane el sistema hidráulico auxiliar y baje totalmente los brazos de carga.
Para aliviar la presión con el motor apagado, mueva la palanca del sistema hidráulico auxiliar entre las posiciones de flujo hacia adelante y hacia atrás para aliviar la presión hidráulica auxiliar, mueva la palanca de inclinación del accesorio hacia adelante y hacia atrás para aliviar la presión de la hidráulica auxiliar, y mueva la palanca de los brazos de carga/inclinación del accesorio entre las posiciones delanteras para bajar los brazos de carga (Figura 65).

Especificación del fluido hidráulico
| Intervalo de mantenimiento y servicio | Procedimiento de mantenimiento |
|---|---|
| Cada 100 horas |
|
| Cada 1500 horas |
|
Capacidad del depósito hidráulico: 45.4 litros (12 galones US)
Utilice solamente 1 de los aceites siguientes en el sistema hidráulico:
-
Toro Premium Transmission/Hydraulic Tractor Fluid (consulte a su Distribuidor Autorizado Toro si desea más información)
-
Fluido hidráulico Toro PX de larga vida (consulte a su Servicio Técnico Autorizado si desea más información)
-
Si ninguno de los fluidos anteriores está disponible, puede utilizar otro fluido hidráulico universal para tractores (UTHF ), pero en este caso utilice únicamente productos convencionales a base de petróleo. Las especificaciones de todas las propiedades materiales deben estar dentro de los intervalos citados a continuación, y el fluido debe cumplir las normas industriales citadas. Consulte a su proveedor de fluido hidráulico para determinar si el fluido cumple estas especificaciones.
Note: Toro no asume responsabilidad alguna por daños causados por sustitutos no adecuados, así que usted debe utilizar solamente productos de fabricantes responsables que respaldan sus recomendaciones.
Propiedades materiales Viscosidad, ASTM D445 cSt a 40 °C: 55 a 62 cSt a 100 °C: 9.1 a 9.8 Índice de viscosidad ASTM D2270 140 a 152 Punto de descongelación, ASTM D97 -37 a -43 °C (-35 a -46 °F) Normas industriales API GL-4, AGCO Powerfluid 821 XL, Ford New Holland FNHA-2-C-201.00, Kubota UDT, John Deere J20C, Vickers 35VQ25 y Volvo WB-101/BM Note: La mayoría de los fluidos hidráulicos son casi incoloros, por lo que es difícil detectar fugas. Está disponible un aditivo de tinte rojo para el aceite del sistema hidráulico, en botellas de 20 ml (2/3 onza fluida). Una botella es suficiente para 15 a 22 litros (4 a 6 galones US) de fluido hidráulico. Solicite la pieza no. 44-2500 a su Servicio Técnico Autorizado.
Comprobación del nivel de fluido hidráulico
| Intervalo de mantenimiento y servicio | Procedimiento de mantenimiento |
|---|---|
| Cada 25 horas |
|
Compruebe el nivel del fluido hidráulico antes de arrancar el motor por primera vez, y después cada 25 horas de operación.
Consulte las especificaciones del aceite hidráulico en Especificación del fluido hidráulico.
Important: Utilice siempre el tipo correcto de fluido hidráulico. Los fluidos que no cumplan las especificaciones dañarán el sistema hidráulico.
-
Retire todos los accesorios.
-
Aparque la máquina sobre una superficie nivelada, baje los brazos de carga y retraiga totalmente el cilindro de inclinación.
-
Detenga el motor, retire la llave y deje que el motor se enfríe.
-
Abra el capó y retire la rejilla izquierda.
-
Limpie la zona alrededor del cuello de llenado del depósito de fluido hidráulico (Figura 66).
-
Retire el tapón del cuello de llenado y compruebe el nivel de fluido en la varilla (Figura 66).
El nivel del fluido debe estar entre las marcas de la varilla.

-
Si el nivel es bajo, añada fluido suficiente para que llegue al nivel correcto.
-
Instale el tapón del cuello de llenado.
-
Reemplace la rejilla del lado izquierdo y cierre el capó.
Cambio del filtro hidráulico
| Intervalo de mantenimiento y servicio | Procedimiento de mantenimiento |
|---|---|
| Después de las primeras 8 horas |
|
| Cada 200 horas |
|
Important: No sustituya un filtro de aceite para automóviles; puede causar graves daños en el sistema hidráulico.
-
Aparque la máquina en una superficie nivelada, ponga el freno de estacionamiento y baje los brazos de carga.
-
Pare el motor y retire la llave.
-
Abra la tapa de acceso trasera.
-
Coloque un recipiente debajo del filtro (Figura 67).

-
Retire el filtro usado (Figura 67) y limpie con un paño la superficie de la junta del adaptador del filtro.
-
Aplique una capa fina de aceite hidráulico a la junta de goma del filtro nuevo.
-
Instale el filtro hidráulico nuevo en el adaptador del filtro (Figura 67). Apriete el filtro en el sentido de las agujas del reloj hasta que la junta de goma entre en contacto con el adaptador del filtro, luego apriete el filtro ¾ vuelta más.
-
Limpie cualquier fluido derramado.
-
Arranque el motor y déjelo funcionar durante unos dos minutos para purgar el aire del sistema.
-
Apague el motor, retire la llave y compruebe que no haya fugas.
-
Compruebe el nivel de fluido del depósito hidráulico y añada fluido para que el nivel llegue a la marca de la varilla; consulte Comprobación del nivel de fluido hidráulico.
Important: No llene el depósito en exceso.
-
Cierre el panel de acceso trasero.
Cambio del fluido hidráulico
| Intervalo de mantenimiento y servicio | Procedimiento de mantenimiento |
|---|---|
| Cada 400 horas |
|
-
Aparque la máquina en una superficie nivelada, retire cualquier accesorio y ponga el freno de estacionamiento.
-
Eleve los brazos de carga e instale el bloqueo del cilindro.
-
Detenga el motor, retire la llave y deje que el motor se enfríe.
-
Abra el capó y retire la rejilla del lado izquierdo.
-
Retire el tapón y la varilla del depósito hidráulico (Figura 68).

-
Coloque un recipiente grande con capacidad para 57 litros (15 galones US) debajo del tapón de vaciado situado en la parte delantera de la máquina (Figura 69).
Note: El tapón de vaciado se encuentra detrás de los contrapesos delanteros, debajo de la placa inclinada.

-
Retire el tapón de vaciado y deje fluir el aceite al recipiente (Figura 69).
-
Cuando termine, instale el tapón de vaciado y apriételo.
Note: Elimine el aceite usado en un centro de reciclaje homologado.
-
Llene el depósito hidráulico con fluido hidráulico según lo especificado en Especificación del fluido hidráulico.
-
Arranque el motor y déjelo funcionar durante unos minutos.
-
Pare el motor.
-
Compruebe el nivel de fluido hidráulico y añada fluido para llenar el depósito, si es necesario; consulte Comprobación del nivel de fluido hidráulico.
-
Instale la rejilla lateral y cierre el capó.
Mantenimiento de la plataforma
Comprobación del perno de seguridad
| Intervalo de mantenimiento y servicio | Procedimiento de mantenimiento |
|---|---|
| Cada vez que se utilice o diariamente |
|
Inspeccione el perno de seguridad en busca de desgaste, grietas o daños (Figura 70). Cámbielo si está dañado.
Important: Utilice solamente pernos y tuercas de seguridad de repuesto genuinos de Toro. Otros pernos pueden no funcionar de manera adecuada y pueden mermar la seguridad de la máquina.

Limpieza
Eliminación de residuos
| Intervalo de mantenimiento y servicio | Procedimiento de mantenimiento |
|---|---|
| Cada vez que se utilice o diariamente |
|
Important: La operación del motor con las rejillas obstruidas y/o sin las tapas de ventilación dañará el motor debido al sobrecalentamiento.
-
Aparque la máquina en una superficie nivelada y baje los brazos de carga.
-
Detenga el motor, retire la llave y deje que el motor se enfríe.
-
Abra el capó y coloque la varilla de sujeción.
-
Limpie cualquier residuo de las rejillas delantera y laterales.
-
Retire cualquier residuo del limpiador de aire.
-
Elimine cualquier acumulación de residuos en el motor y en las aletas del enfriador de aceite con un cepillo o un soplador.
Important: La operación del motor con las rejillas obstruidas y/o sin las tapas de ventilación dañará el motor debido al sobrecalentamiento.
-
Limpie cualquier residuo del orificio del capó, el silenciador, los protectores térmicos y la rejilla del radiador (en su caso).
-
Cierre el capó.
Limpieza del chasis
| Intervalo de mantenimiento y servicio | Procedimiento de mantenimiento |
|---|---|
| Cada 100 horas |
|
Abra el capó e inspeccione frecuentemente la zona debajo del motor con una linterna. Cuando al acumulación de residuos alcance un grosor de 2.5–5 cm (1"–2"), complete el procedimiento siguiente (consulte Figura 71 para todo este procedimiento):

-
Aparque la máquina en una superficie nivelada, ponga el freno de estacionamiento y baje los brazos de carga.
-
Levante y apoye la parte delantera de la máquina.
-
Pare el motor y retire la llave.
-
Desconecte el cable negativo de la batería.
-
Retire los pernos, las arandelas y las arandelas de freno que fijan los 2 contrapesos laterales, y retire los contrapesos (Figura 71).
-
Abra el panel de acceso trasero.
-
Retire los 2 pernos de cuello cuadrado y las 2 arandelas de la base de la batería.
-
Retire las 6 tuercas y los pernos que fijan el panel trasero, y retire el panel (Figura 71).
-
Coloque una pinza o similar para bloquear el tubo de combustible a unos 5 cm (2") del punto en que sale del depósito.
-
Deslice el depósito de combustible hacia atrás (Figura 71).
-
Desconecte el tubo de combustible del acoplamiento en el depósito de combustible.
-
Desconecte los 2 cables que se dirigen al lado derecho del depósito (Figura 72).

-
Desconecte la manguera de ventilación del acoplamiento en la parte superior del depósito. Tape el acoplamiento para que no haya fugas de combustible durante el procedimiento.
-
Retire con cuidado el depósito y colóquelo en posición vertical para evitar derramar el combustible.
Peligro
En ciertas condiciones, el combustible es extremadamente inflamable y altamente explosivo. Un incendio o una explosión provocados por el combustible puede causarle quemaduras a usted y a otras personas así como daños materiales.
Consulte Seguridad en el manejo de combustible para obtener una lista completa de precauciones relacionadas con el sistema de combustible.
-
Retire cualquier gran acumulación de residuos.
-
Lave el chasis con agua limpia hasta que el agua que sale por la parte de atrás de la unidad de tracción esté limpia.
Important: Tenga cuidado de que no entre agua en el motor o en los componentes eléctricos.
-
Introduzca el depósito de combustible parcialmente en el chasis (Figura 71).
-
Retire el tapón del acoplamiento de ventilación y conecte la manguera de ventilación a él.
-
Conecte el tubo de combustible y retire la pinza.
-
Asegure el tapón del depósito y ajústelo hasta que escuche un clic.
-
En el lado derecho del depósito, conecte el cable naranja al borne central y el cable negro al borne exterior (Figura 72).
-
Introduzca el depósito de combustible completamente en la máquina.
Important: El tubo de combustible y los cables deben quedar alejados de las poleas del motor y del bastidor.
-
Vuelva a colocar el panel trasero y fíjelo con los 6 pernos y las tuercas que retiró anteriormente (Figura 71).
-
Sujete la bandeja de la batería con los pernos y las arandelas que retiró anteriormente.
-
Instale los contrapesos laterales con los pernos, las arandelas y las arandelas de freno que retiró anteriormente (Figura 71).
-
Cierre el panel de acceso trasero.
-
Baje la máquina al suelo.


, que significa: Cuidado, Advertencia o Peligro
– instrucción relativa a la seguridad personal. El incumplimiento
de estas instrucciones puede dar lugar a lesiones personales o la
muerte.















































