Комплект системы опрыскивания GeoLink™ является навесным оборудованием для опрыскивателя травяного покрова и предназначен для использования профессиональными работающими по найму в коммерческих целях операторами. Она предназначена главным образом для аэрации ухоженных газонов в парках, на площадках для игры в гольф, спортивных площадках и коммерческих территориях.
Посетите веб-сайт www.Toro.com для получения информации о технике безопасности при работе с изделием, обучающих материалов по эксплуатации изделия, информации о принадлежностях, а также для получения помощи в поисках дилера или для регистрации вашего изделия.
Химические вещества, используемые в распылительной системе, могут быть ядовитыми и представлять опасность для оператора, находящихся поблизости людей, животных, растений, почвы или имущества.
Внимательно прочтите и выполняйте указания, приведенные на предупреждающих наклейках по химическим веществам и в паспортах безопасности материалов (MSDS) для всех используемых химикатов, чтобы защитить себя в соответствии с рекомендациями изготовителя химикатов. Например, используйте соответствующие средства индивидуальной защиты, включая защиту лица и глаз, перчатки или другое оборудование для предотвращения контакта тела с химикатами.
При использовании нескольких химикатов необходимо ознакомиться с информацией о каждом из них.
При отсутствии данной информации не приступайте к работе с опрыскивателем.
До начала работы с системой опрыскивания убедитесь, что она была трижды промыта и нейтрализована в соответствии с рекомендациями изготовителя (изготовителей) химикатов и все клапаны были приведены в действие на полный рабочий цикл 3 раза.
Убедитесь в наличии достаточного количества чистой воды и мыла вблизи места выполнения работ. Следует немедленно смывать любые химикаты, попавшие на кожу.
Установите машину на ровной поверхности.
Включите стояночный тормоз; см. Руководство оператора.
Выдвиньте левую и правую секции стрелы в горизонтальное положение.
Выключите двигатель, см. Руководство оператора.
Очистите опрыскиватель; см. раздел «Очистка опрыскивателя» в Руководстве оператора для машины.
Important: Перед установкой доводочного комплекта системы опрыскивания GeoLink необходимо полностью слить жидкость из бака опрыскивателя.
Для машин, на которых установлен дополнительный комплект для промывки бака, выполните следующие действия:
Закачайте воду из промывочного бака в бак опрыскивателя; см. раздел «Управление комплектом для промывки» в Инструкции по монтажу для комплекта промывки бака.
Слейте воду из бака опрыскивателя; см. раздел «Очистка опрыскивателя» в Руководстве оператора для вашей машины.
Извлеките ключ из замка зажигания; см. Руководство оператора.
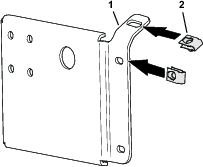
Снимите крышку аккумуляторной батареи и отсоедините отрицательный (черный, земля) кабель от штыря аккумулятора (Рисунок 1 и Рисунок 2).
Электрические искры могут вызвать взрыв аккумуляторных газов, что приведет к получению травмы.
Неправильная прокладка кабеля аккумулятора может вызвать искрение и привести к повреждению машины и кабеля.
Всегда отсоединяйте отрицательный (черный) кабель аккумулятора перед отсоединением положительного (красного) кабеля.
Всегда присоединяйте положительный (красный) кабель аккумулятора перед присоединением отрицательного (черного) кабеля.
Клеммы аккумулятора или металлические инструменты могут закоротить на металлические компоненты опрыскивателя, вызвав искрение.
При демонтаже или установке аккумулятора не допускайте прикосновения клемм к металлическим частям опрыскивателя.
Не допускайте короткого замыкания клемм аккумулятора металлическими инструментами на металлические части опрыскивателя.
Хомут аккумулятора должен всегда находиться на своем месте для защиты и фиксации аккумулятора.


Отсоедините положительный (красный) кабель от штыря аккумуляторной батареи (Рисунок 2).
Наклоните оба сиденья вперед и закрепите их, вставив подпорки в фиксаторы на концах пазов в основании центральной консоли.
Дайте двигателю полностью остыть.
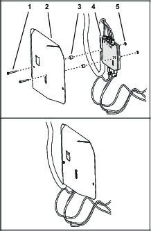
В задней части машины на задней стороне бака опрыскивателя найдите жгут проводов комплекта электрического шлангового барабана (вид А на Рисунок 3).

Отсоедините 2-гнездовой разъем жгута проводов электрического шлангового барабана от 2-штыревого разъема главного заднего жгута проводов (вид B на Рисунок 3).
Отсоедините 3-штыревой разъем жгута проводов электрического шлангового барабана от 3-гнездового разъема главного заднего жгута проводов (вид B на Рисунок 3).
В задней части машины сожмите с обеих сторон крышку промывочного насоса и поднимите крышку вверх, чтобы высвободить выступы крышки из пазов в посадочной плите, затем снимите крышку с машины (Рисунок 5).

Отсоедините 6-штыревой разъем жгута проводов промывочного насоса от 6-гнездового разъема главного заднего жгута проводов (Рисунок 6).

Детали, требуемые для этой процедуры:
| Заглушка переключателя (комплект поворотного шлангового барабана — номер 99-7420 по каталогу Toro) | 1 |
Удалите 2 болта (5/16 x ¾ дюйма) и 2 контргайки (5/16 дюйма), которые крепят блок управления к монтажной плите барабана (Рисунок 7).

Отсоедините 8-гнездовой разъем жгута проводов блока управления от переключателя регулировки давления (Рисунок 7).
Проложите 8-гнездовой разъем внутрь блока управления (Рисунок 7).
Сожмите фиксирующие выступы переключателя регулировки давления и выдавите переключатель из блока управления (Рисунок 7).
Note: Этот переключатель больше не понадобится.
Совместите заглушку переключателя с отверстием в блоке управления, откуда был извлечен переключатель (Рисунок 7).
Вставьте заглушку переключателя в блок управления до срабатывания защелки, надежно зафиксировав ее в крышке (Рисунок 7).
Совместите блок управления с монтажной плитой барабана (Рисунок 7) и прикрепите блок к плите с помощью двух болтов (5/16 x ¾ дюйма) и двух контргаек (5/16 дюйма).
Затяните болты и гайки с моментом от 1978 до 2542 Н∙см.
Снимите следующие крепежные детали, с помощью которых задняя часть кожуха ходовой части крепится к шасси машины (Рисунок 8):
Машины выпуска 2016 г. – 7 болтов с фланцевыми головками (5/16 x ⅞ дюйма) и 7 шайб (5/16 дюйма)
Машины выпуска 2017 г. и позднее – 5 болтов с фланцевыми головками (5/16 x ⅞ дюйма) и 5 шайб (5/16 дюйма)
Note: Сохраните болты с фланцевыми головками и шайбы для установки, описанной в пункте 5 раздела Установка защитного кожуха ходовой части.


Удалите 4 фланцевые контргайки (5/16 дюйма) с болтов и каретный болт, которые крепят опорные хомуты кожуха ходовой части к кронштейнам крепления двигателя на машине (Рисунок 9).
Note: Не снимайте болты с машины. Сохраните фланцевые контргайки для последующей установки, как описано в пункте 3 раздела Установка защитного кожуха ходовой части.

Поднимите опорные хомуты над болтами, которые крепят кожух ходовой части к кронштейнам крепления двигателя.
Снимите кожух ходовой части с машины (Рисунок 8 и Рисунок 9).
Удалите три болта с фланцевыми головками и одну фланцевую гайку, которые крепят монтажный кронштейн блока управления двигателем к опорному кронштейну двигателя и дополнительному картеру двигателя (Рисунок 10).
Note: Сохраните болты с фланцевыми головками и фланцевую гайку для последующей установки, описанной в пункте 2 раздела Установка блока управления двигателем и монтажного кронштейна (для моделей машин с бензиновым двигателем).


Переместите блок управления двигателем и монтажный кронштейн вниз и назад, чтобы обеспечить доступ к разъемам переднего и заднего жгутов проводов машины.
Note: Не снимайте и не отсоединяйте блок управления двигателем от двигателя.
Note: Если ваша машина оборудована дополнительным комплектом распылительного пистолета, см.
Нажмите на запорное кольцо соединительной муфты прямоугольного колена клапана правой секции стрелы (Рисунок 12 или Рисунок 13).


Вытяните трубку датчика давления для манометра на приборной панели из соединительной муфты (Рисунок 12 или Рисунок 13).
Note: Не снимайте прямоугольное колено с фланца клапана правой секции стрелы.
Детали, требуемые для этой процедуры:
| Задний жгут проводов | 1 |
Note: При отсоединении переднего и заднего жгутов проводов используйте подъемник для машины.

Находясь под машиной, под правой трубой рамы найдите электрические разъемы переднего и заднего жгутов проводов машины (Рисунок 14).
Разомкните 6 пар разъемов между передним и задним жгутами проводов, как показано на рис. Рисунок 15–Рисунок 20.






Снимите 3 вставных держателя, которые крепят задний жгут проводов к отверстиям в правой трубе рамы машины (Рисунок 21).

В задней части машины (между правой трубой рамы и правым крылом) отсоедините 3-штыревой разъем жгута проводов датчика скорости на правом тяговом гидромоторе от 3-гнездового разъема главного заднего жгута проводов (Рисунок 22).

В задней части крепления коллектора отсоедините 3-гнездовой разъем от клапана перемешивания и 3-гнездовые разъемы от 3 клапанов секций стрелы (Рисунок 23).

Снимите вставные держатели, которые крепят задний жгут проводов к отверстиям в передней части и нижней плите крепления коллектора (Рисунок 24).

На машинах с системой опрыскивания ExcelaRate отсоедините 3-гнездовой разъем заднего жгута проводов от 3-штыревого разъема датчика давления (Рисунок 25).

В задней части машины отсоедините описанные ниже 2-гнездовые разъемы (Рисунок 26) коллектора левого цилиндра следующим образом:
Правый электромагнит подъема
Левый электромагнит подъема
Электромагнит включения
Правый электромагнит опускания
Левый электромагнит опускания

В задней части машины, во внутренней зоне насоса опрыскивателя отсоедините 2-гнездовой разъем главного заднего жгута проводов от 2-штыревого разъема реле насоса (Рисунок 27).

Снимите вставной держатель, который крепит задний жгут проводов (Рисунок 28) к отверстиям в задней поперечной трубе (позади тяговых гидромоторов).

Отсоедините трубку датчика давления для манометра на приборной панели от заднего жгута проводов машины (Рисунок 29).

Снимите задний жгут проводов с машины.
Note: Главный задний жгут проводов, снятый с машины, больше не нужен.
Детали, требуемые для этой процедуры:
| Кабельная стяжка | 1 |
| Заглушка переключателя | 1 |
Под нижней частью приборной панели машины сожмите вместе фиксирующие выступы переключателя интенсивности опрыскивания и вытолкните его вверх из приборной панели (Рисунок 30).

Отсоедините 8-гнездовой разъем (с маркировкой Rate Switch (Переключатель интенсивности опрыскивания)) переднего жгута проводов машины от 8-штыревого разъема переключателя (Рисунок 30).
Note: Переключатель интенсивности опрыскивания, снятый с машины, больше не нужен.
Проложите ответвление переднего жгута проводов для переключателя интенсивности опрыскивания через отверстие в приборной панели и прикрепите ответвление к переднему жгуту проводов при помощи кабельной стяжки.
Совместите заглушку переключателя с отверстием в приборной панели, откуда был извлечен переключатель интенсивности опрыскивания (Рисунок 30).
Вставьте заглушку переключателя в приборную панель до срабатывания защелки, которая надежно зафиксирует заглушку в панели (Рисунок 30).
Детали, требуемые для этой процедуры:
| Крышка штуцера | 1 |
| Крышка (быстроразъемный соединитель) | 3 |
| Держатель | 3 |
Снимите фланцевый хомут, который крепит крышку штуцера с отверстием, датчик давления и прокладку прямоугольного колена в конце клапана правой секции, и снимите крышку, датчик давления и прокладку (Рисунок 31).
Note: Сохраните датчик давления, крышку штуцера с отверстием, прокладку и хомут для последующей установки, описанной в разделе Установка датчика давления на коллектор.

Снимите фланцевый хомут, прямоугольное колено (без отверстия) и прокладку с прямоугольного колена с отверстием (Рисунок 31).
Note: Сохраните фланцевый хомут и прокладку для последующей установки, описанной в разделе 3.
Совместите крышку штуцера и прокладку с фланцем прямоугольного колена в конце клапана правой секции (Рисунок 31).

Присоедините крышку штуцера и прокладку к прямоугольному колену при помощи фланцевого хомута (Рисунок 31)
Ослабьте затяжку 4 болтов с фланцевыми головками (¼ x ¾ дюйма) и 4 фланцевых контргаек (¼ дюйма), которые крепят 3 клапана секций к креплению коллектора (Рисунок 33).

На машинах без системы опрыскивания ExcelaRate снимите соединительную трубку следующим образом:
Снимите два фланцевых хомута, которые крепят соединительную трубку к переходным патрубкам на главном регулирующем клапане и клапане левой секции стрелы (Рисунок 34).

Снимите прямой соединитель и две прокладки с машины (Рисунок 34).
Note: Сохраните хомуты и уплотнительные прокладки для последующей установки, описанной в пунктах 11 и 12 раздела Установка расходомера.
Снимите фланцевый хомут 76 мм (3 дюйма), который крепит переходной патрубок с прокладкой (2-1/4 дюйма) к фланцу клапана левой секции стрелы, затем снимите переходной патрубок, хомут и прокладку с машины (Рисунок 35).
Note: Сохраните переходной патрубок для последующей установки, описанной в пунктах 13 раздела Установка расходомера.

На машинах с системой опрыскивания ExcelaRate снимите фланцевый хомут и уплотнительную прокладку, с помощью которых переходной патрубок присоединяется к клапану левой секции стрелы (Рисунок 36).
Note: Не снимайте переходной патрубок или расходомер.

С наружной секции стрелы снимите шланговый хомут, который крепит шланг подачи секции стрелы к тройнику типа «елочка» (Рисунок 37).

Снимите шланг с тройника (Рисунок 37).
Снимите свободный конец шланга с R-образного хомута (Рисунок 37).
Повторите пункты 1 – 3 для шланга подачи другой наружной секции стрелы.
Под средней секцией стрелы снимите шланговый хомут, который крепит шланг подачи секции стрелы к тройнику типа «елочка» (Рисунок 38).

Снимите держатели, которые крепят прямые штуцеры типа «елочка» к быстроразъемным штуцерам левой, средней и правой секций стрелы (Рисунок 39).
Note: Сохраните держатели для последующей установки, описанной в разделе Подсоединение шлангов к клапанам сопел с 7 по 10.

Снимите шланги клапанов левой, средней и правой секций стрелы с машины (Рисунок 39).
Note: Шланги клапанов левой, средней и правой секций стрелы больше не понадобятся.
На нижнем конце верхнего перепускного шланга снимите болт с фланцевой головкой (5/16 x ¾ дюйма), шайбу (5/16 дюйма) и R-образный хомут, который крепит верхний перепускной шланг к задней посадочной плите машины (Рисунок 40 и Рисунок 41).


Снимите два шланговых хомута, которые крепят верхний перепускной шланг и нижний перепускной шланг к прямоугольному штуцеру типа «елочка» (Рисунок 41).
Отсоедините прямоугольный штуцер типа «елочка» от шлангов (Рисунок 41).
Note: Сохраните прямоугольный штуцер типа «елочка» и два хомута для последующей установки, описанной в пунктах 8 и 9.
Снимите шланговые хомуты, которые крепят шланг сливного крана и задний сливной шланг бака к тройнику типа «елочка» (Рисунок 42 и Рисунок 43).


Снимите тройник со шланга сливного крана и заднего сливного шланга бака (Рисунок 42 и Рисунок 43).
Снимите держатель, который крепит прямоугольный штуцер типа «елочка» перепускного шланга к быстроразъемному штуцеру перепускного клапана на клапане правой секции стрелы, и отделите шланг и штуцеры клапанов друг от друга (Рисунок 44).

Снимите верхний и нижний перепускные шланги с машины (Рисунок 45).
Note: Отсечной клапан, тройник, верхний и нижний перепускные шланги больше не нужны.

Вставьте прямоугольный штуцер типа «елочка», снятый при выполнении пункта 3, в шланг сливного крана и задний сливной шланг бака (Рисунок 46 и Рисунок 47).


Закрепите прямоугольный штуцер типа «елочка» и сливные шланги при помощи 2 шланговых хомутов, снятых при выполнении пункта 2 (Рисунок 46 и Рисунок 47).
Снимите держатель, который крепит привод к коллекторному клапану клапана секции стрелы в сборе (Рисунок 48).
Note: Сожмите две ножки держателя вместе, одновременно нажимая на него вниз.
Note: Сохраните привод и держатель для последующей установки, как описано в пунктах 8 и 9 раздела Снятие перепускного отсечного клапана и установка перепускного клапана с крышками.

Снимите привод с коллекторного клапана (Рисунок 48).
Повторите пункты 1 и 2 для двух других приводов клапанов.
Снимите 4 болта (6 x 12 мм), которые крепят перепускной отсечной клапан к опорному кронштейну клапана (Рисунок 49).
Снимите держатель, который крепит перепускной отсечной клапан к перепускному клапану правой секции стрелы, и снимите отсечной клапан (Рисунок 49).
Note: Перепускной отсечной клапан и 4 болта (6 x 12 мм) больше не понадобятся.
Снимите три держателя, которые крепят три перепускных клапана к трем коллекторным клапанам (Рисунок 49).

Поднимите три перепускных клапана, чтобы снять их с трех быстроразъемных соединителей на коллекторных клапанах (Рисунок 49).
Note: Перепускные клапаны больше не нужны.
Смажьте верхнее и нижнее уплотнительные кольца быстроразъемных соединителей коллекторного клапана, используя консистентную смазку, поставляемую вместе с крышкой быстроразъемного соединителя (Рисунок 50).

Установите три крышки на три быстроразъемных соединителя на коллекторных клапанах (Рисунок 50).
Прикрепите три крышки к трем быстроразъемным соединителям с помощью трех держателей (Рисунок 50).
Совместите соединитель привода клапана секции стрелы, снятого при выполнении пункта 2 раздела Демонтаж привода клапана, с отверстием штока в коллекторном клапане (Рисунок 51).

Закрепите привод клапана секции на коллекторном клапане при помощи держателя (Рисунок 51), снятого при выполнении пункта 1 раздела Демонтаж привода клапана.
Note: Клапаны секций стрелы будут добавлены к клапанам для системы с 10 клапанами, описанной в разделе Установка клапанов опрыскивателя 8, 9 и 10 на опору крепления клапанов.
Удалите два болта с фланцевыми головками (¼ x ¾ дюйма) и две контргайки (¼ дюйма), которые крепят клапан правой секции стрелы к креплению коллектора (Рисунок 52).

Удалите два болта с фланцевыми головками (¼ x ¾ дюйма) и две контргайки (¼ дюйма), которые крепят клапан левой секции стрелы к креплению коллектора (Рисунок 52).
Снимите клапаны секций стрелы с крепления коллектора и отложите клапаны в сторону (Рисунок 52).
Note: Сохраните клапаны секций стрелы для последующей установки, описанной в пунктах 1 раздела Установка клапанов опрыскивателя 8, 9 и 10 на опору крепления клапанов. Удалите в отходы 4 болта с фланцевыми головками и 4 контргайки.
Снимите 6 наклеек с 3 клапанов секций стрелы (Рисунок 53).

Снимите два болта с фланцевыми головками (5/16 x 1 дюйм) и две фланцевые контргайки (5/16 дюйма), которые крепят опорный кронштейн перепускного отсечного клапана к креплению коллектора (вид А на Рисунок 54), снимите кронштейн отсечного клапана.

Установите болт с фланцевой головкой (5/16 x 1 дюйм) и фланцевую контргайку (5/16 дюйма) на крепление коллектора (вид B на Рисунок 54) в нижнее отверстие для кронштейна отсечного клапана, снятого при выполнении пункта 5.
Note: Сохраните другой болт с фланцевой головкой и фланцевую контргайку для последующей установки, описанной в пункте 3 раздела Установка датчика давления на машину.
Затяните фланцевый болт и фланцевую гайку с моментом от 1978 до 2542 Н∙см.
Детали, требуемые для этой процедуры:
| Расходомер (только для машин выпуска 2016 г. без системы опрыскивания ExcelaRate) – не входит в данный комплект; закажите деталь № 106-1038 по каталогу Toro. | 1 |
| Фланцевый хомут 51 мм (2 дюйма) | 1 |
| Прокладка (с наружным диаметром 1-5/16 дюйма) | 1 |
| Фланцевый штуцер типа «елочка» (1 дюйм) | 1 |
| Шланг (1 x 7¼ дюйма) | 1 |
| Шланговый хомут | 3 |
| Датчик давления (только для машин выпуска 2016 г. без системы опрыскивания ExcelaRate) – не входит в данный комплект; закажите деталь № 130-8202 по каталогу Toro. | 1 |
| Крышка штуцера с отверстием (только для машин выпуска 2016 г. без системы опрыскивания ExcelaRate) – не входит в данный комплект; закажите деталь № 127-1185 по каталогу Toro. | 1 |
| Коллектор | 1 |
| Шланг (1 x 8½ дюйма) | 1 |
| R-образный хомут | 1 |
На машинах без системы опрыскивания ExcelaRate выполните следующие действия:
Установите прокладку (2¼ дюйма), снятую при выполнении пункта 22 раздела Демонтаж соединительной трубки и переходного патрубка, между расходомером и переходным патрубком, расположенным с правой стороны главного регулирующего клапана (Рисунок 55).

Установите, не затягивая, прокладку, расходомер и переходной патрубок (Рисунок 55) при помощи фланцевого хомута 76 мм (3 дюйма), снятого при выполнении пункта 21 раздела Демонтаж соединительной трубки и переходного патрубка.
Совместите прокладку (2-1/4 дюйма) и переходной патрубок, снятые при выполнении пункта 23 раздела Демонтаж соединительной трубки и переходного патрубка, с концом расходомера, на который указывает стрелка направления (Рисунок 55).
Установите уплотнительную прокладку, расходомер и переходной патрубок (Рисунок 55) при помощи фланцевого хомута 76 мм (3 дюйма), снятого при выполнении пункта 21 раздела Демонтаж соединительной трубки и переходного патрубка.
Совместите уплотнительную прокладку (1-5/16 дюйма) и шланговый штуцер типа «елочка» с концом переходного патрубка (Рисунок 56).

Присоедините шланговый штуцер и уплотнительную прокладку к переходнику (Рисунок 56) с помощью фланцевого хомута 51 мм (2 дюйма).
Наденьте шланг (1 x 7¼ дюйма) на угловой штуцер типа «елочка» датчика давления и коллектора, как показано на Рисунок 58.

Закрепите шланг и штуцер типа «елочка» с помощью шлангового хомута (Рисунок 58).
Наденьте шланг (1 x 8½ дюйма) на другой угловой штуцер типа «елочка» датчика давления и коллектора, как показано на Рисунок 58.
Закрепите шланг и штуцер типа «елочка» с помощью шлангового хомута (Рисунок 58).
Наденьте шланг (1 x 7¼ дюйма), присоединенный датчику давления и коллектору (Рисунок 59), на фланцевый штуцер типа «елочка» (1 дюйм).

Наденьте, не затягивая, шланг на штуцер типа «елочка», закрепив шланговым хомутом (Рисунок 59).
Note: Затяжка этого шлангового хомута на левом конце шланга (1 x 7¼ дюйма) будет выполнена в пункте Установка шланга на коллектор клапанов опрыскивателя.
Прикрепите датчик давления и коллектор к пазу в креплении коллектора при помощи R-образного хомута (Рисунок 59), болта с фланцевой головкой (¼ x ¾ дюйма) и фланцевой контргайки (¼ дюйма), снятых при выполнении пункта 5 в разделе Демонтаж клапанов секций стрелы с крепления коллектора.
Детали, требуемые для этой процедуры:
| Опора крепления клапанов и клапанная сборка опрыскивателя | 1 |
| Болт (4 x 10 мм) | 4 |
| Контроллер опрыскивателя – комплект системы точного опрыскивания GeoLink (модель 41633 или модель 41634) | 1 |
| Фланцевая контргайка (4 мм) | 4 |
| Болты с фланцевыми головками (5/16 x ¾ дюйма) | 8 |
| Фланцевые контргайки (5/16 дюйма) | 8 |
| Шланговый хомут | 1 |
| Болт с фланцевой головкой (¼ x ¾ дюйма) | 2 |
| Фланцевая контргайка (¼ дюйма) | 2 |
Установите контроллер опрыскивателя на передней стороне опоры крепления клапанов так, чтобы 40-штыревой разъем был направлен наружу (Рисунок 60).

Установите контроллер опрыскивателя на опору крепления клапанов (Рисунок 60) с помощью 4 болтов (4 x 10 мм) и 4 фланцевых контргаек (4 мм).
Затяните болты и гайки с моментом от 234 до 286 Н∙см.
Грузоподъемность подъемного оборудования: 23 кг
Используя подъемное оборудование с указанной грузоподъемностью, поднимите опору крепления клапанов и клапанную сборку опрыскивателя и поместите их над средней секцией стрелы (Рисунок 61).

Совместите отверстия в монтажном кронштейне опоры крепления клапанов с отверстиями в ферменной раме средней секции стрелы (Рисунок 62).

Установите опору крепления клапанов на ферменную раму (Рисунок 62 и Рисунок 63) при помощи 4 болтов (5/16 x ¾ дюйма) и 4 фланцевых контргаек (5/16 дюйма).

Повторите действия, описанные в пунктах с 2 по 3, для другого монтажного кронштейна опоры крепления клапанов на другой ферменной раме.
Затяните болты с фланцевыми головками и фланцевые контргайки с моментом от 19,78 до 25,42 Н∙м.
Установите шланг (1 x 8½ дюйма) на прямоугольный фланцевый штуцер (1 дюйм), как показано на Рисунок 64.

Закрепите шланг на фланцевом штуцере шланговым хомутом (Рисунок 64).
Затяните шланговый хомут, который крепит шланг (1 x 7¼ дюйма) к фланцевому штуцеру типа «елочка» (1 дюйм), установленный при выполнении пункта Установка датчика давления на машину; см. Рисунок 64.
Important: Во всей оставшейся части инструкции по монтажу доводочного комплекта системы GeoLink клапан левой секции стрелы, снятый при выполнении пункта 3 раздела Демонтаж клапанов секций стрелы с крепления коллектора, обозначен как клапан сопла 8, клапан средней секции стрелы обозначен как клапан сопла 9, а клапан правой секции стрелы обозначен как клапан сопла 10.
Совместите прокладку и фланец клапана левой секции (обозначенного как клапан сопла 8) с фланцем клапана сопла 7 (Рисунок 65).

Установите, не затягивая, прокладку и клапан сопла 8 на клапан сопла 7 при помощи фланцевого хомута (Рисунок 65).
Установите клапан сопла 10 на опору крепления клапанов (Рисунок 66) при помощи двух болтов с фланцевыми головками (¼ x ¾ дюйма) и двух фланцевых контргаек (¼ дюйма), снятых при выполнении пункта 2 раздела Демонтаж клапанов секций стрелы с крепления коллектора.

Затяните болт с фланцевой головкой и контргайку с моментом от 1017 до 1234 Н∙см.
Затяните фланцевый хомут от руки.
На наружной секции стрелы перережьте шланг между двумя распылительными соплами (Рисунок 67).

Отверните фланцевую контргайку (5/16 дюйма), которая крепит распылительное сопло к опоре сопла (Рисунок 67).
Повторите действия, описанные в пунктах 2 и 6, для остальных трех сопел.
Note: При открывании зажима, от его верхней половины отделится болт с шестигранной головкой (5/16 x ¾ дюйма, нержавеющая сталь); сохраните этот болт для последующей установки.
Note: Сохраните фланцевые контргайки и распылительные сопла для последующей установки, описанной в пункте Установка распылительных сопел на наружные секции стрелы.
Note: Шланговые штуцеры типа «елочка» и отрезанные части шлангов больше не понадобятся.
Повторите пункты 2 – 3 для других наружных секций стрелы.
На средней секции стрелы перережьте шланг между двумя распылительными соплами (Рисунок 67).


Отверните фланцевую контргайку (5/16 дюйма), которая крепит распылительное сопло к опоре сопла (Рисунок 68).
Повторите действия, описанные в пунктах 2 и 6, для остальных трех сопел.
У 12 распылительных сопл, снятых с наружных и средней секций стрел, выверните винты из нержавеющей стали (№ 12 x 1¼ дюйма), которые крепят верхние половины зажимов и хвостовики двусторонних или односторонних шланговых штуцеров типа «елочка» (¾ дюйма) к корпусу каждого распылительного сопла, и снимите хвостовики шланговых штуцеров типа «елочка» (Рисунок 70).
Note: При открывании зажима от его верхней половины отделится болт с шестигранной головкой (5/16 x ¾ дюйма, нержавеющая сталь); сохраните этот болт для последующей установки.
Note: Сохраните фланцевые контргайки и распылительные сопла для последующей установки, описанной в пункте Установка распылительных сопел на наружные секции стрелы.
Note: Шланговые штуцеры типа «елочка» и отрезанные части шлангов больше не понадобятся.

Детали, требуемые для этой процедуры:
| Шланг подачи длиной 279 см | 2 |
| Шланг подачи длиной 234 см | 2 |
| Шланг подачи длиной 188 см | 4 |
| Шланг подачи длиной 81 см | 2 |
| R-образный хомут | 2 |
| Двойной R-образный хомут | 2 |
| Одинарный R-образный хомут | 2 |
Определите расположение шлангов подачи по их длине (Рисунок 71) для каждого из мест расположения распылительных сопел, как описано ниже:
| Расположение распылительных сопел — левая секция стрелы | Расположение распылительных сопел — средняя секция стрелы | Расположение распылительных сопел — правая секция стрелы |
|---|---|---|
| Распылительное сопло 1 (клапан сопла 1) — шланг подачи длиной 279 см | Распылительные сопла 5 и 6 (клапан сопла 5) – шланг подачи длиной 81 см с двумя отводными шлангами | Распылительное сопло 9 (клапан сопла 7) – шланг подачи длиной 188 см |
| Распылительное сопло 2 (клапан сопла 2) – шланг подачи длиной 234 см | Распылительные сопла 7 и 8 (клапан сопла 6) – шланг подачи длиной 81 см с двумя отводными шлангами | Распылительное сопло 10 (клапан сопла 8) – шланг подачи длиной 188 см |
| Распылительное сопло 3 (клапан сопла 3) – шланг подачи длиной 188 см | Распылительное сопло 11 (клапан сопла 9) – шланг подачи длиной 234 см | |
| Распылительное сопло 4 (клапан сопла 4) – шланг подачи длиной 188 см | Распылительное сопло 12 (клапан сопла 10) – шланг подачи длиной 279 см |
Note: Расположения клапанов сопел см. на Рисунок 72 в разделе Подсоединение шлангов к клапанам сопел с 1 по 4, на Рисунок 73 в разделе Подсоединение шлангов к клапанам сопел 5 и 6 и на Рисунок 74 в разделе Подсоединение шлангов к клапанам сопел с 7 по 10.

Установите прямой штуцер типа «елочка» шланга подачи длиной 279 см на соединительную муфту клапана сопла 1 (Рисунок 72).
Note: Убедитесь, что штуцер типа «елочка» полностью установлен на соединительную муфту.

Прикрепите штуцер типа «елочка» к соединительной муфте с помощью держателя (Рисунок 72).
Установите прямой штуцер типа «елочка» шланга подачи длиной 234 см на соединительную муфту клапана сопла 2 (Рисунок 72).
Note: Убедитесь, что штуцер типа «елочка» полностью установлен на соединительную муфту.
Прикрепите штуцер типа «елочка» к соединительной муфте с помощью держателя (Рисунок 72).
Установите прямой штуцер типа «елочка» шланга подачи длиной 188 см на соединительную муфту клапана сопла 3 (Рисунок 72).
Note: Убедитесь, что штуцер типа «елочка» полностью установлен на соединительную муфту.
Прикрепите штуцер типа «елочка» к соединительной муфте с помощью держателя (Рисунок 72).
Установите прямой штуцер типа «елочка» шланга подачи длиной 188 см на соединительную муфту клапана сопла 4 (Рисунок 72).
Note: Убедитесь, что штуцер типа «елочка» полностью установлен на соединительную муфту.
Прикрепите штуцер типа «елочка» к соединительной муфте с помощью держателя (Рисунок 72).
Note: У шланга подачи длиной 81 см в сборе имеется тройник с двумя шлангами-ответвлениями и двумя хвостовиками односторонних шланговых штуцеров типа «елочка».
Установите прямой штуцер типа «елочка» шланга подачи длиной 81 см на соединительную муфту клапана сопла 5 (Рисунок 73).
Note: Убедитесь, что штуцер типа «елочка» полностью установлен на соединительную муфту.

Прикрепите штуцер типа «елочка» к соединительной муфте с помощью держателя (Рисунок 73).
Установите прямой штуцер типа «елочка» шланга подачи длиной 81 см на соединительную муфту клапана сопла 6 (Рисунок 73).
Note: Убедитесь, что штуцер типа «елочка» полностью установлен на соединительную муфту.
Прикрепите штуцер типа «елочка» к соединительной муфте с помощью держателя (Рисунок 73).
Установите прямой штуцер типа «елочка» шланга подачи длиной 188 см на соединительную муфту клапана сопла 7 (Рисунок 74).
Note: Убедитесь, что штуцер типа «елочка» полностью установлен на соединительную муфту.

Прикрепите штуцер типа «елочка» к соединительной муфте с помощью держателя (Рисунок 74).
Установите прямой штуцер типа «елочка» шланга подачи длиной 188 см на соединительную муфту клапана сопла 8 (Рисунок 74).
Note: Убедитесь, что штуцер типа «елочка» полностью установлен на соединительную муфту.
Прикрепите штуцер типа «елочка» к соединительной муфте с помощью держателя (Рисунок 74).
Установите прямой штуцер типа «елочка» шланга подачи длиной 234 см на соединительную муфту клапана сопла 9 (Рисунок 74).
Note: Убедитесь, что штуцер типа «елочка» полностью установлен на соединительную муфту.
Прикрепите штуцер типа «елочка» к соединительной муфте с помощью держателя (Рисунок 74).
Установите прямой штуцер типа «елочка» шланга подачи длиной 279 см на соединительную муфту клапана сопла 10 (Рисунок 74).
Note: Убедитесь, что штуцер типа «елочка» полностью установлен на соединительную муфту.
Прикрепите штуцер типа «елочка» к соединительной муфте с помощью держателя (Рисунок 74).
Проложите шланги подачи распылительных сопел 1, 2, 3 и 4 через R-образный хомут в левом наружном конце средней секции стрелы (Рисунок 75 и Рисунок 76).


Проложите шланги подачи распылительных сопел 7, 8, 9 и 10 через R-образный хомут в правом наружном конце средней секции стрелы (Рисунок 75 и Рисунок 76).
Проложите шланги подачи длиной 279 см и хвостовики шланговых штуцеров типа «елочка» (¾ дюйма) вдоль секции стрелы к распылительным соплам 1 и 10, как показано на Рисунок 75 и Рисунок 76.
Проложите шланги подачи длиной 234 см и хвостовики шланговых штуцеров типа «елочка» (¾ дюйма) вдоль секции стрелы к распылительным соплам 2 и 9 вдоль секции стрелы, как показано на Рисунок 75 и Рисунок 76.
Проложите шланги подачи длиной 188 см и хвостовики шланговых штуцеров типа «елочка» (¾ дюйма) вдоль секции стрелы к распылительным соплам 3 и 8, как показано на Рисунок 75 и Рисунок 76.
Note: Проложите шланги сквозь нижние задние втулки в кронштейнах трубчатой рамы.
Проложите шланги подачи длиной 188 см и хвостовики шланговых штуцеров типа «елочка» (¾ дюйма) вдоль секции стрелы к распылительным соплам 4 и 7, как показано на Рисунок 75 и Рисунок 76.
Note: Проложите шланги сквозь нижние задние втулки в кронштейнах трубчатой рамы.
Соедините 4 шланга распылительных сопел в пучок с помощью кабельной стяжки, как показано на Рисунок 76.
Возьмите распылительное сопло, снятое при выполнении пункта Демонтаж шлангов распылительных сопел в системе с тремя секциями, и совместите трубу для перекачивания в опоре сопла (Рисунок 77) с отверстием в боковой части хвостовика одностороннего шлангового штуцера типа «елочка» (½ дюйма).

Установите верхнюю половину зажима поверх хвостовика штуцера типа «елочка» и закрепите половину зажима и корпус распылительного сопла (Рисунок 77) с помощью винта из нержавеющей стали (12 x 1¼ дюйма); затяните винт из нержавеющей стали с моментом от 226 до 282 Н∙м.
Note: При закрывании зажима убедитесь, что в углублении верхней половины зажима установлен болт с шестигранной головкой (5/16 x ¾ дюйма).
Установите распылительные сопла на наружные секции стрелы следующим образом:
В положениях сопел 1 и 4 установите распылительное сопло на крепление сопла (вид A на Рисунок 78) при помощи фланцевой контргайки (5/16 дюйма), снятой при выполнении пункта 2 раздела Демонтаж шлангов распылительных сопел в системе с тремя секциями.
В положениях сопел 2 и 3 установите распылительное сопло на крепление сопла (вид A и B на Рисунок 78) при помощи фланцевой контргайки (5/16 дюйма), снятой при выполнении пункта 2 раздела Демонтаж шлангов распылительных сопел в системе с тремя секциями.

Затяните фланцевую контргайку с моментом от 1978 до 2542 Н∙см.
Повторите пункты 1–4 для других распылительных сопел секции стрелы.
Повторите пункты 1–5 для наружной секции стрелы с другой стороны машины.
Убедитесь, что шланги и соединители типа «елочка» 13 x 810 мм (½ x 32 дюйма) совмещены с передней частью средней секции стрелы между левым и правым опорными кронштейнами средней секции.
Проложите шланг диаметром 13 мм (10 дюймов) и хвостовик шлангового штуцера типа «елочка» между скобами наружной фермы (Рисунок 79).


Проложите шланг и хвостовик шлангового штуцера типа «елочка» над скобой фермы и наружу к наружному креплению сопла (Рисунок 79).
Проложите шланг диаметром 13 мм (10 дюймов) и хвостовик шлангового штуцера типа «елочка» между скобами внутренней фермы (Рисунок 79).
Проложите шланг и хвостовик шлангового штуцера типа «елочка» над скобой фермы и внутрь к внутреннему креплению сопла (Рисунок 79).
Повторите пункты 2–7 для другого шланга подачи в сборе с соплом на другой наружной ферме (Рисунок 79 и Рисунок 82).
Проложите шланг и соединитель типа «елочка» 13 x 810 мм (½ x 32 дюйма) к боковой части средней секции стрелы при помощи левого и правого опорных кронштейнов секции стрелы (Рисунок 79).
Возьмите распылительные сопла, снятые при выполнении пункта Демонтаж шлангов распылительных сопел в системе с тремя секциями, и выверните винты из нержавеющей стали, которые крепят верхние половины зажимов к опорам (Рисунок 80).

Найдите отверстие в боковой части хвостовика одностороннего шлангового штуцера типа «елочка», установленного в конце шланга длиной 25 см, входящего в состав шлангового узла (клапан опрыскивателя 5 или 6), для средней секции стрелы (Рисунок 80 и Рисунок 81).

Совместите трубу для перекачивания в опоре распылительного сопла (Рисунок 80) с отверстием в боковой части хвостовика одностороннего шлангового штуцера типа «елочка» (½ дюйма).
Установите верхнюю половину зажима поверх хвостовика штуцера типа «елочка» и закрепите половину зажима и корпус распылительного сопла (Рисунок 80) с помощью винта из нержавеющей стали (№ 12 x 1¼ дюйма); затяните винт из нержавеющей стали с моментом от 226 до 282 Н∙м.
Important: Не затягивайте винт из нержавеющей стали с моментом больше, чем указано в пункте 4.
Note: При закрывании зажима убедитесь, что в углублении верхней половины зажима установлен болт с шестигранной головкой (5/16 x ¾ дюйма).
Повторите пункты с 2 по 4 для хвостовиков односторонних штуцеров типа «елочка» других узлов шлангов (клапаны опрыскивателя 5 или 6) в средней секции стрелы (Рисунок 80 и Рисунок 81).
Вставьте болт с шестигранной головкой (5/16 x ¾ дюйма) распылительного сопла в отверстие крепления сопла (Рисунок 82) и установите, не затягивая, сопло на крепление при помощи фланцевой контргайки (5/16 дюйма), снятой при выполнении пунктов 1 или 4 раздела Демонтаж шлангов распылительных сопел в системе с тремя секциями.

Повторите пункт 1 для трех других распылительных сопел средней секции стрелы.
Затяните фланцевые контргайки с моментом от 1978 до 2542 Н∙см.
Детали, требуемые для этой процедуры:
| Задний жгут проводов | 1 |
| Кабельная стяжка | 3 |
Найдите ответвления длиной 165 см и 203 см от нового жгута электропроводов (Рисунок 83).

Проложите ответвления длиной 165 см и 203 см нового жгута электропроводов между опорой крепления для 10 клапанов опрыскивателя и правой опорой для крепления коллектора (Рисунок 84).

Проложите ответвление длиной 165 см и ответвление длиной 203 см нового жгута электропроводов вперед, вдоль правой трубы рамы (Рисунок 85).

Вставьте вставные держатели ответвления длиной 203 см заднего жгута проводов в отверстия в правой трубе рамы (Рисунок 85), из которых были извлечены вставные держатели старого жгута проводов; см. пункт 3 в разделе Отсоединение переднего и заднего жгутов проводов.
Note: При подсоединении переднего и заднего жгутов проводов используйте подъемник для машины.
Находясь под машиной, под правой трубой рамы найдите электрические разъемы переднего и заднего жгутов проводов машины (Рисунок 86).

Подсоедините 10-гнездовой разъем переднего жгута проводов для промежуточного соединения жгута проводов опрыскивателя к 10-штыревому разъему заднего жгута проводов для промежуточного соединения жгута проводов опрыскивателя (Рисунок 87).

Вставьте 8-штыревой разъем переднего жгута проводов для промежуточного соединения жгута проводов опрыскивателя в 8-гнездовой разъем заднего жгута проводов для переключателя интенсивности опрыскивания (Рисунок 88).

Вставьте 2-штыревой разъем переднего жгута проводов для промывочного насоса в 2-гнездовой разъем заднего жгута проводов для промывочного насоса (Рисунок 89).

Вставьте 2-штыревой разъем переднего жгута проводов для питания шлангового барабана в 2-гнездовой разъем заднего жгута проводов для питания шлангового барабана (Рисунок 90).

Вставьте 10-штыревой разъем переднего жгута проводов для промежуточного соединения жгута проводов опрыскивателя в 10-гнездовой разъем заднего жгута проводов для промежуточного соединения жгута проводов опрыскивателя (Рисунок 91).

Чтобы облегчить подсоединение электропроводов для навигации и жгута проводов передачи данных, убедитесь в том, что 1-гнездовой разъем заднего жгута проводов и 4-гнездовой разъем заднего жгута проводов совмещены с верхней частью жгута (Рисунок 92).

Прикрепите реле прерывания насоса на заднем жгуте проводов к правой опоре опорного уголка сиденья (Рисунок 93).


Проложите трубку датчика давления для манометра на приборной панели вдоль заднего жгута проводов машины (Рисунок 94).

Прикрепите трубку датчика давления к заднему жгуту проводов с помощью трех кабельных стяжек, расположенных рядом с тремя вставными держателями в точках крепления на шасси, предназначенных для заднего жгута проводов (Рисунок 94).
Important: Не пережимайте и не сдавливайте трубку датчика давления; затяните кабельные стяжки ровно с таким усилием, которое необходимо для удерживания трубки.
Совместите отверстия в монтажном кронштейне для блока управления двигателем с отверстием в опорном кронштейне двигателя и в дополнительном картере двигателя (Рисунок 95).


Установите монтажный кронштейн на двигатель при помощи трех болтов с фланцевыми головками и одной фланцевой гайки, снятых при выполнении пункта 1 раздела Демонтаж блока управления двигателем и монтажного кронштейна (для моделей машин с бензиновым двигателем), затяните болты и гайки от руки.
Выровняйте кожух ходовой части относительно нижнего шасси машины (Рисунок 96).


Наденьте передние монтажные фланцы кожуха ходовой части на болты и каретный болт монтажных кронштейнов двигателя на машине (Рисунок 96).
Установите кожух ходовой части на монтажные кронштейны двигателя и болты (Рисунок 96) с помощью 4 фланцевых контргаек (5/16 дюйма), снятых при выполнении пункта 2 раздела Демонтаж кожуха ходовой части.
Совместите отверстия в задней части кожуха ходовой части с отверстиями в шасси (Рисунок 97).

Присоедините заднюю часть кожуха ходовой части к шасси (Рисунок 97) с помощью крепежных деталей, снятых при выполнении пункта 1 раздела Демонтаж кожуха ходовой части, следующим образом:
Машины выпуска 2016 г. – 7 болтов с фланцевыми головками (5/16 x ⅞ дюйма) и 7 шайб (5/16 дюйма)
Машины выпуска 2017 г. и позднее – 5 болтов с фланцевыми головками (5/16 x ⅞ дюйма) и 5 шайб (5/16 дюйма)
Затяните гайки и болты с моментом от 1129 до 1582 Н∙см.
Детали, требуемые для этой процедуры:
| Кабельная стяжка | 3 |
Проложите ответвление жгута проводов длиной 203 см внутри опорного штока крепления клапанов и назад в сторону крепления для 10 клапанов, как показано на Рисунок 98.

Через переднюю часть крепления коллектора проложите ответвление жгута проводов длиной 81 см для расходомера и клапана перемешивания (Рисунок 98).
Вставьте вставные держатели ответвления жгута проводов длиной 81 см в отверстия нижнего фланца крепления коллектора (Рисунок 98).
Проложите ответвление жгута проводов длиной 203 см через заднюю часть опоры крепления 10 клапанов так, чтобы 10 разъемов для клапанов сопел были направлены назад и находились под клапанами (Рисунок 99).

Вставьте вставные держатели ответвления длиной 203 см жгута проводов в отверстия нижнего фланца опоры крепления 10 клапанов (Рисунок 99).
Проложите от жгута проводов ответвление длиной 86 см для электромагнита насоса опрыскивателя через верхнюю часть швеллера рамы опрыскивателя и вниз к электромагниту насоса опрыскивателя (Рисунок 100).

Вставьте вставной держатель ответвления длиной 86 см жгута проводов в отверстие швеллера рамы опрыскивателя (Рисунок 100).
Проложите разъемы ответвления жгута проводов длиной 203 см, имеющие маркировку Flow Meter (Расходомер) и Pressure Transducer (Датчик давления), позади крепления коллектора (Рисунок 101).

Подсоедините 3-гнездовой разъем ответвления жгута проводов длиной 203 см для расходомера (без маркировки) к 3-штыревому соединителю жгута проводов расходомера (Рисунок 101).
Подсоедините 3-гнездовой разъем ответвления жгута проводов длиной 203 см для датчика давления (с маркировкой Pressure Transducer) к 3-штыревому разъему жгута проводов датчика давления (Рисунок 101).
Приложите магнитные фиксаторы жгута проводов расходомера и датчика давления к поверхности крепления коллектора (Рисунок 101).
Проложите 3-штыревой разъем жгута проводов клапана перемешивания впереди крепления коллектора (Рисунок 102).

Подсоедините 3-штыревой разъем жгута проводов клапана перемешивания к 3-гнездовому разъему с маркировкой Agitation Valve (Клапан перемешивания) (Рисунок 103) ответвления жгута проводов длиной 203 см.

В нижней части коллектора подъемного цилиндра подсоедините 2-гнездовой разъем заднего жгута проводов с маркировкой Enable Solenoid (Электромагнит включения) к 2-штыревому разъему электромагнита включения (Рисунок 104 и Рисунок 105).


В месте расположения нижнего правого электромагнита подсоедините 2-гнездовой разъем с маркировкой Right Down (Опускание правого цилиндра) заднего жгута проводов к 2-штыревому разъему электромагнита опускания правого цилиндра (Рисунок 104 и Рисунок 105).
В месте расположения верхнего правого электромагнита подсоедините 2-гнездовой разъем с маркировкой Right Up (Подъем правого цилиндра) заднего жгута проводов к 2-штыревому разъему электромагнита подъема правого цилиндра (Рисунок 104 и Рисунок 105).
В месте расположения нижнего левого электромагнита подсоедините 2-гнездовой разъем с маркировкой Left Down (Опускание левого цилиндра) заднего жгута проводов к 2-штыревому разъему электромагнита опускания левого цилиндра (Рисунок 104 и Рисунок 105).
В месте расположения верхнего левого электромагнита подсоедините 2-гнездовой разъем с маркировкой Left Up (Подъем левого цилиндра) заднего жгута проводов к 2-штыревому разъему электромагнита подъема левого цилиндра.
Проложите 3-гнездовые разъемы с маркировкой от Nozzle Valve 1 (Клапан сопла 1) по Nozzle Valve 5 (Клапан сопла 5) ответвления длиной 203 см жгута проводов в сторону задней части опоры крепления 10 клапанов и под клапанами сопел с 1 по 5 (Рисунок 106).

Проложите 3-гнездовые разъемы с маркировкой от Nozzle Valve 6 (Клапан сопла 6) по Nozzle Valve 10 (Клапан сопла 10) ответвления жгута проводов длиной 203 см в сторону задней части опоры крепления 10 клапанов и под клапанами сопел с 6 по 10 (Рисунок 106).
Подсоедините 3-гнездовой разъем с маркировкой Nozzle 1 (Сопло 1) заднего жгута проводов к 3-штыревому разъему жгута проводов клапана сопла 1 (Рисунок 106).
Important: Очень важно правильно подсоединить каждый маркированный 3-гнездовой разъем заднего жгута проводов к соответствующему 3-штыревому разъему на каждом клапане сопла.
Повторите пункт 3 для клапанов сопел с 2 по 10 (Рисунок 106).
В задней части машины, во внутренней зоне насоса опрыскивателя подсоедините 2-гнездовой разъем с маркировкой Spray Pump Solenoid (Электромагнит насоса опрыскивателя) ответвления жгута проводов длиной 86 см к 2-штыревому разъему реле насоса (Рисунок 107).

В задней части машины (между правой трубой рамы и правым крылом) подсоедините 3-штыревой разъем жгута проводов датчика скорости на правом тяговом гидромоторе к 3-гнездовому разъему (без маркировки) главного заднего жгута проводов (Рисунок 108).

Проложите ответвление жгута проводов длиной 165 см вверх и внутрь задней части отсека двигателя вдоль правой опоры кожуха двигателя — передней части воздуховода, который соединяет воздушный фильтр с двигателем (Рисунок 109).
Note: Ответвление заднего жгута проводов длиной 165 см будет закреплено при выполнении действий, описанных в разделе Прокладка жгута проводов передачи навигационных данных и электропроводов к аккумулятору.

Проложите ответвление жгута проводов длиной 165 см через угловую часть опоры сиденья и вниз вдоль левой опоры кожуха двигателя (Рисунок 110).
Note: Ответвление заднего жгута проводов длиной 165 см будет закреплено при выполнении действий, описанных в разделе Прокладка жгута проводов передачи навигационных данных и электропроводов к аккумулятору.

Проложите ответвление жгута проводов длиной 165 см вниз вдоль левой опоры кожуха двигателя и под левой трубкой рамы (Рисунок 111).
Note: Ответвление заднего жгута проводов длиной 165 см будет закреплено при выполнении действий, описанных в разделе Прокладка жгута проводов передачи навигационных данных и электропроводов к аккумулятору.

Проложите ответвление длиной 165 см жгута проводов с предохранителем на 50 А и с положительной/отрицательной круглыми клеммами к верхней части аккумуляторной батареи (Рисунок 111).
Note: Установка круглых клемм будет завершена при выполнении действий, описанных в разделе Подсоединение заднего жгута проводов GeoLink, жгута проводов передачи навигационных данных и электропроводов и жгута проводов питания модема к кабелям аккумулятора.
Наклоните сиденье водителя вперед и вставьте опорную стойку сиденья в фиксатор канала консоли.
Выверните 5 болтов с фланцевыми головками (¼ x ¾ дюйма), которые крепят крышку с левой стороны центральной консоли (Рисунок 112).

Снимите крышку центральной консоли (Рисунок 113).
Note: Если необходимо, при снятии крышки центральной консоли наклоните сиденье водителя вниз.

Проложите ответвление заднего жгута проводов длиной 81 см вдоль переднего жгута проводов и вверх сквозь уплотнительную втулку канала консоли (Рисунок 114).

Проложите ответвление заднего жгута проводов длиной 81 см вперед, вдоль переднего жгута проводов и сквозь уплотнительную втулку в задней части центральной консоли (Рисунок 114).
Нажмите на защелку 8-гнездового разъема на переключателе насоса опрыскивателя и отделите разъем от переключателя (Рисунок 115).

Расположите 8-гнездовой разъем таким образом, чтобы можно было видеть заднюю часть разъема, а защелка находилась в верхнем положении (Рисунок 116).


Вставьте клемму на конце ответвления заднего жгута проводов длиной 81 см в место расположения клеммы № 4 8-гнездового разъема (Рисунок 116).
Note: Проверьте, чтобы защелка клеммы была надежно зафиксирована в 8-гнездовом разъеме.
Подсоедините 8-гнездовой разъем жгута проводов к 8-штыревому разъему переключателя насоса опрыскивателя (Рисунок 117).

Прикрепите ответвление заднего жгута проводов длиной 81 см к переднему жгуту проводов машины, как показано на Рисунок 117.

Совместите крышку, снятую при выполнении пункта 3 в разделе Прокладка жгута проводов для отсечного контура насоса опрыскивателя, с левой стороной центральной консоли (Рисунок 119).

Установите крышку центральной консоли с помощью 5 болтов с фланцевыми головками (¼ x ¾ дюйма), снятых при выполнении пункта 2 раздела Прокладка жгута проводов для отсечного контура насоса опрыскивателя, и затяните болты с моментом от 520 до 678 Н∙см.
Детали, требуемые для этой процедуры:
| Крепление приемника | 1 |
| U-образный болт | 2 |
| Фланцевая контргайка (3/8 дюйма) | 4 |
| Кронштейн антенны модема | 1 |
| Болт с шестигранной головкой (5 x 16 мм) | 3 |
| Шайба (5 мм) | 3 |
| Навигационный приемник – комплект системы точного опрыскивания GeoLink (модель 41633 или модель 41634) | 1 |
Совместите паз в центре крепления приемника со сварным швом на осевой линии трубы конструкции защиты оператора при опрокидывании машины (ROPS) (Рисунок 123).
Note: Убедитесь, что фланец большего размера с двумя отверстиями находится позади трубы конструкции ROPS, а фланец меньшего размера с одним отверстием находится впереди нее.

Установите крепление приемника на трубу конструкции ROPS (Рисунок 124) с помощью 2 U-образных болтов и 4 фланцевых контргаек (⅜ дюйма).

Затяните гайки с моментом от 37 до 45 Н∙м.
Установите навигационный приемник на крепление следующим образом:
Совместите три резьбовых отверстия в основании навигационного приемника с тремя отверстиями в креплении приемника (Рисунок 125).

Совместите отверстие и паз в кронштейне антенны модема с отверстиями в креплении приемника (Рисунок 125).
Установите навигационный приемник и кронштейн антенны на крепление (Рисунок 125) с помощью 3 болтов с шестигранными головками (5 x 16 мм) и 3 шайб (5 мм).
Затяните 3 болта с моментом от 576 до 712 Н∙см.
Детали, требуемые для этой процедуры:
| Антенна модема – комплект системы точного опрыскивания GeoLink (модель 41633 или модель 41634) | 1 |
| Кабельные стяжки – комплект системы точного опрыскивания GeoLink (модель 41633 или модель 41634) | 7 |
Очистите поверхность кронштейна антенны модема от всей консистентной смазки или масла.
Снимите защитную пленку с двусторонней облицовки с клеящим покрытием в нижней части антенны модема (Рисунок 126).

Прикрепите антенну модема к верхней части ее кронштейна, как показано на Рисунок 126.
Закрепите кронштейн антенны 3 кабельными стяжками, как показано на Рисунок 127.

Прикрепите жгут проводов антенны модема к кронштейну, как показано на Рисунок 127.
Проложите жгут проводов антенны модема направо вдоль защитной дуги (Рисунок 128).

Проложите жгут проводов вниз и вперед, как показано на Рисунок 128.
Жгут проводов антенны модема будет прикреплен к защитной дуге при выполнении действий, описанных в разделе Прокладка и подсоединение кабеля передачи данных к навигационному приемнику.
Детали, требуемые для этой процедуры:
| Монитор опрыскивателя X25 – комплект системы точного опрыскивания GeoLink (модель 41633 или модель 41634) | 1 |
| Полосы с клеящим покрытием | 2 |
| Резьбовой переходник | 1 |
| Кожух дисплея | 1 |
Очистите верхнюю поверхность дисплея опрыскивателя X25, протерев ее чистой ветошью со спиртом.
Снимите защитную пленку с двух полос с клеящим покрытием.
В верхней части монитора опрыскивателя приложите полосы к монитору опрыскивателя, как показано на Рисунок 129.

Плотно прижмите полосы с клеящими покрытиями к верхней части монитора.
В задней части монитора опрыскивателя выверните верхнюю контргайку (5 мм) с резьбового стержня для шарового шарнира, при этом следует убедиться, что 2 разъема (26 контактов) были направлены вниз (вид А на Рисунок 130).

Нанесите слой стопорящего состава для резьбы (с умеренно высокой степенью фиксации) на резьбу гайки переходника (Рисунок 131).

Наверните переходник на резьбовой стержень крепления шарового шарнира (вид B на Рисунок 130) и затяните переходник с моментом 250 Н∙см.
Нанесите слой стопорящего состава (с умеренно высокой степенью фиксации) на резьбу стержневой части переходника (Рисунок 131).
Снимите защитную пленку с 2 полос с клеящим покрытием, приклеенных при выполнении раздела Приклеивание полос с клеящим покрытием к монитору опрыскивателя.
Совместите отверстие в кожухе дисплея со стержневой частью резьбового переходника (вид B на Рисунок 130).
Установите кожух на монитор (вид C на Рисунок 130) при помощи контргайки (5 мм), снятой при выполнении пункта 1.
Note: Нажмите вниз на поверхности в верхней части кожуха, под которыми находятся полосы с клеящим покрытием.
Затяните гайку с моментом 250 Н∙см.
Детали, требуемые для этой процедуры:
| Шаровая опора – комплект системы точного опрыскивания GeoLink (модель 41633 или модель 41634) | 1 |
| Стойка монитора – комплект системы точного опрыскивания GeoLink (модель 41633 или модель 41634) | 1 |
| Усиливающий кронштейн | 1 |
| Болт с фланцевой головкой (¼ x 1½ дюйма) | 4 |
| Шайба (¼ дюйма) | 4 |
| Фланцевая контргайка (¼ дюйма) | 4 |
Отверните 2 винта с плоскоконическими головками и крестообразными шлицами (¼ x 1 дюйм) и контргайку (¼ дюйма), которые крепят кронштейн капота к приборной панели (Рисунок 133).

Снимите 2 гайки с зажимами (¼ дюйма) с кронштейна капота (Рисунок 133).
Note: Сохраните винты с плоскоконическими головками и крестообразными шлицами, фланцевую контргайку и гайки с зажимами; удалите в отходы кронштейн капота.
Установите на усиливающий кронштейн гайки с зажимами, снятые при выполнении действий, описанных в разделе Снятие кронштейна капота, как показано на Рисунок 134.

Установите опору шарового шарнира на приборную панель при помощи 4 болтов с фланцевыми головками (¼ x 1-½ дюйма), усиливающей пластины и фланцевой контргайки (¼ дюйма), как показано на Рисунок 135.

Установите, не затягивая, усиливающую пластину на 4 болта с фланцевыми головками (¼ x 1½ дюйма), закрепив 4 контргайками (¼ дюйма), как показано на Рисунок 136.

Установите, не затягивая, усилитель с помощью 2 винтов с плоскоконическими головками и крестообразными шлицами (¼ x 1 дюйм) и фланцевой контргайки (¼ дюйма), снятых при выполнении действий, описанных в разделе Снятие кронштейна капота.
Затяните болты с фланцевыми головками, винты с плоскоконическими головками и крестообразными шлицами и фланцевую контргайку с моментом от 1163 до 1435 Н∙см.
Ослабьте ручку стойки монитора так, чтобы можно было ввести в гнезда стойки монитора оба шаровых шарнира – для крепления стойки к задней части монитора и к приборной панели (Рисунок 137).

Находясь на сиденье водителя (левом сиденье), отрегулируйте положение монитора опрыскивателя так, чтобы было хорошо видно экран дисплея (Рисунок 137).
Затяните ручку стойки монитора от руки (Рисунок 137).
Детали, требуемые для этой процедуры:
| Жгут передачи данных и электропроводов – комплект системы точного опрыскивания GeoLink (модель 41633 или модель 41634) | 1 |
| Кабельная стяжка – комплект системы точного опрыскивания GeoLink (модель 41633 или модель 41634) | 8 |

Проложите ответвление длиной 302 см жгута проводов передачи данных в правую часть двигательного отсека (рядом с воздушным фильтром двигателя) и назад под нижней правой частью заднего кожуха двигателя (Рисунок 139).

Проложите ответвление длиной 302 см жгута проводов передачи данных вдоль правой трубы конструкции ROPS так, чтобы 12-гнездовой разъем (серый) и 12-гнездовой разъем (черный) были направлены вверх, в сторону навигационного приемника (Рисунок 140).

Совместите 2 контрольные точки на длинной лицевой стороне 12-гнездового разъема жгута проводов передачи данных, обозначенного с 2 контрольными пазами в нижней горизонтальной стенке левого (серого) 12-штыревого разъема навигационного приемника (Рисунок 141).
Note: Будьте внимательны при подсоединении жгута проводов к навигационному приемнику; выступы для совмещения разъемов жгута проводов подходят только к ответным пазам штыревых разъемов навигационного приемника.

Вставьте разъем жгута проводов передачи данных в левый (серый) 12-штыревой разъем навигационного приемника так, чтобы разъемы надежно зафиксировались со щелчком (Рисунок 141).
Совместите 2 ключевые точки на короткой стороне 12-гнездового разъема жгута проводов передачи данных с маркировкой с 2 контрольными пазами в левой вертикальной стенке правого (черного) 12-штыревого разъема навигационного приемника (Рисунок 141).
Note: Будьте внимательны при подсоединении жгута проводов к навигационному приемнику; выступы для совмещения разъемов жгута проводов подходят только к ответным пазам штыревых разъемов навигационного приемника.
Вставьте разъем жгута проводов передачи данных в правый (черный) 12-штыревой разъем навигационного приемника так, чтобы соединители надежно зафиксировались со щелчком (Рисунок 141).
Прикрепите ответвление длиной 302 см жгута проводов передачи данных к правой трубе конструкции ROPS с помощью кабельных стяжек, как показано на Рисунок 140.
Note: Обеспечьте провисание кабеля между 12-гнездовыми разъемами и кабельной стяжкой.
Проложите ответвление длиной 302 см электрического жгута проводов передачи данных (Рисунок 142) с 4-штыревым разъемом с маркировкой (шина CAN 2 ASC 10), вниз в зону, в которой соединяются передний и задний жгуты проводов машины; см. Рисунок 92 в Подсоединение переднего и заднего жгутов проводов.

Проложите ответвление длиной 34 см жгута проводов передачи данных (Рисунок 142) с 4-штыревым разъемом с маркировкой (шина CAN 2 ASC 10) вниз в зону, в которой соединяются передний и задний жгуты проводов машины; см. Рисунок 92 в Подсоединение переднего и заднего жгутов проводов.
Вставьте 4-штыревой разъем ответвления жгута проводов передачи данных с маркировкой (шина CAN 2 ASC 10) в 4-гнездовой разъем заднего жгута проводов GeoLink, предназначенный для контура CAN 2 / контроллера опрыскивателя (Рисунок 143).

Снимите оконечный резистор с 6-гнездового разъема кабеля передачи данных, как показано на Рисунок 144.
Note: Оконечный резистор больше не понадобится.

Проложите ответвление питания длиной 270,5 см жгута проводов передачи навигационных данных и электропроводов через угловую часть опоры сиденья и вниз вдоль левой опоры кожуха двигателя (Рисунок 145).

Прикрепите жгут проводов к опоре кожуха двигателя с помощью кабельных стяжек (Рисунок 145).
Проложите ответвление питания длиной 270,5 см вдоль левой опоры кожуха двигателя и под левой трубой рамы (Рисунок 146),

Прикрепите жгут проводов к отверстию в угловой части опоры сиденья и опоре кожуха двигателя с помощью трех кабельных стяжек (Рисунок 146 и Рисунок 147).

Проложите ответвление длиной 220 см с предохранителем на 10 А и положительной/отрицательной круглыми клеммами жгута электропроводов для системы навигации к верхней части аккумулятора (Рисунок 147).
Note: Установка круглых клемм будет завершена при выполнении действий, описанных в разделе Прокладка жгута проводов передачи навигационных данных и электропроводов к аккумулятору.
В правой стороне отсека двигателя проложите ответвление длиной 226 см жгута проводов передачи данных для монитора опрыскивателя вдоль передней части воздушного фильтра двигателя и вниз в направлении нижнего правого угла радиатора (Рисунок 148).

Проложите ответвление длиной 226 см жгута проводов передачи данных вперед и через 2 R-образных хомута в нижней части машины (Рисунок 148).
Проложите ответвление длиной 226 см жгута проводов передачи данных вперед и вверх через уплотнительную втулку в отверстии панели пола (Рисунок 149).

Прикрепите ответвление жгута проводов передачи данных длиной 226 см к переднему жгуту проводов машины с помощью 3 кабельных стяжек.
Проложите ответвление длиной 226 см жгута проводов передачи данных вверх и вдоль переднего жгута проводов машины (Рисунок 149).
Проложите ответвление длиной 226 см жгута проводов передачи данных вверх через уплотнительную втулку в отверстии приборной панели (Рисунок 150).

Совместите 26-гнездовой разъем жгута проводов передачи данных с 26-штыревым разъемом монитора опрыскивателя и вставьте гнездовой разъем в штыревой разъем с нажатием до срабатывания защелки и надежной фиксации соединения (Рисунок 150).
Прикрепите ответвление длиной 226 см жгута проводов передачи данных к стойке монитора кабельной стяжкой (Рисунок 150).
Детали, требуемые для этой процедуры:
| Жгут проводов питания модема – 1850 мм – комплект системы точного опрыскивания GeoLink (модель 41633 или модель 41634) | 1 |
| Кабельные стяжки – комплект системы точного опрыскивания GeoLink (модель 41633 или модель 41634) | 5 |
Проложите между кронштейном топливного бака и правым передним крылом плоский разъем (с маркировкой ) и 2 круглые клеммы (с маркировкой и ) жгута проводов питания модема под рамой машины (Рисунок 151).

На внутренней стороне правой опоры сиденья проложите жгут проводов питания модема вперед и разъем жгута проводов питания с маркировкой RS232 вдоль жгута проводов машины (Рисунок 152).
Note: Разъем с маркировкой RS232 не используется.


Проложите жгут проводов питания модема через верхнюю часть радиатора, вдоль жгута проводов машины (Рисунок 153).


Вставьте клемму жгута проводов питания модема с маркировкой в гнездовой разъем питания вспомогательных устройств блока предохранителей (Рисунок 154).
Note: Если в блоке предохранителей вашей машины нет контура питания вспомогательных устройств, установите дополнительный блок предохранителей для вспомогательных устройств; обратитесь к официальному дистрибьютору компании Toro.

Вставьте предохранитель (10 А) в гнездо блока предохранителей (Рисунок 155) контура питания вспомогательных устройств, которое вы использовали при выполнении пункта 1.

Прикрепите ответвление коммутируемого питания и заземления жгута проводов из комплекта к жгуту проводов машины с помощью 5 кабельных стяжек.
Проложите круглые клеммы жгута проводов с маркировкой и , назад и над опорой сиденья (Рисунок 156).

Проложите круглые клеммы под левой трубой рамы и поперек верхней части аккумулятора (Рисунок 156).
Note: Круглые клеммы будут подсоединены к кабелям аккумулятора при выполнении действий, описанных в разделе Подсоединение заднего жгута проводов GeoLink, жгута проводов передачи навигационных данных и электропроводов и жгута проводов питания модема к кабелям аккумулятора.
Детали, требуемые для этой процедуры:
| Жгут проводов передачи данных модема – 300 см – комплект системы точного опрыскивания GeoLink (модель 41633 или модель 41634) | 1 |
| Кабельные стяжки – комплект системы точного опрыскивания GeoLink (модель 41633 или модель 41634) | 8 |
Направьте жгут проводов передачи данных модема с разъемом RS-232 с маркировкой в сторону монитора опрыскивателя (Рисунок 157).

В передней части дисплея опрыскивателя снимите колпачок с порта RJ45 (Рисунок 158).

Вставьте разъем RJ45 кабеля передачи данных модема с маркировкой X-CONSOLE в порт RJ45 дисплея опрыскивателя (Рисунок 158).
Установите уплотнительную гайку порта на порт RJ45 дисплея опрыскивателя и затяните уплотнительную гайку (Рисунок 158).
Установите зажимную гайку поверх уплотнительной гайки порта и затяните зажимную гайку (Рисунок 158).
Проложите кабель передачи данных модема через отделение для хранения (Рисунок 159).

Проложите жгут проводов передачи данных модема вдоль жгута проводов машины и через уплотнительную втулку в панели пола (Рисунок 160).

Прикрепите кабель передачи данных модема к жгуту проводов машины с помощью 4 кабельных стяжек.
В нижней части машины проложите кабель передачи данных модема назад, вдоль жгута проводов машины (Рисунок 161).

В задней части радиатора проложите кабель передачи данных модема вперед (Рисунок 162).

Прикрепите кабель передачи данных модема к жгуту проводов машины с помощью 4 кабельных стяжек.
Проложите кабель передачи данных модема вдоль жгута проводов питания модема (Рисунок 163), наружу из правой стороны машины и между кронштейном топливного бака и правым передним крылом.


Детали, требуемые для этой процедуры:
| Модем CL-55 – комплект системы точного опрыскивания GeoLink (модель 41633 или модель 41634) | 1 |
| Кронштейн модема | 1 |
| Колпачковый винт (№ 10-24 x 1½ дюйма) | |
| Проставка (¼ x ¾ дюйма) | |
| Контргайка (№ 10-24) | 2 |
Отверните 2 фланцевые контргайки (5/16 дюйма) и 2 болта с фланцевыми головками (5/16 x 1 дюйм), с помощью которых крепление воздухоочистителя подсоединено к правой панели опоры сиденья (Рисунок 164).

Отверните заднюю фланцевую контргайку (5/16 дюйма) и колпачковый винт (5/16 x ¾ дюйма), которые крепят кронштейн бачка охлаждающей жидкости к правой панели опоры сиденья (Рисунок 164).
Вставьте коаксиальный разъем жгута проводов антенны модема с маркировкой в коаксиальный порт CL-55 модема с маркировкой WIFI/BT и затяните коаксиальный разъем (Рисунок 165).

Вставьте синий коаксиальный вставной разъем жгута проводов антенны модема с маркировкой в разъем CL-55 модема с маркировкой до срабатывания защелки и надежной фиксации разъемов (Рисунок 165).
Вставьте фиолетовый коаксиальный вставной разъем жгута проводов антенны модема с маркировкой в разъем CL-55 модема с маркировкой до срабатывания защелки и надежной фиксации разъемов (Рисунок 165).
Только для модемов CDMA: вставьте красный коаксиальный вставной разъем жгута проводов антенны модема с маркировкой LTE-2 в разъем CL-55 модема с маркировкой 4G DIV до срабатывания защелки и надежной фиксации разъемов (Рисунок 165).
Note: У модема GSM нет разъема LTE-2.
Вставьте 4-штыревой разъем жгута проводов передачи данных модема с маркировкой в 4-гнездовой разъем (без маркировки) модема CL-55 и затяните рифленую гайку 4-штыревого разъема (Рисунок 166).

Вставьте 18-гнездовой разъем жгута проводов питания модема с маркировкой в 18-штыревой разъем модема CL-55 (Рисунок 166).
Установите кронштейн модема на модем CL-55 с помощью 2 колпачковых винтов (№ 10-24 x 1½ дюйма), 2 проставок (¼ x ¾ дюйма) и 2 контргаек (№ 10-24), как показано на Рисунок 167.

Совместите кронштейн модема с правой панелью опоры сиденья (Рисунок 168).
Important: Убедитесь в том, что жгуты проводов проложены внутри кронштейна модема.

Установите кронштейн модема на правую панель опоры сиденья и крепление воздухоочистителя (Рисунок 168 и Рисунок 169) с помощью 2 болтов с фланцевыми головками (5/16 x 1 дюйм) и 2 фланцевых контргаек (5/16 дюйма), снятых при выполнении действий, описанных в разделе Подготовка машины.

Установите кронштейн модема на правую панель опоры сиденья и кронштейн бачка охлаждающей жидкости (Рисунок 168 и Рисунок 169) с помощью колпачкового винта (5/16 x ¾ дюйма) и фланцевой контргайки (5/16 дюйма).
Затяните болты с фланцевыми головками, колпачковый винт и фланцевые контргайки.
Детали, требуемые для этой процедуры:
| Жгут проводов шины ISO-CAN – 302 см (комплект системы точного опрыскивания GeoLink модель 41633 или модель 41634) | 1 |
| Кабельные стяжки – комплект системы точного опрыскивания GeoLink (модель 41633 или модель 41634) | 12 |
В передней части машины направьте 4-штыревой разъем жгута проводов шины ISO-CAN длиной 302 см, имеющий маркировку TO ISOBUS (К шине ISOBUS), в сторону приборной панели (Рисунок 170).

Выньте оконечное устройство шины ISO из 4-гнездового разъема жгута проводов GeoLink с маркировкой CAN 1 ISOBUS TERMINATOR (Оконечное устройство шины CAN 1 ISOBUS) (Рисунок 171).
Note: Этот колпачок больше не понадобится.

Вставьте разъем TO ISOBUS (К шине ISOBUS) жгута проводов шины ISO-CAN в разъем CAN 1 ISOBUS TERMINATOR (Оконечное устройство шины CAN 1 ISOBUS) жгута проводов GeoLink (Рисунок 171).
Проложите другой конец жгута проводов шины ISO-CAN через уплотнительную втулку пола (Рисунок 172).

Прикрепите жгут проводов шины ISO-CAN к жгуту проводов машины с помощью 2 кабельных стяжек.
В нижней части машины проложите жгут проводов шины ISO-CAN вдоль жгута проводов машины (Рисунок 173).

Прикрепите жгут проводов шины ISO-CAN к жгуту проводов машины с помощью 3 кабельных стяжек.
Отклоните пассажирское сиденье вперед и закрепите его с помощью опорной стойки.
На правой стороне радиатора проложите жгут проводов шины ISO-CAN вверх, вдоль жгута проводов машины и в сторону средней консоли (Рисунок 174).

Проложите жгут проводов шины ISO-CAN под основанием консоли и вдоль жгута проводов машины (Рисунок 175).

Проложите 3-штыревой разъем (с маркировкой TO TORO CANBUS (К шине TORO CANBUS)) и 3-гнездовой разъем (с маркировкой CAN PORT A (CAN-порт А)) жгута проводов шины ISO-CAN через отверстие в основании консоли (Рисунок 175).
Прикрепите жгут проводов шины ISO-CAN к жгуту проводов машины с помощью 6 кабельных стяжек.
Снимите колпачок с 3-гнездового разъема жгута проводов машины (с маркировкой CAN DIAGNOSTICS INTERCONNECT (Промежуточное соединение диагностики CAN)), как показано на Рисунок 176.

Подсоедините 3-штыревой разъем жгута проводов шины ISO-CAN (с маркировкой TO TORO CANBUS (К шине TORO CANBUS)) к 3-гнездовому разъему жгута проводов машины (с маркировкой CAN DIAGNOSTICS INTERCONNECT (Промежуточное соединение диагностики CAN)), как показано на Рисунок 176.
Опустите сиденье пассажира.
Отверните 4 колпачковых винта с фланцевыми головками (¼ x ¾ дюйма), которые крепят боковую панель средней консоли, как показано на Рисунок 177.

Наклоните пассажирское сиденье вперед и отверните нижний задний колпачковый винт с фланцевой головкой (Рисунок 177).
Снимите боковую панель со средней консоли.
В передней части контроллера TEC отсоедините резистор на 75 Ом от 3-гнездового разъема (без маркировки) жгута проводов машины (Рисунок 178).
Note: Сохраните резистор для последующей установки, описанной в разделе Установка переходного жгута проводов и оконечного резистора.
Note: Вы будете устанавливать боковую панель на среднюю консоль при установке комплекта AutoSteer для опрыскивателя травяного покрова Multi Pro 5800 с системой GeoLink; см. указания по настройке в Инструкции по установке комплекта AutoSteer.

Детали, требуемые для этой процедуры:
| Переходной жгут проводов – 13 см | 1 |
| Кабельная стяжка | 1 |
На спутниковом приемнике снимите оконечное устройство шины ISO для 6-гнездового разъема жгута проводов GeoLink (Рисунок 180).
Note: Оконечное устройство шины ISO больше не понадобится.

Вставьте 6-штыревой разъем переходного жгута проводов длиной 13 см в 6-гнездовой разъем жгута проводов GeoLink (Рисунок 180).
Вставьте резистор, снятый при выполнении действий, описанных в разделе Снятие оконечного резистора, в 3-гнездовой разъем переходного жгута проводов (Рисунок 181).

Прикрепите переходной жгут проводов к жгуту проводов GeoLink с помощью кабельной стяжки.
В задней части машины найдите жгут проводов для комплекта электрического шлангового барабана в задней части бака опрыскивателя (вид А на Рисунок 182).

Удалите заглушку 2-штыревого разъема главного заднего жгута проводов для питания шлангового барабана (вид B на Рисунок 182).
Подсоедините 2-гнездовой разъем жгута проводов электрического шлангового барабана к 2-штыревому разъему главного заднего жгута проводов (вид C на Рисунок 182).
Снимите крышку с 3-гнездового разъема главного заднего жгута проводов для промежуточного соединения жгута проводов опрыскивателя (вид B на Рисунок 182).
Подсоедините 3-штыревой разъем жгута проводов электрического шлангового барабана к 3-гнездовому разъему главного заднего жгута проводов (вид C на Рисунок 182).
В конце ответвления жгута проводов длиной 236 см совместите 4-гнездовой разъем жгута проводов доводочного комплекта с 4-штыревым разъемом жгута проводов компрессора (Рисунок 183).

Вставьте 4-штыревой разъем в 4-гнездовой разъем (Рисунок 183).
Note: Сожмите их вместе до срабатывания защелки, которая надежно зафиксирует соединение.
Подсоедините 6-штыревой разъем жгута проводов промывочного насоса к 6-гнездовому разъему главного заднего жгута проводов (Рисунок 184).

Совместите крышку промывочного насоса с посадочной плитой промывочного насоса (Рисунок 185).

Сожмите крышку промывочного насоса с двух сторон и совместите выступы крышки с посадочной плитой (Рисунок 185).
Вставьте выступы в пазы и отпустите обе стороны крышки (Рисунок 185).
Переместите опорные стойки сидений в пазы и наклоните сиденья вниз.
Проложите часть заднего жгута проводов с положительной клеммой (красный провод), отрицательной клеммой (черный провод) и блоком предохранителей (50 А) заднего жгута проводов вверх между коробкой аккумулятора и ходовой частью машины (Рисунок 186).

Проложите часть жгута электропроводов для навигации с положительной клеммой (красный провод), отрицательной клеммой (черный провод) и блоком предохранителей на 10 А вверх между коробкой аккумулятора и ходовой частью машины.
Проложите круглые клеммы с маркировкой и жгута проводов питания модема вверх между коробкой аккумулятора и ходовой частью машины.
Снимите Т-образные болты и шестигранные гайки с клемм положительного и отрицательного кабелей аккумулятора (Рисунок 186).
Вставьте Т-образный болт через положительную клемму (красный провод) заднего жгута проводов, положительную клемму навигационного/электрического жгута проводов, жгута проводов питания модема и клемму положительного кабеля аккумулятора (Рисунок 186).
Закрепите, не затягивая, клеммы и Т-образный болт шестигранной гайкой (Рисунок 186).
Вставьте Т-образный болт через отрицательную клемму (черный провод) заднего жгута проводов, отрицательную клемму навигационного/электрического жгута проводов, клемму жгута проводов питания модема и клемму отрицательного кабеля аккумулятора (Рисунок 186).
Закрепите, не затягивая, клеммы и Т-образный болт шестигранной гайкой (Рисунок 186).
Подсоедините положительный (красный) кабель к положительному (+) штырю аккумулятора и затяните гайку; см. Рисунок 186 в разделе Подсоединение заднего жгута проводов GeoLink, жгута проводов передачи навигационных данных и электропроводов и жгута проводов питания модема к кабелям аккумулятора.
Подсоедините отрицательный (черный) кабель к отрицательному (-) штырю аккумулятора и затяните гайку; см. Рисунок 186 в разделе Подсоединение заднего жгута проводов GeoLink, жгута проводов передачи навигационных данных и электропроводов и жгута проводов питания модема к кабелям аккумулятора.
Наденьте на оба штыря аккумулятора защитные изоляционные колпачки.
Установите крышку аккумулятора и закрепите ее хомутом; см. Рисунок 1 в разделе Отсоединение аккумулятора.
Вставьте ключ в замок зажигания и поверните в положение Вкл..
Note: Не запускайте двигатель.
При отображении экрана-заставки нажмите и удерживайте пятую кнопку (самую правую) на панели инфо-центра, чтобы перейти к экрану Main Menu (Главное меню) (Рисунок 187 или Рисунок 188).


На экране Main Menu (Главное меню) с помощью кнопок 1 или 2 перейдите к пункту Settings (Настройки), затем нажмите кнопку 4, чтобы выбрать меню Settings (Настройки) (Рисунок 189).

В меню Settings (Настройки) с помощью кнопок 1 или 2 перейдите к пункту GeoLink, затем нажмите кнопку 4, чтобы выбрать меню GeoLink (Рисунок 190).

В меню GeoLink нажмите кнопку 4, чтобы выбрать вариант Yes (Да), а затем нажмите кнопку 5, чтобы сохранить выполненные настройки и выйти из этого меню (Рисунок 191).

Поверните ключ в замке зажигания в положение Выкл. (Рисунок 192).

Поверните ключ в замке зажигания в положение Вкл. (Рисунок 192).
Note: На дисплее инфо-центра должен появиться экран-заставка системы GeoLink.

Поверните ключ в замке зажигания в положение Выкл.
Поверните ключ зажигания в положение RUN (Работа) (у машин с бензиновым двигателем) или в положение PREHEAT/RUN (прогрев/работа) (у машин с дизельным двигателем).
Проверьте следующие компоненты, чтобы убедиться в подаче питания на каждый из них:
Поверните ключ в замке зажигания в положение Выкл..
Убедитесь в том, что питание следующих компонентов выключено:
Управляющая консоль
Спутниковый приемник
Автоматический контроллер секций
Поверните ключ зажигания в положение Работа (у машин с бензиновым двигателем) или в положение Прогрев/работа (у машин с дизельным двигателем).
Нажмите значок ABOUT (О машине) (Toro) в верхнем левом углу управляющей консоли (Рисунок 198).

Сравните номера версий программного обеспечения в следующих местах:
Титульная страница (если она используется) Руководства по программному обеспечению для вашей системы GeoLink.
Отображение на управляющей консоли
Note: Если версии программного обеспечения различаются, обратитесь в отдел обслуживания клиентов компании Toro NSN по телефону 1-844-GEOLINK (1-844-436-5465) или адресу электронной почты NSNTech@toro.com.
Выберите единицы измерения; см. Руководство оператора или Руководство по программному обеспечению для вашей системы GeoLink.
Создайте новое поле; см. Руководство оператора или Руководство по программному обеспечению для вашей системы GeoLink.
Создайте новый материал и норму его внесения; см. Руководство оператора или Руководство по программному обеспечению для вашей системы GeoLink.
Нажмите значок меню рабочего задания и затем значок CREATE NEW JOB (Создание нового рабочего задания) (Рисунок 199).

Используйте клавиатуру на экране, чтобы набрать название типового рабочего задания, и нажмите значок подтверждения (Рисунок 199).
В диалоговом окне нового рабочего задания нажмите значок NOZZLE (Сопло) (Рисунок 200).

В списке выбора сопл нажмите любой значок сопла и значок подтверждения (Рисунок 200).
В диалоговом окне нового рабочего задания нажмите значок подтверждения (Рисунок 201).

Включите стояночный тормоз.
Долейте 200 литров воды в бак опрыскивателя см. Руководство оператора для вашей машины.
Запустите двигатель и установите регулятор частоты вращения двигателя в положение fast (быстро).
На управляющей консоли GeoLink нажмите значок SPRAY RATE CONTROLLER (Контроллер интенсивности опрыскивания) (Рисунок 202).

В диалоговом окне контроллера интенсивности опрыскивания нажимайте значок RATE CONTROL MODE (Режим управления интенсивностью опрыскивания), пока не будет отображен ручной режим (Рисунок 202).
Используйте значок пошагового уменьшения (-) или пошагового увеличения (+), чтобы отрегулировать давление в системе опрыскивания (Рисунок 202) на 13,75 бар (200 фунтов на кв. дюйм).
На машине установите главный выключатель секций в положение ON (Вкл.) (Рисунок 203)

На управляющей консоли GeoLink нажмите значок MASTER SWITCH (Главный выключатель) (Рисунок 204), чтобы установить его в положение ON (Вкл.) (зеленый).

Проверьте все штуцеры и компоненты опрыскивателя на наличие утечек.
Note: Если вы обнаружите какие-либо утечки, заглушите двигатель и отремонтируйте соответствующий штуцер или компонент.
Включите стояночный тормоз и запустите двигатель.
Note: Дайте двигателю и гидравлической системе прогреться в течение 10 минут.
Убедитесь в том, что главный выключатель секций находится в положении OFF (Выкл.).
Установите выключатель насоса для опрыскивания и переключатель перемешивания в баке в положения ON (Вкл.).
Переведите выключатели левой, средней и правой секций в положения ON (Вкл.).
Установите регулятор частоты вращения двигателя в положение fast (быстро).
На управляющей консоли GeoLink нажмите значок SPRAY RATE CONTROLLER (Контроллер интенсивности опрыскивания).
В диалоговом окне контроллера интенсивности опрыскивания нажимайте значок RATE CONTROL MODE (Режим управления интенсивностью опрыскивания), пока не будет отображен ручной режим (Рисунок 205).

Нажимайте значок пошагового уменьшения (-) или пошагового увеличения (+), чтобы отрегулировать давление в системе опрыскивания (Рисунок 205) на 6,9 бар (100 фунтов на кв. дюйм).
На машине установите переключатель перемешивания в баке в положение OFF (Выкл.).
Посмотрите на указатель давления в системе опрыскивания. Если давление в системе опрыскивания составляет 6,9 бар (100 фунтов на кв. дюйм), клапан перемешивания отрегулирован правильно.
Если давление в системе опрыскивания изменилось, отрегулируйте клапан перемешивания; см. раздел Регулировка клапана перепуска перемешивания.
Установив переключатель перемешивания в баке в положение OFF (Выкл.), перейдите к задней части машины и найдите клапан перепуска перемешивания.

Отрегулируйте клапан перепуска перемешивания (Рисунок 206) так, чтобы показание давления в системе опрыскивателя стало равно 689 кПа (100 фунтов на кв. дюйм).
Установите переключатель перемешивания в баке в положение ON (Вкл.) и посмотрите на указатель давления в системе опрыскивания.
Note: Если указатель давления в системе опрыскивания показывает значение больше или меньше 6,9 бар (100 фунтов на кв. дюйм), повторите действия, описанные в пунктах 1 и 2.
Установите переключатель перемешивания в баке в положение OFF (Выкл.) и посмотрите на указатель давления в системе опрыскивания.
Note: Если указатель давления в системе опрыскивания показывает значение больше или меньше 6,9 бар (100 фунтов на кв. дюйм), повторите действия, описанные в пунктах 1 и 2.
Выполните калибровку расходомера; см. Руководство оператора или Руководство по программному обеспечению для вашей системы GeoLink.
Нажмите на значок информации о системе и затем проведите по значку полноэкранного режима в верхнем правом углу окна информации о системе (Рисунок 207).

На экране информации о системе используйте полосу прокрутки, чтобы перейти к значку CL55 (Рисунок 208).

Нажмите на значок CL55 для отображения информации о силе сигнала(Рисунок 208) и убедитесь в том, что сила сигнала модема составляет от -60 до -99 дБм.
Note: Если сила сигнала модема равна -100 дБм или ниже, обратитесь в отдел обслуживания клиентов, связавшись с официальным дистрибьютором компании Toro, компанией Toro NSN, по телефону 1-844-GEOLINK (1-844-436-5465) или по адресу электронной почты NSNTech@toro.com.
Проведите по значку полноэкранного режима, чтобы свернуть экран информации о системе до минимального изображения.
Выполните калибровку компаса у дистрибьютора; см. раздел «Калибровка компаса» в Руководстве оператора или Руководстве по программному обеспечению для вашей системы GeoLink.
Important: Вам необходимо стереть энергонезависимую оперативную память в месте расположения заказчика.
Обратитесь в отдел обслуживания клиентов компании Toro NSN по телефону 1-844-GEOLINK (1-844-436-5465) или по адресу электронной почты NSNTech@toro.com, чтобы получить пароль уровня доступа дилера.
Поверните ключ зажигания в положение ON (Вкл.).
Нажмите на значок SETUP (Настройка) на главном экране (Рисунок 209).

На экране настройки нажмите на значок USER (Пользователь) и затем на значок ACCESS LEVEL (Уровень доступа) (Рисунок 210).

Нажмите значок PASSWORD (Пароль) (Рисунок 210).
С помощью клавиатуры на экране наберите пароль, полученный при выполнении пункта 1, и нажмите на значок подтверждения (Рисунок 211).

Note: На экране уровня доступа пользователя появится значок DEALER (Дилер) (Рисунок 212).

На экране настройки нажмите значок SYSTEM (Система), значок GPS и значок ADVANCED CONFIGURATION (Расширенная настройка конфигурации) (Рисунок 213).

На экране расширенной настройки конфигурации GPS нажмите значок RESET NVRAM (Сброс энергонезависимой оперативной памяти) (Рисунок 213).
В диалоговом окне с предупреждением о приеме сигнала GPS нажмите на значок YES (Да) (Рисунок 213).
Note: Кратковременно появится предупреждающее сообщение об отсоединении приемника (Рисунок 214).

Подождите 2 минуты для запуска спутникового приемника и модема.
Нажмите на значок EXIT SETUP (Выход из настроек)

Поверните выключатель зажигания в положение OFF (Выкл.).
Выполните калибровку компаса в месте расположения заказчика; см. раздел «Калибровка компаса» в Руководстве оператора или Руководстве по программному обеспечению для вашей системы GeoLink.