El sistema de fumigación GeoLink® es un accesorio para un vehículo de fumigación del césped, y está diseñado para ser usado por operadores profesionales contratados en aplicaciones comerciales. Está diseñado principalmente para fumigar en césped bien mantenido en parques, campos de golf, campos deportivos y zonas verdes comerciales
Visite www.toro.com para buscar materiales de formación y seguridad o información sobre accesorios, para localizar un distribuidor o para registrar su producto.
Las sustancias químicas utilizadas en el sistema de fumigación pueden ser peligrosas y tóxicas para usted y para otras personas, animales, plantas, suelos y otros elementos.
Lea cuidadosamente y observe las indicaciones de todas las etiquetas de advertencia y fichas de datos de seguridad de materiales (FDSM) respecto a todos los productos químicos utilizados, y protéjase siguiendo las instrucciones del fabricante de los mismos. Por ejemplo, utilice Equipos de Protección Individual (EPI) incluyendo protección para la cara y los ojos, guantes y otros equipos para prevenir el contacto con un producto químico.
Puede haber más de un producto químico; debe evaluarse la información sobre cada uno de los productos.
¡Niéguese a utilizar o trabajar con el fumigador si esta información no está disponible!
Antes de trabajar con un sistema de fumigación, asegúrese de que el sistema ha sido sometido a un triple enjuague y neutralización con arreglo a las recomendaciones de los fabricantes de los productos químicos, y que todas las válvulas han sido abiertas y cerradas 3 veces.
Compruebe que hay un suministro adecuado de agua limpia y jabón en las inmediaciones, y lávese inmediatamente para eliminar cualquier producto químico que entre en contacto con usted.
Aparque la máquina en una superficie nivelada.
Ponga el freno de estacionamiento; consulte el Manual del operador.
Extienda las secciones de brazo izquierda y derecha a la posición horizontal.
Apague el motor; consulte el Manual del operador.
Limpie el fumigador; consulte Limpieza del fumigador, en el Manual del operador de la máquina.
Important: Debe vaciar completamente el depósito de fumigación antes de instalar el Kit de acabado del Sistema de fumigación GeoLink.
Si la máquina tiene el Kit de enjuague del depósito opcional, haga lo siguiente:
Bombee el agua del depósito de enjuague al depósito de fumigación; consulte Uso del kit de enjuague en las Instrucciones de instalación del Kit de enjuague del depósito.
Vacíe el agua del depósito de fumigación; consulte Limpieza del fumigador, en el Manual del operador de la máquina.
Retire la llave del interruptor de encendido; consulte el Manual del operador.
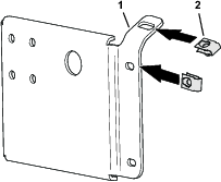
Retire la tapa de la batería y desconecte el cable negativo (negro—tierra) del borne de la batería (Figura 1 y Figura 2).
Las chispas eléctricas podrían hacer explotar los gases de la batería, causando lesiones personales.
Un enrutado incorrecto de los cables de la batería podría dañar el fumigador y los cables, causando chispas.
Desconecte siempre el cable negativo (negro) de la batería antes de desconectar el cable positivo (rojo).
Conecte siempre el cable positivo (rojo) de la batería antes de conectar el cable negativo (negro).
Los bornes de la batería o las herramientas metálicas podrían hacer cortocircuito si entran en contacto con los componentes metálicos del fumigador, provocando chispas.
Al retirar o colocar la batería, no deje que los terminales toquen ninguna parte metálica del fumigador.
No deje que las herramientas metálicas hagan cortocircuito entre los bornes de la batería y las partes metálicas del fumigador.
Coloque siempre la correa de la batería para proteger y fijar la batería.


Desconecte el cable positivo (rojo) del borne de la batería (Figura 2).
Incline ambos asientos hacia adelante y sujételos moviendo las varillas de sujeción a las muescas en el extremo de las ranuras de la base de la consola central.
Deje que el motor se enfríe por completo.
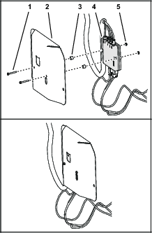
En la parte trasera de la máquina, localice el arnés de cables del kit de carrete de manguera eléctrico, en la parte trasera del depósito del fumigador (Figura 3, A).

Desconecte el conector hembra de 2 vías del arnés del carrete de manguera eléctrico del conector de 2 pines del arnés de cables principal trasero (Figura 3, B).
Desconecte el conector de 3 pines del arnés del carrete de manguera eléctrico del conector hembra de 3 vías del arnés de cables principal trasero (Figura 3, B).
En la parte trasera de la máquina, presione los lados de la tapa de la bomba de enjuague y tire hacia arriba de la tapa hasta que las pestañas de la tapa salgan de las ranuras de la placa base, y retire la tapa de la máquina (Figura 5).

Desconecte el conector de 6 pines del arnés de cables de la bomba de enjuague del conector hembra de 6 vías del arnés principal trasero (Figura 6).

Piezas necesarias en este paso:
| Tapón del interruptor (Kit de carrete de manguera pivotante — Pieza Toro Nº 99-7420) | 1 |
Retire los 2 pernos (5/16" x ¾") y las 2 contratuercas (5/16") que sujetan la caja de control a la placa de montaje del carrete (Figura 7).

Desconecte el conector hembra de 8 vías del arnés de la caja de control del interruptor de CONTROL DE PRESIóN (Figura 7).
Enrute el conector hembra de 8 vías dentro de la caja de control (Figura 7).
Apriete las pestañas de retención del interruptor de CONTROL DE PRESIóN y saque el interruptor de la caja de control (Figura 7).
Note: Ya no necesitará el interruptor que retiró de la máquina.
Alinee el tapón del interruptor con el orificio de la caja de control de donde retiró el interruptor (Figura 7).
Inserte el tapón del interruptor en la caja de control hasta que el tapón encaje firmemente en la tapa (Figura 7).
Alinee la caja de control con la placa de montaje del carrete (Figura 7), y sujete la caja a la placa con 2 pernos (5/16" x ¾") y 2 contratuercas (5/16").
Apriete los pernos y las tuercas a 1978 – 2542 N·cm (175 – 225 pulgadas-libra).
Retire las fijaciones siguientes que sujetan la parte trasera de la cubierta del chasis al chasis de la máquina (Figura 8):
Máquinas de 2016 — 7 pernos con arandela prensada (5/16" x ⅞") y 7 arandelas (5/16")
Máquinas de 2017 y posteriores — 5 pernos con arandela prensada (5/16" x ⅞") y 5 arandelas (5/16")
Note: Guarde los pernos con arandela prensada y las arandelas para su instalación en el paso 5 de Instalación del protector de bajos.


Retire los 4 pernos con arandela prensada (5/16") de los pernos y del perno de cuello cuadrado que sujetan las bandas de sujeción del protector de bajos a los soportes de montaje del motor de la máquina (Figura 9).
Note: No retire los pernos de la máquina. Guarde las tuercas con arandela prensada para su instalación en el paso 3 de Instalación del protector de bajos.

Levante las bandas de sujeción sobre los pernos que sujetan la cubierta del chasis a los soportes de montaje del motor.
Retire la cubierta del chasis de la máquina (Figura 8 y Figura 9).
Retire los 3 pernos con arandela prensada y la tuerca con arandela prensada que sujetan el soporte de montaje del módulo de control del motor al soporte del motor y a la caja de accesorios del motor (Figura 10).
Note: Guarde los pernos con arandela prensada y la tuerca con arandela prensada para su instalación en el paso 2 de Instalación del módulo de control del motor y el soporte de montaje (Modelos con motor de gasolina).


Mueva el módulo de control del motor y el soporte de montaje hacia abajo y hacia atrás para facilitar el acceso a los conectores de los arneses de cables delantero y trasero de la máquina.
Note: No retire ni desconecte el módulo de control del motor del motor.
Note: Si la máquina está equipada con un kit opcional de pistola de fumigación, consulte
Presione hacia dentro el anillo del acoplamiento del tubo del codo de 90° de la válvula de sección del brazo derecho (Figura 12 o Figura 13).


Tire del tubo del sensor de presión del indicador del panel de instrumentos para sacarlo del acoplamiento del tubo (Figura 12 o Figura 13).
Note: No retire el codo de 90° de la brida de la válvula de sección del brazo derecho.
Piezas necesarias en este paso:
| Arnés de cables trasero | 1 |
Note: Utilice una grúa para sujetar la máquina mientras desconecta los arneses de cables delantero y trasero.

Desde debajo de la máquina, en el tubo derecho del bastidor, localice los conectores eléctricos de los arneses de cables delantero y trasero de la máquina (Figura 14).
Desconecte los 6 pares de conectores que unen los arneses de cables delantero y trasero, según se muestra en la Figura 15 y siguientes hasta la Figura 20.






Retire las 3 grapas que sujetan el arnés de cables trasero a los orificios del tubo derecho del bastidor de la máquina (Figura 21).

En la parte trasera de la máquina (entre el tubo derecho del bastidor y el guardabarros derecho), desconecte el conector de 3 pines del arnés del sensor de velocidad del motor de tracción hidráulica derecha del conector hembra de 3 vías del arnés principal trasero (Figura 22).

En la parte trasera del soporte del distribuidor, desconecte el conector hembra de 3 vías de la válvula de agitación y los conectores hembra de 3 vías de las 3 válvulas de sección de los brazos (Figura 23).

Retire las grapas que sujetan el arnés de cables trasero a los orificios del lado delantero y de la placa inferior del soporte del distribuidor (Figura 24).

En máquinas con el sistema de fumigación ExcelaRate, desconecte el conector hembra de 3 vías del arnés de cables trasero del conector de 3 pines del transductor de presión (Figura 25).

En la parte trasera de la máquina, desconecte los siguientes conectores hembra de 2 vías (Figura 26) del distribuidor de los cilindros de elevación, según se indica a continuación:
Solenoide Subir derecho
Solenoide Subir izquierdo
Solenoide de activación
Solenoide Bajar derecho
Solenoide Bajar izquierdo

En la parte trasera de la máquina, por dentro de la bomba de fumigación, desconecte el conector hembra de 2 vías del arnés principal trasero del conector de 2 pines del relé de la bomba (Figura 27).

Retire la grapa que sujeta el arnés de cables trasero (Figura 28) a los orificios del tubo transversal trasero (por detrás de los motores de tracción hidráulica).

Retire el tubo del sensor de presión del indicador del panel de instrumentos del arnés de cables trasero de la máquina (Figura 29).

Retire el arnés de cables trasero de la máquina.
Note: Ya no necesitará el arnés principal trasero que retiró de la máquina.
Piezas necesarias en este paso:
| Brida | 1 |
| Tapón del interruptor | 1 |
Desde debajo del panel de instrumentos de la máquina, apriete las pestañas de bloqueo del interruptor de control de caudal, y saque el interruptor de control de caudal del panel de instrumentos (Figura 30).

Desconecte el conector hembra de 8 vías del arnés delantero de la máquina (marcado Rate Switch (interruptor de caudal) del conector de 8 pines del interruptor (Figura 30).
Note: Ya no necesitará el interruptor de caudal que retiró de la máquina.
Enrute la sección del arnés delantero del interruptor de caudal por el orificio del panel de instrumentos, y sujete la sección de cables al arnés delantero con una brida.
Alinee el tapón del interruptor con el orificio del panel de instrumentos de donde retiró el interruptor de caudal (Figura 30).
Inserte el tapón del interruptor en el panel de instrumentos hasta que el tapón encaje firmemente en el panel (Figura 30).
Piezas necesarias en este paso:
| Tapa con conector | 1 |
| Tapón (acoplamiento rápido) | 3 |
| Horquilla de retención | 3 |
Retire la abrazadera de brida que sujeta la tapa con conector, el transductor de presión y la junta al codo de 90° del extremo de la válvula de sección derecha, y retire la tapa, el transductor y la junta (Figura 31).
Note: Guarde el transductor de presión y la tapa con conector, la junta y la abrazadera para su instalación en Montaje del transductor de presión en el distribuidor.

Retire la abrazadera de brida, el codo de 90° (sin acoplamiento) y la junta del codo de 90° con acoplamiento (Figura 31).
Note: Guarde la abrazadera de brida y la junta para su instalación en 3.
Alinee la tapa con conector y la junta con la brida del codo de 90° del extremo de la válvula de sección derecha (Figura 31).

Sujete la tapa con conector y la junta al codo de 90° con la abrazadera de brida (Figura 31).
Afloje los 4 pernos con arandela prensada (¼" x ¾") y las 4 contratuercas con arandela prensada (¼") que sujetan las 3 válvulas de sección al soporte del distribuidor (Figura 33).

Para máquinas sin sistema de fumigación ExcelaRate, retire el tubo de acoplamiento como se indica a continuación:
Retire las 2 abrazaderas de brida que sujetan el tubo de acoplamiento a los adaptadores reductores en la válvula maestra de control y la válvula de sección de brazo izquierda (Figura 34).

Retire el acoplamiento recto y las 2 juntas de la máquina (Figura 34).
Note: Guarde las bridas y las juntas para su instalación en los pasos 11 y 12 de Montaje del caudalímetro.
Retire la abrazadera de brida de 76 mm (3") que sujeta el adaptador reductor y la junta (2¼") a la brida de la válvula de sección del brazo izquierdo, y retire el adaptador, la brida y la junta de la máquina (Figura 35).
Note: Guarde el adaptador reductor para su instalación en los pasos 13 de Montaje del caudalímetro.

Para máquinas con el sistema de fumigación ExcelaRate, retire la abrazadera de brida y la junta que sujetan el adaptador reductor a la válvula de sección del brazo izquierdo (Figura 36).
Note: No retire el adaptador reductor ni el caudalímetro.

En la sección de brazo exterior, retire la abrazadera que sujeta la manguera de suministro de la sección de brazo al conector en T dentado (Figura 37).

Retire la manguera del conector en T (Figura 37).
Retire el extremo libre de la manguera de la abrazadera en R (Figura 37).
Repita los pasos 1 a 3 con la manguera de suministro de la otra sección de brazo exterior.
Debajo de la sección de brazo central, retire la abrazadera que sujeta la manguera de suministro de la sección de brazo al conector en T dentado (Figura 38).

Retire las horquillas de retención que sujetan los conectores dentados rectos a los conectores rápidos de las válvulas de sección de los brazos izquierdo, central y derecho (Figura 39).
Note: Guarde las horquillas de retención para su instalación en Conexión de las mangueras a las válvulas de boquilla 7 a 10.

Retire las mangueras de las válvulas de sección de los brazos izquierdo, central y derecho de la máquina (Figura 39).
Note: Ya no necesitará las mangueras de las válvulas de sección de los brazos izquierdo, central y derecho.
En el extremo inferior de la manguera de desvío superior, retire el perno con arandela prensada (5/16" x ¾"), la arandela (5/16") y abrazadera en R que sujeta la manguera de desvío superior a la placa base trasera de la máquina (Figura 40 y Figura 41).


Retire las 2 abrazaderas que sujetan la manguera de desvío superior y la manguera de desvío inferior al conector dentado de 90° (Figura 41).
Retire el acoplamiento dentado de 90° de las mangueras (Figura 41).
Note: Guarde el conector dentado de 90° y las dos abrazaderas para su instalación en los pasos 8 y 9.
Retire las abrazaderas que sujetan la manguera de la válvula de vaciado y la manguera de vaciado del depósito trasero al conector en T dentado (Figura 42 y Figura 43).


Desconecte el conector en T de la manguera de la válvula de vaciado y de la manguera de vaciado del depósito trasero (Figura 42 y Figura 43).
Retire la horquilla de retención que sujeta el conector dentado de 90° de la manguera de desvío al conector de desconexión rápida de la válvula de desvío en la válvula de sección del brazo derecho, y separe la manguera y los conectores de las válvulas (Figura 44).

Retire las mangueras de desvío superior e inferior de la máquina (Figura 45).
Note: Ya no necesitará la válvula de desvío, el acoplamiento en T, la manguera de desvío superior o la manguera de desvío inferior.

Inserte el acoplamiento dentado de 90° que retiró en el paso 3 en la manguera de la válvula de vaciado y la manguera de vaciado del depósito trasero (Figura 46 y Figura 47).


Sujete el acoplamiento dentado de 90° y las mangueras de vaciado con las 2 abrazaderas que retiró en el paso 2 (Figura 46 y Figura 47).
Retire la horquilla de retención que sujeta el actuador al distribuidor de la válvula de sección (Figura 48).
Note: Apriete las dos patas de la horquilla de retención mientras la empuja hacia abajo.
Note: Guarde el actuador y la horquilla de retención para su instalación en los pasos 8 y 9 de Retirada de la válvula de cierre del desvío e instalación de la válvula de desvío con tapones.

Retire el actuador de la válvula multivía (Figura 48).
Repita los pasos 1 y 2 con los otros 2 actuadores de válvula.
Retire los 4 pernos (6 mm x 12 mm) que sujetan la válvula de cierre del desvío al soporte de la válvula (Figura 49).
Retire la horquilla de retención que sujeta la válvula de cierre del desvío a la válvula de desvío de la válvula de sección del brazo derecho y retire la válvula de cierre (Figura 49).
Note: Ya no necesitará la válvula de cierre del desvío ni los 4 pernos (6 mm x 12 mm).
Retire las 3 horquillas de retención que sujetan las 3 válvulas de desvío a los 3 distribuidores (Figura 49).

Levante las 3 válvulas de desvío de los acoplamientos rápidos de los tres distribuidores (Figura 49).
Note: Ya no necesitará las válvulas de desvío.
Lubrique las juntas tóricas superior e inferior del acoplamiento rápido de la válvula del distribuidor con la grasa suministrada con el tapón del acoplamiento rápido (Figura 50).

Monte los 3 tapones en los acoplamientos rápidos de los 3 distribuidores (Figura 50).
Sujete los 3 tapones a los 3 acoplamientos rápidos con las 3 horquillas de retención (Figura 50).
Alinee el acoplamiento del actuador de la válvula de sección que retiró en el paso 2 de Retirada del actuador de la válvula con el orificio del vástago del distribuidor (Figura 51).

Sujete el actuador de la válvula de sección al distribuidor con una de las horquillas de retención (Figura 51) que retiró en el paso 1 de Retirada del actuador de la válvula.
Note: Las válvulas de sección de los brazos se añadirán a las válvulas del sistema de 10 válvulas en Montaje de las válvulas de fumigación 8, 9 y 10 en el soporte de las válvulas.
Retire los 2 pernos con arandela prensada (¼" x ¾") y 2 contratuercas (¼") que sujetan la válvula de sección del brazo derecho al soporte del distribuidor (Figura 52).

Retire los 2 pernos con arandela prensada (¼" x ¾") y 2 contratuercas (¼") que sujetan la válvula de sección del brazo izquierdo al soporte del distribuidor (Figura 52).
Retire las válvulas de sección de los brazos del soporte del distribuidor y aparte las válvulas (Figura 52).
Note: Guarde las válvulas de sección de los brazos para su instalación en los pasos 1 de Montaje de las válvulas de fumigación 8, 9 y 10 en el soporte de las válvulas. Deseche los 4 pernos con arandela prensada y las 4 contratuercas.
Retire las 6 pegatinas de las 3 válvulas de sección de los brazos (Figura 53).

Retire los 2 pernos con arandela prensada (5/16" x 1") y las 2 contratuercas con arandela prensada (5/16") que fijan el soporte de sujeción de la válvula de cierre del desvío al bastidor del distribuidor (Figura 54, A) y retire el soporte de la válvula de cierre.

Monte un perno con arandela prensada (5/16" x 1") y una contratuerca con arandela prensada (5/16") en el soporte del distribuidor (Figura 54, B) en la posición inferior del soporte de la válvula de cierre que retiró en el paso 5.
Note: Guarde el otro perno con arandela prensada y la contratuerca con arandela prensada para su instalación en el paso 3 de Instalación del transductor de presión en la máquina.
Apriete el perno con arandela prensada y la tuerca con arandela prensada a 1978 – 2542 N·cm (175 – 225 pulgadas-libra).
Piezas necesarias en este paso:
| Caudalímetro (máquinas de 2016 sin sistema de fumigación ExcelaRate solamente) — no incluido en este kit; pida la Pieza Toro Nº 106-1038. | 1 |
| Abrazadera de brida 51 mm (2") | 1 |
| Junta (diámetro exterior 1-15/16") | 1 |
| Conector dentado con brida (1") | 1 |
| Manguera (1" x 7¼") | 1 |
| Abrazadera | 3 |
| Transductor de presión (máquinas de 2016 sin sistema de fumigación ExcelaRate solamente) — no incluido en este kit; pida la Pieza Toro Nº 130-8202. | 1 |
| Tapa — con conector (para máquinas de 2016 sin sistema de fumigación ExcelaRate solamente) — no incluido en este kit; pida la Pieza Toro Nº 127-1185. | 1 |
| Distribuidor | 1 |
| Manguera (1" x 8½") | 1 |
| Abrazadera en R | 1 |
Para máquinas sin sistema de fumigación ExcelaRate, siga estos pasos:
Alinee la junta (2¼") que retiró en el paso 22 de Retirada del tubo de acoplamiento y el adaptador reductor entre el caudalímetro y el racor reductor que está instalado en el lado derecho de la válvula maestra de control (Figura 55).

Ensamble provisionalmente la junta, el caudalímetro y el adaptador reductor (Figura 55) con una de las abrazaderas de brida de 76 mm (3") que retiró en el paso 21 de Retirada del tubo de acoplamiento y el adaptador reductor.
Alinee la junta (2¼") y el adaptador reductor que retiró en el paso 23 de Retirada del tubo de acoplamiento y el adaptador reductor con el extremo del caudalímetro señalado por la flecha direccional (Figura 55).
Ensamble la junta, el caudalímetro y el adaptador reductor (Figura 55) con una de las abrazaderas de brida de 76 mm (3") que retiró en el paso 21 de Retirada del tubo de acoplamiento y el adaptador reductor.
Alinee la junta (1-5/16") que retiró en el paso y el conector dentado con el extremo del adaptador reductor (Figura 56).

Sujete el conector de la manguera y la junta al adaptador (Figura 56) con la abrazadera de brida de 51 mm (2").
Conecte la manguera (1" x 7¼") al codo dentado del transductor de presión y el distribuidor, como se muestra en la Figura 58.

Sujete la manguera y los conectores dentados con una abrazadera (Figura 58).
Conecte la manguera (1" x 8½") al otro codo dentado del transductor de presión y el distribuidor, como se muestra en la Figura 58.
Sujete la manguera y el conector dentado con una abrazadera (Figura 58).
Conecte la manguera (1 x 7¼") que está conectada al transductor de presión y al distribuidor (Figura 59) al conector dentado con brida (1").

Sujete provisionalmente la manguera al conector dentado con brida con una abrazadera (Figura 59).
Note: Se apretará la abrazadera del extremo izquierdo de la manguera (1" x 7¼") en Conexión de la manguera al distribuidor de las válvulas de fumigación.
Sujete el transductor de presión y el distribuidor a la ranura del soporte del distribuidor con una abrazadera en R (Figura 59) y el perno con arandela prensada (¼" x ¾"), y la contratuerca con arandela prensada (¼") que retiró en el paso 5 de Desmontaje de las válvulas de sección de los brazos del soporte del distribuidor.
Piezas necesarias en este paso:
| Conjunto de soporte de las válvulas y válvulas de fumigación | 1 |
| Perno (4 mm x 10 mm) | 4 |
| Controlador de fumigación — Kit de sistema de fumigación de precisión GeoLink (Modelo 41633 o Modelo 41634) | 1 |
| Contratuerca con arandela prensada (4 mm) | 4 |
| Pernos con arandela prensada (5/16" x ¾") | 8 |
| Contratuercas prensadas (5/16") | 8 |
| Abrazadera | 1 |
| Perno con arandela prensada (¼" x ¾") | 2 |
| Contratuerca con arandela prensada (¼") | 2 |
Alinee el controlador de fumigación con el lado delantero del soporte de las válvulas, orientando el conector de 40 pines hacia fuera (Figura 60).

Monte el controlador de fumigación en el soporte de las válvulas (Figura 60) con los 4 pernos (4 mm x 10 mm) y las 4 contratuercas con arandela prensada (4 mm).
Apriete los pernos y las tuercas a 234 – 286 N∙cm (21 – 25 pulgadas-libra).
Capacidad del equipo de izado: 23 kg (50 libras)
Usando un equipo de izado con la capacidad especificada, eleve el conjunto de soporte de las válvulas y válvulas de fumigación y alinéelo sobre la sección de brazo central (Figura 61).

Alinee los orificios del soporte de montaje del soporte de las válvulas con los orificios del tramo de celosía de la sección de brazo central (Figura 62).

Monte el soporte de las válvulas en el tramo de celosía (Figura 62 y Figura 63) con 4 pernos (5/16" x ¾") y 4 contratuercas con arandela prensada (5/16").

Repita los pasos 2 a 3 con el otro soporte de montaje del soporte de las válvulas en el otro tramo de celosía.
Apriete los pernos con arandela prensada y las contratuercas prensadas a 1978–2542 N·cm (175–225 pulgadas-libra).
Conecte la manguera (1" x 8½") al conector con brida de 90° (1") como se muestra en la Figura 64.

Sujete la manguera al conector con brida con una abrazadera (Figura 64).
Apriete la abrazadera que sujeta la manguera (1" x 7¼") al conector dentado con brida (1") que ensambló en Instalación del transductor de presión en la máquina; consulte Figura 64.
Important: La válvula de sección del brazo izquierdo que retiró en el paso 3 de Desmontaje de las válvulas de sección de los brazos del soporte del distribuidor se identifica como válvula de boquilla 8, la válvula de sección del brazo central se identifica como válvula de boquilla 9, y la válvula de sección del brazo derecho se identifica como válvula de boquilla 10 en la porción restante de las instrucciones de instalación del kit de acabado GeoLink.
Alinee la junta y la brida del la válvula de sección izquierda (identificada como válvula de boquilla 8) con la brida de la válvula de boquilla 7 (Figura 65).

Sujete provisionalmente la junta y la válvula de boquilla 8 a la válvula de boquilla 7 con una abrazadera de brida (Figura 65).
Monte la válvula de boquilla 10 al soporte de las válvulas (Figura 66) con los 2 pernos con arandela prensada (¼" x ¾") y las 2 contratuercas con arandela prensada (¼") que retiró en el paso 2 de Desmontaje de las válvulas de sección de los brazos del soporte del distribuidor.

Apriete el perno con arandela prensada y la contratuerca a 1017 – 1234 N∙cm (90 – 120 pulgadas-libra).
Apriete la abrazadera de brida a mano.
En la sección de brazo exterior, corte la manguera entre 2 boquillas de fumigación (Figura 67).

Retire la contratuerca con arandela prensada (5/16") que sujeta la boquilla de fumigación al soporte de la boquilla (Figura 67).
Repita los pasos 2 a 6 con las otras 3 boquillas.
Note: El perno de cabeza hexagonal (5/16" x ¾"—acero inoxidable) se separará de la mitad superior de la abrazadera al abrirse la abrazadera; guarde el perno para la instalación.
Note: Guarde la contratuerca con arandela prensada y la boquilla de fumigación para su instalación en Instalación de las boquillas de fumigación en las secciones de brazo exteriores.
Note: Ya no necesitará los conectores y las secciones de manguera cortadas.
Repita los pasos 2 a 3 con la otra sección de brazo exterior.
En la sección de brazo central, corte la manguera entre 2 boquillas de fumigación (Figura 67).


Retire la contratuerca con arandela prensada (5/16") que sujeta la boquilla de fumigación al soporte de la boquilla (Figura 68).
Repita los pasos 2 a 6 con las otras 3 boquillas.
Trabajando con las 12 boquillas de fumigación que retiró de las secciones de brazo exterior y central, retire los tornillos de acero inoxidable (Nº 12 x 1¼") que sujetan las mitades superiores de las abrazaderas y los conectores dentados simples o dobles (¾") al cuerpo de cada boquilla de fumigación, y retire los conectores dentados (Figura 70).
Note: El perno de cabeza hexagonal (5/16" x ¾"—acero inoxidable) se separará de la mitad superior de la abrazadera al abrirse la abrazadera; guarde el perno para la instalación.
Note: Guarde la contratuerca con arandela prensada y la boquilla de fumigación para su instalación en Instalación de las boquillas de fumigación en las secciones de brazo exteriores.
Note: Ya no necesitará los conectores y las secciones de manguera cortadas.

Piezas necesarias en este paso:
| Manguera de suministro 279 cm (110") | 2 |
| Manguera de suministro 234 cm (92") | 2 |
| Manguera de suministro 188 cm (74") | 4 |
| Manguera de suministro 81 cm (32") | 2 |
| Abrazadera en R | 2 |
| Abrazadera en R doble | 2 |
| Abrazadera en R simple | 2 |
Identifique las mangueras de alimentación por su longitud (Figura 71) para cada posición de las boquillas de fumigación, como se indica a continuación:
| Posiciones de las boquillas de fumigación – sección de brazo izquierdo | Posiciones de las boquillas de fumigación—sección de brazo central | Posiciones de las boquillas de fumigación – sección de brazo derecho |
|---|---|---|
| Boquilla de fumigación 1 (válvula de boquilla 1)—manguera de suministro 279 cm (110") | Boquillas de fumigación 5 y 6 (válvula de boquilla 5) – manguera de suministro de 81 cm (32") con 2 derivaciones | Boquilla de fumigación 9 (válvula de boquilla 7) – manguera de suministro de 188 cm (74") |
| Boquilla de fumigación 2 (válvula de boquilla 2) – manguera de suministro de 234 cm (92") | Boquillas de fumigación 7 y 8 (válvula de boquilla 6) – manguera de suministro de 81 cm (32") con 2 derivaciones | Boquilla de fumigación 10 (válvula de boquilla 8) – manguera de suministro de 188 cm (74") |
| Boquilla de fumigación 3 (válvula de boquilla 7) – manguera de suministro de 188 cm (74") | Boquilla de fumigación 11 (válvula de boquilla 9) – manguera de suministro de 234 cm (92") | |
| Boquilla de fumigación 4 (válvula de boquilla 4) – manguera de suministro de 188 cm (74") | Boquilla de fumigación 12 (válvula de boquilla 10) – manguera de suministro de 279 cm (110") |
Note: Consulte la Figura 72 en Conexión de las mangueras a las válvulas de boquillas 1 a 4, la Figura 73 en Conexión de las mangueras a las válvulas de boquilla 5 y 6, y la Figura 74 en Conexión de las mangueras a las válvulas de boquilla 7 a 10 para conocer las posiciones de las válvulas de las boquillas.

Monte el conector dentado recto de una manguera de suministro de 279 cm (110") en el acoplamiento de la válvula de boquilla 1 (Figura 72).
Note: Asegúrese de que el conector dentado está correctamente asentado en el acoplamiento.

Sujete el conector dentado al acoplamiento con una horquilla de retención (Figura 72).
Monte el conector dentado recto de una manguera de suministro de 234 cm (92") en el acoplamiento de la válvula de boquilla 2 (Figura 72).
Note: Asegúrese de que el conector dentado está correctamente asentado en el acoplamiento.
Sujete el conector dentado al acoplamiento con una horquilla de retención (Figura 72).
Monte el conector dentado recto de una manguera de suministro de 188 cm (74") en el acoplamiento de la válvula de boquilla 3 (Figura 72).
Note: Asegúrese de que el conector dentado está correctamente asentado en el acoplamiento.
Sujete el conector dentado al acoplamiento con una horquilla de retención (Figura 72).
Monte el conector dentado recto de una manguera de suministro de 188 cm (74") en el acoplamiento de la válvula de boquilla 4 (Figura 72).
Note: Asegúrese de que el conector dentado está correctamente asentado en el acoplamiento.
Sujete el conector dentado al acoplamiento con una horquilla de retención (Figura 72).
Note: El conjunto de la manguera de suministro de 81 cm (32") tiene un acoplamiento en T con 2 derivaciones y 2 conectores dentados simples.
Monte el conector dentado recto de una manguera de suministro de 81 cm (32") en el acoplamiento de la válvula de boquilla 5 (Figura 73).
Note: Asegúrese de que el conector dentado está correctamente asentado en el acoplamiento.

Sujete el conector dentado al acoplamiento con una horquilla de retención (Figura 73).
Monte el conector dentado recto de una manguera de suministro de 81 cm (32") en el acoplamiento de la válvula de boquilla 6 (Figura 73).
Note: Asegúrese de que el conector dentado está correctamente asentado en el acoplamiento.
Sujete el conector dentado al acoplamiento con una horquilla de retención (Figura 73).
Monte el conector dentado recto de una manguera de suministro de 188 cm (74") en el acoplamiento de la válvula de boquilla 7 (Figura 74).
Note: Asegúrese de que el conector dentado está correctamente asentado en el acoplamiento.

Sujete el conector dentado al acoplamiento con una horquilla de retención (Figura 74).
Monte el conector dentado recto de una manguera de suministro de 188 cm (74") en el acoplamiento de la válvula de boquilla 8 (Figura 74).
Note: Asegúrese de que el conector dentado está correctamente asentado en el acoplamiento.
Sujete el conector dentado al acoplamiento con una horquilla de retención (Figura 74).
Monte el conector dentado recto de una manguera de suministro de 234 cm (92") en el acoplamiento de la válvula de boquilla 9 (Figura 74).
Note: Asegúrese de que el conector dentado está correctamente asentado en el acoplamiento.
Sujete el conector dentado al acoplamiento con una horquilla de retención (Figura 74).
Monte el conector dentado recto de una manguera de suministro de 279 cm (110") en el acoplamiento de la válvula de boquilla 10 (Figura 74).
Note: Asegúrese de que el conector dentado está correctamente asentado en el acoplamiento.
Sujete el conector dentado al acoplamiento con una horquilla de retención (Figura 74).
Enrute las mangueras de las boquillas de fumigación 1, 2, 3 y 4 a través de la abrazadera en R en el extremo exterior izquierdo de la sección de brazo central (Figura 75 y Figura 76).


Enrute las mangueras de las boquillas de fumigación 7, 8, 9 y 10 a través de la abrazadera en R en el extremo exterior derecho de la sección de brazo central (Figura 75 y Figura 76).
Enrute las mangueras de alimentación de 279 cm (110") y los conectores dentados (¾") por la sección de brazo hasta las boquillas de fumigación 1 y 10, como se muestra en la Figura 75 y la Figura 76.
Enrute las mangueras de alimentación de 234 cm (92") y los conectores dentados (¾") por la sección de brazo hasta las boquillas de fumigación 2 y 9, como se muestra en la Figura 75 y la Figura 76.
Enrute las mangueras de alimentación de 188 cm (74") y los conectores dentados (¾") por la sección de fumigación hasta las boquillas del fumigación 3 y 8, como se muestra en la Figura 75 y la Figura 76.
Note: Enrute las mangueras a través de los anillos de goma inferiores traseros de los soportes del armazón de tubos.
Enrute las mangueras de alimentación de 188 cm (74") y los conectores dentados (¾") por la sección de brazo hasta las boquillas del fumigación 4 y 7, como se muestra en la Figura 75 y la Figura 76.
Note: Enrute las mangueras a través de los anillos de goma inferiores traseros de los soportes del armazón de tubos.
Ate las 4 mangueras de las boquillas de fumigación con una brida, como se muestra en la Figura 76.
Trabajando con la boquilla de fumigación que retiró en Retirada de las mangueras de las boquillas de fumigación del sistema de 3 secciones, alinee el tubo de trasvase de la base de una boquilla de fumigación (Figura 77) con el orificio situado en el lado del conector dentado simple (½").

Cierre la mitad superior de la abrazadera alrededor del conector dentado y sujete la mitad de la abrazadera y el cuerpo de la boquilla de fumigación (Figura 77) con el tornillo de acero inoxidable (Nº 12 x 1¼"); apriete el tornillo de acero inoxidable a 226 – 282 N∙cm (20 – 25 pulgadas-libra).
Note: Asegúrese de que el perno de cabeza hexagonal (5/16" x ¾") está asentado en el hueco de la mitad superior de la abrazadera al cerrar la abrazadera.
Monte las boquillas de fumigación en la sección de brazo exterior como se indica a continuación:
En las posiciones de las boquillas 1 y 4, monte la boquilla de fumigación en el soporte de boquilla (Figura 78, A) con la contratuerca con arandela prensada (5/16") que retiró en el paso 2 de Retirada de las mangueras de las boquillas de fumigación del sistema de 3 secciones.
En las posiciones de las boquillas 2 y 3, monte la boquilla de fumigación en el soporte de boquilla (Figura 78, A y B) con la contratuerca con arandela prensada (5/16") que retiró en el paso 2 de Retirada de las mangueras de las boquillas de fumigación del sistema de 3 secciones.

Apriete la contratuerca con arandela prensada a 1978 – 2542 N∙cm (175 – 225 pulgadas-libra).
Repita los pasos 1 a 4 con las demás boquillas de fumigación de la sección de brazo.
Repita los pasos 1 a 5 en la sección de brazo exterior del otro lado de la máquina.
Asegúrese de que las mangueras y los acoplamientos dentados de 13 mm x 810 mm (½" x 32") están alineados con la parte delantera de la sección de brazo central entre los soportes derecho e izquierdo de la sección central.
Enrute la manguera de 13 mm (10") y el conector dentado entre los tirantes del tramo de celosía exterior (Figura 79).


Enrute la manguera y el conector dentado por encima del tirante y hacia fuera hasta el soporte de boquilla exterior (Figura 79).
Enrute la otra manguera de 13 mm (10") y el conector dentado entre los tirantes del tramo de celosía interior (Figura 79).
Enrute la manguera y el conector dentado por encima del tirante y hacia dentro hasta llegar al soporte de boquilla interior (Figura 79).
Repita los pasos 2 a 7 con el otro conjunto de manguera y boquilla en el otro tramo de celosía exterior (Figura 79 y Figura 82).
Enrute la manguera y el acoplamiento dentado de 13 mm x 810 mm (½" x 32") hasta el lado de la sección de brazo central que contiene los soportes izquierdo y derecho de la sección de brazo (Figura 79).
Trabajando con las boquillas de fumigación que retiró en Retirada de las mangueras de las boquillas de fumigación del sistema de 3 secciones, retire los tornillos de acero inoxidable que sujetan las mitades superiores de las abrazaderas a las bases (Figura 80).

Localice el orificio en el lateral del conector dentado simple, al final de la manguera de 25 cm (10") (válvula de fumigación 5 o 6) de la sección de brazo central (Figura 80 y Figura 81).

Alinee el tubo de trasvase de la base de una boquilla de fumigación (Figura 80) con el orificio situado en el lado del conector dentado simple (½").
Cierre la mitad superior de la abrazadera alrededor del conector dentado y sujete la mitad de la abrazadera y el cuerpo de la boquilla de fumigación (Figura 80) con el tornillo de acero inoxidable (Nº 12 x 1¼"); apriete el tornillo de acero inoxidable a 226 – 282 N∙cm (20 – 25 pulgadas-libra).
Important: No apriete el tornillo de acero inoxidable más de lo especificado en el paso 4.
Note: Asegúrese de que el perno de cabeza hexagonal (5/16" x ¾") está asentado en el hueco de la mitad superior de la abrazadera al cerrar la abrazadera.
Repita los pasos 2 a 4 con los conectores dentados simples de los demás conjuntos de manguera (válvula de fumigación 5 o 6) de la sección de brazo central (Figura 80 y Figura 81).
Alinee el perno de cabeza hexagonal (5/16" x ¾") de la boquilla de fumigación con el orificio del soporte de la boquilla (Figura 82), y sujete provisionalmente la boquilla al soporte con una de las contratuercas con arandela prensada (5/16") que retiró en los pasos 1 o 4 de Retirada de las mangueras de las boquillas de fumigación del sistema de 3 secciones.

Repita el paso 1 con las otras 3 boquillas de fumigación de la sección de brazo central.
Apriete las contratuercas con arandela prensada a 1978 – 2542 N∙cm (175 – 225 pulgadas-libra).
Piezas necesarias en este paso:
| Arnés de cables trasero | 1 |
| Brida | 3 |
Localice la rama de 165 cm (65") y la rama de 203 cm (80") del arnés eléctrico nuevo (Figura 83).

Enrute la rama de 165 cm (65") y la rama de 203 cm (80") del arnés eléctrico nuevo entre el soporte de las 10 válvulas de fumigación y el soporte derecho del soporte del distribuidor (Figura 84).

Enrute la rama de 165 cm (65") y la rama de 203 cm (80") del arnés eléctrico hacia adelante por el tubo derecho del bastidor (Figura 85).

Introduzca las grapas de la rama de 203 cm (80") del arnés de cables trasero en los orificios del tubo derecho del bastidor (Figura 85) de donde se retiraron las grapas del arnés trasero antiguo; consulte el paso 3 de Desconexión de los arneses de cables delantero y trasero.
Note: Utilice una grúa para sujetar la máquina mientras conecta los arneses de cables delantero y trasero.
Desde debajo de la máquina, en el tubo derecho del bastidor, localice los conectores eléctricos de los arneses de cables delantero y trasero de la máquina (Figura 86).

Conecte el conector hembra de 10 vías de interconexión del arnés delantero al conector de 10 pines de interconexión del arnés trasero (Figura 87).

Conecte el conector de 8 pines de interconexión del arnés delantero al conector hembra de 8 vías del interruptor de caudal del arnés trasero (Figura 88).

Conecte el conector de 2 pines de la bomba de enjuague del arnés delantero al conector hembra de 2 vías de la bomba de enjuague del arnés trasero (Figura 89).

Conecte el conector de 2 pines de alimentación del carrete de la manguera del arnés delantero al conector hembra de 2 vías de alimentación del carrete de la manguera del arnés trasero (Figura 90).

Conecte el conector de 10 pines de interconexión del arnés delantero al conector hembra de 2 vías de interconexión del arnés trasero (Figura 91).

Para facilitar la conexión de los arneses eléctricos y de datos de navegación, asegúrese de que el conector hembra de 1 vía del arnés de cables trasero y el conector hembra de 4 vías del arnés de cables trasero están alineados con la parte superior del arnés (Figura 92).

Sujete el relé de interrupción de la bomba del arnés de cables trasero al soporte derecho de la placa de soporte del asiento (Figura 93).


Enrute el tubo del sensor de presión del indicador del panel de instrumentos junto al arnés de cables trasero de la máquina (Figura 94).

Fije el tubo del sensor de presión al arnés de cables trasero con 3 bridas junto a las 3 grapas en los puntos de anclaje del chasis del arnés de cables trasero (Figura 94).
Important: No apriete ni doble el tubo del sensor de presión; apriete las bridas solo lo suficiente para sostener el tubo.
Alinee los orificios del soporte de montaje del módulo de control del motor con el orificio del soporte del motor y la caja de accesorios del motor (Figura 95).


Monte el soporte de montaje en el motor con los 3 pernos con arandela prensada y una tuerca con arandela prensada que retiró en el paso 1 de Retirada del módulo de control del motor y el soporte de montaje (Modelos con motor de gasolina); apriete los pernos y las tuercas a mano.
Alinee el protector de bajos con el chasis inferior de la máquina (Figura 96).


Inserte las pestañas de montaje delanteras del protector de bajos sobre los pernos y el perno de cuello cuadrado de los soportes de montaje del motor de la máquina (Figura 96).
Monte la cubierta del chasis en los soportes de montaje del motor y los pernos (Figura 96) con las 4 contratuercas prensadas (5/16") que retiró en el paso 2 de Retirada del protector de bajos.
Alinee los orificios de la parte trasera del protector de bajos con los orificios del chasis (Figura 97).

Monte la parte trasera del protector de bajos en el chasis (Figura 97) con las fijaciones que retiró en el paso 1 de Retirada del protector de bajos, como se indica a continuación:
Máquinas de 2016 — 7 pernos con arandela prensada (5/16" x ⅞") y 7 arandelas (5/16")
Máquinas de 2017 y posteriores — 5 pernos con arandela prensada (5/16" x ⅞") y 5 arandelas (5/16")
Apriete las tuercas y los pernos a 1129 – 1582 N∙cm (100 – 140 pulgadas-libra).
Piezas necesarias en este paso:
| Brida | 3 |
Enrute la rama de 203 cm (80") del arnés de cables por dentro del tirante del soporte de las válvulas y hacia atrás, hacia el soporte de 10 válvulas, como se muestra en la Figura 98.

Enrute la rama de 81 cm (32") del arnés de cables del caudalímetro y la válvula de agitación por delante del soporte del distribuidor (Figura 98).
Introduzca las grapas de la rama de 81 cm (32") del arnés de cables en los orificios de la pestaña inferior del soporte del distribuidor (Figura 98).
Enrute la rama de 203 cm (80") del arnés de cables por detrás del soporte de 10 válvulas con los 10 conectores de las válvulas de boquilla hacia atrás y por debajo de las válvulas (Figura 99).

Introduzca las grapas de la rama de 203 cm (80") del arnés de cables en los orificios de la pestaña inferior del soporte de 10 válvulas (Figura 99).
Enrute la rama de 86 cm (34") del arnés de cables del solenoide de la bomba de fumigación por encima del perfil del bastidor del fumigador, y hacia abajo hasta el solenoide de la bomba del fumigador (Figura 100).

Introduzca la grapa de la rama de 86 cm (34") del arnés de cables en el orificio del perfil del bastidor del fumigador (Figura 100).
Enrute los conectores de la rama de 203 cm (80") del arnés de cables marcados Flow Meter y Pressure Transducer por detrás del soporte del distribuidor (Figura 101).

Conecte el conector hembra de 3 vías de la rama de 203 cm (80") del arnés de cables del caudalímetro (sin marcar) en el conector de 3 pines del arnés del caudalímetro (Figura 101).
Conecte el conector hembra de 3 vías de la rama de 203 cm (80") del arnés de cables marcado Pressure Transducer en el conector de 3 pines del arnés del transductor de presión (Figura 101).
Fije los anclajes magnéticos de los arneses del caudalímetro y el transductor de presión en la superficie del soporte del distribuidor (Figura 101).
Enrute el conector de 3 pines del arnés de cables de la válvula de agitación por delante del soporte del distribuidor (Figura 102).

Conecte el conector de 3 pines del arnés de la válvula de agitación al conector hembra de 3 vías de la rama de 203 cm (80") del arnés de cables marcado Agitation Valve (válvula de agitación) (Figura 103).

En la parte inferior del distribuidor de los cilindros de elevación, conecte el conector hembra de 2 vías del arnés de cables trasero marcado Enable Solenoid (solenoide de activación) al conector de 2 pines del solenoide de activación (Figura 104 y Figura 105).


En el solenoide derecho inferior, conecte el conector hembra de 2 vías del arnés de cables trasero marcado Right Down al conector de 2 pines del solenoide Bajar derecho (Figura 104 y Figura 105).
En el solenoide derecho superior, conecte el conector hembra de 2 vías del arnés de cables trasero marcado Right Up al conector de 2 pines del solenoide Subir derecho (Figura 104 y Figura 105).
En el solenoide izquierdo inferior, conecte el conector hembra de 2 vías del arnés de cables trasero marcado Left Down al conector de 2 pines del solenoide Bajar izquierdo (Figura 104 y Figura 105).
En el solenoide izquierdo superior, conecte el conector hembra de 2 vías del arnés de cables trasero marcado Left Up al conector de 2 pines del solenoide Subir izquierdo.
Enrute los conectores hembra de 3 vías de la rama de 203 cm (80") del arnés de cables, marcados Nozzle Valve 1 a Nozzle Valve 5 por detrás del soporte de 10 válvulas y por debajo de las válvulas 1 a 5 (Figura 106).

Enrute los conectores hembra de 3 vías de la rama de 203 cm (80") del arnés de cables, marcados Nozzle Valve 6 a Nozzle Valve 10 por detrás del soporte de 10 válvulas y por debajo de las válvulas 6 a 10 (Figura 106).
Conecte el conector hembra de 3 vías del arnés de cables trasero, marcado Nozzle 1 (boquilla 1), al conector de 3 pines del arnés de cables de la válvula de boquilla 1 (Figura 106).
Important: Es importante conectar cada conector hembra de 3 vías marcado del arnés de cables trasero al conector de 3 pines correcto en la posición de cada válvula de boquilla.
Repita el paso 3 en las posiciones de válvula de boquilla 2 a 10 (Figura 106).
En la parte trasera de la máquina, por dentro de la bomba de fumigación, conecte el conector hembra de 2 vías marcado Spray Pump Solenoid (solenoide de la bomba de fumigación) de la rama de 86 cm (34") del arnés de cables al conector de 2 pines del relé de la bomba (Figura 107).

En la parte trasera de la máquina (entre el tubo derecho del bastidor y el guardabarros derecho), conecte el conector de 3 pines del arnés del sensor de velocidad del motor de tracción hidráulica derecho al conector hembra de 3 vías (sin marcar) del arnés principal trasero (Figura 108).

Enrute la rama de 165 cm (65") del arnés de cables hacia arriba y a la parte trasera del compartimento del motor, por el soporte derecho de la cubierta del motor, por delante del conducto que conecta el filtro de aire y el motor (Figura 109).
Note: Se sujetará la rama de 165 cm (65") del arnés de cables trasero en Enrutado del arnés de datos de navegación y eléctrico a la batería.

Enrute la rama de 165 cm (65") del arnés de cables a través de la placa de la caja del asiento y hacia abajo por el soporte izquierdo de la cubierta del motor (Figura 110).
Note: Se sujetará la rama de 165 cm (65") del arnés de cables trasero en Enrutado del arnés de datos de navegación y eléctrico a la batería.

Enrute la rama de 165 cm (65") del arnés de cables hacia abajo por el soporte izquierdo de la cubierta del motor y por debajo del tubo izquierdo del bastidor (Figura 111).
Note: Se sujetará la rama de 165 cm (65") del arnés de cables trasero en Enrutado del arnés de datos de navegación y eléctrico a la batería.

Enrute el fusible de 50 A y los terminales de anillo positivo y negativo de la rama de 165 cm (65") del arnés de cables a la parte superior de la batería (Figura 111).
Note: La instalación de los terminales de anillo se completará en Conexión del arnés GeoLink trasero, el arnés de datos de navegación y eléctrico, y el arnés de alimentación del módem a los cables de la batería.
Gire hacia adelante el asiento del conductor y coloque la varilla de sujeción del asiento en la muesca del hueco de la consola.
Retire los 5 pernos con arandela prensada (¼" x ¾") que sujetan la tapa del lado izquierdo de la consola central (Figura 112).

Retire la tapa de la consola central (Figura 113).
Note: Si es necesario, gire el asiento del conductor hacia abajo para retirar la tapa de la consola central.

Enrute la rama de 81 cm (32") del arnés de cables trasero junto al arnés de cables delantero y hacia arriba por el anillo de goma del hueco de la consola (Figura 114).

Enrute la rama de 81 cm (32") del arnés de cables trasero hacia adelante por el arnés de cables delantero y a través del anillo de goma de la parte trasera de la consola central (Figura 114).
Presione hacia dentro el cierre del conector hembra de 8 vías del interruptor de la bomba de fumigación, y separe el conector del interruptor (Figura 115).

Coloque el conector hembra de 8 vías de manera que pueda ver la parte trasera del conector con la pestaña hacia arriba (Figura 116).


Introduzca el terminal del extremo de la rama de 81 cm (32") del arnés de cables trasero en la posición Nº 4 del conector hembra de 8 vías (Figura 116).
Note: Asegúrese de que la pestaña del terminal encaja firmemente en el conector hembra de 8 vías.
Conecte el conector hembra de 8 vías del arnés de cables al conector de 8 pines del interruptor de la bomba de fumigación (Figura 117).

Sujete la rama de 81 cm (32") del arnés de cables trasero al arnés de cables delantero de la máquina, como se muestra en la Figura 117.

Alinee la tapa que retiró en el paso 3 de Enrutado del arnés de cables del circuito de cierre de la bomba de fumigación con el lado izquierdo de la consola central (Figura 119).

Monte la tapa en la consola central con los 5 pernos con arandela prensada (¼" x ¾") que retiró en el paso 2 de Enrutado del arnés de cables del circuito de cierre de la bomba de fumigación, y apriete los pernos a 520 – 678 N∙cm (46 – 60 pulgadas-libra).
Alinee el extremo del tubo del sensor de presión (plástico) del indicador de presión del panel de instrumentos con el anillo de bloqueo del acoplamiento del tubo (Figura 121 y Figura 122).


Inserte el tubo del sensor en el anillo de bloqueo hasta que el tubo esté correctamente asentado (Figura 121 y Figura 122).
Piezas necesarias en este paso:
| Soporte del receptor | 1 |
| Perno en U | 2 |
| Contratuerca con arandela prensada (⅜") | 4 |
| Soporte de la antena del módem | 1 |
| Perno de cabeza hexagonal (5 mm x 16 mm) | 3 |
| Arandela (5 mm) | 3 |
| Receptor de navegación — Kit de sistema de fumigación de precisión GeoLink (Modelo 41633 o Modelo 41634) | 1 |
Alinee la ranura situada en el centro del soporte de receptor con la costura de soldadura en la línea central del tubo del ROPS (Figura 123).
Note: La pestaña más grande con 2 orificios debe quedar por detrás del tubo del ROPS, y la pestaña más pequeña con un orificio debe quedar por delante.

Monte el soporte del receptor en el tubo del ROPS (Figura 124) con los 2 pernos en U y las 4 contratuercas con arandela prensada (⅜").

Apriete las tuercas a 37 – 45 N∙m (27 – 33 pies-libra).
Monte el receptor de navegación en el soporte como se indica a continuación:
Alinee los 3 orificios roscados de la base del receptor de navegación con los 3 orificios del soporte del receptor (Figura 125).

Alinee el orificio y la ranura del soporte de la antena del módem con los orificios del soporte del receptor (Figura 125).
Monte el receptor de navegación y el soporte de la antena en el soporte (Figura 125) con los 3 pernos de cabeza hexagonal (5 mm x 16 mm) y las 3 arandelas (5 mm).
Apriete los 3 pernos a 576 – 712 N∙cm (51 – 63 pulgadas-libra).
Piezas necesarias en este paso:
| Antena del módem – Kit de sistema de fumigación de precisión GeoLink (Modelo 41633 o Modelo 41634) | 1 |
| Bridas — Kit de sistema de fumigación de precisión GeoLink (Modelo 41633 o Modelo 41634) | 7 |
Limpie cualquier grasa de la superficie del soporte de la antena del módem.
Retire el papel protector del adhesivo de doble cara de la parte inferior de la antena del módem (Figura 126).

Fije la antena del módem a la parte superior del soporte de la antena del módem, como se muestra en la Figura 126.
Sujete el soporte de la antena con 3 bridas, como se muestra en la Figura 127.

Sujete el arnés de cables de la antena del módem al soporte, como se muestra en la Figura 127.
Enrute el arnés de la antena del módem hacia la derecha por la barra antivuelco (Figura 128).

Enrute el arnés hacia abajo y hacia adelante, como se muestra en la Figura 128.
Se sujetará el arnés de la antena del módem a la barra antivuelco en Enrutado del cable de datos y conexión al receptor de navegación.
Piezas necesarias en este paso:
| Monitor de fumigación X25 — Kit de sistema de fumigación de precisión GeoLink (Modelo 41633 o Modelo 41634) | 1 |
| Cintas adhesivas | 2 |
| Separador roscado | 1 |
| Visera del monitor | 1 |
Limpie la superficie superior de la pantalla de fumigación X25 con alcohol y un trapo limpio.
Retire el papel protector de las 2 cintas adhesivas.
Alinee las cintas adhesivas con la parte superior del monitor de fumigación, como se muestra en la Figura 129.

Fije las cintas adhesivas a la parte superior del monitor con una presión firme.
En la parte trasera del monitor de fumigación, con los 2 conectores (26 pines) hacia abajo, retire la contratuerca superior (5 mm) del espárrago del soporte de bola (Figura 130, A).

Aplique una capa de fijador de roscas (capilar – resistencia media-alta) a las roscas de la porción de la tuerca del separador roscado (Figura 131).

Enrosque el separador en el espárrago del soporte de bola (Figura 130, B) y apriete el separador a 250 N∙cm (22 pulgadas-libra).
Aplique una capa de fijador de roscas (capilar – resistencia media-alta) a las roscas de la porción del espárrago del separador roscado (Figura 131).
Retire el papel protector de las 2 cintas adhesivas que aplicó en Aplicación de las cintas adhesivas al monitor de fumigación.
Alinee el orificio de la visera del monitor con la porción del espárrago del separador roscado (Figura 130, B).
Monte la visera en el monitor (Figura 130, C) con la contratuerca de 5 mm que retiró en el paso 1.
Note: Presione sobre las zonas de la visera donde están colocadas las cintas adhesivas.
Apriete la tuerca a 250 N∙cm (22 pulgadas-libra).
Piezas necesarias en este paso:
| Soporte de bola — Kit de sistema de fumigación de precisión GeoLink (Modelo 41633 o Modelo 41634) | 1 |
| Brazo del monitor — Kit de sistema de fumigación de precisión GeoLink (Modelo 41633 o Modelo 41634) | 1 |
| Pletina de refuerzo | 1 |
| Perno con arandela prensada (½" x 1¼") | 4 |
| Arandela (¼") | 4 |
| Contratuerca con arandela prensada (¼") | 4 |
Retire los 2 tornillos Phillips de cabeza redonda (¼" x 1") y la contratuerca (¼") que sujetan el soporte del capó al panel de instrumentos (Figura 133).

Retire las 2 tuercas rápidas (¼") del soporte del capó (Figura 133).
Note: Guarde los tornillos Phillips de cabeza redonda, la contratuerca con arandela prensada y las tuercas rápidas; deseche el soporte del capó.
Monte las tuercas rápidas que retiró en Retirada del soporte del capó en la pletina de refuerzo, como se muestra en la Figura 134.

Monte el soporte del pivote de bola en el panel de instrumentos con los 4 pernos con arandela prensada (¼" x 1½"), la pletina de refuerzo y la contratuerca con arandela prensada (¼"), como se muestra en la Figura 135.

Monte provisionalmente la pletina del refuerzo en los 4 pernos con arandela prensada (¼" x 1½") con 4 contratuercas (¼"), como se muestra en la Figura 136.

Monte provisionalmente la pletina de refuerzo con los 2 tornillos Phillips de cabeza redonda (¼" x 1") y la contratuerca con arandela prensada (¼") que retiró en Retirada del soporte del capó.
Apriete los pernos con arandela prensada, los tornillos Phillips de cabeza redonda y la contratuerca con arandela prensada a 1163 – 1435 N∙cm (103 – 127 pulgadas-libra).
Afloje el pomo del brazo del monitor hasta que pueda encajar el pivote de bola de la parte trasera del monitor de fumigación y el pivote de bola del soporte del panel de instrumentos en los alojamientos del brazo del monitor (Figura 137).

Desde el asiento del conductor (asiento izquierdo), ajuste la posición del monitor de fumigación para tener una visión clara de la pantalla (Figura 137).
Apriete a mano el pomo del brazo del monitor (Figura 137).
Piezas necesarias en este paso:
| Arnés de datos y eléctrico — Kit de sistema de fumigación de precisión GeoLink (Modelo 41633 o Modelo 41634) | 1 |
| Brida — Kit de sistema de fumigación de precisión GeoLink (Modelo 41633 o Modelo 41634) | 8 |

Enrute la rama de 302 cm (119") del arnés de datos hasta el lado derecho del compartimento del motor (junto al filtro de aire del motor) y hacia atrás por debajo de la zona derecha inferior de la cubierta trasero del motor (Figura 139).

Enrute la rama de 302 cm (119") del arnés de datos por el tubo derecho del ROPS con el conector hembra de 12 vías (gris) y el conector hembra de 12 vías (negro) hacia arriba hasta el receptor de navegación (Figura 140).

Alinee las 2 pestañas de la cara larga del conector hembra de 12 vías del arnés de datos marcado con las 2 muescas del lado horizontal inferior del conector de 12 pines izquierdo (gris) del receptor de navegación (Figura 141).
Note: Tenga cuidado al conectar el arnés de cables al receptor de navegación; las pestañas-guía de los conectores del arnés deben estar orientadas correctamente para encajar en las ranuras de los conectores macho del receptor de navegación.

Enchufe el conector del arnés de datos en el conector izquierdo (gris) de 12 pines del receptor de navegación hasta que los cierres del conector se enganchen firmemente (Figura 141).
Alinee las 2 pestañas del lado corto del conector hembra de 12 vías – arnés de datos marcado con las 2 muescas del lado izquierdo vertical del conector de 12 pines derecho (negro) del receptor de navegación (Figura 141).
Note: Tenga cuidado al conectar el arnés de cables al receptor de navegación; las pestañas-guía de los conectores del arnés deben estar orientadas correctamente para encajar en las ranuras de los conectores macho del receptor de navegación.
Enchufe el conector del arnés de datos en el conector derecho (negro) de 12 pines del receptor de navegación hasta que los cierres del conector se enganchen firmemente (Figura 141).
Sujete la rama de 302 cm (119") del arnés de datos al tubo derecho del ROPS con bridas, como se muestra en la Figura 140.
Note: Asegúrese de que hay holgura en el cable entre los conectores hembra de 12 vías y la brida.
Enrute la rama de 302 cm (119") del arnés de datos del arnés eléctrico (Figura 142) que tiene el conector de 4 pines marcado hacia abajo a la zona de interconexión de los arneses de cables delantero y trasero de la máquina; consulte Figura 92 en Conexión de los arneses de cables delantero y trasero.

Enrute la rama de 34 cm (13½") del arnés de datos (Figura 142) que tiene el conector de 4 pines marcado hacia abajo a la zona de interconexión de los arneses de cables delantero y trasero de la máquina; consulte Figura 92 en Conexión de los arneses de cables delantero y trasero.
Conecte el conector de 4 pines de la rama del arnés de datos marcado al conector hembra de 4 vías del arnés GeoLink trasero del circuito del controlador de fumigación/CAN 2 (Figura 143).

Retire la resistencia de terminación del conector hembra de 6 vías del cable de datos, como se muestra en la Figura 144.
Note: Ya no necesitará la resistencia de terminación.

Enrute la rama de potencia de 270.5 cm (106½") del arnés de datos de navegación y eléctrico por la placa de la caja del asiento y hacia abajo por el soporte izquierdo de la cubierta del motor (Figura 145).

Sujete el arnés al soporte de la cubierta del motor con bridas (Figura 145).
Enrute la rama de 270.5 cm (106½") de potencia por el soporte izquierdo de la cubierta del motor y por debajo del tubo izquierdo del bastidor (Figura 146).

Sujete el arnés al orificio de la placa de la caja del asiento y al soporte de la cubierta del motor con 3 bridas (Figura 146 y Figura 147).

Enrute el fusible de 10 A y los terminales de anillo positivo y negativo de la rama de 220 cm (86⅝") del arnés de cables del sistema de navegación a la parte superior de la batería (Figura 147).
Note: La instalación de los terminales de anillo se completará en Enrutado del arnés de datos de navegación y eléctrico a la batería.
En el lado derecho del compartimento del motor, pase la rama de 226 cm (89") del arnés de datos del monitor de fumigación por delante del filtro de aire del motor y hacia abajo, hacia la esquina inferior derecha del radiador (Figura 148).

Enrute la rama de 226 cm (89") del arnés de datos hacia adelante y a través de las 2 abrazaderas en R de la parte inferior de la máquina (Figura 148).
Enrute la rama de 226 cm (89") del arnés de datos hacia adelante y hacia arriba por el anillo de goma que rodea el orificio del panel de suelo (Figura 149).

Sujete la rama de 226 cm (89") del arnés de datos al arnés de cables delantero de la máquina con 3 bridas.
Enrute la rama de 226 cm (89") del arnés de datos hacia arriba y por el arnés de cables delantero de la máquina (Figura 149).
Enrute la rama de 226 cm (89") del arnés de datos hacia arriba a través del anillo de goma que rodea el orificio del panel de instrumentos (Figura 150).

Alinee el conector hembra de 26 vías de la rama del arnés de datos con el conector de 26 pines del monitor de fumigación y presione el conector hembra contra el conector macho hasta que el conector se enganche firmemente (Figura 150).
Sujete la rama de 226 cm (89") del arnés de datos al brazo del monitor con una brida (Figura 150).
Piezas necesarias en este paso:
| Arnés de alimentación del módem — 1850 mm (72⅞")— Kit de sistema de fumigación de precisión GeoLink (Modelo 41633 o Modelo 41634) | 1 |
| Bridas — Kit de sistema de fumigación de precisión GeoLink (Modelo 41633 o Modelo 41634) | 5 |
Entre el soporte del depósito de combustible y el guardabarros delantero derecho, enrute el terminal plano (marcado ) y el terminal de 2 anillos (marcados y ) del arnés de alimentación del módem por debajo del bastidor de la máquina (Figura 151).

En el lado interior de la caja de asiento derecha, enrute el arnés de alimentación del módem hacia adelante y el conector del arnés de alimentación marcado RS232 junto al arnés de cables de la máquina (Figura 152).
Note: No se utiliza el conector marcado RS232.


Enrute el arnés de alimentación del módem por la parte superior del radiador, junto al arnés de cables de la máquina (Figura 153).


Enchufe el terminal del arnés de alimentación del módem marcado en el conector hembra de alimentación de accesorios del bloque de fusibles (Figura 154).
Note: Si el bloque de fusibles de la máquina no dispone de un circuito de alimentación de accesorios, instale un bloque de fusibles adicional; consulte a su distribuidor autorizado Toro.

Introduzca el fusible (10 A) en el zócalo del bloque de fusibles (Figura 155) del circuito de alimentación de accesorios que utilizó en el paso 1.

Sujete la rama de corriente conmutada y masa del arnés de cables del kit al arnés de cables de la máquina con 5 bridas.
Enrute los terminales de anillo del arnés de cables marcados y hacia atrás, y por encima del soporte del asiento (Figura 156).

Enrute los terminales de anillo por debajo del tubo izquierdo del bastidor y por encima de la batería (Figura 156).
Note: Se conectarán los terminales de anillo a los cables de la batería en Conexión del arnés GeoLink trasero, el arnés de datos de navegación y eléctrico, y el arnés de alimentación del módem a los cables de la batería.
Piezas necesarias en este paso:
| Arnés de datos del módem—300 cm (118")—Kit de sistema de fumigación de precisión GeoLink (Modelo 41633 o Modelo 41634) | 1 |
| Bridas — Kit de sistema de fumigación de precisión GeoLink (Modelo 41633 o Modelo 41634) | 8 |
Enrute el arnés de datos del módem con el conector RS-232 marcado hacia el monitor de fumigación (Figura 157).

En la parte delantera de la pantalla de fumigación, retire el tapón del puerto RJ45 (Figura 158).

Enchufe el conector RJ45 del cable de datos del módem marcado X-CONSOLE en el puerto RJ45 de la pantalla de fumigación (Figura 158).
Monte la tuerca estanca sobre el puerto RJ45 de la pantalla de fumigación, y apriete la tuerca estanca (Figura 158).
Monte la tuerca de compresión sobre la tuerca estanca, y apriete la tuerca de compresión (Figura 158).
Enrute el cable de datos del módem por el compartimento de almacenamiento (Figura 159).

Enrute el cable de datos del módem por el arnés de cables de la máquina, y a través del anillo de goma de la chapa de suelo (Figura 160).

Sujete el cable de datos del módem a los arneses de cables de la máquina con 4 bridas.
En la parte inferior de la máquina, enrute el cable de datos del módem hacia atrás, junto al arnés de cables de la máquina (Figura 161).

En la parte trasera del radiador, enrute el cable de datos del módem hacia arriba (Figura 162).

Sujete el cable de datos del módem a los arneses de cables de la máquina con 4 bridas.
Enrute el cable de datos del módem por el arnés de alimentación del módem (Figura 163), saliendo por el lado derecho de la máquina, y entre el soporte del depósito de combustible y el guardabarros delantero derecho.


Piezas necesarias en este paso:
| Módem CL-55 — Kit de sistema de fumigación de precisión GeoLink (Modelo 41633 o Modelo 41634) | 1 |
| Soporte del módem | 1 |
| Tornillo (Nº 10-24 x 1½") | |
| Espaciador (¼" x ¾") | |
| Contratuerca (Nº 10-24) | 2 |
Retire las 2 contratuercas con arandela prensada (5/16") y los 2 pernos con arandela prensada (5/16" x 1") que sujetan el soporte del limpiador de aire al panel derecho de la caja del asiento (Figura 164).

Retire la contratuerca con arandela prensada trasera (5/16") y el tornillo (5/16" x ¾") que sujetan el soporte del depósito de refrigerante al panel derecho de la caja del asiento (Figura 164).
Enchufe el conector coaxial del arnés de la antena del módem marcado en el puerto coaxial del módem CL-55 marcado WIFI/BT, y apriete el conector coaxial (Figura 165).

Enchufe el conector rápido coaxial azul del arnés de la antena del módem marcado en el conector del módem CL-55 marcado hasta que los conectores se enganchen firmemente (Figura 165).
Enchufe el conector rápido coaxial violeta del arnés de la antena del módem marcado en el conector del módem CL-55 marcado hasta que los conectores se enganchen firmemente (Figura 165).
Módem CDMA solamente: Enchufe el conector rápido coaxial rojo del arnés de la antena del módem marcado LTE-2 en el conector del módem CL-55 marcado 4G DIV hasta que los conectores se enganchen firmemente (Figura 165).
Note: El módem GSM no tiene conector LTE-2.
Enchufe el conector de 4 pines del arnés de datos del módem marcado en el conector hembra de 4 vías (sin marcar) del módem CL-55, y apriete la tuerca moleteada del conector de 4 pines (Figura 166).

Enchufe el conector hembra de 18 vías del arnés de alimentación del módem marcado en el conector de 18 pines del módem CL-55 (Figura 166).
Monte el soporte del módem en el módem CL-55 con 2 tornillos (Nº 10-24 x 1½"), 2 espaciadores (¼" x ¾") y 2 contratuercas (Nº 10-24), como se muestra en la Figura 167.

Alinee el soporte del módem con el panel derecho de la caja del asiento (Figura 168).
Important: Asegúrese de que los arneses de cables están enrutados dentro del soporte del módem.

Monte el soporte del módem en el panel derecho de la caja del asiento y el soporte del limpiador de aire (Figura 168 y Figura 169) con los 2 pernos con arandela prensada (5/16" x 1") y las 2 contratuercas con arandela prensada (5/16") que retiró en Preparación de la máquina.

Monte el soporte del módem en el panel derecho de la caja del asiento y el soporte del depósito de refrigerante (Figura 168 y Figura 169) con el tornillo (5/16 x ¾) y la contratuerca con arandela prensada (5/16).
Apriete los pernos con arandela prensada, el tornillo y las contratuercas con arandela prensada.
Piezas necesarias en este paso:
| Arnés del Bus ISO-CAN — 302 cm (119" — Kit de sistema de fumigación de precisión GeoLink Modelo 41633 o Modelo 41634) | 1 |
| Bridas — Kit de sistema de fumigación de precisión GeoLink (Modelo 41633 o Modelo 41634) | 12 |
En la parte delantera de la máquina, alinee el conector de 4 pines del arnés del Bus ISO-CAN – 302 cm (119") marcado TO ISOBUS hacia el panel de instrumentos (Figura 170).

Retire la terminación del Bus ISO del conector hembra de 4 vías del arnés GeoLink marcado CAN 1 ISOBUS TERMINATOR (Figura 171).
Note: Ya no necesitará el tapón.

Enchufe el conector TO ISOBUS del arnés del Bus ISO-CAN en el conector CAN 1 ISOBUS TERMINATOR del arnés GeoLink (Figura 171).
Enrute el otro extremo del arnés del Bus ISO-CAN a través del anillo de goma del suelo (Figura 172).

Sujete el arnés del Bus ISO-CAN al arnés de cables de la máquina con 2 bridas.
En la parte inferior de la máquina, enrute el arnés del Bus ISO-CAN junto al arnés de cables de la máquina (Figura 173).

Sujete el arnés del Bus ISO-CAN al arnés de cables de la máquina con 3 bridas.
Gire hacia adelante el asiento del pasajero y sujételo con la varilla de sujeción.
En el lado derecho del radiador, enrute el arnés del Bus ISO-CAN hacia arriba, junto al arnés de cables de la máquina, y hacia la consola central (Figura 174).

Enrute el arnés del Bus ISO-CAN por debajo de la base de la consola y junto al arnés de cables de la máquina (Figura 175).

Enrute el conector de 3 pines (marcado TO TORO CANBUS) y el conector hembra de 3 vías (marcado CAN PORT A) del arnés del Bus ISO-CAN por el orificio de la base de la consola (Figura 175).
Sujete el arnés del Bus ISO-CAN al arnés de cables de la máquina con 6 bridas.
Retire el tapón del conector hembra de 3 vías del arnés de cables de la máquina (marcado CAN DIAGNOSTICS INTERCONNECT), como se muestra en la Figura 176.

Enchufe el conector de 3 pines del arnés del Bus ISO-CAN (marcado TO TORO CANBUS) en el conector hembra de 3 vías del arnés de cables de la máquina (marcado CAN DIAGNOSTICS INTERCONNECT ), como se muestra en la Figura 176.
Baje el asiento del pasajero.
Retire los 4 tornillos con arandela prensada (¼" x ¾") que sujetan el panel lateral de la consola central, como se muestra en la Figura 177.

Incline el asiento del pasajero hacia adelante y retire el tornillo con arandela prensada trasero inferior (Figura 177).
Retire el panel lateral de la consola central.
Delante del controlador TEC, retire la resistencia de 75Ω del conector hembra de 3 vías (no marcado) del arnés de cables de la máquina (Figura 178).
Note: Guarde la resistencia para su instalación en Instalación del arnés adaptador y la resistencia de terminación.
Note: Se instalará el panel lateral en la consola central cuando se instale el Kit AutoSteer del Fumigador de césped Multi Pro 5800 con GeoLink; consulte las instrucciones de configuración en las Instrucciones de instalación del kit AutoSteer.

Piezas necesarias en este paso:
| Arnés adaptador – 13 cm (5") | 1 |
| Brida | 1 |
En el receptor de satélite, retire la terminación del Bus ISO del conector hembra de 6 vías del arnés GeoLink (Figura 180).
Note: Ya no necesitará la terminación del Bus ISO.

Enchufe el conector de 6 pines del arnés adaptador – 13 cm (5") – en el conector hembra de 6 vías del arnés GeoLink (Figura 180).
Enchufe la resistencia que retiró en Retirada de la resistencia de terminación el conector hembra de 3 vías del arnés adaptador (Figura 181).

Sujete el arnés adaptador al arnés GeoLink con una brida.
En la parte trasera de la máquina, localice el arnés de cables del kit de carrete de manguera eléctrico, detrás del depósito de fumigación (Figura 182, A).

Retire el tapón del conector de 2 pines del arnés principal trasero de alimentación del carrete de manguera (Figura 182, B).
Conecte el conector hembra de 2 vías del arnés del carrete de manguera eléctrico al conector de 2 pines del arnés de cables principal trasero (Figura 182, C).
Retire el tapón del conector hembra de 3 vías del arnés principal trasero de interconexión del arnés de fumigación (Figura 182, B).
Conecte el conector de 3 pines del arnés del carrete de manguera eléctrico al conector hembra de 3 vías del arnés principal trasero (Figura 182, C).
Al final de la rama de 236 cm (93") del arnés de cables, alinee el conector hembra de 4 vías del arnés de cables del kit de acabado con el conector de 4 pines del arnés de cables del compresor (Figura 183).

Inserte el conector de 4 pines en el conector hembra de 4 vías (Figura 183).
Note: Junte los conectores a presión hasta se enganchen firmemente.
Conecte el conector de 6 pines del arnés de cables de la bomba de enjuague al conector hembra de 6 vías del arnés principal trasero (Figura 184).

Alinee la cubierta de la bomba de enjuague sobre la placa base de la bomba de enjuague (Figura 185).

Presione los lados de la tapa de la bomba de enjuague y alinee las pestañas de la tapa con la placa base (Figura 185).
Introduzca las pestañas en las ranuras y suelte los lados de la tapa (Figura 185).
Mueva las varillas de sujeción de los asientos a las ranuras y baje los asientos.
Enrute el terminal positivo (cable rojo), el terminal negativo (cable negro) y el bloque de fusibles (50 A) del arnés de cables trasero hacia arriba entre la caja de la batería y el chasis de la máquina (Figura 186).

Enrute el terminal positivo (cable rojo), el terminal negativo (cable negro) y el bloque de fusibles de 10 A del arnés de navegación–eléctrico hacia arriba entre la caja de la batería y el chasis de la máquina.
Enrute los terminales de anillo marcados y del arnés de alimentación del módem hacia arriba entre la caja de la batería y el chasis de la máquina.
Retire los pernos de cabeza cuadrada y las tuercas hexagonales de los terminales de los cables positivo y negativo de la batería (Figura 186).
Ensamble un perno de cabeza cuadrada a través del terminal positivo (cable rojo) del arnés de cables trasero, el terminal positivo del arnés de navegación-eléctrico, el arnés de alimentación del módem y el terminal del cable positivo de la batería (Figura 186).
Sujete provisionalmente los terminales y el perno de cabeza cuadrada con una tuerca hexagonal (Figura 186).
Ensamble un perno de cabeza cuadrada a través del terminal negativo (cable negro) del arnés de cables trasero, el terminal negativo del arnés de navegación–eléctrico, el arnés de alimentación del módem y el terminal del cable negativo de la batería (Figura 186).
Sujete provisionalmente los terminales y el perno de cabeza cuadrada con una tuerca hexagonal (Figura 186).
Conecte el cable positivo (rojo) al borne positivo (+) de la batería y apriete la tuerca; consulte la Figura 186, en Conexión del arnés GeoLink trasero, el arnés de datos de navegación y eléctrico, y el arnés de alimentación del módem a los cables de la batería.
Conecte el cable negativo (negro) al borne negativo (–) de la batería y apriete la tuerca; consulte la Figura 186 en Conexión del arnés GeoLink trasero, el arnés de datos de navegación y eléctrico, y el arnés de alimentación del módem a los cables de la batería.
Coloque las cubiertas aislantes sobre ambos bornes de la batería.
Instale la cubierta de la batería y sujétela con la correa; consulte Figura 1 en Desconexión de la batería.
Introduzca la llave en el interruptor de encendido y gire el interruptor a la posición de CONECTADO.
Note: No arranque el motor.
En la pantalla de presentación, pulse y mantenga pulsado el botón 5 (extremo derecho) de InfoCenter para acceder a la pantalla de Menú principal (Figura 187 o Figura 188).


En el Menú principal, pulse el botón 1 o 2 hasta que la opción de Ajustes quede resaltada, y pulse el botón 4 para navegar por los menús de Ajustes (Figura 189).

En el menú Configuración, pulse el botón 1 o el botón 2 hasta que aparezca resaltada la opción GeoLink, y pulse el botón 4 para desplazarse hasta el menú de GeoLink (Figura 190).

En el menú de GeoLink, Pulse el botón 4 para seleccionar la opción Yes (Sí), y pulse el botón 5 para guardar los ajustes y salir del menú (Figura 191).

Gire el interruptor de encendido a la posición de DESCONECTADO (Figura 192).

Gire el interruptor de encendido a la posición de CONECTADO (Figura 192).
Note: La pantalla de inicio del sistema GeoLink debe aparecer en el InfoCenter.

Gire el interruptor de encendido a la posición de DESCONECTADO.
Gire la llave de contacto a la posición de MARCHA (gasolina) o PRECALENTAMIENTO/MARCHA (diésel).
Compruebe que cada uno de los siguientes componentes indica que recibe potencia:
Gire la llave de contacto a la posición de DESCONECTADO.
Compruebe que los componentes siguientes no reciben corriente:
Consola de control
Receptor de satélite
Controlador automático de secciones
Gire la llave de contacto a la posición de MARCHA (gasolina) o PRECALENTAMIENTO/MARCHA (diésel).
Pulse el icono ACERCA DE (Toro) en la esquina superior izquierda de la consola de control (Figura 198).

Compare los números de versión del software en los lugares siguientes:
Cuando se utiliza, la página de la Guía de software de su sistema GeoLink
Pantalla de la consola de control
Note: Si las versiones de software son diferentes, póngase en contacto con Toro NSN en 1-844-GEOLINK (1-844-436-5465) o con NSNTech@toro.com para obtener asistencia técnica.
Seleccione las unidades de medida; consulte el Manual del operador o la Guía de software de su sistema GeoLink.
Cree una nueva parcela; consulte el Manual del operador o la Guía de software de su sistema GeoLink.
Cree un nuevo producto y caudal de aplicación; consulte el Manual del operador o la Guía de software de su sistema GeoLink.
Pulse el menú Trabajos y pulse el icono CREAR NUEVO TRABAJO (Figura 199).

Utilice el teclado en pantalla para escribir un nombre para el trabajo genérico, y pulse el icono Confirmar (Figura 199).
En el cuadro de diálogo Nuevo trabajo, pulse el icono de la BOQUILLA (Figura 200).

En la lista de selección de boquillas, pulse cualquier icono de boquilla y pulse el icono Confirmar (Figura 200).
En el cuadro de diálogo Nuevo trabajo, pulse el icono Confirmar (Figura 201).

Ponga el freno de estacionamiento.
Añada 200 litros (50 galones US) de agua al depósito de fumigación; consulte el Manual del operador de la máquina.
Arranque el motor y ponga la velocidad del motor en Rápido.
En la consola de control GeoLink, pulse el icono CONTROLADOR DE CAUDAL DE FUMIGACIóN (Figura 202).

En el cuadro de diálogo Controlador del caudal de fumigación, pulse el icono MODO DE CONTROL DE CAUDAL hasta que aparezca el modo manual (Figura 202).
Presione el icono Reducir (-) o Aumentar (+) para ajustar la presión del sistema de fumigación (Figura 202) a 13.75 bar (200 psi).
En la máquina, mueva el interruptor de sección maestro a la posición de ACTIVADO (Figura 203).

En la consola de control GeoLink, pulse el icono INTERRUPTOR MAESTRO (Figura 204) a ACTIVADO (verde).

Compruebe que todos los conectores y componentes del fumigador están libres de fugas.
Note: Si encuentra fugas, apague el motor y repare el conector o el componente.
Ponga el freno de estacionamiento y arranque el motor.
Note: Deje que el motor y el sistema hidráulico se calienten durante 10 minutos.
Asegúrese de que el interruptor de sección maestro está en la posición de DESACTIVADO.
Ponga el interruptor de la bomba de fumigación y el interruptor de agitación del depósito en la posición de ACTIVADO.
Ponga los interruptores de las secciones izquierda, central y derecha en la posición de ACTIVADO.
Ponga la velocidad del motor en Rápido.
En la consola de control GeoLink, pulse el icono CONTROLADOR DE CAUDAL DE FUMIGACIóN.
En el cuadro de diálogo Controlador del caudal de fumigación, pulse el icono MODO DE CONTROL DE CAUDAL hasta que aparezca el modo manual (Figura 205).

Presione el icono Reducir (-) o Aumentar (+) para ajustar la presión del sistema de fumigación (Figura 205) a 6.9 bar (100 psi).
En la máquina, ponga el interruptor de agitación del depósito en la posición de DESACTIVADO.
Observe la presión del sistema de fumigación. Si la presión del sistema de fumigación es de 6.9 bar (100 psi), la válvula de agitación está correctamente ajustada.
Si la presión del sistema de fumigación ha cambiado, ajuste la válvula de desvío de agitación; consulte Ajuste de la válvula de desvío de agitación.
Con el interruptor de agitación del depósito en la posición de DESACTIVADO, vaya a la parte trasera de la máquina y localice la válvula de desvío de agitación.

Ajuste la válvula de desvío de agitación (Figura 206) hasta que el indicador indique una presión del sistema de fumigación de 6.89 bar (100 psi).
Ponga el interruptor de agitación del depósito en la posición de ACTIVADO y observe la presión del sistema de fumigación.
Note: Si el indicador de presión del sistema de fumigación indica más de 6.9 bar (100 psi), repita los pasos 1 y 2.
Ponga el interruptor de agitación del depósito en la posición de DESACTIVADO y observe la presión del sistema de fumigación.
Note: Si el indicador de presión del sistema de fumigación indica más de 6.9 bar (100 psi), repita los pasos 1 y 2.
Calibre el caudalímetro; consulte el Manual del operador o la Guía de software de su sistema GeoLink.
Pulse el icono INFORMACIóN GENERAL y luego deslice el dedo sobre el icono PANTALLA COMPLETA en la esquina superior derecha de la ventana de información del sistema (Figura 207).

En la pantalla de información del sistema, utilice la barra de desplazamiento para navegar al icono CL55 (Figura 208).

Pulse el icono CL55 para mostrar información sobre la intensidad de la señal(Figura 208), y compruebe que la intensidad de la señal del módem es de entre -60 dBm y -99 dBm.
Note: Si la señal del módem es de -100 dBm o menos, póngase en contacto con su distribuidor autorizado Toro, con Toro NSN en 1-844-GEOLINK (1-844-436-5465), o con NSNTech@toro.com para obtener asistencia técnica.
Deslice el dedo sobre el icono PANTALLA COMPLETApara minimizar la pantalla de información del sistema.
Realice una calibración de la brújula en la ubicación del distribuidor; consulte Calibración de la brújula en el Manual del operador o la Guía de software de su sistema GeoLink.
Important: Debe borrar la memoria RAM no volátil en la ubicación del cliente.
Póngase en contacto con Toro NSN en 1-844-GEOLINK (1-844-436-5465) o con NSNTech@toro.com (asistencia al cliente) para solicitar la contraseña de acceso del distribuidor.
Gire la llave de contacto a la posición de CONECTADO.
Pulse el icono CONFIGURACIóN de la pantalla principal (Figura 209).

En la pantalla de configuración, pulse el icono USUARIO y el icono NIVEL DE ACCESO (Figura 210).

Pulse el icono CONTRASEñA (Figura 210).
Utilice el teclado en pantalla para introducir la contraseña que recibió en el paso 1, y pulse el icono Confirmar (Figura 211).

Note: La pantalla de nivel de acceso del usuario muestra el icono CONCESIONARIO (Figura 212).

En la pantalla Configuración, pulse el icono SISTEMA, el icono GPS y el icono CONFIGURACIóN AVANZADA (Figura 213).

En la pantalla Configuración avanzada del GPS, pulse el icono REINICIAR NVRAM (Figura 213).
En el cuadro de diálogo Advertencia recepción GPS, pulse el icono Sí (Figura 213).
Note: Se muestra brevemente la advertencia Receptor desconectado (Figura 214).

Espere 2 minutos para que se inicien el receptor de satélite y el módem.
Pulse el icono SALIR DE CONFIGURACIóN

Gire el interruptor de encendido a la posición de DESCONECTADO.
Realice una calibración de la brújula en la ubicación del cliente; consulte Calibración de la brújula en el Manual del operador o la Guía de software de su sistema GeoLink.