Le kit système de pulvérisation GeoLink® est un accessoire pour véhicule pulvérisateur destiné aux utilisateurs professionnels et temporaires employés à des applications commerciales. Il est principalement conçu pour pulvériser les pelouses entretenues régulièrement dans les parcs, les terrains de golf, les terrains de sport et les espaces verts commerciaux.
Rendez-vous sur www.Toro.com pour tout document de formation à la sécurité et à l'utilisation des produits, pour tout renseignement concernant un produit ou un accessoire, pour obtenir l'adresse des dépositaires ou pour enregistrer votre produit.
Les substances chimiques utilisées dans le système de pulvérisation peuvent être nocives et toxiques pour vous-même, toute personne présente, les animaux, les plantes, le sol et autres.
Lisez attentivement et observez toutes les indications des étiquettes signalétiques et des fiches de données de sécurité (FDS) de tous les produits chimiques utilisés, et protégez-vous en suivant les recommandations du fabricant des produits chimiques. Utilisez, par exemple, un équipement de protection individuelle (EPI), y compris une protection pour le visage et les yeux, des gants ou tout autre équipement de protection adapté pour ce produit chimique.
Plusieurs produits chimiques peuvent être utilisés et vous devez donc prendre connaissance des données relatives à chacun d'eux.
Refusez d'utiliser ou d'intervenir sur le pulvérisateur si ces renseignements ne sont pas disponibles.
Avant toute intervention sur un système de pulvérisation, assurez-vous qu'il a été rincé à trois reprises et neutralisé en conformité avec les recommandations du ou des fabricant(s) des produits chimiques et que toutes les vannes ont effectué trois cycles.
Assurez-vous de disposer d'une source d'eau propre et de savon à proximité afin de pouvoir laver immédiatement la peau en cas de contact direct avec un produit chimique.
Garez la machine sur une surface plane et horizontale.
Serrez le frein de stationnement; voir le Manuel de l'utilisateur.
Déployez les sections de rampe droite et gauche en position horizontale.
Coupez le moteur; voir le Manuel de l'utilisateur.
Nettoyez le pulvérisateur; voir la section Nettoyage du pulvérisateur dans le Manuel de l'utilisateur de la machine.
Important: Vous devez vider complètement la cuve du pulvérisateur avant d'installer le kit de finition du système de pulvérisation GeoLink.
Pour les modèles équipés de l'option kit de rinçage de cuve, procédez comme suit :
Pompez l'eau du réservoir de rinçage dans la cuve du pulvérisateur; voir la section Utilisation du kit de rinçage dans les Instructions d'installation du kit de rinçage de la cuve.
Vidangez l'eau de la cuve du pulvérisateur; voir la section Nettoyage du pulvérisateur dans le Manuel de l'utilisateur de la machine.
Enlevez la clé du commutateur d'allumage; voir le Manuel de l'utilisateur.
Déposez le couvercle de la batterie et débranchez le câble de négatif (noir, masse) de la borne de la batterie (Figure 1 et Figure 2).
Les étincelles peuvent provoquer l'explosion des gaz de la batterie et vous blesser.
S'ils sont mal acheminés, les câbles de la batterie peuvent subir des dommages ou endommager le pulvérisateur et produire des étincelles.
Débranchez toujours le câble négatif (noir) de la batterie avant le câble positif (rouge).
Connectez toujours le câble positif (rouge) de la batterie avant le câble négatif (noir).
Les bornes de la batterie ou les outils en métal peuvent causer des courts-circuits au contact des pièces métalliques du pulvérisateur et produire des étincelles.
Lors de la mise en place ou du retrait de la batterie, évitez que les bornes touchent les parties métalliques du pulvérisateur.
Évitez de créer des courts-circuits entre les bornes de la batterie et les parties métalliques du pulvérisateur avec des outils en métal.
Laissez toujours la sangle de la batterie en place pour protéger et immobiliser la batterie.


Débranchez le câble positif (rouge) de la borne de la batterie (Figure 2).
Basculez les deux sièges vers l'avant et soutenez-les en insérant les béquilles dans les crans au bout des fentes de la base de la console centrale.
Attendez que le moteur soit complètement froid.
À l'arrière de la machine, localisez le faisceau de câblage du kit dévidoir électrique à l'arrière de la cuve du pulvérisateur (A de Figure 3).

Débranchez le connecteur à 2 douilles du faisceau correspondant au dévidoir électrique du connecteur à 2 broches du faisceau principal arrière (B de Figure 3).
Débranchez le connecteur à 3 broches du faisceau correspondant au dévidoir électrique du connecteur à 3 douilles du faisceau principal arrière (B de Figure 3).
À l'arrière de la machine, appuyez de chaque côté du couvercle de la pompe de rinçage et soulevez-le jusqu'à ce que les languettes passent les fentes dans la plaque de montage, puis déposez le couvercle de la machine (Figure 5).

Débranchez le connecteur à 6 broches sur le faisceau de la pompe de rinçage du connecteur à 6 douilles sur le faisceau principal arrière (Figure 6).

Pièces nécessaires pour cette opération:
| Cache d'interrupteur (kit dévidoir pivotant – réf. Toro 99-7420) | 1 |
Retirez les 2 boulons (5/16 x ¾ po) et les 2 contre-écrous (5/16 po) qui fixent le boîtier de commande à la plaque de montage du dévidoir (Figure 7).

Débranchez le connecteur à 8 douilles du faisceau du boîtier de commande de l'INTERRUPTEUR DE COMMANDE DE PRESSION (Figure 7).
Acheminez le connecteur à 8 douilles dans le boîtier de commande (Figure 7).
Pincez les languettes de verrouillage de l'interrupteur de COMMANDE DE PRESSION et poussez l'interrupteur hors du boîtier de commande (Figure 7).
Note: Vous n'avez plus besoin de l'interrupteur que vous venez de déposer de la machine.
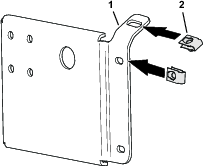
Placez le cache devant l'ouverture dans le boîtier de commande qui était occupée par l'interrupteur (Figure 7).
Insérez le cache dans le boîtier de commande jusqu'à ce qu'il s'enclenche solidement dans le couvercle (Figure 7).
Placez le boîtier de commande devant la plaque de montage du dévidoir (Figure 7) et fixez-le sur la plaque à l'aide des 2 boulons (5/16 x ¾ po) et des 2 contre-écrous (5/16 po).
Serrez les boulons et les écrous à un couple de 19,78 à 25,42 N·m (175 à 225 po-lb).
Retirez les fixations suivantes qui maintiennent l'arrière du carénage de soubassement sur le châssis de la machine (Figure 8) :
Modèles 2016 – 7 boulons à embase (5/16 x ⅞ po) et 7 rondelles (5/16 po)
Modèles 2017 et suivants – 5 boulons à embase (5/16 x ⅞ po) et 5 rondelles (5/16 po)
Note: Conservez les boulons à embase et les rondelles pour le montage à l'opération 5 de Pose du carénage de soubassement.


Retirez les 4 contre-écrous à embase (5/16 po) des boulons et le boulon de carrosserie qui fixent les barrettes de support du carénage de soubassement aux supports du moteur de la machine (Figure 9).
Note: Ne retirez pas les boulons de la machine. Conservez les contre-écrous à embase pour la pose à l'opération 3 de Pose du carénage de soubassement.

Soulevez les barrettes de support par-dessus les boulons qui fixent le carénage de soubassement aux supports du moteur.
Déposez le carénage de soubassement de la machine (Figure 8 et Figure 9).
Retirez les 3 boulons à embase et l'écrou à embase qui fixent le support de montage du module de commande du moteur au support du moteur et du boîtier auxiliaire du moteur (Figure 10).
Note: Conservez les boulons à embase et l'écrou à embase pour le montage à l'opération 2 de Montage du module de commande du moteur et du support de montage (modèles à moteur à essence).


Déplacez le module de commande du moteur et le support de montage vers le bas et l'arrière pour accéder aux connecteurs des faisceaux de câblage avant et arrière de la machine.
Note: Ne déposez pas ou ne débranchez pas le module de commande du moteur.
Note: Si la machine est équipée d'un kit pistolet-pulvérisateur en option, voir Débranchement du tube de détection de pression et du flexible d'alimentation – Kit pistolet-pulvérisateur ou kit dévidoir pivotant en option.
Poussez la bague de blocage du coupleur de tube dans le raccord coudé à 90° de la vanne de section de rampe droite (Figure 12 ou Figure 13).


Tirez le tube de détection de pression du manomètre de la planche de bord hors du coupleur du tube (Figure 12 ou Figure 13).
Note: Ne détachez pas le raccord coudé à 90° de la bride sur la vanne de section de rampe droite.
Pièces nécessaires pour cette opération:
| Faisceau arrière | 1 |
Note: Utilisez un palan quand vous débranchez les faisceaux avant et arrière.

En passant sous la machine, le long du tube de cadre droit, localisez les connecteurs des faisceaux avant et arrière de la machine (Figure 14).
Débranchez les 6 paires de connecteurs entre les faisceaux avant et arrière, comme montré de la Figure 15 à la Figure 20.






Retirez les 3 fixations enfichables qui fixent le faisceau arrière dans les trous du tube de cadre droit de la machine (Figure 21).

À l'arrière de la machine (entre le tube de cadre droit et l'aile droite), débranchez le connecteur à 3 broches du faisceau du capteur de vitesse, sur le moteur de traction hydraulique droit, du connecteur à 3 douilles du faisceau principal arrière (Figure 22).

À l'arrière du support du collecteur, débranchez le connecteur à 3 douilles de la vanne d'agitation et les connecteurs à 3 broches des 3 vannes de section de rampe (Figure 23).

Retirez les fixations enfichables qui fixent le faisceau arrière dans les trous sur le côté avant et la plaque inférieure du support de collecteur (Figure 24).

Pour les modèles équipés du système de pulvérisation ExcelaRate, débranchez le connecteur à 3 douilles du faisceau arrière du connecteur à 3 broches du transducteur de pression (Figure 25).

À l'arrière de la machine, débranchez les connecteurs à 2 douilles suivants (Figure 26) du collecteur du vérin de levage comme suit :
Solénoïde de levée – côté droit
Solénoïde de levée – côté gauche
Solénoïde d'activation
Solénoïde de descente – côté droit
Solénoïde de descente – côté gauche

À l'arrière de la machine, du côté intérieur de la pompe de pulvérisation, débranchez le connecteur à 2 douilles sur le faisceau principal arrière du connecteur à 2 broches du relais de la pompe (Figure 27).

Retirez les fixations enfichables qui fixent le faisceau arrière (Figure 28) dans les trous du tube transversal arrière (vers l'arrière des moteurs de traction hydrauliques).

Détachez le tube de détection de pression du manomètre de planche de bord du faisceau de câblage arrière de la machine (Figure 29).

Retirez le faisceau de câblage arrière de la machine.
Note: Vous n'avez plus besoin du faisceau principal arrière que vous avez retiré de la machine.
Pièces nécessaires pour cette opération:
| Attache-câble | 1 |
| Cache d'interrupteur | 1 |
Sous la planche de bord de la machine, pincez les languettes de verrouillage de l'interrupteur de régulation de débit et poussez l'interrupteur hors de la planche de bord (Figure 30).

Débranchez le connecteur à 8 douilles du faisceau avant de la machine (étiqueté Rate Switch) du connecteur à 8 broches de l'interrupteur (Figure 30).
Note: Vous n'avez plus besoin de l'interrupteur de régulation de débit que vous avez retiré de la machine.
Faites passer la branche du faisceau avant de l'interrupteur de régulation de débit par l'ouverture de la planche de bord et attachez-la contre le faisceau avant avec un attache-câble.
Placez le cache d'interrupteur devant l'ouverture de la planche de bord qui était occupée par l'interrupteur de régulation de débit (Figure 30).
Insérez le cache dans la planche de bord jusqu'à ce qu'il s'enclenche solidement dessus (Figure 30).
Pièces nécessaires pour cette opération:
| Chapeau de raccord | 1 |
| Chapeau (coupleur rapide) | 3 |
| Étrier de fixation | 3 |
Retirez le collier à bride qui fixe le chapeau du raccord à orifice, le transducteur de pression et le joint au raccord coudé à 90° au bout de la vanne de section droite, et déposez le chapeau, le transducteur et le joint (Figure 31).
Note: Conservez le transducteur de pression, le chapeau du raccord à orifice, le joint et le collier pour le montage sous Montage du transducteur de pression sur le collecteur.

Déposez le collier à bride, le raccord coudé à 90° (sans orifice) et le joint du raccord coudé à 90° à orifice (Figure 31).
Note: Conservez le collier à bride et le joint pour l'installation sous 3.
Placez le chapeau de raccord et le joint devant le raccord coudé à 90° au bout de la vanne de section droite (Figure 31).

Fixez le chapeau de raccord et le joint sur le raccord coudé à 90° à l'aide du collier à bride (Figure 31).
Desserrez les 4 boulons à embase (¼ x ¾ po) et les 4 contre-écrous à embase (¼ po) qui fixent les 3 vannes de section au support du collecteur (Figure 33).

Pour les modèles non équipés du système de pulvérisation ExcelaRate, déposez le tube de raccordement comme suit :
Retirez les 2 colliers à bride qui fixent le tube de raccordement aux adaptateurs réducteurs sur la vanne de commande générale et la vanne de section de rampe gauche (Figure 34).

Déposez le coupleur droit et les 2 joints de la machine (Figure 34).
Note: Conservez les colliers et les joints pour la pose aux opérations 11 et 12 de Montage du débitmètre.
Déposez le collier de 76 mm (3 po) qui fixe le raccord adaptateur et le joint (2¼ po) sur la bride de la vanne de section de rampe gauche, et déposez l'adaptateur, le collier et le joint de la machine (Figure 35).
Note: Conservez l'adaptateur réducteur pour la pose aux opérations 13 de Montage du débitmètre.

Pour les modèles équipés du système de pulvérisation ExcelaRate, déposez le collier à bride et le joint qui fixent l'adaptateur réducteur à la vanne de section de rampe gauche (Figure 36).
Note: Ne déposez pas l'adaptateur réducteur du débitmètre.

Sur la section de rampe extérieure, retirez le collier qui fixe le flexible d'alimentation de la section de rampe au raccord en T cannelé (Figure 37).

Débranchez le flexible du raccord en T (Figure 37).
Sortez l'extrémité libre du flexible du collier en R (Figure 37).
Répétez les opérations 1 à 3 pour le flexible d'alimentation de l'autre section de rampe extérieure.
Sous la section de rampe centrale, retirez le collier qui fixe le flexible d'alimentation de la section de rampe au raccord en T cannelé (Figure 38).

Déposez les étriers qui fixent les raccords droits cannelés aux raccords rapides des vannes de section de rampe gauche, centrale et droite (Figure 39).
Note: Conservez les étriers pour la pose à la section Branchement des flexibles sur les vannes de buse 7 à 10.

Débranchez les flexibles des vannes de section de rampe gauche, centrale et droite de la machine (Figure 39).
Note: Vous n'avez plus besoin des flexibles des vannes de section de rampe gauche, centrale et droite.
À l'extrémité inférieure du flexible de dérivation supérieur, retirez le boulon à embase (5/16 x ¾ po), la rondelle (5/16 po) et le collier en R qui fixent le flexible de dérivation supérieur à la plaque de montage arrière de la machine (Figure 40 et Figure 41).


Déposez les 2 colliers qui fixent les flexibles de dérivation supérieur et inférieur sur le raccord à 90° cannelé (Figure 41).
Déposez le raccord à 90° cannelé des flexibles (Figure 41).
Note: Conservez le raccord à 90° cannelé et les 2 colliers pour le montage aux opérations 8 et 9.
Déposez les colliers qui fixent le flexible de vanne de vidange et le flexible de vidange de cuve arrière sur le raccord en T cannelé (Figure 42 et Figure 43).


Détachez le raccord en T du flexible de vanne de vidange et le flexible de vidange de cuve arrière (Figure 42 et Figure 43).
Retirez l'étrier qui fixe le raccord à 90° cannelé du flexible de dérivation au raccord rapide de la vanne de dérivation sur la vanne de section de rampe droite, et séparez les raccords de flexible et de vanne (Figure 44).

Déposez les flexibles de dérivation supérieur et inférieur de la machine (Figure 45).
Note: Vous n'avez plus besoin de la vanne de coupure, du raccord en T, du flexible de dérivation supérieur et du flexible de dérivation inférieur.

Insérez le raccord à 90° cannelé que vous avez retiré à l'opération 3 dans le flexible de vanne de vidange et le flexible de vidange de cuve arrière (Figure 46 et Figure 47).


Fixez le raccord à 90° cannelé et les flexibles de vidange à l'aide des 2 colliers que vous avez retirés à l'opération 2 (Figure 46 et Figure 47).
Retirez l'étrier qui fixe l'actionneur à la vanne du collecteur associée à la vanne de section (Figure 48).
Note: Rapprochez les 2 jambes de l'étrier de fixation tout en le poussant vers le bas.
Note: Conservez l'actionneur et l'étrier de fixation pour la pose aux opérations 8 et 9 de Dépose de la vanne de coupure de dérivation et pose de la vanne de dérivation avec chapeaux.

Déposez l'actionneur de la vanne du collecteur (Figure 48).
Répétez les opérations 1 et 2 pour les 2 autres actionneurs de vanne.
Retirez les 4 boulons (6 x 12 mm) qui fixent la vanne de coupure de dérivation au support de vanne (Figure 49).
Retirez l'étrier qui fixe la vanne de coupure de dérivation à la vanne de dérivation associée à la vanne de section de rampe droite, et déposez la vanne de coupure (Figure 49).
Note: Vous n'avez plus besoin de la vanne de coupure de dérivation et des 4 boulons (6 x 12 mm).
Retirez les 3 étriers qui fixent les 3 vannes de dérivation sur les 3 vannes de collecteur (Figure 49).

Soulevez les 3 vannes de dérivation des 3 coupleurs rapides sur les vannes du collecteur (Figure 49).
Note: Vous n'avez plus besoin des vannes de dérivation.
Lubrifiez les joints toriques supérieur et inférieur du coupleur rapide de la vanne du collecteur avec la graisse fournie avec le chapeau du coupleur rapide (Figure 50).

Assemblez les 3 chapeaux sur les 3 raccords rapides des vannes du collecteur (Figure 50).
Fixez les 3 chapeaux sur les 3 coupleurs rapides à l'aide des 3 étriers (Figure 50).
Alignez le coupleur de l'actionneur de vanne de section que vous avez déposé à l'opération 2 de Dépose de l'actionneur de vanne sur l'orifice de pointeau de la vanne du collecteur (Figure 51).

Fixez l'actionneur de vanne de section à la vanne du collecteur à l'aide de l'étrier (Figure 51) que vous avez retiré à l'opération 1 de Dépose de l'actionneur de vanne.
Note: Vous ajouterez les vannes de section de rampe aux vannes du système à 10 vannes sous Montage des vannes de pulvérisation 8, 9 et 10 sur le support de vannes.
Retirez les 2 boulons à embase (¼ x ¾ po) et les 2 contre-écrous (¼ po) qui fixent la vanne de section de rampe droite au support de collecteur (Figure 52).

Retirez les 2 boulons à embase (¼ x ¾ po) et les 2 contre-écrous (¼ po) qui fixent la vanne de section de rampe gauche au support de collecteur (Figure 52).
Déposez les vannes de section de rampe du support de collecteur et mettez-les de côté (Figure 52).
Note: Conservez les vannes de section de vanne pour l'installation aux opérations 1 de Montage des vannes de pulvérisation 8, 9 et 10 sur le support de vannes. Mettez au rebut les 4 boulons à embase et les 4 contre-écrous.
Retirez les 6 autocollants des 3 vannes de section de rampe (Figure 53).

Retirez les 2 boulons à embase (5/16 x 1 po) et les 2 contre-écrous à embase (5/16 po) qui fixent le support de la vanne de coupure de dérivation au support du collecteur (A de Figure 54), et déposez le support de la vanne de coupure.

Vissez un boulon à embase (5/16 x 1 po) et un contre-écrou à embase (5/16 po) sur le support de collecteur (B de Figure 54) dans le trou inférieur du support de vanne de coupure que vous avez déposé à l'opération 5.
Note: Conservez l'autre boulon à embase et l'autre contre-écrou à embase pour le montage à l'opération 3 de Montage du transducteur de pression sur la machine.
Serrez le boulon à embase et l'écrou à embase à un couple de 19,78 à 25,42 N·m (175 à 225 po-lb).
Pièces nécessaires pour cette opération:
| Débitmètre (modèles 2016 sans système de pulvérisation ExcelaRate seulement) – non inclus dans ce kit; utilisez la réf. Toro 106-1038 pour commander. | 1 |
| Collier à bride 51 mm (2 po) | 1 |
| Joint (diamètre extérieur 1-5/16 po) | 1 |
| Raccord cannelé (1 po) | 1 |
| Flexible (1 x 7¼ po) | 1 |
| Collier | 3 |
| Transducteur de pression (modèles 2016 sans système de pulvérisation ExcelaRate seulement) – non inclus dans ce kit; utilisez la réf. Toro 130-8202 pour commander. | 1 |
| Chapeau de raccord à orifice (modèles 2016 sans système de pulvérisation ExcelaRate seulement) – non inclus dans ce kit; utilisez la réf. Toro 127-1185 pour commander. | 1 |
| Collecteur | 1 |
| Flexible (1 x 8½ po) | 1 |
| Collier en R | 1 |
Pour les modèles sans système de pulvérisation ExcelaRate, procédez comme suit :
Placez le joint (2¼ po) que vous avez retiré à l'opération 22 de Dépose du tube de raccordement et de l'adaptateur réducteur entre le débitmètre et l'adaptateur réducteur qui est monté sur le côté droit de la vanne maîtresse (Figure 55).

Fixez légèrement le joint, le débitmètre et l'adaptateur réducteur (Figure 55) avec un collier à bride (76 mm/3 po) que vous avez retiré à l'opération 21 de Dépose du tube de raccordement et de l'adaptateur réducteur.
Placez le joint (2¼ po) et l'adaptateur réducteur que vous avez retirés à l'opération 23 de Dépose du tube de raccordement et de l'adaptateur réducteur et l'extrémité du débitmètre vers laquelle la flèche est dirigée (Figure 55).
Fixez le joint, le débitmètre et l'adaptateur réducteur (Figure 55) avec un collier à bride (76 mm/3 po) que vous avez retiré à l'opération 21 de Dépose du tube de raccordement et de l'adaptateur réducteur.
Alignez le joint (1-5/16 po) que vous avez retiré à l'opération et le raccord cannelé sur l'extrémité de l'adaptateur réducteur (Figure 56).

Fixez le raccord de flexible et le joint à l'adaptateur réducteur (Figure 56) avec un collier à bride (51 mm) (2 po).
Branchez le flexible (1 x 7¼ po) sur le raccord coudé cannelé du transducteur de pression et du collecteur, comme montré à la Figure 58.

Fixez le flexible et les raccords cannelés à l'aide d'un collier (Figure 58).
Branchez le flexible (1 x 8½ po) sur l'autre raccord coudé cannelé du transducteur de pression et du collecteur, comme montré à la Figure 58
Fixez le flexible et le raccord cannelé à l'aide d'un collier (Figure 58).
Branchez le flexible (1 x 7¼ po) qui est fixé au transducteur de pression et au collecteur (Figure 59) sur le raccord à bride cannelé (1 po).

Fixez légèrement le flexible au raccord à bride cannelé avec un collier (Figure 59).
Note: Vous serrerez le collier à l'extrémité gauche du flexible (1 x 7¼ po) sous Branchement du flexible sur le collecteur des vannes de pulvérisation.
Fixez le transducteur de pression et le collecteur dans la fente du support du collecteur à l'aide d'un collier en R (Figure 59), d'un boulon à embase (¼ x ¾ po) et d'un contre-écrou à embase (¼ po), comme montré à l'opération 5 de Démontage des vannes de section de rampe sur le support de collecteur.
Pièces nécessaires pour cette opération:
| Ensemble support et vannes de pulvérisation | 1 |
| Boulon (4 x 10 mm) | 4 |
| Contrôleur du pulvérisateur – kit système de pulvérisation de précision GeoLink (modèle 41633 ou 41634) | 1 |
| Contre-écrou à embase (4 mm) | 4 |
| Boulons à embase (5/16 x ¾ po) | 8 |
| Contre-écrous à embase (5/16 po) | 8 |
| Collier | 1 |
| Boulon à embase (¼ x ¾ po) | 2 |
| Contre-écrou à embase (¼ po) | 2 |
Placez le contrôleur du pulvérisateur devant le côté avant du support de vannes en orientant le connecteur à 40 broches vers l'extérieur (Figure 60).

Fixez le contrôleur au support de vannes (Figure 60) à l'aide des 4 boulons (4 x 10 mm) et des 4 contre-écrous à embase (4 mm).
Serrez les boulons et les écrous à un couple de 2,34 à 2,86 N·m (21 à 25 po-lb).
Capacité du matériel de levage : 23 kg (50 lb)
Avec un matériel de levage offrant la capacité de levage spécifiée, soulevez l'ensemble support et vannes de pulvérisation et alignez-le au-dessus de la section de rampe centrale (Figure 61).

Alignez les trous de la patte de montage du support de vannes et les trous dans le cadre en treillis de la section de rampe centrale (Figure 62).

Montez le support de vannes sur le cadre en treillis (Figure 62 et Figure 63) à l'aide de 4 boulons (5/16 x ¾ po) et de 4 contre-écrous à embase (5/16 po).

Répétez les opérations 2 à 3 pour l'autre patte de montage du support de vannes sur l'autre cadre en treillis.
Serrez les boulons à embase et les contre-écrous à embase à un couple de 19,78 à 25,42 N·m (175 à 225 po-lb).
Branchez le flexible (1 x 8½ po) sur le raccord à bride à 90° (1 po), comme montré à la Figure 64.

Fixez le flexible au raccord à bride au moyen d'un collier (Figure 64).
Serrez le collier qui fixe le flexible (1 x 7¼ po) sur le raccord à bride cannelé (1 po) que vous avez branché sous Montage du transducteur de pression sur la machine; voir Figure 64.
Important: La vanne de section de rampe gauche que vous avez déposée à l'opération 3 de Démontage des vannes de section de rampe sur le support de collecteur est identifiée comme la vanne de buse 8, la vanne de section de rampe centrale est identifiée comme la vanne de buse 9 et la vanne de section de rampe droite est identifiée comme la vanne de buse 10 dans le reste des instructions d'installation du kit de finition Geolink.
Alignez le joint et la bride de la vanne de section gauche (identifiée vanne de buse 8) sur la bride de la vanne de buse 7 (Figure 65).

Fixez légèrement le joint et la vanne de buse 8 à la vanne de buse 7 à l'aide d'un collier à bride (Figure 65).
Fixez la vanne de buse 10 sur le support de vannes (Figure 66) à l'aide des 2 boulons à embase (¼ x ¾ po) et des 2 contre-écrous à embase (¼ po) que vous avez retirés à l'opération 2 de Démontage des vannes de section de rampe sur le support de collecteur.

Serrez le boulon à embase et le contre-écrou à embase à un couple de 10,17 à 12,34 N·m (90 à 120 po-lb).
Serrez le collier à bride à la main.
Sur la section de rampe extérieure, coupez le flexible entre les 2 buses de pulvérisation (Figure 67).

Retirez le contre-écrou à embase (5/16 po) qui fixe la buse de pulvérisation sur son support (Figure 67).
Répétez les opérations 2 et 6 pour les 3 autres buses.
Note: Le boulon à tête hexagonale (5/16 x ¾ po, acier inoxydable) se détache du demi-collier supérieur quand vous ouvrez le collier; conservez le boulon pour la pose.
Note: Conservez le contre-écrou à embase et la buse pour la pose sous Pose des buses de pulvérisation sur les sections de rampes extérieures.
Note: Vous n'avez plus besoin de la partie cannelée et des morceaux coupés du flexible.
Répétez les opérations 2 à 3 pour l'autre section de rampe extérieure.
Sur la section de rampe centrale, coupez le flexible entre les 2 buses de pulvérisation (Figure 67).


Retirez le contre-écrou à embase (5/16 po) qui fixe la buse de pulvérisation sur son support (Figure 68).
Répétez les opérations 2 et 6 pour les 3 autres buses.
Avec les 12 buses de pulvérisation que vous avez retirées des sections de rampe centrale et extérieure, retirez les vis en acier inoxydable (nº 12 x 1¼ po) qui fixent les demi-colliers supérieurs et les douilles cannelées simples ou doubles (¾ po) sur le corps de chaque buse, et déposez les douilles cannelées (Figure 70).
Note: Le boulon à tête hexagonale (5/16 x ¾ po, acier inoxydable) se détache du demi-collier supérieur quand vous ouvrez le collier; conservez le boulon pour la pose.
Note: Conservez le contre-écrou à embase et la buse pour la pose sous Pose des buses de pulvérisation sur les sections de rampes centrales.
Note: Vous n'avez plus besoin de la partie cannelée et des morceaux coupés du flexible.

Pièces nécessaires pour cette opération:
| Flexible d'alimentation de 279 cm (110 po) | 2 |
| Flexible d'alimentation de 234 cm (92 po) | 2 |
| Flexible d'alimentation de 188 cm (74 po) | 4 |
| Flexible d'alimentation de 81 cm (32 po) | 2 |
| Collier en R | 2 |
| Collier en R double | 2 |
| Collier en R simple | 2 |
Identifiez les flexibles d'alimentation selon la longueur (Figure 71) pour la position de chacune des buses de pulvérisation comme suit :
| Position des buses de pulvérisation – section de rampe gauche | Position des buses de pulvérisation – section de rampe centrale | Position des buses de pulvérisation – section de rampe droite |
|---|---|---|
| Buse de pulvérisation 1 (vanne de buse 1) – flexible d'alimentation de 279 cm (110 po) | Buses de pulvérisation 5 et 6 (vanne de buse 5) – flexible d'alimentation de 81 cm (32 po) avec 2 flexibles d'embranchement | Buse de pulvérisation 9 (vanne de buse 7) – flexible d'alimentation de 188 cm (74 po) |
| Buse de pulvérisation 2 (vanne de buse 2) – flexible d'alimentation de 234 cm (92 po) | Buses de pulvérisation 7 et 8 (vanne de buse 6) – flexible d'alimentation de 81 cm (32 po) avec 2 flexibles d'embranchement | Buse de pulvérisation 10 (vanne de buse 8) – flexible d'alimentation de 188 cm (74 po) |
| Buse de pulvérisation 3 (vanne de buse 3) – flexible d'alimentation de 188 cm (74 po) | Buse de pulvérisation 11 (vanne de buse 9) – flexible d'alimentation de 234 cm (92 po) | |
| Buse de pulvérisation 4 (vanne de buse 4) – flexible d'alimentation de 188 cm (74 po) | Buse de pulvérisation 12 (vanne de buse 10) – flexible d'alimentation de 279 cm (110 po) |
Note: Voir la Figure 72 à la section Branchement des flexibles sur les vannes de buse 1 à 4, la Figure 73 à la section Branchement des flexibles sur les vannes de buse 5 et 6 et la Figure 74 à la section Branchement des flexibles sur les vannes de buse 7 à 10 pour les positions de vanne de buse.

Reliez le raccord droit cannelé d'un flexible d'alimentation de 279 cm (110 po) au coupleur de la vanne de buse 1 (Figure 72).
Note: Veillez à engager complètement le raccord cannelé sur le coupleur.

Fixez le raccord cannelé au coupleur avec un étrier (Figure 72).
Reliez le raccord droit cannelé d'un flexible d'alimentation de 234 cm (92 po) au coupleur de la vanne de buse 2 (Figure 72).
Note: Veillez à engager complètement le raccord cannelé sur le coupleur.
Fixez le raccord cannelé au coupleur avec un étrier (Figure 72).
Reliez le raccord droit cannelé d'un flexible d'alimentation de 188 cm (74 po) au coupleur de la vanne de buse 3 (Figure 72).
Note: Veillez à engager complètement le raccord cannelé sur le coupleur.
Fixez le raccord cannelé au coupleur avec un étrier (Figure 72).
Reliez le raccord droit cannelé d'un flexible d'alimentation de 188 cm (74 po) au coupleur de la vanne de buse 4 (Figure 72).
Note: Veillez à engager complètement le raccord cannelé sur le coupleur.
Fixez le raccord cannelé au coupleur avec un étrier (Figure 72).
Note: L'ensemble flexible d'alimentation de 81 cm (32 po) comprend un raccord en T avec 2 flexibles d'embranchement et 2 douilles cannelées simples.
Reliez le raccord droit cannelé d'un flexible d'alimentation de 81 cm (32 po) au coupleur de la vanne de buse 5 (Figure 73).
Note: Veillez à engager complètement le raccord cannelé sur le coupleur.

Fixez le raccord cannelé au coupleur avec un étrier (Figure 73).
Reliez le raccord droit cannelé d'un flexible d'alimentation de 81 cm (32 po) au coupleur de la vanne de buse 6 (Figure 73).
Note: Veillez à engager complètement le raccord cannelé sur le coupleur.
Fixez le raccord cannelé au coupleur avec un étrier (Figure 73).
Reliez le raccord droit cannelé d'un flexible d'alimentation de 188 cm (74 po) au coupleur de la vanne de buse 7 (Figure 74).
Note: Veillez à engager complètement le raccord cannelé sur le coupleur.

Fixez le raccord cannelé au coupleur avec un étrier (Figure 74).
Reliez le raccord droit cannelé d'un flexible d'alimentation de 188 cm (74 po) au coupleur de la vanne de buse 8 (Figure 74).
Note: Veillez à engager complètement le raccord cannelé sur le coupleur.
Fixez le raccord cannelé au coupleur avec un étrier (Figure 74).
Reliez le raccord droit cannelé d'un flexible d'alimentation de 234 cm (92 po) au coupleur de la vanne de buse 9 (Figure 74).
Note: Veillez à engager complètement le raccord cannelé sur le coupleur.
Fixez le raccord cannelé au coupleur avec un étrier (Figure 74).
Reliez le raccord droit cannelé d'un flexible d'alimentation de 279 cm (110 po) au coupleur de la vanne de buse 10 (Figure 74).
Note: Veillez à engager complètement le raccord cannelé sur le coupleur.
Fixez le raccord cannelé au coupleur avec un étrier (Figure 74).
Faites passer les flexibles des buses de pulvérisation 1, 2, 3 et 4 dans le collier en R à l'extrémité extérieure gauche de la section de rampe centrale (Figure 75 et Figure 76).


Faites passer les flexibles des buses de pulvérisation 7, 8, 9 et 10 dans le collier en R à l'extrémité extérieure droite de la section de rampe centrale (Figure 75 et Figure 76).
Acheminez les flexibles d'alimentation de 279 cm (110 po) et les douilles cannelées (¾ po) le long de la section de rampe jusqu'aux buses de pulvérisation 1 et 10, comme montré à la Figure 75 et la Figure 76.
Acheminez les flexibles d'alimentation de 234 cm (92 po) et les douilles cannelées (¾ po) le long de la section de rampe jusqu'aux buses de pulvérisation 2 et 9, comme montré à la Figure 75 et la Figure 76.
Acheminez les flexibles d'alimentation de 188 cm (74 po) et les douilles cannelées (¾ po) le long de la section de rampe jusqu'aux buses de pulvérisation 3 et 8, comme montré à la Figure 75 et la Figure 76.
Note: Faites passer les flexibles à travers les bagues inférieures arrière dans les supports du cadre tubulaire.
Acheminez les flexibles d'alimentation de 188 cm (74 po) et les douilles cannelées (¾ po) le long de la section de rampe jusqu'aux buses de pulvérisation 4 et 7, comme montré à la Figure 75 et la Figure 76.
Note: Faites passer les flexibles à travers les bagues inférieures arrière dans les supports du cadre tubulaire.
Attachez ensemble les 4 flexibles des buses de pulvérisation avec un attache-câble, comme montré à la Figure 76.
Avec la buse de pulvérisation déposée à l'opération Dépose des flexibles des buses de pulvérisation du système à 3 sections, alignez le tube de transfert dans le demi-collier inférieur d'une buse de pulvérisation (Figure 77) sur le trou dans le côté de la douille cannelée simple (½ po).

Fermez le demi-collier supérieur autour de la douille cannelée, puis fixez le demi-collier et le corps de la buse de pulvérisation (Figure 77) avec la vis en acier inoxydable (nº 12 x 1¼ po); serrez la vis à un couple de 2,26 à 2,82 N·m (20 à 25 po-lb).
Note: Veillez à bien engager le boulon à tête hexagonale (5/16 x ¾ po) dans le creux du demi-collier supérieur quand vous fermez le collier.
Montez les buses de pulvérisation sur la section de rampe extérieure comme suit :
Aux positions de buses 1 et 4, fixez la buse sur son support (A de Figure 78) à l'aide du contre-écrou à embase (5/16 po) que vous avez retiré à l'opération 2 de Dépose des flexibles des buses de pulvérisation du système à 3 sections).
Aux positions de buses 2 et 3, fixez la buse sur son support (A et B de Figure 78) à l'aide du contre-écrou à embase (5/16 po) que vous avez retiré à l'opération 2 de Dépose des flexibles des buses de pulvérisation du système à 3 sections).

Serrez les contre-écrous à embase à un couple de 19,78 à 25,42 N·m (175 à 225 po-lb).
Répétez les opérations 1 à 4 pour les autres buses de la section de rampe.
Répétez les opérations 1 à 5 pour la section de rampe extérieure de l'autre côté de la machine.
Veillez à bien aligner les flexibles et les coupleurs cannelés (13 x 810 mm / ½ x 32 po) à l'avant de la section de rampe centrale, entre les supports gauche et droit de la section.
Faites passer le flexible (13 mm / 10 po) et la douille cannelée entre les raidisseurs du cadre en treillis extérieur (Figure 79).


Faites passer le flexible et la douille cannelée au-dessus du raidisseur de cadre en treillis, et faites-les ressortir vers le support de buse extérieur (Figure 79).
Faites passer l'autre flexible (13 mm / 10 po) et l'autre douille cannelée entre les raidisseurs du cadre en treillis intérieur (Figure 79).
Faites passer le flexible et la douille cannelée au-dessus du raidisseur de cadre en treillis, et faites-les ressortir à l'intérieur vers le support de buse intérieur (Figure 79).
Répétez les opérations 2 à 7 pour l'autre ensemble flexible et buse sur l'autre cadre en treillis extérieur (Figure 79 et Figure 82).
Acheminez le flexible et le coupleur cannelé (13 x 810 mm / ½ x 32 po) vers le côté de la section de rampe centrale avec les supports gauche et droit de la section (Figure 79).
Avec les buses de pulvérisation déposées à l'opération Dépose des flexibles des buses de pulvérisation du système à 3 sections, retirez les vis en acier inoxydable qui fixent les demi-colliers supérieurs aux demi-colliers inférieurs (Figure 80).

Localisez le trou dans le côté de la douille cannelée simple au bout du flexible de 25 cm (10 po) de l'ensemble flexibles (vanne de pulvérisation 5 ou 6) pour la section de rampe centrale (Figure 80 et Figure 81).

Alignez le tube de transfert dans le demi-collier inférieur d'une buse de pulvérisation (Figure 80) sur le trou dans le côté de la douille cannelée simple (½ po).
Fermez le demi-collier supérieur autour de la douille cannelée, puis fixez le demi-collier et le corps de la buse de pulvérisation (Figure 80) avec la vis en acier inoxydable (nº 12 x 1¼ po); serrez la vis à un couple de 2,26 à 2,82 N·m (20 à 25 po-lb).
Important: Ne serrez pas la vis en acier inoxydable au-delà du couple spécifié à l'opération 4.
Note: Veillez à bien engager le boulon à tête hexagonale (5/16 x ¾ po) dans le creux du demi-collier supérieur quand vous fermez le collier.
Répétez les opérations 2 à 4 pour les douilles cannelées simples des autres flexibles (vanne de pulvérisation 5 ou 6) de la section de rampe centrale (Figure 80 et Figure 81).
Insérez le boulon à tête hexagonale (5/16 x ¾ po) de la buse de pulvérisation dans le trou du support de buse (Figure 82) et fixez légèrement la buse sur le support avec un contre-écrou à embase (5/16 po) que vous avez retiré à l'opération 1 ou 4 de Dépose des flexibles des buses de pulvérisation du système à 3 sections.

Répétez l'opération 1 pour les 3 autres buses de pulvérisation de la section de rampe centrale.
Serrez les contre-écrous à embase à un couple de 19,78 à 25,42 N·m (175 à 225 po-lb).
Pièces nécessaires pour cette opération:
| Faisceau arrière | 1 |
| Attache-câble | 3 |
Localisez la branche de 165 cm (65 po) et la branche de 203 cm (80 po) du faisceau électrique neuf (Figure 83).

Acheminez la branche de 165 cm (65 po) et la branche de 203 cm (80 po) du faisceau électrique neuf entre le support des 10 vannes de pulvérisation et le support droit du support de collecteur (Figure 84).

Acheminez la branche de 165 cm (65 po) et la branche de 203 cm (80 po) du faisceau vers l'avant, le long du tube de cadre droit (Figure 85).

Insérez les fixations enfichables de la branche de 203 cm (80 po) du faisceau arrière dans les trous du tube de cadre droit (Figure 85) à la place des fixations enfichables de l'ancien faisceau; voir l'opération 3 de Débranchement des faisceaux de câblage avant et arrière.
Note: Utilisez un palan quand vous branchez les faisceaux avant et arrière.
En passant sous la machine, le long du tube de cadre droit, localisez les connecteurs des faisceaux avant et arrière de la machine (Figure 86).

Branchez le connecteur à 10 douilles du faisceau avant pour l'interconnexion du faisceau du pulvérisateur au connecteur à 10 broches du faisceau arrière pour l'interconnexion du faisceau du pulvérisateur (Figure 87).

Branchez le connecteur à 8 broches du faisceau avant pour l'interconnexion du faisceau du pulvérisateur au connecteur à 8 douilles du faisceau arrière pour l'interrupteur de régulation de débit (Figure 88).

Branchez le connecteur à 2 broches du faisceau avant pour la pompe de rinçage au connecteur à 2 douilles du faisceau arrière pour la pompe de rinçage (Figure 89).

Branchez le connecteur à 2 broches du faisceau avant pour l'alimentation du dévidoir au connecteur à 2 douilles du faisceau arrière pour l'alimentation du dévidoir (Figure 90).

Branchez le connecteur à 10 broches du faisceau avant pour l'interconnexion du faisceau du pulvérisateur au connecteur à 10 douilles du faisceau arrière pour l'interconnexion du faisceau du pulvérisateur (Figure 91).

Pour faciliter la connexion des faisceaux électriques de navigation et de données, vérifiez que le connecteur à 1 douille et le connecteur à 4 douilles du faisceau arrière sont alignés sur le haut du faisceau (Figure 92).

Fixez le relais d'interruption de pompe du faisceau arrière sur le support droit d'angle du support de siège (Figure 93).


Acheminez le tube de détection de pression du manomètre de planche de bord le long du faisceau de câblage arrière de la machine (Figure 94).

Attachez le tube de détection de pression au faisceau arrière à l'aide de 3 attache-câbles adjacents aux 3 fixations enfichables des points d'ancrage de châssis du faisceau arrière (Figure 94).
Important: Ne pincez pas et n'écrasez pas le tube de détection de pression; serrez les attache-câbles autant que nécessaire pour soutenir le tube.
Alignez les trous dans le support de montage du module de commande du moteur et le trou dans le support du moteur et le boîtier auxiliaire du moteur (Figure 95).


Fixez le support de montage sur le moteur à l'aide des 3 boulons à embase et d'un écrou à embase que vous avez retirés à l'opération 1 de Dépose du module de commande du moteur et du support de montage (modèles à moteur à essence), et serrez les boulons et les écrous à la main.
Alignez le carénage de soubassement sur le châssis inférieur de la machine (Figure 96).


Glissez les brides de montage avant du carénage de soubassement par dessus les boulons et le boulon de carrosserie sur les supports du moteur de la machine (Figure 96).
Fixez le carénage de soubassement aux supports du moteur et aux boulons (Figure 96) à l'aide des 4 contre-écrous à embase (5/16 po) que vous avez retirés à l'opération 2 de Dépose du carénage de soubassement.
Alignez les trous dans la partie arrière du carénage de soubassement et les trous dans le châssis (Figure 97).

Fixez la partie arrière du carénage de soubassement au châssis (Figure 97) à l'aide des fixations que vous avez retirées à l'opération 1 de Dépose du carénage de soubassement, comme suit :
Modèles 2016 – 7 boulons à embase (5/16 x ⅞ po) et 7 rondelles (5/16 po)
Modèles 2017 et suivants – 5 boulons à embase (5/16 x ⅞ po) et 5 rondelles (5/16 po)
Serrez les écrous et les boulons à un couple de 11,29 à 15,82 N·m (100 à 140 po-lb).
Pièces nécessaires pour cette opération:
| Attache-câble | 3 |
Acheminez la branche de 203 cm (80 po) du faisceau à l'intérieur du renfort du support de vanne et vers l'arrière dans la direction du support des 10 vannes, comme montré à la Figure 98.

Acheminez la branche de 81 cm (32 po) du faisceau du débitmètre et la vanne d'agitation en travers de l'avant du support de collecteur (Figure 98).
Insérez les fixations enfichables de la branche de 81 cm (32 po) dans les trous sur la bride inférieure du support de collecteur (Figure 98).
Acheminez la branche de 203 cm (80 po) du faisceau en travers de l'arrière du support des 10 vannes, en plaçant les 10 connecteurs des vannes de buse vers l'arrière et sous les vannes (Figure 99).

Insérez les fixations enfichables de la branche de 203 cm (80 po) dans les trous de la bride inférieure du support des 10 vannes (Figure 99).
Acheminez la branche de 86 cm (34 po) du faisceau pour le solénoïde de la pompe de pulvérisation en travers du sommet du profilé du cadre du pulvérisateur et vers le bas en direction du solénoïde de la pompe (Figure 100).

Insérez la fixation enfichable de la branche de 86 cm (34 po) dans le trou du profilé du cadre du pulvérisateur (Figure 100).
Acheminez les connecteurs de la branche de 203 cm (80 po) du faisceau étiqueté Flow Meter et Pressure Transducer à l'arrière du support de collecteur (Figure 101).

Branchez le connecteur à 3 douilles de la branche de 203 cm (80 po) du faisceau du débitmètre (non étiqueté) au connecteur à 3 broches du faisceau du débitmètre (Figure 101).
Branchez le connecteur à 3 douilles de la branche de 203 cm (80 po) du faisceau étiquetée Pressure Transducer au connecteur à 3 broches du transducteur de pression (Figure 101).
Collez les ancrages magnétiques du faisceau du débitmètre et du transducteur de pression sur la surface du support de collecteur (Figure 101).
Acheminez le connecteur à 3 broches du faisceau de la vanne d'agitation vers l'avant du support du collecteur (Figure 102).

Branchez le connecteur à 3 broches du faisceau de la vanne d'agitation au connecteur à 3 douilles de la branche de 203 cm (80 po) du faisceau étiqueté Agitation Valve (Figure 103).

Au bas du collecteur de vérin de levage, branchez le connecteur à 2 douilles du faisceau arrière étiqueté Enable Solenoid au connecteur à 2 broches du solénoïde d'activation (Figure 104 et Figure 105).


Au niveau du solénoïde inférieur droit, branchez le connecteur à 2 douilles du faisceau arrière étiqueté Right Down au connecteur à 2 broches du solénoïde de descente côté droit (Figure 104 et Figure 105).
Au niveau du solénoïde supérieur droit, branchez le connecteur à 2 douilles du faisceau arrière étiqueté Right Up au connecteur à 2 broches du solénoïde de levée côté droit (Figure 104 et Figure 105).
Au niveau du solénoïde inférieur gauche, branchez le connecteur à 2 douilles du faisceau arrière étiqueté Left Down au connecteur à 2 broches du solénoïde de descente côté gauche (Figure 104 et Figure 105).
Au niveau du solénoïde supérieur gauche, branchez le connecteur à 2 douilles du faisceau arrière étiqueté Left Up au connecteur à 2 broches du solénoïde de levée côté gauche.
Acheminez les connecteurs à 3 douilles de la branche de 203 cm (80 po) du faisceau étiquetés Nozzle Valve 1 à Nozzle Valve 5 à l'arrière du support des 10 vannes et sous les vannes 1 à 5 (Figure 106).

Acheminez les connecteurs à 3 douilles de la branche de 203 cm (80 po) du faisceau étiquetés Nozzle Valve 6 à Nozzle Valve 10 à l'arrière du support des 10 vannes et sous les vannes 6 à 10 (Figure 106).
Branchez le connecteur à 3 douilles du faisceau arrière étiqueté Nozzle 1 au connecteur à 3 broches du faisceau de la vanne de buse 1 (Figure 106).
Important: Il est important de brancher chaque connecteur à 3 douilles du faisceau arrière au connecteur à 3 broches correct à chaque position de vanne de buse.
Répétez l'opération 3 pour les positions de vannes de buse 2 à 10 (Figure 106).
À l'arrière de la machine, du côté intérieur de la pompe de pulvérisation, branchez le connecteur à 2 douilles étiqueté Spray Pump Solenoid de la branche de 86 cm (34 po) du faisceau au connecteur à 2 broches du relais de la pompe (Figure 107).

À l'arrière de la machine (entre le tube de cadre droit et l'aile droite), branchez le connecteur à 3 broches du faisceau du capteur de vitesse sur le moteur de traction hydraulique droit au connecteur à 3 douilles (non identifié) du faisceau principal arrière (Figure 108).

Acheminez la branche de 165 cm (65 po) du faisceau de câblage vers le haut et dans la partie arrière du compartiment moteur, puis le long du support droit du carénage du moteur, devant le conduit qui relie le filtre à air et le moteur (Figure 109).
Note: Vous fixerez la branche de 165 cm (65 po) du faisceau arrière sous Acheminement du faisceau de données de navigation et électrique vers la batterie.

Acheminez la branche de 165 cm (65 po) du faisceau en travers de l'angle du boîtier du siège et vers le bas le long du support gauche du carénage du moteur Figure 110.
Note: Vous fixerez la branche de 165 cm (65 po) du faisceau arrière sous Acheminement du faisceau de données de navigation et électrique vers la batterie.

Acheminez la branche de 165 cm (65 po) du faisceau vers le bas, le long du support gauche du carénage du moteur et sous le tube de cadre gauche (Figure 111).
Note: Vous fixerez la branche de 165 cm (65 po) du faisceau arrière sous Acheminement du faisceau de données de navigation et électrique vers la batterie.

Acheminez le fusible de 50 A et les cosses à anneau positive et négative de la branche de 165 cm (65 po) du faisceau au sommet de la batterie (Figure 111).
Note: Vous terminerez l'installation des cosses à anneau sous Connexion du faisceau GeoLink arrière, du faisceau de données de navigation et électrique, et du faisceau d'alimentation du modem aux câbles de la batterie.
Basculez le siège du conducteur en avant et enclenchez la béquille dans l'encoche de verrouillage du profilé de la console.
Retirez les 5 boulons à embase (¼ x ¾ po) qui fixent le couvercle sur le côté gauche de la console centrale (Figure 112).

Déposez le couvercle de la console centrale (Figure 113).
Note: Au besoin, rabattez le siège du conducteur vers le bas quand vous déposez le couvercle de la console centrale.

Acheminez la branche de 81 cm (32 po) du faisceau arrière le long du faisceau avant et faites-la remonter à travers le passe-câble situé dans le profilé de la console (Figure 114).

Dirigez la branche de 81 cm (32 po) du faisceau arrière vers l'avant le long du faisceau avant et faites-la remonter à travers le passe-câble situé dans le profilé de la console (Figure 114).
Appuyez sur la languette de verrouillage du connecteur à 8 douilles de la commande de la pompe de pulvérisation, et séparez le connecteur de la commande (Figure 115).

Placez le connecteur à 8 douilles de manière à ce que l'arrière du connecteur soit visible et la languette de verrouillage soit en haut (Figure 116).


Insérez la borne à l'extrémité de la branche de 81 cm (32 po) du faisceau arrière dans la position nº 4 du connecteur à 8 douilles (Figure 116).
Note: Vérifiez que la languette de verrouillage de la borne s'enclenche fermement dans le connecteur à 8 douilles.
Branchez le connecteur à 8 douilles du faisceau au connecteur à 8 broches de la commande de la pompe de pulvérisation (Figure 117).

Attachez la branche de 81 cm (32 po) du faisceau arrière au faisceau avant de la machine, comme montré à la Figure 117.

Placez le couvercle que vous avez retiré à l'opération 3 de Acheminement du faisceau de câblage du circuit de coupure de la pompe de pulvérisation devant le côté gauche de la console centrale (Figure 119).

Fixez le couvercle sur la console centrale à l'aide des 5 boulons à embase (¼ x ¾ po) que vous avez retirés à l'opération 2 de Acheminement du faisceau de câblage du circuit de coupure de la pompe de pulvérisation, et serrez les boulons à un couple de 5,20 à 6,78 N·m (46 à 60 po-lb).
Placez l'extrémité du tube de détection de pression (en plastique) du manomètre monté sur la planche de bord devant la bague de blocage du coupleur de tube (Figure 121 et Figure 122).


Insérez le tube de détection dans la bague de blocage jusqu'à ce qu'il soit complètement engagé (Figure 121 et Figure 122).
Pièces nécessaires pour cette opération:
| Support de récepteur | 1 |
| Étrier fileté | 2 |
| Contre-écrou à embase (⅜ po) | 4 |
| Support d'antenne de modem | 1 |
| Boulon à tête hexagonale (5 x 16 mm) | 3 |
| Rondelle (5 mm) | 3 |
| Récepteur de navigation – kit système de pulvérisation de précision GeoLink (modèle 41633 ou 41634) | 1 |
Alignez la fente au centre du support du récepteur sur la soudure au centre du tube du système ROPS (Figure 123).
Note: Veillez à placer la grande bride à 2 trous à l'arrière du tube et la petite bride à 1 trou à l'avant.

Fixez le support du récepteur sur le tube du système ROPS (Figure 124) à l'aide de 2 étriers filetés et 4 contre-écrous à embase (⅜ po).

Serrez les écrous à un couple de 37 à 45 N·m (27 à 33 pi-lb).
Montez le récepteur de navigation sur le support comme suit :
Insérez les 3 trous filetés dans la base du récepteur de navigation et les 3 trous dans le support du récepteur (Figure 125).

Alignez le trou et la fente dans le support d'antenne de modem et les trous dans le support du récepteur (Figure 125).
Fixez le récepteur de navigation et le support d'antenne sur le support du récepteur (Figure 125) à l'aide des 3 boulons à tête hexagonale (5 x 16 mm) et des 3 rondelles (5 mm).
Serrez les 3 boulons à un couple de 5,76 à 7,12 N·m (51 à 63 po-lb).
Pièces nécessaires pour cette opération:
| Antenne de modem – kit système de pulvérisation de précision GeoLink (modèle 41633 ou 41634) | 1 |
| Attache-câbles – kit système de pulvérisation de précision GeoLink (modèle 41633 ou 41634) | 7 |
Nettoyez la graisse ou l'huile sur la surface du support de l'antenne de modem.
Retirez la pellicule de protection du revêtement adhésif double face sous l'antenne de modem (Figure 126).

Collez l'antenne de modem sur la face supérieure du support, comme montré à la Figure 126.
Fixez le support d'antenne avec 3 attache-câbles, comme montré à la Figure 127.

Fixez le faisceau de l'antenne de modem sur le support comme montré à la Figure 127.
Faites passer le faisceau de l'antenne de modem sur la droite, le long de l'arceau de sécurité (Figure 128).

Faites descendre le faisceau vers l'avant comme montré à la Figure 128.
Vous fixerez le faisceau de l'antenne de modem sur l'arceau de sécurité sous Acheminement et branchement du câble de données sur le récepteur de navigation.
Pièces nécessaires pour cette opération:
| Écran du pulvérisateur X25 – kit système de pulvérisation de précision GeoLink (modèle 41633 ou 41634) | 1 |
| Bandes adhésives | 2 |
| Cheville filetée | 1 |
| Visière de l'affichage | 1 |
Nettoyez la surface supérieure de l'écran du pulvérisateur X25 avec un chiffon propre et de l'alcool à friction.
Retirez la pellicule de protection au dos des 2 bandes adhésives.
Placez les bandes adhésives sur le haut de l'écran montré à la Figure 129.

Appliquez fermement les bandes adhésives sur le haut de l'écran.
Au dos de l'écran du pulvérisateur, les 2 connecteurs (26 broches) étant en bas, retirez le contre-écrou supérieur (5 mm) du goujon de la rotule de fixation (A de Figure 130).

Appliquez une couche de frein-filet (capillarité moyenne à forte) sur le filetage de la partie écrou de la cheville filetée (Figure 131).

Vissez la cheville dans le goujon de la rotule de fixation (B de Figure 130) et serrez-la à un couple de 2,50 N·m (22 po-lb).
Appliquez une couche de frein-filet (capillarité moyenne à forte) sur le filetage de la partie goujon de la cheville filetée (Figure 131).
Retirez la pellicule de protection des 2 bandes adhésives que vous avez collées sous Application des bandes adhésives sur l'écran du pulvérisateur.
Alignez le trou dans la visière de l'affichage et la partie goujon de la cheville filetée (B de Figure 130).
Fixez la visière sur l'écran (C de Figure 130) à l'aide du contre-écrou (5 mm) que vous avez retiré à l'opération 1.
Note: Appuyez sur les zones en haut de la visière situées au-dessus des bandes adhésives.
Serrez l'écrou à 2,50 N·m (22 po-lb).
Pièces nécessaires pour cette opération:
| Support à rotule – kit système de pulvérisation de précision GeoLink (modèle 41633 ou 41634) | 1 |
| Bras de l'écran – kit système de pulvérisation de précision GeoLink (modèle 41633 ou 41634) | 1 |
| Plaque de renfort | 1 |
| Boulon à embase (¼ x 1½ po) | 4 |
| Rondelle (¼ po) | 4 |
| Contre-écrou à embase (¼ po) | 4 |
Retirez les 2 vis à tête tronconique cruciforme (¼ x 1 po) et le contre-écrou (¼ po) qui fixent le support de la visière sur la planche de bord (Figure 133).

Retirez les 2 écrous à clip (¼ po) du support de la visière (Figure 133).
Note: Conservez les vis à tête tronconique cruciforme, le contre-écrou à embase et les écrous à clip; mettez le support au rebut.
Montez les écrous à clip que vous avez retirés sous Dépose du support de la visière sur la plaque de renfort, comme montré à la Figure 134.

Fixez le support à rotule sur la planche de bord à l'aide des 4 boulons à embase (¼ x 1½ po), de la plaque de renfort et du contre-écrou à embase (¼ po), comme montré à la Figure 135.

Fixez légèrement la plaque de renfort sur les 4 boulons à embase (¼ x 1½ po) à l'aide de 4 contre-écrous (¼ po), comme montré à la Figure 136.

Fixez légèrement la plaque de renfort à l'aide des 2 vis à tête tronconique cruciforme (¼ x 1 po) et du contre-écrou à embase (¼ po) que vous avez retirés sous Dépose du support de la visière.
Serrez les boulons à embase, les vis à tête tronconique cruciforme et les contre-écrous à embase à un couple de 11,63 à 14,35 N·m (103 à 127 po-lb).
Desserrez le bouton du bras de l'écran jusqu'à ce que vous puissiez insérer la rotule de fixation au dos de l'écran et la rotule du support sur la planche de bord dans la douille à chaque extrémité du bras de l'écran (Figure 137).

Depuis le siège du conducteur (siège gauche), réglez la position de l'écran du pulvérisateur de manière à voir facilement l'affichage (Figure 137).
Serrez le bouton du bras de l'écran à la main (Figure 137).
Pièces nécessaires pour cette opération:
| Faisceau de données et électrique – kit système de pulvérisation de précision GeoLink (modèle 41633 ou 41634) | 1 |
| Attache-câble – kit système de pulvérisation de précision GeoLink (modèle 41633 ou 41634) | 8 |

Acheminez la branche de 302 cm (119 po) du faisceau de données dans le côté droit du compartiment moteur (à côté du filtre à air du moteur) et vers l'arrière, sous la partie inférieure droite du carénage arrière du moteur (Figure 139).

Acheminez la branche de 302 cm (119 po) du faisceau de données le long du tube droit du système ROPS, en orientant le connecteur à 12 douilles (gris) et le connecteur à 12 douilles (noir) vers le haut et le récepteur de navigation (Figure 140).

Alignez les 2 détrompeurs du côté long du connecteur à 12 douilles du faisceau de données étiqueté sur les 2 rainures de la paroi horizontale inférieure du connecteur à 12 broches (gris) du récepteur de navigation (Figure 141).
Note: Faites preuve d'attention lorsque vous connectez le faisceau au récepteur de navigation; les détrompeurs des connecteurs sont spécifiques aux rainures correspondantes sur les connecteurs à broches du récepteur de navigation.

Branchez le connecteur étiqueté du faisceau de données sur le connecteur à 12 broches gauche (gris) du récepteur de navigation jusqu'à ce que les connecteurs s'enclenchent solidement l'un dans l'autre (Figure 141).
Alignez les 2 détrompeurs du côté court du connecteur à 12 douilles du faisceau de données étiqueté sur les 2 rainures correspondantes dans la paroi verticale gauche du connecteur à 12 broches droit (noir) du récepteur de navigation (Figure 141).
Note: Faites preuve d'attention lorsque vous connectez le faisceau au récepteur de navigation; les détrompeurs des connecteurs sont spécifiques aux rainures correspondantes sur les connecteurs à broches du récepteur de navigation.
Branchez le connecteur étiqueté du faisceau de données sur le connecteur à 12 broches droit (noir) du récepteur de navigation jusqu'à ce que les connecteurs s'enclenchent solidement l'un dans l'autre (Figure 141).
Fixez la branche de 302 cm (119 po) du faisceau de données sur le tube droit du système ROPS avec 2 attache-câbles, comme montré à la Figure 140.
Note: Vérifiez que le câble n'est pas trop tendu entre les connecteurs à 12 douilles et l'attache-câble.
Acheminez la branche du faisceau de données de 302 cm (119 po) du faisceau électrique (Figure 142) munie du connecteur à 4 broches étiqueté jusqu'à la zone de connexion des faisceaux avant et arrière de la machine; voir la Figure 92 sous Branchement des faisceaux de câblage avant et arrière.

Acheminez la branche du faisceau de données de 34 cm (13½ po) (Figure 142) munie du connecteur à 4 broches étiqueté jusqu'à la zone de connexion des faisceaux avant et arrière de la machine; voir la Figure 92 sous Branchement des faisceaux de câblage avant et arrière.
Branchez le connecteur à 4 broches de la branche du faisceau de données étiqueté sur le connecteur à 4 douilles du faisceau GeoLink arrière pour le circuit CAN 2 / contrôleur de pulvérisation (Figure 143).

Retirez la résistance de terminaison du connecteur à 6 douilles du câble de données, comme montré à la Figure 144.
Note: Vous n'avez plus besoin de la résistance de terminaison.

Acheminez la branche de 270,5 cm (106½ po) de la branche alimentation du faisceau de données de navigation et électrique en travers de l'angle du boîtier du siège, puis vers le bas le long du support gauche du carénage du moteur Figure 145.

Fixez le faisceau au support du carénage du moteur avec des attache-câbles (Figure 145).
Acheminez la branche alimentation de 270,5 cm (106½ po) le long du support gauche du carénage du moteur et sous le tube de cadre gauche (Figure 146).

Fixez le faisceau dans le trou de l'angle du boîtier de siège et le support du carénage du moteur avec 3 attache-câbles (Figure 146 et Figure 147).

Acheminez le fusible de 10 A et les cosses à anneau positive et négative de la branche de 220 cm (86⅝ po) du faisceau électrique du système de navigation au sommet de la batterie (Figure 147).
Note: Vous terminerez l'installation des cosses à anneau sous Connexion du faisceau GeoLink arrière, du faisceau de données de navigation et électrique, et du faisceau d'alimentation du modem aux câbles de la batterie.
Sur le côté droit du compartiment moteur, acheminez la branche de 226 cm (89 po) du faisceau de données de l'écran du pulvérisateur vers l'avant du filtre à air du moteur et vers le bas jusqu'au coin inférieur droit du radiateur (Figure 148).

Acheminez la branche de 226 cm (89 po) du faisceau de données vers l'avant et à travers les 2 colliers en R au bas de la machine (Figure 148).
Acheminez la branche de 226 cm (89 po) du faisceau de données vers l'avant et faites-la remonter à travers le passe-câble qui entoure le trou dans le panneau de plancher (Figure 149).

Attachez la branche de 226 cm (89 po) du faisceau de données au faisceau avant de la machine avec 3 attache-câbles.
Acheminez la branche de 226 cm (89 po) du faisceau de données vers le haut et le long du faisceau avant de la machine (Figure 149).
Acheminez la branche de 226 cm (89 po) du faisceau de données vers le haut et à travers le passe-câble qui entoure le trou dans la planche de bord (Figure 150).

Alignez le connecteur à 26 douilles de la branche du faisceau de données sur le connecteur à 26 broches de l'écran du pulvérisateur, puis poussez le connecteur à douilles dans le connecteur à broches jusqu'à ce qu'il s'enclenche solidement (Figure 150).
Attachez la branche de 226 cm (89 po) du faisceau de données au bras de l'écran avec un attache-câble (Figure 150).
Pièces nécessaires pour cette opération:
| Faisceau d'alimentation du modem – 1850 mm (72⅞ po) – kit système de pulvérisation de précision GeoLink (modèle 41633 ou 41634) | 1 |
| Attache-câbles – kit système de pulvérisation de précision GeoLink (modèle 41633 ou 41634) | 5 |
Entre le support du réservoir de carburant et l'aile avant droite, faites passer la cosse à languette (étiquetée ) et les 2 cosses en anneau (étiquetées et ) du faisceau d'alimentation du modem sous le cadre de la machine (Figure 151).

Sur le côté intérieur du boîtier de siège droit, acheminez le faisceau d'alimentation du modem vers l'avant et le connecteur du faisceau d'alimentation étiqueté RS232 le long du faisceau de la machine (Figure 152).
Note: Le connecteur étiqueté RS232 n'est pas utilisé.


Acheminez le faisceau d'alimentation du modem en travers du sommet du radiateur, le long du faisceau de la machine (Figure 153).


Branchez la borne du faisceau d'alimentation du modem étiquetée sur le connecteur à douille pour l'alimentation des options du porte-fusibles (Figure 154).
Note: Si le porte-fusibles de la machine n'a pas de circuit d'alimentation des options disponible, installez un porte-fusibles supplémentaire pour les options; adressez-vous à un distributeur Toro agréé.

Insérez le fusible (10 A) dans l'emplacement sur le porte-fusibles (Figure 155) correspondant au circuit d'alimentation des options que vous avez utilisé à l'opération 1.

Fixez la branche alimentation/masse commutée du faisceau du kit au faisceau de la machine avec 5 attache-câbles.
Acheminez les cosses en anneau du faisceau étiquetées et vers l'arrière, et par dessus le support de siège (Figure 156).

Acheminez les cosses en anneau sous le tube de cadre gauche et en travers du haut de la batterie (Figure 156).
Note: Vous relierez les cosses en anneau aux câbles de la batterie sous Connexion du faisceau GeoLink arrière, du faisceau de données de navigation et électrique, et du faisceau d'alimentation du modem aux câbles de la batterie.
Pièces nécessaires pour cette opération:
| Faisceau de données du modem – 300 mm (118 po) – kit système de pulvérisation de précision GeoLink (modèle 41633 ou 41634) | 1 |
| Attache-câbles – kit système de pulvérisation de précision GeoLink (modèle 41633 ou 41634) | 8 |
Installez le faisceau de données du modem en dirigeant le connecteur RS-232 étiqueté vers l'écran du pulvérisateur (Figure 157).

À l'avant de l'écran du pulvérisateur, retirez le capuchon de l'orifice RJ45 (Figure 158).

Branchez le connecteur RJ45 du faisceau de données du modem étiqueté X-CONSOLE dans l'orifice RJ45 de l'écran du pulvérisateur (Figure 158).
Placez l'écrou d'étanchéité sur l'orifice RJ45 de l'écran et serrez l'écrou (Figure 158).
Placez l'écrou de compression sur l'écrou d'étanchéité de l'orifice et serrez l'écrou de compression (Figure 158).
Faites passer le câble de données du modem dans le compartiment de rangement (Figure 159).

Acheminez le câble de données du modem le long du faisceau de la machine et à travers le passe-câble du plancher (Figure 160).

Attachez le câble de données du modem au faisceau de la machine avec 4 attache-câbles.
Au bas de la machine, acheminez le câble de données du modem vers l'arrière, le long du faisceau de la machine (Figure 161).

À l'arrière du radiateur, acheminez le câble de données du modem vers le haut (Figure 162).

Attachez le câble de données du modem au faisceau de la machine avec 4 attache-câbles.
Acheminez le câble de données du modem le long du faisceau d'alimentation du modem (Figure 163), puis faites-le ressortir sur le côté droit de la machine, et entre le support du réservoir de carburant et l'aile avant droite.


Pièces nécessaires pour cette opération:
| Modem CL55 – kit système de pulvérisation de précision GeoLink (modèle 41633 ou 41634) | 1 |
| Support du modem | 1 |
Branchez le connecteur coaxial du faisceau d'antenne du modem étiqueté dans la prise coaxiale du modem CL-55 étiquetée WIFI/BT, et serrez le connecteur coaxial (Figure 164).

Insérez le connecteur enfichable coaxial bleu du faisceau d'antenne du modem étiqueté dans le connecteur du modem CL-55 étiqueté jusqu'à ce que les connecteurs s'enclenchent solidement l'un dans l'autre (Figure 164).
Insérez le connecteur enfichable coaxial violet du faisceau d'antenne du modem étiqueté dans le connecteur du modem CL-55 étiqueté jusqu'à ce que les connecteurs s'enclenchent solidement l'un dans l'autre (Figure 164).
Modems CDMA seulement : insérez le connecteur enfichable coaxial rouge du faisceau d'antenne du modem étiqueté LTE-2 dans le connecteur du modem CL-55 étiqueté 4G DIV jusqu'à ce que les connecteurs s'enclenchent solidement l'un dans l'autre (Figure 164).
Note: Le modem GSM n'a pas de connecteur LTE-2.
Branchez le connecteur à 4 broches du faisceau de données du modem étiqueté sur le connecteur à 4 douilles (non marqué) du modem CL-55, et serrez l'écrou moleté du connecteur (Figure 165).

Branchez le connecteur à 18 douilles du faisceau d'alimentation du modem étiqueté sur le connecteur à 18 broches du modem CL-55 (Figure 165).
Placez le support du modem devant le panneau droit du boîtier de siège, par dessus la tête des boulons et fixez-le en place avec les aimants (Figure 166).
Important: Veillez à faire passer les faisceaux dans le support du modem.

Pièces nécessaires pour cette opération:
| Faisceau du bus ISO-CAN – 302 cm (119 po) – kit système de pulvérisation de précision GeoLink (modèle 41633 ou 41634) | 1 |
| Attache-câbles – kit système de pulvérisation de précision GeoLink (modèle 41633 ou 41634) | 12 |
À l'avant de la machine, dirigez le connecteur à 4 broches du faisceau de bus ISO-CAN – 302 cm (119 po) étiqueté TO ISOBUS vers la planche de bord (Figure 167).

Retirez la terminaison du bus ISO du connecteur à 4 douilles du faisceau GeoLink étiqueté CAN 1 ISOBUS TERMINATOR (Figure 168).
Note: Vous n'avez plus besoin du capuchon.

Branchez le connecteur étiqueté TO ISOBUS du faisceau de bus ISO-CAN sur le connecteur étiqueté CAN 1 ISOBUS TERMINATOR du faisceau GeoLink (Figure 168).
Passez l'autre extrémité du faisceau de bus ISO-CAN dans le passe-câble du plancher (Figure 169).

Attachez le faisceau de bus ISO-CAN au faisceau de la machine à l'aide de 2 attache-câbles.
Au bas de la machine, acheminez le faisceau de bus ISO-CAN le long du faisceau de la machine (Figure 170).

Attachez le faisceau de bus ISO-CAN au faisceau de la machine à l'aide de 3 attache-câbles.
Basculez le siège passager en avant et soutenez-le avec la béquille.
Sur le côté droit du radiateur, faites remonter le faisceau de bus ISO-CAN le long du faisceau de la machine et vers la console centrale (Figure 171).

Acheminez le faisceau de bus ISO-CAN sous la base de la console et le long du faisceau de la machine (Figure 172).

Faites passer le connecteur à 3 broches (étiqueté TO TORO CANBUS) et le connecteur à 3 douilles (étiqueté CAN PORT A) du faisceau de bus ISO-CAN par le trou dans la base de la console (Figure 172).
Attachez le faisceau de bus ISO-CAN au faisceau de la machine à l'aide de 6 attache-câbles.
Retirez le capuchon du connecteur à 3 douilles du faisceau de la machine (étiqueté CAN DIAGNOSTICS INTERCONNECT), comme montré à la Figure 173.

Branchez le connecteur à 3 broches du faisceau de bus ISO-CAN (étiqueté TO TORO CANBUS) dans le connecteur à 3 douilles du faisceau de la machine (étiqueté CAN DIAGNOSTICS INTERCONNECT), comme montré à la Figure 173.
En avant du contrôleur TEC, déposez la résistance de 75 Ω du connecteur à 3 douilles (non étiqueté) du faisceau de la machine (Figure 175).
Note: Conservez la résistance pour l'installation sous Installation du faisceau adaptateur et de la résistance de terminaison.
Note: Vous monterez le panneau latéral sur la console centrale lors de l'installation du kit AutoSteer du pulvérisateur Multi Pro 5800 avec GeoLink; voir les instructions de réglage dans les Instructions d'installation du kit AutoSteer.

Pièces nécessaires pour cette opération:
| Faisceau adaptateur – 13 cm (5 po) | 1 |
| Attache-câble | 1 |
Sur le récepteur satellite, déposez la terminaison de bus ISO du connecteur à 6 douilles du faisceau GeoLink (Figure 177).
Note: Vous n'avez plus besoin de la terminaison de bus ISO.

Branchez le connecteur à 6 broches du faisceau adaptateur de 13 cm (5 po) sur le connecteur à 6 douilles du faisceau GeoLink (Figure 177).
Branchez la résistance que vous avez retirée sous Retrait de la résistance de terminaison sur le connecteur à 3 douilles du faisceau adaptateur (Figure 178).

Attachez le faisceau adaptateur au faisceau GeoLink avec un attache-câble.
À l'arrière de la machine, localisez le faisceau de câblage du kit dévidoir électrique situé l'arrière de la cuve du pulvérisateur (A de Figure 179).

Enlevez l'obturateur sur le connecteur à 2 broches du faisceau principal arrière d'alimentation du dévidoir (B de Figure 179).
Branchez le connecteur à 2 douilles du faisceau du dévidoir électrique dans le connecteur à 2 broches du faisceau principal arrière (C de Figure 179).
Retirez le capuchon du connecteur à 3 douilles du faisceau principal arrière d'interconnexion du faisceau de pulvérisation (B de Figure 179).
Branchez le connecteur à 3 broches du faisceau du dévidoir électrique dans le connecteur à 3 douilles du faisceau principal arrière (C de Figure 179).
À l'extrémité de la branche de 236 cm (93 po) du faisceau, alignez le connecteur à 4 douilles du faisceau du kit de finition sur le connecteur à 4 broches du faisceau du compresseur (Figure 180).

Insérez le connecteur à 4 broches dans le connecteur à 4 douilles (Figure 180).
Note: Poussez les 2 connecteurs ensemble jusqu'à ce que la languette de verrouillage s'enclenche fermement.
Branchez le connecteur à 6 broches du faisceau de la pompe de rinçage au connecteur à 6 douilles du faisceau principal arrière (Figure 181).

Placez le couvercle de la pompe de rinçage par dessus la plaque de montage de la pompe (Figure 182).

Appuyez de chaque côté du couvercle de la pompe de rinçage et alignez les languettes du couvercle sur les fentes dans la plaque de montage (Figure 182).
Insérez les languettes dans les fentes et relâchez les côtés du couvercle (Figure 182).
Placez les béquilles des sièges dans les fentes et abaissez les sièges.
Acheminez la borne positive (câble rouge), la borne négative (câble noir) et le porte-fusible (50 A) du faisceau arrière vers le haut, entre le boîtier de la batterie et le châssis de la machine (Figure 183).

Acheminez la borne positive (câble rouge), la borne négative (câble noir) et le porte-fusible de 10 A du faisceau de navigation et électrique vers le haut, entre le boîtier de la batterie et le châssis de la machine.
Acheminez les cosses en anneau étiquetées et du faisceau d'alimentation du modem vers le haut, entre le boîtier de la batterie et le châssis de la machine.
Retirez les boulons en T et les écrous hexagonaux des cosses des câbles de batterie positif et négatif (Figure 183).
Insérez un boulon en T dans la cosse positive (fil rouge) du faisceau arrière, la cosse positive du faisceau de navigation et électrique, la cosse du faisceau d'alimentation du modem et la cosse du câble positif de la batterie (Figure 183).
Fixez légèrement les bornes et le boulon en T avec un écrou hexagonal (Figure 183).
Insérez un boulon en T dans la cosse négative (fil noir) du faisceau arrière, la cosse négative du faisceau de navigation et électrique, la cosse du faisceau d'alimentation du modem, et la cosse du câble négatif de la batterie (Figure 183).
Fixez légèrement les bornes et le boulon en T avec un écrou hexagonal (Figure 183).
Connectez la câble positif (rouge) à la borne positive (+) de la batterie, et serrez l'écrou; voir Figure 183 sous Connexion du faisceau GeoLink arrière, du faisceau de données de navigation et électrique, et du faisceau d'alimentation du modem aux câbles de la batterie.
Connectez la câble négatif (noir) à la borne négative (–) de la batterie, et serrez l'écrou; voir Figure 183 sous Connexion du faisceau GeoLink arrière, du faisceau de données de navigation et électrique, et du faisceau d'alimentation du modem aux câbles de la batterie.
Glissez les capuchons isolant sur les bornes de la batterie.
Posez le couvercle de la batterie et fixez-le avec la sangle; voir la Figure 1 sous Débranchement de la batterie.
Insérez la clé dans le commutateur et tournez-la à la position CONTACT.
Note: Ne démarrez pas le moteur.
Sur l'écran de présentation, appuyez de manière prolongée sur le bouton 5 (à l'extrême droite) de l'InfoCenter pour accéder l'écran de menu principal (Figure 184).


Dans le menu principal, appuyez sur le bouton 1 ou 2 jusqu'à ce que l'option Réglages soit en surbrillance, puis appuyez sur le bouton 4 pour naviguer jusqu'au menu Réglages (Figure 185).

Dans le menu Réglages, appuyez sur le bouton 1 ou 2 pour sélectionner l'option GeoLink, puis appuyez sur le bouton 4 pour naviguer jusqu'au menu GeoLink (Figure 186).

Dans le menu GeoLink, appuyez sur le bouton 4 pour sélectionner l'option Oui, puis appuyez sur le bouton 5 pour enregistrer vos réglages et quitter le menu (Figure 187).

Tournez le commutateur d'allumage en position ARRêT (Figure 188).

Tournez le commutateur d'allumage en position CONTACT (Figure 188).
Note: L'écran de présentation du système GeoLink devrait s'afficher sur l'InfoCenter.

Tournez le commutateur d'allumage en position ARRêT.
Tournez la clé de contact à la position CONTACT (modèle essence) ou PRéCHAUFFAGE/CONTACT (modèle diesel).
Vérifiez que les composants suivants indiquent qu'ils sont alimentés :
Tournez la clé de contact à la position ARRêT.
Vérifiez que l'alimentation est coupée pour les composants suivants :
Console de commande
Récepteur satellite
Contrôleur de section automatique
Tournez la clé de contact à la position CONTACT (modèle essence) ou PRéCHAUFFAGE/CONTACT (modèle diesel).
Appuyez sur l'icône À PROPOS DE (Toro) en haut à gauche de la console de commande (Figure 194).

Comparez les numéros de version du logiciel aux emplacements suivants :
Lorsqu'elle est utilisée, sur la page de couverture du Guide du logiciel du système GeoLink
Affiché sur la console de commande
Note: Si les versions du logiciel diffèrent, contactez le service client de Toro NSN à 1-844-GEOLINK (1-844-436-5465) ou NSNTech@toro.com.
Sélectionnez les unités de mesure; voir le Manuel de l'utilisateur ou le Guide du logiciel du système GeoLink.
Créez un nouveau champ; voir le Manuel de l'utilisateur ou le Guide du logiciel du système GeoLink.
Créez un nouveau produit et un nouveau débit d'application; voir le Manuel de l'utilisateur ou le Guide du logiciel du système GeoLink.
Appuyez sur l'icône Menu des tâches, puis sur l'icône CRéER UNE NOUVELLE TâCHE (Figure 195).

Saisissez un nom pour la tâche générique sur le clavier virtuel, puis appuyez sur l'icône de confirmation (Figure 195).
Dans la boîte de dialogue Nouveau tâche, appuyez sur l'icône BUSE (Figure 196).

Dans la liste de sélection des buses, appuyez sur une icône Buse, puis sur l'icône de confirmation (Figure 196).
Dans la boîte de dialogue Nouveau tâche, appuyez sur l'icône de confirmation (Figure 197).

Serrez le frein de stationnement.
Ajoutez 200 L (50 gallons américains) d'eau dans la cuve du pulvérisateur; voir le Manuel de l'utilisateur de la machine.
Démarrez le moteur et faites-le tourner à plein régime.
Sur la console de commande GeoLink, appuyez sur l'icône CONTRôLEUR DE DéBIT DE PULVéRISATION (Figure 198).

Dans la boîte de dialogue du contrôleur de débit de pulvérisation, appuyez sur l'icône MODE DE COMMANDE DE DéBIT jusqu'à ce que le mode manuel s'affiche (Figure 198).
Utilisez l'icône de réduction (-) ou d'augmentation (+) pour régler la pression du système de pulvérisation (Figure 198) à 13,75 bar (200 psi).
Sur la machine, placez la commande générale des sections à la position MARCHE (Figure 199)

Sur la console de commande GeoLink, appuyez sur l'icône COMMANDE GéNéRALE pour l'Figure 200activer (VERT) ().

Vérifiez l'étanchéité de tous les raccords et composants du pulvérisateur.
Note: Si vous constatez une fuite, coupez le moteur et réparez le raccord ou le composant concerné.
Serrez le frein de stationnement et mettez le moteur en marche.
Note: Faites chauffer le moteur et le système hydraulique pendant 10 minutes.
Placez la commande générale des sections à la position ARRêT.
Réglez la commande de la pompe de pulvérisation en position marche et la commande d'agitation de la cuve en position ACTIVéE.
Réglez les interrupteurs des sections gauche, centrale et droite en position ACTIVéE.
Faites tourner le régime à haut régime
Sur la console de commande GeoLink, appuyez sur l'icône CONTRôLEUR DE DéBIT DE PULVéRISATION.
Dans la boîte de dialogue du contrôleur de débit de pulvérisation, appuyez sur l'icône MODE DE COMMANDE DE DéBIT jusqu'à ce que le mode manuel s'affiche (Figure 201).

Appuyez sur l'icône de réduction (-) ou d'augmentation (+) pour régler la pression du système de pulvérisation (Figure 201) à 6,9 bar (100 psi).
Sur la machine, réglez la commande d'agitation de la cuve à la position ARRêT.
Observez la pression du système de pulvérisation. Si la pression du système de pulvérisation est de 6,9 bar (100 psi), la vanne d'agitation est correctement réglée.
Si la pression du système de pulvérisation a changé, réglez la vanne d'agitation; voir Réglage de la vanne de dérivation d'agitation.
Réglez la commande d'agitation de la cuve à la position ARRêT, passez derrière la machine et localisez la vanne de dérivation d'agitation.

Réglez la vanne de dérivation d'agitation (Figure 202) jusqu'à ce que la pression indiquée soit 6,9 bar (100 psi).
Réglez la commande d'agitation de la cuve à la position MARCHE et observez la pression du système de pulvérisation.
Note: Si le manomètre indique une pression du système de pulvérisation supérieure ou inférieure à 6,9 bar (100 psi), répétez les opérations 1 et 2.
Réglez la commande d'agitation de la cuve à la position ARRêT et observez la pression du système de pulvérisation.
Note: Si le manomètre indique une pression du système de pulvérisation supérieure ou inférieure à 6,9 bar (100 psi), répétez les opérations 1 et 2.
Étalonnez le débitmètre; voir le Manuel de l'utilisateur ou le Guide du logiciel du système GeoLink.
Appuyez sur l'icône INFORMATION SYSTèME, puis faites glisser votre doigt sur l'icône PLEIN éCRAN dans le coin supérieur droit de la fenêtre d'information système (Figure 203).

Dans l'écran Information système, utilisez la barre de défilement pour naviguer jusqu'à l'icône CL55 (Figure 204).

Appuyez sur l'icône CL55 pour afficher l'information de puissance du signal(Figure 204), et vérifiez que la puissance du signal du modem se situe entre -60 dBm et -99 dBm.
Note: Si le signal du modem est égal ou inférieur à -100 dBm, contactez le service client de votre distributeur Toro agréé, ou de Toro NSN à 1-844-GEOLINK (1-844-436-5465) ou NSNTech@toro.com.
Faites glisser votre doigt sur l'icône PLEIN éCRAN pour minimiser l'écran d'information système.
Étalonnez la boussole chez le distributeur; voir Étalonnage de la boussole dans le Manuel de l'utilisateur ou le Guide du logiciel du système GeoLink.
Important: Vous devez effacer la RAM non volatile chez le client.
Contactez le service client de Toro NSN à 1-844-GEOLINK (1-844-436-5465) ou NSNTech@toro.com pour demander le mot de passe du niveau d'accès dépositaire.
Tournez la clé de contact à la position CONTACT.
Appuyez sur l'icône CONFIGURATION sur l'écran principal (Figure 205).

Dans l'écran de réglage, appuyez sur l'icône UTILISATEUR, puis sur l'icône NIVEAU D'ACCèS (Figure 206).

Appuyez sur l'icône MOT DE PASSE (Figure 206).
Avec le clavier virtuel, saisissez le mot de passe que vous avez reçu à l'étape 1, et appuyez sur l'icône de confirmation (Figure 207).

Note: L'écran de niveau d'accès utilisateur affiche l'icône DéPOSITAIRE (Figure 208).

Dans l'écran de configuration, appuyez sur l'icône SYSTèME, puis sur l'icône GPS et enfin sur l'icône CONFIGURATION AVANCéE (Figure 209).

Dans la fenêtre de configuration avancée du GPS, appuyez sur l'icône RéINITIALISER RAM NV (Figure 209).
Dans la boîte de dialogue Avertissement récepteur GPS, appuyez sur l'icône OUI (Figure 209).
Note: L'avertissement de déconnexion du récepteur (Figure 210) s'affiche brièvement.

Patientez 2 minutes pendant que le récepteur satellite et le modem démarrent.
Appuyez sur l'icône QUITTER CONFIGURATION

Tournez la clé de contact en position ARRêT.
Étalonnez la boussole chez le client; voir Étalonnage de la boussole dans le Manuel de l'utilisateur ou le Guide du logiciel du système GeoLink.