El sistema de fumigación GeoLink™ es un accesorio para un vehículo de fumigación del césped, y está diseñado para ser usado por operadores profesionales contratados en aplicaciones comerciales. Está diseñado principalmente para fumigar en césped bien mantenido en parques, campos de golf, campos deportivos y zonas verdes comerciales El uso de este producto para otros propósitos que los previstos podría ser peligroso para usted y para otras personas.
Lea este manual detenidamente para aprender a utilizar y mantener correctamente su producto, y para evitar lesiones y daños al producto. Usted es responsable de utilizar el producto de forma correcta y segura.
Visite www.toro.com para buscar materiales de formación y seguridad o información sobre accesorios, para localizar un distribuidor o para registrar su producto.
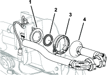
Cuando necesite asistencia técnica, piezas genuinas Toro o información adicional, póngase en contacto con un Distribuidor de Servicio Autorizado o con Asistencia al Cliente Toro, y tenga a mano los números de modelo y serie de su producto. La Figura 1 identifica la ubicación de los números de serie y de modelo en el producto. Escriba los números en el espacio provisto.
Important: Con su dispositivo móvil, puede escanear el código QR (en su caso) de la placa del número de serie para acceder a información sobre la garantía, las piezas, y otra información sobre el producto.

Este manual identifica peligros potenciales y contiene mensajes de seguridad identificados por el símbolo de alerta de seguridad (Figura 2), que señala un peligro que puede causar lesiones graves o la muerte si usted no sigue las precauciones recomendadas.

Este manual utiliza 2 palabras para resaltar información. Importante llama la atención sobre información mecánica especial, y Nota resalta información general que merece una atención especial.
Las sustancias químicas utilizadas en el sistema de fumigación pueden ser peligrosas y tóxicas para usted y para otras personas, animales, plantas, tierra y otros elementos.
Lea cuidadosamente y observe las indicaciones de todas las etiquetas de advertencia y Fichas de Datos de Seguridad de Materiales (FDSM) respecto a todos los productos químicos utilizados, y protéjase siguiendo las instrucciones del fabricante de los mismos. Por ejemplo, utilice Equipos de Protección Individual (EPI) incluyendo protección para la cara y los ojos, guantes y otros equipos para prevenir el contacto con un producto químico.
Puede haber más de un producto químico; debe evaluarse la información sobre cada uno de los productos.
¡Niéguese a utilizar o trabajar con el fumigador si esta información no está disponible!
Antes de trabajar con un sistema de fumigación, asegúrese de que el sistema ha sido sometido a un triple enjuague y neutralización con arreglo a las recomendaciones de los fabricantes de los productos químicos, y que todas las válvulas han sido abiertas y cerradas 3 veces.
Compruebe que hay un suministro adecuado de agua limpia y jabón en las inmediaciones, y lávese inmediatamente para eliminar cualquier producto químico que entre en contacto con usted.
![]() |
Las pegatinas de seguridad e instrucciones están a la vista del operador y están ubicadas cerca de cualquier zona de peligro potencial. Sustituya cualquier pegatina que esté dañada o que falte. |




Limpie el fumigador; consulte Limpieza del fumigador, en el Manual del operador de la máquina.
Important: Vacíe completamente el depósito de fumigación antes de instalar el Kit de acabado del Sistema de fumigación GeoLink.
Si la máquina tiene el Kit de enjuague del depósito opcional, haga lo siguiente:
Bombee el agua del depósito de enjuague al depósito de fumigación; consulte Uso del kit de enjuague en las Instrucciones de instalación del Kit de enjuague del depósito.
Vacíe el agua del depósito de fumigación; consulte Limpieza del fumigador, en el Manual del operador de la máquina.
Extienda las secciones de fumigación izquierda y derecha a la posición horizontal.
Aparque la máquina en una superficie nivelada, ponga el freno de estacionamiento, apague el motor y retire la llave; consulte el Manual del operador.
Important: Aparque la máquina en una superficie nivelada antes de instalar el kit GeoLink.
Desenganche el asiento empujando hacia atrás la palanca de enganche del asiento (Figura 3).

Gire el asiento y la chapa del asiento hacia delante, hasta que el extremo de la varilla de sujeción esté en la parte inferior de la ranura del soporte (Figura 3).
Deje que el motor se enfríe por completo.
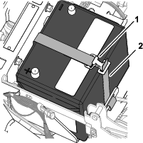
Retire el perno y la tuerca que fijan el terminal del cable negativo de la batería al borne negativo de la batería.
Un enrutado incorrecto de los cables de la batería podría dañar la máquina y los cables, causando chispas. Las chispas podrían hacer explotar los gases de la batería, causando lesiones personales.
Desconecte siempre el cable negativo (negro) de la batería antes de desconectar el cable positivo (rojo).
Conecte siempre el cable positivo (rojo) de la batería antes de conectar el cable negativo (negro).
Los bornes de la batería o una herramienta metálica podrían hacer cortocircuito si entran en contacto con los componentes metálicos, causando chispas. Las chispas podrían hacer explotar los gases de la batería, causando lesiones personales.
Al retirar o colocar la batería, no deje que los bornes toquen ninguna parte metálica de la máquina.
No deje que las herramientas metálicas hagan cortocircuito entre los bornes de la batería y las partes metálicas de la máquina.
Deslice hacia atrás el capuchón aislante y retire el perno y la tuerca que fijan el terminal del cable positivo de la batería al borne positivo de la batería (Figura 4).
Note: Asegúrese de que los terminales de los cables de la batería no tocan los bornes de la batería.

Desconecte el conector hembra de 2 vías del arnés de cables de la máquina que está conectado al conector del interruptor del asiento (Figura 5).

Retire la chaveta que sujeta la varilla de sujeción al soporte en la parte inferior de la chapa del asiento (Figura 6).

Retire las 2 chavetas que fijan el soporte de pivote de la chapa del asiento a los soportes del chasis (Figura 7).


Retire los 2 pasadores de giro que sujetan el asiento y la chapa del asiento al chasis (Figura 7).
Levante el asiento y la chapa del asiento y retírelos de la máquina (Figura 8).

Retire las 2 grapas que sujetan el guardabarros delantero izquierdo al perfil inferior del ROPS (Figura 10).
Note: Deseche las grapas que retiró.

Retire los 3 pernos (5/16" x 1") y 3 arandelas (5/16") que sujetan el guardabarros al bastidor de la máquina (Figura 11).

Retire el guardabarros de la máquina.
Note: Deseche las grapas que retiró; guarde el guardabarros, los pernos y las arandelas para su instalación en Instalación del guardabarros delantero izquierdo.
Retire las 6 grapas y 5 arandelas (9/16" x ½") que sujetan el panel interior del guardabarros al bastidor de la máquina (Figura 12).

Retire el panel interior del guardabarros de la máquina (Figura 13).
Note: Deseche las grapas que retiró.

Repita los pasos 1 a 5 con el guardabarros y el panel interior del guardabarros del otro lado de la máquina.
Note: Si se dañan las grapas al retirarlas, sustitúyalas con la Pieza Toro N.º 117-2382.
Retire los 2 tornillos (5/16" x 1") y las 2 arandelas (5/16") que sujetan la tapa inferior de la consola y la tapa del extremo de la consola a la máquina, y retire las tapas (Figura 14).


Retire el tornillo (5/16" x 1") y la arandela (5/16") que sujetan el guardabarros delantero derecho al suelo de la plataforma (Figura 15).

Retire con cuidado las 2 grapas que sujetan el guardabarros delantero derecho al perfil de montaje de la barra antivuelco (Figura 16).


Retire el tornillo (5/16" x 1") y la arandela (5/16") que sujetan el guardabarros delantero derecho al soporte del travesaño (Figura 17).

Retire el guardabarros delantero derecho de la máquina.
Retire las 6 grapas y las 5 arandelas (9/16" x ½") que sujetan el panel interior del guardabarros a los tubos superior derecho e inferior derecho del bastidor (Figura 18).

Retire el panel interior del guardabarros de la máquina (Figura 18).
Note: Guarde el guardabarros delantero derecho, el panel interior del guardabarros, los tornillos, las arandelas y las grapas intactas para su instalación en Instalación del guardabarros delantero derecho.Sustituya las grapas dañadas con la Pieza Toro N.º 117-2382.
Desconecte los 2 conectores hembra de 2 vías del arnés de cables de la máquina de los conectores de 2 pines de los faros derecho e izquierdo (Figura 19).

Retire las 9 grapas que sujetan el capó al salpicadero y al bastidor de la máquina (Figura 20).
Note: Guarde las grapas para su instalación en Instalación del capó.

Retire el capó de la máquina (Figura 20).
Note: Deseche las grapas que retiró.
Piezas necesarias en este paso:
| Conjunto de tubo – Pieza Toro N.º 114–9553 | 2 |
En el panel de conexiones del compresor del kit de marcador de espuma, coloque una brida alrededor de los tubos transparente y azul de la sección de fumigación derecha (Figura 21 y Figura 22).


Presione hacia dentro el anillo de bloqueo (Figura 23).

Desconecte el tubo del acoplamiento (Figura 23).
Repita los pasos 2 y 3 con los otros 3 tubos de las secciones de fumigación.
En el panel de conexiones del compresor del kit de marcador de espuma, coloque una brida alrededor de los tubos transparente y azul de la sección de fumigación derecha (Figura 24).


Afloje las tuercas del compresión de los 2 tubos azules y los 2 tubos transparentes de las boquillas de espuma en las secciones de fumigación izquierda y derecha (Figura 24).
Retire los 4 tubos de los acoplamientos de compresión de las secciones de fumigación (Figura 24).
En la sección de fumigación exterior, utilice un trozo de cinta para marcar los tubos de líquido y aire izquierdos de la sección de fumigación izquierda y los tubos de líquido y aire derechos de la sección de fumigación derecha.
Mueva los tubos de las boquillas de espuma de las secciones de fumigación izquierda y derecha hacia atrás, a través de la abrazadera en R situada cerca del punto de giro de la sección de fumigación (Figura 25).

Si su máquina tiene instalado el Kit de extensión de brazo central, sujete provisionalmente el extremo libre de los tubos de líquido y aire a la sección de fumigación exterior, y haga caso omiso de los procedimientos de Preparación de los conjuntos de tubos nuevos para las boquillas del marcador de espuma y Instalación del conjunto de tubos nuevo.
Retire las bridas que sujetan los tubos de líquido y aire del kit de marcador de espuma a la sección de fumigación exterior (Figura 26).

En el marcador de espuma , afloje la tuerca de compresión que sujeta el tubo azul (agua) al acoplamiento de compresión azul de la boquilla del marcador de espuma (Figura 27).

Afloje la tuerca de compresión que sujeta el tubo transparente (aire) al acoplamiento de compresión blanco de la boquilla del marcador de espuma (Figura 27).
Retire los tubos de líquido y aire de la máquina.
Retire las tuercas de compresión de los extremos de los tubos (Figura 27).
Note: Guarde las tuercas de compresión para su instalación en el paso 1 de Instalación del conjunto de tubos nuevo.
Alinee los tubos de líquido y aire antiguos (Figura 28) con el conjunto de tubos nuevo (Pieza Toro N.º 114-9553).

Utilice un trozo de cinta para marcar la longitud de los tubos de líquido y aire antiguos en el conjunto de tubos nuevo.
En el conjunto de tubos nuevo, añada 26 cm (10") a partir de la marca que hizo en el paso 7, marque el conjunto de tubos y corte y los tubos en la segunda marca (la más larga) (Figura 28).
Si los tubos de líquido y aire antiguos están marcados con una brida, marque el conjunto de tubos nuevo con una brida; de lo contrario, vaya al paso 10.
Note: Ya no necesitará los tubos de líquido y aire antiguos.
Retire de 77 mm–102 mm (3"–4") de la funda en cada extremo del conjunto de tubos (Figura 28).
Repita los pasos 1 a 10 con los tubos de líquido y aire en el otro lado de la máquina.
Coloque la tuerca de compresión azul sobre los extremos del tubo azul, y coloque la tuerca de compresión blanca sobre el tubo transparente (Figura 29).

Alinee el extremo del tubo transparente con tuerca de compresión blanca al acoplamiento blanco de la boquilla del marcador de espuma, y apriete la tuerca de compresión a mano (Figura 29).
Alinee el extremo del tubo azul con tuerca de compresión azul con el acoplamiento azul de la boquilla del marcador de espuma, y apriete la tuerca de compresión a mano (Figura 29).
Enrute el conjunto de tubos por el lado trasero del tubo de sujeción superior de la sección de fumigación exterior, como se muestra en la Figura 30.
Important: Si el conjunto de tubos se instala en el lado incorrecto del tubo de sujeción superior, los tubos quedarán atrapados entre el soporte y la sección de fumigación exterior cuando los brazos están en la posición de transporte.

Sujete el conjunto de tubos al orificio del soporte de la boquilla con una brida, como se muestra en la Figura 31.

Sujete el conjunto de tubos a la sección de fumigación exterior con bridas, como se muestra en la Figura 30.
Sujete provisionalmente el extremo libre del conjunto de tubos a la sección de fumigación exterior.
Repita los pasos 1 a 6 con el conjunto de tubos del otro lado de la máquina.
Desconecte el conector de 3 pines del arnés de cables del kit de nivelación del Ultra Sonic Boom del conector hembra de 3 vías del arnés de cables de la máquina (Figura 32).

Repita el paso 1 con el conector de 3 pines del arnés de cables del Ultra Sonic Boom del otro lado de la máquina.
Sujetando la cubierta de la sección central (11 boquillas), retire los 4 pernos con arandela prensada (5/16" x 1¼") y las 2 pletinas de sujeción que fijan la cubierta al soporte de la cubierta (Figura 33).

Retire la cubierta de la sección central de la máquina (Figura 34).
Note: Guarde la cubierta, las pletinas de sujeción y los pernos con arandela prensada para su instalación en los pasos 1 y 2 de Instalación de la cubierta de la sección central.

Note: Si la máquina está equipada con un kit opcional de pistola de fumigación, consulte Desconexión del tubo del sensor de presión y la manguera de suministro.
Presione el anillo del acoplamiento del tubo en el codo de 90° de la válvula de sección de brazo derecha (Figura 36).

Tire del tubo del sensor de presión del indicador del salpicadero para sacarlo del acoplamiento del tubo (Figura 36).
Note: No retire el codo de 90° de la válvula de cierre para la manguera de suministro del carrete de manguera de la brida de la válvula de sección de brazo derecha.
Desconecte los conectores hembra de 3 vías marcados LEFT SPRAY VALVE, CENTER SPRAY VALVE y RIGHT SPRAY VALVE del arnés de cables de la máquina de los conectores de 3 pines de los actuadores de las 3 válvulas de fumigación (Figura 37).

Desconecte el conector hembra de 4 vías del arnés de cables de la máquina marcado RATE VALVE del conector de 4 pines del actuador de la válvula de caudal (Figura 38).

Desconecte el conector hembra de 3 vías del arnés de cables de la máquina marcado MASTER SPRAY VALVE del conector de 3 pines del actuador de la válvula de fumigación maestra (Figura 38).
En la sección de fumigación exterior, retire la abrazadera que sujeta la manguera de la sección de fumigación al acoplamiento en T dentado (Figura 39).

Retire la manguera del conector en T (Figura 39).
Retire el extremo libre de la manguera de la abrazadera en R (Figura 39).
Repita los pasos 1 a 3 con la manguera de suministro de la otra sección de fumigación exterior.
Debajo de la sección de fumigación central, retire la abrazadera que sujeta la manguera de suministro de la sección de fumigación central al acoplamiento en T dentado (Figura 40).

Retire las horquillas de retención que sujetan los acoplamientos rápidos de las mangueras de suministro izquierda, central y derecha de los acoplamientos rápidos de las válvulas de sección (Figura 41).
Note: Guarde las horquillas de retención para su instalación en Conexión de las mangueras a las válvulas de boquilla 7 a 10.

Retire las mangueras de suministro de las secciones izquierda, central y derecha de los acoplamientos rápidos de las válvulas de sección de fumigación, y retire las mangueras de la máquina (Figura 41).
Note: Ya no necesitará las mangueras de suministro de las secciones izquierda, central y derecha.
Retire las mangueras de los orificios de extensión de los cilindros de elevación derecho e izquierdo (Figura 43).


Retire las mangueras de los orificios C2 y C4 del distribuidor de los cilindros de elevación (Figura 43).
Retire las mangueras de los orificios de retracción de los cilindros de elevación derecho e izquierdo (Figura 43).
Retire las mangueras de los orificios C1 y C3 del distribuidor de los cilindros de elevación (Figura 43).
Note: Ya no necesitará las mangueras.
Note: A menos que se indique lo contrario, guarde todas las fijaciones que retire; se utilizarán esas fijaciones para instalar la extensión del brazo central.
Utilice un equipo de izado de la capacidad especificada para sujetar la sección de fumigación exterior.
Retire el pasador y la chaveta que sujetan el extremo de la varilla del cilindro de elevación al soporte de giro (Figura 44).
Note: Guarde el pasador y la chaveta para su instalación en Montaje de los cilindros de elevación.

Retire la contratuerca con arandela prensada (5/16") y el perno con arandela prensada (5/16" x ¾") que sujeta el pasador de giro al soporte de los cilindros (Figura 45).

Retire el pasador de giro y el cilindro de elevación de la máquina (Figura 45).
Realice los pasos descritos en Retirada de las secciones de fumigación exteriores.
Capacidad del equipo de izado: 46 kg (100 libras)
Note: Si la máquina está equipada con el Kit opcional de brazos cubiertos, deje las cubiertas instaladas en las secciones de fumigación exteriores.
El izado de máquinas y accesorios pesados de forma incorrecta podría causar lesiones graves o incluso la muerte.
Para levantar máquinas y accesorios pesados, utilice equipos de izado, como cadenas y correas, con capacidad suficiente para sostener el peso del equipo.
Note: A menos que se indique lo contrario, guarde todas las fijaciones que retire; se utilizarán esas fijaciones para instalar la extensión del brazo central.
Retire el perno con arandela prensada (5/16" x 1") y la contratuerca con arandela prensada (5/16") que sujetan el pasador de giro al soporte de giro (Figura 46).

Retire el pasador de giro del soporte de giro de la sección de fumigación central y del acoplamiento de giro de la sección de fumigación exterior (Figura 46).
Note: Guarde el perno con arandela prensada, la tuerca con arandela prensada y el pasador de giro para su instalación en Montaje de las secciones de fumigación exteriores en la máquina.
Separe la sección de fumigación exterior de la sección de fumigación central y retire la sección exterior de la máquina (Figura 46).
Retire los 2 casquillos con brida de nylon del acoplamiento de giro de la sección de fumigación exterior (Figura 46).
Note: Deseche los casquillos.
Repita los pasos 1 a 3 de Retirada de los cilindros de elevación con la sección de fumigación exterior en el otro lado de la máquina.
Repita los pasos 1 a 4 de esta sección con la sección de fumigación exterior del otro lado de la máquina.
Retire el distribuidor de elevación del soporte de los cilindros como se indica a continuación:
Máquinas sin kit opcional de nivelación del brazo Ultra Sonic: retire las 2 contratuercas con arandela prensada (5/16") y los 2 pernos con arandela prensada (5/16" x 1") que sujetan el soporte del distribuidor de elevación al soporte de los cilindros, y separe el distribuidor y su soporte del soporte de los cilindros (Figura 47).

Máquinas con kit opcional de nivelación del brazo Ultra Sonic: Retire las 2 contratuercas con arandela prensada (5/16") y los 2 pernos con arandela prensada (5/16" x 1") que sujetan el soporte del distribuidor de elevación y el soporte del controlador TEC al soporte de los cilindros, y separe el distribuidor y su soporte del soporte de los cilindros (Figura 48).

Sujete el distribuidor de elevación al soporte de las válvulas de fumigación con un trozo de cuerda.
Note: Guarde el soporte y el distribuidor de elevación, los pernos y las tuercas para su instalación en Montaje del distribuidor de los cilindros de elevación en el soporte de los cilindros.
Capacidad del equipo de izado: 41 kg (90 libras)
Si la máquina está equipada con el Kit opcional de brazos cubiertos, retire la cubierta de las secciones de fumigación centrales.
Sujete la sección de fumigación central con un equipo de izado de la capacidad especificada (Figura 49).

Retire los 4 pernos con arandela prensada (⅜" x 1¼") y las 4 contratuercas con arandela prensada (⅜") que sujetan la sección de fumigación central a los soportes (Figura 50).
Note: Nota: Guarde los pernos y las contratuercas para la instalación en Instalación de la sección de fumigación central modificada.

Eleve la sección de fumigación central (Figura 50), y retírela de la máquina.
Piezas necesarias en este paso:
| Perno con arandela prensada (⅜" x 1") | 2 |
| Contratuercas prensadas (⅜") | 2 |
| Extensión del brazo central | 1 |
| Soporte de los cilindros (ancho) | 1 |
| Pletina de unión (ancha) | 1 |
| Perno de cuello cuadrado (½" x 1¼") | 4 |
| Contratuerca con arandela prensada (½") | 4 |
En la sección de fumigación central, retire la contratuerca con arandela prensada que sujeta la boquilla de fumigación al soporte de la boquilla (Figura 51 y Figura 52).
Note: Guarde la contratuerca para su instalación en el paso 6 de Instalación de las boquillas de fumigación en la sección de fumigación central.


Retire el tornillo de acero inoxidable (N.º 12 x 1¼") que sujeta la mitad superior de la abrazadera y el conector de manguera de dentado simple o doble (¾") al cuerpo de la boquilla de fumigación, y separe el conector de manguera dentado y la manguera de la boquilla (Figura 53).
Note: El perno de cabeza hexagonal (5/16" x ¾" – acero inoxidable) se separará de la mitad superior de la abrazadera al abrirse la abrazadera; guarde el perno para la instalación.

Retire la boquilla de la sección de fumigación central (Figura 51 y Figura 52).
Repita los pasos 1 a 2 con las otras 2 boquillas de fumigación.
Note: Guarde las boquillas de fumigación, los tornillos de acero inoxidable y los pernos de cabeza hexagonal para su instalación en el paso 6 y 7 de Montaje de las boquillas de fumigación y las mangueras de la sección de fumigación central.
Retire las mangueras (¾" D.I.), los conectores dentados, las abrazaderas y el acoplamiento en T dentado de la sección de fumigación central (Figura 51).
Note: Ya no necesitará la manguera, los conectores, las abrazaderas y el acoplamiento en T.
Retire los 2 pernos con arandela prensada (⅜" x 1") y las 2 contratuercas (⅜") que sujetan las pestañas verticales de los tramos de celosía izquierdo y derecho (Figura 54).

Retire los 2 pernos con arandela prensada (½" x 1¼") y las 2 contratuercas (½") que sujetan el soporte de los cilindros estrecho, los tramos de celosía izquierdo y derecho y la pletina de unión estrecha (Figura 55).

Note: Guarde los pernos con arandela prensada, los pernos de cuello cuadrado y las contratuercas para su instalación en los pasos 2 y 7 de Instalación de la extensión del brazo central. Ya no necesitará el soporte de los cilindros estrecho y la pletina de unión estrecha.
Separe los tramo de celosía izquierdo y derecho.
Alinee los orificios de las pestañas verticales de la extensión del brazo central con los orificios del tramo de celosía (Figura 56).

Sujete provisionalmente la extensión del brazo central al tramo de celosía (Figura 56) con los 2 pernos con arandela prensada (⅜" x 1") y las 2 contratuercas con arandela prensada (⅜") que retiró en el paso 1 de Separación de los tramos de celosía de la sección de fumigación central.
Alinee los orificios de las pestañas verticales de la extensión del brazo central con los orificios del otro tramo de celosía (Figura 56).
Ensamble provisionalmente la extensión del brazo central al otro tramo de celosía (Figura 56) con los 2 pernos con arandela prensada (⅜" x 1") y las 2 contratuercas con arandela prensada (⅜") del kit de acabado del sistema de fumigación GeoLink (Figura 56).
Alinee los orificios del soporte de los cilindros con los orificios situados en la línea central del tramo de celosía y de la extensión del brazo central. (Figura 57)

Inserte la pletina de unión en el tramo de celosía y alinee el orificio de la pletina con los orificios situados en la línea central de los tramos de celosía y de la extensión del brazo (Figura 57).
Ensamble el soporte de los cilindros, los tramos de celosía, la extensión del brazo central y la pletina de unión con los 2 pernos de cuello cuadrado (½" x 1¼") y las 2 contratuercas con arandela prensada (½") que retiró en el paso 2 de Separación de los tramos de celosía de la sección de fumigación central, y los 4 pernos de cuello cuadrado (½" x 1¼") y 4 contratuercas con arandela prensada (½") del kit de acabado del sistema de fumigación GeoLink (Figura 57).
Apriete los pernos con arandela prensada y las contratuercas con arandela prensada de ⅜" a 37–45 N∙m (27–33 pies-libra).
Apriete las contratuercas con arandela prensada de ½" a 91–113 N∙m (67–83 pies-libra).
Piezas necesarias en este paso:
| Boquilla de fumigación | 2 |
| Manguera (válvula de fumigación 5 o 6) | 2 |
| Contratuerca con arandela prensada (5/16") | 2 |
Utilizando un equipo de izado, eleve la nueva sección de fumigación central a una altura de trabajo cómoda.
Trabajando con la boquilla de fumigación 2 que viene con el kit de acabado del sistema de fumigación GeoLink, retire el tornillo de acero inoxidable que fija la mitad superior de la abrazadera a la base (Figura 58).

Localice el orificio en el lateral del conector de manguera de dentado simple, al final de la manguera de 25 cm (10") (válvula de fumigación 5 o 6) de la sección de fumigación central (Figura 58 y Figura 59).

Alinee el tubo de trasvase de la base de una boquilla de fumigación (Figura 58) con el orificio situado en el lado del conector dentado simple (½").
Cierre la mitad superior de la abrazadera alrededor del conector de manguera dentado y sujete la mitad de la abrazadera y el cuerpo de la boquilla de fumigación (Figura 58) con el tornillo de acero inoxidable (N.º 12 x 1¼"); apriete el tornillo de acero inoxidable a 14–18 N∙m (20–25 pulgadas-libra).
Important: No apriete el tornillo de acero inoxidable más de lo especificado en el paso 5.
Note: Asegúrese de que el perno de cabeza hexagonal (5/16" x ¾") está asentado en el hueco de la mitad superior de la abrazadera al cerrar la abrazadera.
Trabajando con la boquilla de fumigación, el perno de cabeza hexagonal, y el tornillo de acero inoxidable que retiró en los pasos 1 y 2 de Retirada de las boquillas de fumigación, repita los pasos 3 a 5 con el conector de manguera de dentado simple (Figura 58 y Figura 59) del otro extremo de la manguera de 25 cm (10").
Trabajando con las 2 boquillas de fumigación que retiró en el paso 4 de Retirada de las boquillas de fumigación, repita los pasos 3 a 5 con los conectores de manguera de dentado simple del otro conjunto de mangueras (válvula de fumigación 5 o 6) de la sección de fumigación central (Figura 58 y Figura 59).
Enrute la manguera de 25 cm (10") y el conjunto de la boquilla entre los tirantes del tramo de celosía exterior (Figura 60).

Enrute la manguera y la boquilla por encima del tirante y hacia fuera hasta llegar al soporte de la boquilla exterior (Figura 60).
Alinee el perno de cabeza hexagonal (5/16" x ¾") de la boquilla de fumigación con el orificio del soporte de la boquilla, y sujete provisionalmente la boquilla al soporte con una contratuerca con arandela prensada (5/16") del Kit de acabado del sistema de fumigación GeoLink (Figura 61).

Enrute la otra manguera de 25 cm (10") y el conjunto de la boquilla entre los tirantes del tramo de celosía exterior (Figura 60).
Enrute la manguera y la boquilla por encima del tirante y hacia dentro hasta llegar al soporte de la boquilla interior (Figura 60).
Alinee el perno de cabeza hexagonal (5/16" x ¾") de la boquilla de fumigación con el orificio del soporte de la boquilla (Figura 61), y sujete provisionalmente la boquilla al soporte con una de las contratuercas con arandela prensada (5/16") que retiró en los pasos 1 y 4 de Retirada de las boquillas de fumigación.
Apriete la contratuerca con arandela prensada a 1978–2542 N∙cm (175–225 pulgadas-libra).
Enrute la manguera y el acoplamiento dentado de 13 mm x 810 mm (½" x 32") por el lado de la sección de fumigación central que tiene los soportes izquierdo y derecho (Figura 60).
Repita los pasos 1 a 8 con el otro conjunto de manguera y boquilla en el otro tramo de celosía exterior (Figura 60 y Figura 61).
Piezas necesarias en este paso:
| Tapón (acoplamiento rápido) | 3 |
| Horquilla de retención | 3 |
Retire el extremo superior de la manguera de desvío, según se indica a continuación:
Máquinas sin kit opcional de lanza de mano o Kit opcional de carrete de manguera eléctrico: retire la horquilla de retención pequeña que sujeta el acoplamiento rápido de la manguera de desvío al acoplamiento rápido de la válvula de desvío de sección derecha (Figura 62).

Si la máquina tiene el kit opcional de lanza de mano o el kit opcional de carrete de manguera eléctrico, realice los pasos siguientes:
Retire la horquilla de retención que sujeta el acoplamiento rápido de la válvula de cierre al acoplamiento rápido de la válvula de desvío de sección derecha, y separe la válvula del alojamiento (Figura 63).

Retire la horquilla de retención que sujeta el acoplamiento rápido de la válvula de cierre al acoplamiento rápido del acoplamiento dentado de 90°, y separe la válvula del alojamiento (Figura 63).
Note: Guarde la válvula de cierre y las horquillas de retención para su instalación en Montaje de la válvula de cierre en la manguera de desvío.
Retire la horquilla de retención grande que sujeta el acoplamiento dentado de 90° del extremo inferior de la manguera de desvío al conector pasamuros del depósito de fumigación (Figura 64).
Note: Guarde la horquilla de retención grande para su instalación en Montaje de las mangueras de desvío en el depósito.

Retire la manguera de desvío de la máquina.
Note: Ya no necesitará la manguera de desvío y la horquilla de retención pequeña.
Retire las 3 horquillas de retención que sujetan los 3 actuadores de válvula a las válvulas de sección izquierda, central y derecha (Figura 65).

Retire los actuadores de válvula de las válvulas de sección izquierda, central y derecha (Figura 65).
Retire la horquilla de retención que sujeta el tapón al acoplamiento rápido de la válvula de desvío, y retire el tapón (Figura 66).
Note: Ya no necesitará el tapón.

Retire las 3 horquillas de retención que sujetan las 3 válvulas de desvío a las válvulas de sección la izquierda, central y derecha (Figura 67).

Levante las válvulas de desvío de las válvulas de sección (Figura 67).
Gire las válvulas de desvío 180° y móntelas en los acoplamientos rápidos de las válvulas de sección (Figura 67).
Sujete las 3 válvulas de desvío a las válvulas de sección con las 3 horquillas de retención que retiró en el paso 4 (Figura 67).
Instale el tapón en el acoplamiento rápido de la válvula de desvío (Figura 68).

Sujete el tapón al acoplamiento rápido hembra con la horquilla de retención que retiró en el paso 3 (Figura 68).
Monte los 3 actuadores de válvula en las válvulas de sección izquierda, central y derecha (Figura 65) con las horquillas de retención que retiró en el paso 1.
Note: Se añadirán las válvulas de sección a las válvulas del sistema de fumigación GeoLink de 10 válvulas en Montaje de las 3 válvulas de sección en el soporte de las válvulas.
Retire los 2 pernos con arandela prensada (¼" x ¾") y 2 contratuercas (¼") que sujetan la válvula de sección del brazo izquierdo al soporte del distribuidor (Figura 69).
Note: Ya no necesitará los 2 pernos con arandela prensada y las contratuercas.

Retire los 2 pernos con arandela prensada (¼" x ¾") y 2 contratuercas (¼") que sujetan la válvula de sección del brazo derecho al soporte del distribuidor (Figura 69).
Retire la abrazadera de brida (40–64 mm (1-9/16–2½")) y la junta ((25 x 35 mm (1 x 1⅜")) que fijan la brida de la válvula de sección izquierda al adaptador (Figura 69).
Note: Guarde los 2 pernos con arandela prensada, las 2 contratuercas, la abrazadera de brida y la junta para su instalación en Montaje de las 3 válvulas de sección en el soporte de las válvulas.

Retire las 3 válvulas de sección de la máquina (Figura 70).
Retire las pegatinas de los actuadores de las 3 válvulas de sección (Figura 71).

Retire la abrazadera de brida de 51 mm (2") y la junta de 38 mm (1½") que sujetan la brida del adaptador a la brida del caudalímetro (Figura 72).
Note: Guarde la abrazadera de brida y la junta para su instalación en Montaje del distribuidor en el caudalímetro.

Piezas necesarias en este paso:
| Soporte del caudalímetro | 1 |
| Sección de abrazadera | 4 |
| Perno (¼" x 4½") | 4 |
| Contratuercas prensadas (¼") | 4 |
Desconecte el conector hembra de 3 vías del arnés de cables de la máquina marcado FLOW METER del conector de 3 pines del caudalímetro (Figura 73).

Retire las 2 grapas del arnés de cables de la máquina de la pestaña inferior del panel de las válvulas de sección (Figura 73).
Retire los 4 tornillos con arandela prensada (5/16" x ¾") que sujetan el panel de las válvulas de sección del soporte de las válvulas, y retire el panel de las válvulas de la máquina (Figura 74).
Note: Guarde los 4 tornillos con arandela prensada para su instalación en Instalación del soporte y las abrazaderas del caudalímetro; ya no necesitará el panel de las válvulas de sección.

Alinee los orificios del soporte del caudalímetro con los orificios del soporte de las válvulas (Figura 75).

Monte el soporte del caudalímetro en el soporte de las válvulas con los 4 tornillos con arandela prensada que retiró en el paso 3 de Retirada del panel de las válvulas de sección, y apriete los tornillos a 1978–2542 N∙cm (175–225 pulgadas-libra).
Alinee dos secciones de abrazadera entre el caudalímetro y el soporte del caudalímetro, y alinee los orificios de las secciones de las abrazaderas con los orificios del soporte (Figura 76).

Alinee una sección de abrazadera en la parte trasera del caudalímetro con una de las secciones de abrazadera que ensambló en el paso 3 (Figura 76).
Monte las dos mitades de la abrazadera al soporte del caudalímetro (Figura 76) con 2 pernos (¼" x 4½") y 2 tuercas con arandela prensada (¼").
Repita los pasos 4 y 5 en con la otra sección de abrazadera que montó en el paso 3.
Apriete los pernos y las tuercas a 1017–1243 N∙cm (90–110 pulgadas-libra).
Piezas necesarias en este paso:
| Arnés de fumigación del kit | 1 |


Localice el rama de 84 cm (33"), la rama de 60 cm (23½") y la rama de 66 cm (26") del arnés de cables del kit (Figura 77 y Figura 78).
Enrute las ramas de 84 cm (33"), 60 cm (23½") y 66 cm (26") del arnés de cables del kit por el lado izquierdo de la máquina junto al arnés de cables de la máquina (Figura 79 y Figura 80).


Enrute las ramas de 84 cm (33"), 60 cm (23½") y 66 cm (26") del arnés de fumigación del kit hacia adelante por el perfil izquierdo del bastidor (Figura 82 y Figura 83).



Enrute las ramas de 84 cm (33"), 60 cm (23½") y 66 cm (26") del arnés de fumigación del kit junto al arnés de cables de la máquina, por fuera del conjunto del freno de estacionamiento (Figura 84).

Enrute las ramas de 84 cm (33"), 60 cm (23½") y 66 cm (26") del arnés de fumigación del kit a través del tubo de sujeción del amortiguador, como se muestra en la Figura 85.

Sujete el arnés de fumigación del kit al arnés de cables de la máquina como se muestra en la Figura 83, la Figura 84, y la Figura 85.
En la parte trasera de la máquina, enrute la rama de 89 cm (35") del arnés de cables hacia adelante, por delante del distribuidor de elevación, y a la derecha del caudalímetro, como se muestra en la Figura 86.

Enrute la rama de 102 cm (40") del arnés de cables por detrás del distribuidor de elevación y hacia la derecha, como se muestra en la Figura 86.
Conecte el conector de 3 pines de la rama de 89 cm (35") del arnés de fumigación del kit marcado LEFT SPRAY al conector hembra de 3 vías del arnés de cables de la máquina marcado LEFT SPRAY VALVE (Figura 87).

Conecte los conectores de 3 pines del arnés de fumigación del kit marcado CENTER SPRAY al conector hembra de 3 vías del arnés de cables de la máquina marcado CENTER SPRAY VALVE (Figura 87).
Conecte el conector de 3 pines del arnés de fumigación del kit marcado RIGHT SPRAY al conector hembra de 3 vías del arnés de cables de la máquina marcado RIGHT SPRAY VALVE (Figura 87)
Introduzca la grapa del arnés de fumigación del kit en el orificio de la pestaña del soporte del caudalímetro (Figura 87).
Conecte el conector hembra de 3 vías de la rama de 89 cm (35") del arnés de fumigación del kit marcado FLOW METER al conector de 3 pines del caudalímetro (Figura 88).

Conecte el conector de 3 pines de la rama de 89 cm (35") del arnés de fumigación del kit marcado MASTER VALVE al conector hembra de 3 vías del arnés de cables de la máquina marcado MASTER SPRAY VALVE (Figura 89).

Conecte el conector de 3 pines del actuador de la válvula de fumigación maestra al conector hembra de 3 vías de la rama de 89 cm (35") del arnés de fumigación del kit marcado MASTER VALVE (Figura 89).
Conecte el conector de 4 pines del actuador de la válvula de caudal al conector hembra de 4 vías de la rama de 89 cm (35") del arnés de fumigación del kit marcado RATE VALVE (Figura 90).

Piezas necesarias en este paso:
| Conector dentado recto (1" x 2") | 1 |
| Abrazadera (¾"–1½") | 3 |
| Manguera (1 x 5¾") | 1 |
| Distribuidor | 1 |
| Manguera (1 x 16") | 1 |
Conecte la manguera (1 x 5¾") en el acoplamiento dentado recto (1 x 2") con una abrazadera (¾ a 1½"), y apriete la abrazadera a mano (Figura 91).

Conecte el otro extremo de la manguera (1 x 5¾") en el acoplamiento dentado del distribuidor con una abrazadera, como se muestra en la Figura 91, y apriete la abrazadera a mano.
Conecte la manguera (1 x 16") al otro acoplamiento dentado del distribuidor con una abrazadera, y apriete la abrazadera a mano (Figura 91).
Conecte el conector dentado recto (1" x 2") a la brida del caudalímetro con la junta de 38 mm (1½") y la abrazadera de brida de 51 mm (2") que retiró en el paso 6 de Retirada de las válvulas de sección del soporte del distribuidor.

Apriete la abrazadera de brida a mano (Figura 92).
Piezas necesarias en este paso:
| Conjunto de manguera de desvío | 1 |
| Válvula de cierre | 1 |
Como se muestra en la Figura 93, retire la horquilla de retención del acoplamiento rápido de 90°.

Monte la válvula de cierre en el conector hembra del acoplamiento rápido (Figura 93).
Sujete la válvula al acoplamiento con la horquilla de retención que retiró en el paso 1.
Monte la válvula de cierre y la horquilla de retención que retiró en el paso 1 de Retirada de la manguera de desvío de sección en el otro acoplamiento rápido hembra (Figura 93).
Alinee el conjunto de manguera de desvío con el depósito de fumigación (Figura 94).


Monte el acoplamiento dentado de 90° en el pasamuros del depósito de fumigación y sujete ambos con la horquilla de retención que retiró en el paso 2 de Retirada de la manguera de desvío de sección.
Capacidad del equipo de izado: 55 kg (120 libras)
Usando un equipo de izado con la capacidad de izado especificada, eleve la sección de fumigación central y alinee la sección de fumigación con los orificios de los soportes (Figura 95).

Monte la sección de fumigación central en los soportes (Figura 95) con los 4 pernos con arandela prensada (⅜" x 1¼") y las 4 contratuercas con arandela prensada (⅜") que retiró en Retirada de la sección de fumigación central.
Apriete los pernos y las tuercas a 37–45 N∙m (27–33 pies-libra).
Desate el distribuidor de elevación del soporte de montaje de la válvula.
Monte el distribuidor de elevación en el soporte de los cilindros como se indica a continuación:
Máquinas sin el kit opcional de nivelación del Ultra Sonic Boom:
Alinee los orificios del soporte del distribuidor de elevación con los orificios del soporte de los cilindros (Figura 96).

Monte el soporte del distribuidor en el soporte de los cilindros (Figura 96) con los 2 pernos con arandela prensada (5/16" x 1") y la contratuerca con arandela prensada (5/16") que retiró en el paso 1 de Retirada del distribuidor de elevación de la sección de fumigación central.
Máquinas con el kit opcional de nivelación del Ultra Sonic Boom:
Alinee los orificios del soporte del distribuidor de elevación y el soporte del controlador TEC con los orificios del soporte de los cilindros.

Monte el soporte del distribuidor y el soporte del controlador TEC en el soporte de los cilindros (Figura 97) con los 2 pernos con arandela prensada (5/16" x 1") y la contratuerca con arandela prensada (5/16") que retiró en el paso 1 de Retirada del distribuidor de elevación de la sección de fumigación central.
Apriete los pernos y las tuercas a 1978–2542 N∙cm (175–225 pulgadas-libra).
Piezas necesarias en este paso:
| Conjunto de soporte de las válvulas y válvulas de fumigación | 1 |
| Perno (4 mm x 10 mm) | 3 |
| Controlador de fumigación ASC 10 | 1 |
| Contratuerca con arandela prensada (4 mm) | 3 |
| Tapón (acoplamiento rápido) | 2 |
| Pernos con arandela prensada (5/16" x ¾") | 8 |
| Contratuercas prensadas (5/16") | 8 |
| Abrazadera | 1 |
| Grapa (brida) | 1 |
| Grapa (anclaje del conector) | 3 |
Alinee el controlador de fumigación ASC 10 en el lado delantero del soporte de las válvulas, orientando el conector de 4 pines hacia fuera (Figura 98).

Monte el controlador de fumigación en el soporte de las válvulas (Figura 98) con los 3 pernos (4 mm x 10 mm) y las 3 contratuercas con arandela prensada (4 mm).
Note: No utilice el orificio superior exterior del controlador de fumigación ASC 10.
Apriete los pernos y las tuercas a 234–286 N∙cm (21–25 pulgadas-libra).
Retire las horquillas de retención que sujetan los actuadores de válvula de las válvulas de boquilla 1 a 7 (Figura 99).

Retire los actuadores de válvula de las válvulas de boquilla 1 a 7 (Figura 99).
Retire las horquillas de retención que sujetan los tapones en los conectores de los acoplamientos rápidos de las válvulas de boquilla 5 y 6, y retire los tapones (Figura 100).
Note: Ya no necesitará los tapones; guarde las horquillas de retención para su instalación en Instalación de las mangueras de desvío de sección – Máquinas con el kit opcional de lanza de mano o el kit opcional de carrete de manguera eléctrico.

Retire las horquillas de retención que sujetan las válvulas de desvío a las válvulas de boquilla 1 a 7 (Figura 101).

Retire las válvulas de desvío de las válvulas de boquilla 1 a 5 (Figura 101).
Gire las válvulas de desvío 180° y móntelas en los acoplamientos rápidos de las válvulas de sección (Figura 102).

Sujete las válvulas de desvío a las válvulas de sección con las horquillas de retención (Figura 102) que retiró en el paso 4.
Repita los pasos 5 a 7 con las válvulas de desvío de las válvulas de boquilla 6 y 7 (Figura 103).

Monte los tapones en los acoplamientos rápidos de las válvulas de desvío de las válvulas de boquilla 5 y 6 con las horquillas de retención suministradas con los tapones (Figura 102).

Monte los actuadores de válvula en las válvulas de boquilla 1 a 7 (Figura 99) con las horquillas de retención que retiró en el paso 1.
Monte las 3 válvulas de sección (Figura 105) que retiró en el paso 8 de Retirada de las válvulas de sección del soporte del distribuidor sobre la brida de la válvula 7 del conjunto de válvulas de fumigación con la abrazadera de brida y la junta que retiró en el paso 4 de Retirada de las válvulas de sección del soporte del distribuidor.
Important: Las válvulas de sección izquierda, central y derecha se identifican en el sistema de fumigación GeoLink de la manera siguiente: válvula de sección izquierda – válvula de boquilla 8, válvula de la sección central – válvula de boquilla 9, y válvula de sección derecha – válvula de boquilla 10.

Sujete el conector hembra del acoplamiento rápido de la válvula de desvío de la válvula de boquilla 8 al acoplamiento rápido de la válvula de desvío de la válvula de boquilla 7 con la horquilla de retención que retiró en el paso 8 de Retirada de las válvulas de sección del soporte del distribuidor.

Monte la válvula de boquilla 10 en el soporte de las válvulas (Figura 107 o Figura 108) con los 2 pernos con arandela prensada (¼" x ¾") y las 2 contratuercas (¼") que retiró en el paso 2 de Retirada de las válvulas de sección del soporte del distribuidor.


Apriete los pernos con arandela prensada y las contratuercas a 1017–1243 N∙m (90–120 pulgadas-libra).
Capacidad del equipo de izado: 23 kg (50 libras)
Usando un equipo de izado con la capacidad especificada, eleve el conjunto de soporte de las válvulas y válvulas de fumigación y alinéelo sobre la sección de fumigación central (Figura 109).

Alinee los orificios del soporte de montaje del soporte de las válvulas con los orificios del tramo de celosía de la sección de brazo central (Figura 110).

Monte el soporte de las válvulas en el tramo de celosía (Figura 110 y Figura 111) con 4 pernos (5/16" x ¾") y 4 contratuercas con arandela prensada (5/16").

Repita los pasos 2 a 3 con el otro soporte de montaje del soporte de las válvulas en el otro tramo de celosía.
Apriete los pernos con arandela prensada y las contratuercas prensadas a 1978–2542 N·cm (175–225 pulgadas-libra).
Conecte la manguera (1" x 16") al acoplamiento con brida de 90° (1"), como se muestra en la Figura 112.

Sujete la manguera al conector con brida con una abrazadera (Figura 112).
Inserte la brida/grapa en el orificio de la parte superior del soporte de las válvulas, como se muestra en la Figura 112.
Sujete la brida/grapa (Figura 112) alrededor de la manguera (1" x 16").
Retire las horquillas de retención de los conectores hembra de los acoplamientos rápidos.
Conecte el acoplamiento rápido de la manguera de desvío al acoplamiento rápido de la válvula de desvío de la válvula de boquilla 10 (Figura 113).

Sujete los acoplamientos rápidos de la manguera de desvío y la válvula de desvío con la horquilla de retención (Figura 113).
Repita los pasos 1 a 3 con los acoplamientos rápidos de la válvula de boquilla 1.
Conecte el acoplamiento rápido de la válvula de cierre-desvío al acoplamiento rápido (conector hembra) de la válvula de desvío (Figura 114).

Sujete los acoplamientos rápidos de la válvula de cierre del desvío y la válvula de desvío con la horquilla de retención (Figura 114) que retiró en el paso 3 de Posicionamiento de las válvulas de desvío – Máquinas sin el kit opcional de lanza de mano o kit opcional de carrete de manguera eléctrico.
Repita los pasos 1 y 2 con la válvula de cierre–desvío y la válvula de desvío del otro lado de la máquina.
Inserte las grapas de los conectores eléctricos de los actuadores de válvula en los orificios del soporte de las válvulas (Figura 115).

Conecte el conector hembra de 3 vías (Figura 116) de la rama de 89 cm (35") del arnés de fumigación del kit marcado NOZZLE VALVE 1 en el conector de 3 pines del actuador de la válvula de la izquierda (posición 1).
Note: Las posiciones 1 a 10 de los actuadores de válvula están dispuestos de izquierda a derecha, visto desde detrás de la máquina.

Conecte el conector hembra de 3 vías (Figura 116) de la rama de 89 cm (35") del arnés de fumigación del kit marcado NOZZLE VALVE 2 en el conector de 3 pines del actuador de la válvula (posición 2).
Conecte los demás conectores hembra de 3 vías de la rama de 89 cm (35") del arnés de fumigación del kit a los conectores de 3 pines de los actuadores de las válvulas (Figura 116).
Note: Asegúrese de que los conectores hembra de 3 vías están conectados a los actuadores de válvula correspondientes.
Inserte el conector hembra de 3 vías de la rama de 61 cm (24") del arnés de fumigación del kit marcado PRESSURE TRANSDUCER GREEN WEDGE en el conector de 3 pines del transductor de presión (Figura 117).

Inserte el conector hembra de 40 vías de la rama de 102 cm (40") del arnés de fumigación del kit en el conector de 40 pines del controlador de fumigación del ASC 10 (Figura 118).

Enrosque a mano el tornillo moleteado del conector hembra de 40 vías en el conector ASC 10 (Figura 118).
Inserte el conector hembra de 4 vías del arnés de fumigación del kit marcado TO ASC 10 en el conector de 4 pines del controlador de fumigación ASC 10 (Figura 119).

Piezas necesarias en este paso:
| Manguera hidráulica (¼" x 24¾") | 4 |
Alinee el extremo fijo del cilindro de elevación que retiró en el paso 3 de Retirada de los cilindros de elevación al orificio de 16 mm (⅝") del soporte de los cilindros (Figura 120).
Note: Asegúrese de que los orificios de extensión y retracción del cilindro están alineados.

Sujete el cilindro al soporte de los cilindros con el pasador de giro, el perno con arandela prensada y una tuerca de arandela prensada (Figura 120).
Apriete el perno y la tuerca a 1978–2542 N·cm (175–225 pulgadas-libra).
Repita los pasos 1 a 3 con el otro cilindro de elevación en el otro lado del soporte de los cilindros.
Conecte provisionalmente una manguera hidráulica nueva (¼" x 24¾") entre el orificio de extensión del cilindro de elevación del brazo izquierdo y el orificio C3 del distribuidor de elevación de los brazos (Figura 121).

Conecte provisionalmente una manguera hidráulica nueva (¼" x 24¾") entre el orificio de retracción del cilindro de elevación del brazo izquierdo y el orificio C4 del distribuidor de elevación de los brazos (Figura 121).
Conecte provisionalmente una manguera hidráulica nueva (¼" x 24¾") entre el orificio de extensión del cilindro de elevación del brazo derecho y el orificio C1 del distribuidor de elevación de los brazos (Figura 122).

Conecte provisionalmente una manguera hidráulica nueva (¼" x 24¾") entre el orificio de retracción del cilindro de elevación del brazo derecho y el orificio C2 del distribuidor de elevación de los brazos (Figura 122).
Apriete los acoplamientos de los orificios de extensión y retracción de los cilindros de elevación (Figura 121 y Figura 122) a 21–26 N∙m (15–19 pies-libra).
Apriete las tuercas giratorias de las mangueras del distribuidor de elevación de los brazos (Figura 121 y Figura 122) a 24–30 N∙m (17–22 pies-libra).
Piezas necesarias en este paso:
| Casquillo con brida de nylon | 4 |
| Conjunto de manguera de suministro 188 cm (74") | 1 |
| Conjunto de manguera de suministro 234 cm (92") | 1 |
| Conjunto de manguera de suministro 279 cm (110") | 1 |
Corte la manguera entre 2 boquillas de fumigación (Figura 123).

Retire la contratuerca con arandela prensada (5/16") que sujeta la boquilla de fumigación al soporte de la boquilla (Figura 123).
Repita los pasos 2 a 1 con las otras 3 boquillas.
Note: Guarde la contratuerca con arandela prensada y la boquilla de fumigación para su instalación en Instalación de las boquillas de fumigación en las secciones de fumigación exteriores.
Note: Deseche las mangueras, las abrazaderas y el acoplamiento en T que retiró de la máquina.
Repita los pasos 2 a 3 con la otra sección de fumigación exterior.
Trabajando con las 8 boquillas de fumigación que retiró en el paso 1, retire los tornillos de acero inoxidable (N.º 12 x 1¼") que sujetan las mitades superiores de las abrazaderas y los conectores de manguera de dentado simple o doble (¾") al cuerpo de cada boquilla de fumigación, y retire los conectores de manguera dentado (Figura 124).
Note: El perno de cabeza hexagonal (5/16" x ¾" – acero inoxidable) se separará de la mitad superior de la abrazadera al abrirse la abrazadera; guarde el perno para la instalación.

Capacidad del equipo de izado: 46 kg (100 libras)
Usando un equipo de izado de la capacidad especificada, eleve el brazo exterior.
Inserte un casquillo con brida de nylon en el orificio de 31.8 mm (1¼") de cada lado del acoplamiento de giro (Figura 125).

Alinee los casquillos del acoplamiento de giro con los orificios de las pestañas del soporte de giro situado en el extremo de la sección de fumigación central (Figura 126).

Monte el acoplamiento de giro en el soporte de giro con el pasador de giro, el perno con arandela prensada (5/16" x 1") y la contratuerca con arandela prensada (5/16") que retiró en el paso 2 de Retirada de las secciones de fumigación exteriores.
Apriete el perno y la tuerca a 1978–2542 N∙cm (175–225 pulgadas-libra).
Alinee la rótula del cilindro de elevación con el orificio de 25 mm (1") del brazo del acoplamiento de giro (Figura 127).

Sujete el cilindro de elevación al acoplamiento de giro con el pasador y la chaveta (Figura 127) que retiró en el paso 2 de Retirada de los cilindros de elevación.
Repita los pasos 1 a 7 en la sección de fumigación exterior del otro lado de la máquina.
Piezas necesarias en este paso:
| Manguera de suministro de 279 cm (110") | 2 |
| Manguera de suministro de 234 cm (92") | 2 |
| Manguera de suministro de 188 cm (74") | 4 |
| Manguera de suministro de 81 cm (32") | 2 |
Identifique las mangueras de alimentación por su longitud (Figura 128) para cada posición de las boquillas de fumigación, como se indica a continuación:
| Posiciones de las boquillas de fumigación – sección de fumigación izquierda | Posiciones de las boquillas de fumigación – sección de fumigación central | Posiciones de las boquillas de fumigación – sección de fumigación derecha |
|---|---|---|
| Boquilla de fumigación 1 (válvula de boquilla 1) – manguera de suministro 279 cm (110") | Boquillas de fumigación 5 y 6 (válvula de boquilla 5) – manguera de suministro de 81 cm (32") con 2 derivaciones | Boquilla de fumigación 9 (válvula de boquilla 7) – manguera de suministro de 188 cm (74") |
| Boquilla de fumigación 2 (válvula de boquilla 2) – manguera de suministro de 234 cm (92") | Boquillas de fumigación 7 y 8 (válvula de boquilla 6) – manguera de suministro de 81 cm (32") con 2 derivaciones | Boquilla de fumigación 10 (válvula de boquilla 8) – manguera de suministro de 188 cm (74") |
| Boquilla de fumigación 3 (válvula de boquilla 7) – manguera de suministro de 188 cm (74") | Boquilla de fumigación 11 (válvula de boquilla 9) – manguera de suministro de 234 cm (92") | |
| Boquilla de fumigación 4 (válvula de boquilla 4) – manguera de suministro de 188 cm (74") | Boquilla de fumigación 12 (válvula de boquilla 10) – manguera de suministro de 279 cm (110") |
Note: Consulte la Figura 129 en Conexión de las mangueras a las válvulas de boquillas 1 a 4, la Figura 130 en Conexión de las mangueras a las válvulas de boquilla 5 y 6, y la Figura 131 en Conexión de las mangueras a las válvulas de boquilla 7 a 10 para conocer las posiciones de las válvulas de las boquillas.

Monte el acoplamiento dentado recto de una manguera de suministro de 279 cm (110") en el acoplamiento de la válvula de boquilla 1 (Figura 129).
Note: Asegúrese de que el conector dentado está correctamente asentado en el acoplamiento.

Sujete el conector dentado al acoplamiento con una horquilla de retención (Figura 129).
Monte el acoplamiento dentado recto de una manguera de suministro de 234 cm (92") en el acoplamiento de la válvula de boquilla 2 (Figura 129).
Note: Asegúrese de que el conector dentado está correctamente asentado en el acoplamiento.
Sujete el conector dentado al acoplamiento con una horquilla de retención (Figura 129).
Monte el acoplamiento dentado recto de una manguera de suministro de 188 cm (74") en el acoplamiento de la válvula de boquilla 3 (Figura 129).
Note: Asegúrese de que el conector dentado está correctamente asentado en el acoplamiento.
Sujete el conector dentado al acoplamiento con una horquilla de retención (Figura 129).
Monte el conector dentado recto de una manguera de suministro de 188 cm (74") en el acoplamiento de la válvula de boquilla 4 (Figura 129).
Note: Asegúrese de que el conector dentado está correctamente asentado en el acoplamiento.
Sujete el conector dentado al acoplamiento con una horquilla de retención (Figura 129).
Note: El conjunto de la manguera de suministro de 81 cm (32") tiene un acoplamiento en T con 2 mangueras derivadas y 2 conectores de manguera de dentado único.
Monte el acoplamiento dentado recto de una manguera de suministro de 81 cm (32") en el acoplamiento de la válvula de boquilla 5 (Figura 130).
Note: Asegúrese de que el conector dentado está correctamente asentado en el acoplamiento.

Sujete el conector dentado al acoplamiento con una horquilla de retención (Figura 130).
Monte el conector dentado recto de una manguera de suministro de 81 cm (32") en el acoplamiento de la válvula de boquilla 6 (Figura 130).
Note: Asegúrese de que el conector dentado está correctamente asentado en el acoplamiento.
Sujete el conector dentado al acoplamiento con una horquilla de retención (Figura 130).
Monte el conector dentado recto de una manguera de suministro de 188 cm (74") en el acoplamiento de la válvula de boquilla 7 (Figura 131).
Note: Asegúrese de que el conector dentado está correctamente asentado en el acoplamiento.

Sujete el conector dentado al acoplamiento con una horquilla de retención (Figura 131).
Monte el conector dentado recto de una manguera de suministro de 188 cm (74") en el acoplamiento de la válvula de boquilla 8 (Figura 131).
Note: Asegúrese de que el conector dentado está correctamente asentado en el acoplamiento.
Sujete el conector dentado al acoplamiento con una horquilla de retención (Figura 131).
Monte el conector dentado recto de una manguera de suministro de 234 cm (92") en el acoplamiento de la válvula de boquilla 9 (Figura 131).
Note: Asegúrese de que el conector dentado está correctamente asentado en el acoplamiento.
Sujete el conector dentado al acoplamiento con una horquilla de retención (Figura 131).
Monte el conector dentado recto de una manguera de suministro de 279 cm (110") en el acoplamiento de la válvula de boquilla 10 (Figura 131).
Note: Asegúrese de que el conector dentado está correctamente asentado en el acoplamiento.
Sujete el conector dentado al acoplamiento con una horquilla de retención (Figura 131).
Enrute las mangueras de las boquillas de fumigación 1, 2, 3 y 4 a través de la abrazadera en R en el extremo exterior izquierdo de la sección de fumigación central (Figura 132 y Figura 133).


Enrute las mangueras de las boquillas de fumigación 7, 8, 9 y 10 a través de la abrazadera en R en el extremo exterior derecho de la sección de fumigación central (Figura 132 y Figura 133).
Enrute las mangueras de suministro de 279 cm (110") y los conectores de manguera dentados (¾") por la sección de fumigación hasta las boquillas de fumigación 1 y 10 (Figura 132 y Figura 133).
Enrute las mangueras de suministro de 234 cm (92") y los conectores de manguera dentados (¾") por la sección de fumigación hasta las boquillas de fumigación 2 y 9, como se muestra en la Figura 132 y la Figura 133.
Enrute las mangueras de suministro de 188 cm (74") y los conectores de manguera dentados (¾") por la sección de fumigación hasta las boquillas de fumigación 3 y 8, como se muestra en la Figura 132 y la Figura 133.
Note: Enrute las mangueras a través de los anillos de goma inferiores traseros de los soportes del armazón de tubos.
Enrute las mangueras de suministro de 188 cm (74") y los conectores de manguera dentados (¾") por la sección de fumigación hasta las boquillas del fumigación 4 y 7 (Figura 132 y Figura 133).
Note: Enrute las mangueras a través de los anillos de goma inferiores traseros de los soportes del armazón de tubos.
Ate las 4 mangueras de las boquillas de fumigación con una brida, como se muestra en la Figura 133.
Alinee el tubo de trasvase de la base de una boquilla de fumigación (Figura 134) con el orificio situado en el lado del conector dentado simple (½").

Cierre la mitad superior de la abrazadera alrededor del conector de manguera dentado y sujete la mitad de la abrazadera y el cuerpo de la boquilla de fumigación (Figura 134) con el tornillo de acero inoxidable (N.º 12 x 1¼"); apriete el tornillo de acero inoxidable a 14–18 N∙m (20–25 pulgadas-libra).
Note: Asegúrese de que el perno de cabeza hexagonal (5/16" x ¾") está asentado en el hueco de la mitad superior de la abrazadera al cerrar la abrazadera.
Monte las boquillas de fumigación de la sección de fumigación exterior como se indica a continuación:
En las posiciones de las boquillas 1 y 4, monte la boquilla de fumigación en el soporte de boquilla (Figura 135, A) con la contratuerca con arandela prensada (5/16") que retiró en el paso 2 de Retirada de las boquillas de fumigación de las secciones de fumigación exteriores.
En las posiciones de las boquillas 2 y 3, monte la boquilla de fumigación en el soporte de boquilla (Figura 135, A y B) con la contratuerca con arandela prensada (5/16") que retiró en el paso 2 de Retirada de las boquillas de fumigación de las secciones de fumigación exteriores.

Apriete la contratuerca con arandela prensada a 1978–2542 N∙cm (175–225 pulgadas-libra).
Repita los pasos 1 a 4 con las demás boquillas de fumigación de la sección de fumigación.
Repita los pasos 1 a 5 con la sección de fumigación exterior del otro lado de la máquina.
Monte el acoplamiento de 90° de la válvula de cierre del kit opcional de lanza de mano o el kit de carrete de manguera eléctrico en la brida de la válvula de boquilla 10 con la abrazadera de brida y la junta, y apriete la abrazadera a mano (Figura 137).

Alinee el extremo del tubo del sensor de presión (plástico) del indicador de presión del salpicadero con el anillo de bloqueo del acoplamiento del tubo en el acoplamiento de 90° de la válvula de cierre de la lanza de mano o el Kit de carrete de manguera eléctrico (Figura 138).

Inserte el tubo del sensor en el anillo de bloqueo hasta que el tubo esté correctamente asentado (Figura 138).
Enrute los tubos de las boquillas de espuma de las secciones de fumigación izquierda y derecha hacia dentro y a través de la abrazadera en R situada cerca del punto de giro de sección de fumigación exterior (Figura 140).


Enrute los tubos hacia adelante por el lado izquierdo del depósito de fumigación (Figura 140).
Sujete los tubos de las boquillas derecha e izquierda del marcador de espuma a las mangueras de fumigación con 4 bridas, como se muestra en la Figura 140.
Sujete los tubos de las boquillas izquierda y derecha del marcador de espuma a los tubos de agitación con 2 bridas, como se muestra en la Figura 140.
Enrute los tubos de espuma del brazo derecho como se muestra en la Figura 141.


Introduzca el tubo transparente en el acoplamiento de aire de la chapa lateral del compresor (Figura 141 y Figura 142).

Introduzca el tubo azul en el acoplamiento de líquido de la chapa lateral del compresor (Figura 141 y Figura 142).
Enrute los tubos de espuma del brazo izquierdo como se muestra en la Figura 141.
Introduzca el tubo transparente en el acoplamiento de aire de la chapa lateral del compresor (Figura 141 y Figura 142).
Introduzca el tubo azul en el acoplamiento de líquido de la chapa lateral del compresor (Figura 141 y Figura 142).
Conecte usando la brida que preparó en el paso 9 de Preparación de los conjuntos de tubos nuevos para las boquillas del marcador de espuma, alineando el tubo azul del sección de fumigación derecha con el acoplamiento de compresión del circuito de agua de la sección de fumigación derecha (Figura 143).

Ensamble la tuerca de compresión del tubo en el acoplamiento y apriete la tuerca a mano (Figura 143).
Alinee el tubo transparente de la sección de fumigación derecha con el acoplamiento de compresión del circuito de aire de la sección de fumigación derecha (Figura 143).
Ensamble la tuerca de compresión del tubo en el acoplamiento y apriete la tuerca a mano (Figura 143).
Conecte el tubo no marcado (sin brida) alineando el tubo azul de la sección de fumigación izquierda en el acoplamiento de compresión del circuito de agua de la sección izquierda (Figura 144).

Ensamble la tuerca de compresión del tubo en el acoplamiento y apriete la tuerca a mano (Figura 144).
Alinee el tubo transparente de la sección de fumigación izquierda con el acoplamiento de compresión del circuito de aire de la sección de fumigación izquierda (Figura 144).
Ensamble la tuerca de compresión del tubo en el acoplamiento y apriete la tuerca a mano (Figura 144).
Sujete los tubos del marcador de espuma a las mangueras de las boquillas de fumigación con 2 bridas (Figura 140).
Conecte el conector hembra de 3 vías del arnés de cables del brazo sónico al conector de 3 pines del cable para el sensor ultrasónico derecho (Figura 145, A).

Conecte el conector hembra de 3 vías del arnés de cables del brazo sónico del conector de 3 pines del cable para el sensor ultrasónico izquierdo (Figura 145, B).
Piezas necesarias en este paso:
| Conjunto de extensión de la cubierta (12 boquillas – Toro 120-0621) | 1 |
| Remache ciego (Pieza Toro N.º 114439) | 22 |
| Soporte (cubierta de la sección central – Pieza Toro N.º 131-3703-03) | 4 |
| Tuerca rápida (Pieza Toro N.º 94-2413) | 4 |
| Pernos con arandela prensada (⅜" x 1¼" – Pieza Toro N.º 110-5050) | 16 |
| Contratuercas con arandela prensada (⅜" – Pieza Toro N.º 104-8301) | 16 |
| Pletina de sujeción (Pieza Toro N.º 120–0629) | 2 |
| Pernos con arandela prensada (5/16" x 1¼" – Pieza Toro N.º 323-36) | 4 |
Usando un taladro con una broca de 5 mm (3/16"), perfore los orificios de los 11 remaches ciegos (Figura 146) que sujetan la pletina de refuerzo (una sola fila de remaches) y la cubierta de goma al extremo de la cubierta de sección de 11 boquillas de la sección de fumigación central que retiró en el paso 2 de Retirada de la cubierta de la sección central (11 boquillas) del kit opcional de brazo cubierto.


Retire la pletina de refuerzo, las 11 arandelas (3/16"), y la cubierta de goma de la cubierta de brazo de 11 boquillas (Figura 146).
Note: Guarde la pletina de refuerzo, las arandelas y la cubierta de goma para su instalación en los pasos 5 y 6.
Alinee los orificios de la pletina de refuerzo (dos filas) de la extensión de la cubierta con los orificios del extremo de la cubierta de brazo de 11 boquillas (Figura 147).

Sujete la extensión de la cubierta a la cubierta de sección de 11 boquillas (Figura 148) con 11 remaches ciegos (Pieza Toro N.º 114439).

Alinee los orificios de la cubierta de goma y la pletina de refuerzo (una fila) que retiró en el paso 2 con los orificios del extremo de la extensión de la cubierta (Figura 149).

Sujete la pletina de refuerzo y la cubierta de goma a la extensión de la cubierta con los 11 remaches ciegos (Pieza Toro N.º 114439) y las 11 arandelas (3/16") que retiró en el paso 5.
Note: Las arandelas (3/16") deben colocarse por dentro de la extensión de la cubierta.
Instale las cuatro tuercas rápidas (Pieza Toro N.º 94-2413) en los 2 soportes de la cubierta de la sección central (Pieza Toro N.º 131–3703–03), tal y como se muestra en (Figura 150).

En la extensión de la sección de fumigación central, localice los dos pares de orificios de la cara vertical del tramo de celosía que tienen un espaciado entre orificios de 25 mm (1") (Figura 151).


Alinee los orificios de un soporte de sujeción (Pieza Toro N.º 131-3703-03) con los orificios de la extensión de la sección de fumigación central que identificó en el paso 2, con la pestaña ancha del soporte a la izquierda; consulte Figura 151.
Monte el soporte en el tramo de celosía (Figura 151) con 4 pernos con arandela prensada (⅜" x 1¼" – Pieza Toro N.º 110-5050) y 4 contratuercas con arandela prensada (⅜" – Pieza Toro N.º 104-8301).
Repita los pasos 2 a 4 en los otros 2 pares de orificios de la extensión de la sección de fumigación central, con el otro soporte, los pernos con arandela prensada y las contratuercas con arandela prensada.
Apriete los pernos y las tuercas a 37–45 N∙m (27–33 pies-libra).
Alinee los orificios de la cubierta de la sección central con los orificios del soporte de la cubierta de la sección central (Figura 152).

Alinee los orificios de 2 de las pletinas de sujeción que retiró en el paso 1 de Retirada de la cubierta de la sección central (11 boquillas) del kit opcional de brazo cubierto con los orificios de la cubierta y 2 de los soportes (Figura 152).
Sujete las pletinas de sujeción y la cubierta a los soportes con los 4 pernos con arandela prensada (5/16" x 1¼") que retiró en el paso 1 de Retirada de la cubierta de la sección central (11 boquillas) del kit opcional de brazo cubierto.
Alinee los orificios de las 2 pletinas de sujeción (Pieza Toro N.º 120-0629) con los 4 orificios restantes de la cubierta y los 4 orificios restantes de los soportes de sujeción (Figura 152).
Monte las pletinas de sujeción y la cubierta a los soportes (Figura 152) con los 4 pernos con arandela prensada (5/16 x 1¼" – Pieza Toro N.º 323-36).
Apriete los pernos a 1978–2542 N·cm (175–225 pulgadas-libra).
Piezas necesarias en este paso:
| Placa del receptor de navegación | 1 |
| Soporte del receptor | 1 |
| Perno (⅜" x 3¼") | 1 |
| Arandela de freno (⅜") | 1 |
| Arandela (⅜" x 13/16") | 1 |
| Espaciador (⅜" x 1") | 1 |
| Contratuerca con arandela prensada (⅜") | 1 |
| Perno con arandela prensada (5/16" x ¾") | 1 |
| Contratuerca con arandela prensada (5/16") | 1 |
| Perno con arandela prensada (⅜" x 1½") | 2 |
| Espaciador (⅜" x 7/16") | 2 |
| Receptor de navegación – Kit de sistema de fumigación de precisión GeoLink (Modelo 41633 o Modelo 41634) | 1 |
| Soporte de la antena del módem | 1 |
| Perno de cabeza hexagonal (5 mm x 16 mm) | 3 |
| Arandela (5 mm) | 3 |
Alinee los orificios de la placa del receptor de navegación, del espaciador (⅜" x 1") y del soporte del receptor (Figura 153).

Monte la placa del receptor y el espaciador en el soporte con un perno (⅜" x 3¼"), una arandela de freno (⅜"), una arandela (⅜" x 13/16") y una contratuerca con arandela prensada (⅜"), como se muestra en la Figura 153.
Monte el perno con arandela prensada (5/16" x ¾") y la tuerca con arandela prensada (5/16") en el orificio más pequeño del soporte del receptor y la ranura de la placa del receptor (Figura 153).
Apriete los pernos y las tuercas hasta que pueda girar la placa del receptor con una ligera resistencia.
Monte el soporte del receptor y el espaciador (⅜" x 7/16") en la barra antivuelco con el perno con arandela prensada (⅜" x 1½"), como se muestra en la Figura 154.

Apriete los pernos hasta que pueda girar la placa del receptor con una ligera resistencia.
Nivele la placa del receptor lateralmente (izquierda/derecha) (Figura 155).

Apriete el perno con arandela prensada (5/16" x ¾") y la tuerca con arandela prensada (5/16") a 1978–2542 N∙cm (175–225 pulgadas-libra).
Nivel la placa del receptor en sentido adelante/atrás (Figura 155).
Apriete el perno (⅜" x 3¼") y la contratuerca con arandela prensada (⅜") a 37–45 N∙m (27–33 pies-libra).
Alinee las 3 pestañas roscadas de la base del receptor de navegación con los 3 orificios de la placa del receptor (Figura 156).

Alinee el orificio y la ranura del soporte de la antena del módem con los orificios de la placa del receptor (Figura 156).
Monte el receptor de navegación y el soporte de la antena en la placa (Figura 156) con los 3 pernos de cabeza hexagonal (5 mm x 16 mm) y las 3 arandelas (5 mm).
Apriete los 3 pernos a 576–712 N∙cm (51–63 pulgadas-libra).
Piezas necesarias en este paso:
| Antena del módem – Kit de sistema de fumigación de precisión GeoLink (Modelo 41633 o Modelo 41634) | 1 |
Limpie cualquier grasa de la superficie del soporte de la antena del módem.
Retire el papel protector del adhesivo de doble cara de la parte inferior de la antena del módem (Figura 157).

Fije la antena del módem a la parte superior del soporte de la antena del módem, como se muestra en la Figura 157.
Sujete el soporte de la antena con 3 bridas, como se muestra en la Figura 158.

Sujete el arnés de cables de la antena del módem al soporte, como se muestra en la Figura 158.
Enrute el arnés de la antena del módem hacia la derecha por la barra antivuelco (Figura 159).


Enrute el arnés hacia abajo y hacia adelante, como se muestra en la Figura 159.
Se sujetará el arnés de la antena del módem a la barra antivuelco en Enrutado del arnés de datos de navegación y eléctrico al lado derecho de la máquina.
Piezas necesarias en este paso:
| Arnés de datos de navegación y eléctrico – Kit de sistema de fumigación de precisión GeoLink (Modelos 41633 y 41634) | 1 |

Sitúe la rama de 302 cm (119") del arnés de datos de navegación y eléctrico junto al tubo derecho del ROPS con el conector hembra de 12 vías (gris) y el conector hembra de 12 vías (negro) hacia arriba hasta el receptor de navegación (Figura 161).

Alinee las 2 pestañas de la cara larga del conector hembra de 12 vías del arnés de datos marcado con las 2 muescas del lado horizontal inferior del conector de 12 pines izquierdo (gris) del receptor de navegación (Figura 162).
Important: Tenga cuidado al conectar el arnés de cables al receptor de navegación; las pestañas-guía de los conectores del arnés deben estar orientadas correctamente para encajar en las ranuras de los conectores macho del receptor de navegación.

Enchufe el conector del arnés de datos en el conector izquierdo (gris) de 12 pines del receptor de navegación hasta que los cierres del conector se enganchen firmemente (Figura 162).
Alinee las 2 pestañas del lado corto del conector hembra de 12 vías – arnés de datos marcado con las 2 muescas del lado izquierdo vertical del conector de 12 pines derecho (negro) del receptor de navegación (Figura 162).
Important: Tenga cuidado al conectar el arnés de cables al receptor de navegación; las pestañas-guía de los conectores del arnés deben estar orientadas correctamente para encajar en las ranuras de los conectores macho del receptor de navegación.
Enchufe el conector del arnés de datos en el conector derecho (negro) de 12 pines del receptor de navegación hasta que los cierres del conector se enganchen firmemente (Figura 162).
Enrute el arnés de datos de navegación y eléctrico por el tubo derecho de la barra antivuelco y el arnés de la antena del módem hasta el travesaño del soporte del asiento (Figura 163).

Sujete los arneses a la barra antivuelco con 5 bridas, como se muestra en la Figura 163.
Note: Asegúrese de que hay holgura en el arnés entre los conectores hembra de 12 vías y la brida.
Enrute la rama de 227 cm (89½") del arnés de datos de navegación y eléctrico por la parte inferior de la consola de control de la máquina (Figura 164).

Enrute la rama de 258 cm (101½") del arnés de datos de navegación y eléctrico por el tubo de sujeción del amortiguador y hacia la batería (Figura 164).
Piezas necesarias en este paso:
| Consola de control – Kit de sistema de fumigación de precisión GeoLink (Modelo 41633 o Modelo 41634) | 1 |
| Cintas adhesivas | 2 |
| Separador roscado | 1 |
| Visera del monitor | 1 |
Limpie la superficie superior de la pantalla de fumigación X25 con alcohol y un trapo limpio.
Retire el papel protector de las 2 cintas adhesivas.
Alinee las cintas adhesivas con la parte superior del monitor de fumigación, como se muestra en la Figura 166.

Fije las cintas adhesivas a la parte superior del monitor con una presión firme.
En la parte trasera de la consola de control, con los 2 conectores (26 pines) hacia abajo, retire la contratuerca superior (5 mm) del espárrago del soporte de bola (Figura 167, A).

Aplique una capa de fijador de roscas (capilar – resistencia media-alta) a las roscas de la porción de la tuerca del separador roscado (Figura 168).

Enrosque el separador en el espárrago del soporte de bola (Figura 167, B) y apriete el separador a 250 N∙cm (22 pulgadas-libra).
Aplique una capa de fijador de roscas (capilar – resistencia media-alta) a las roscas de la porción del espárrago del separador roscado (Figura 168).
Retire el papel protector de las 2 cintas adhesivas que aplicó en Aplicación de las cintas adhesivas al monitor de fumigación.
Alinee el orificio de la visera del monitor con la porción del espárrago del separador roscado (Figura 167, B).
Monte la visera en el monitor (Figura 167, C) con la contratuerca de 5 mm que retiró en el paso 1.
Note: Presione sobre las zonas de la visera donde están colocadas las cintas adhesivas.
Apriete la tuerca a 250 N∙cm (22 pulgadas-libra).
Piezas necesarias en este paso:
| Soporte del monitor | 1 |
| Perno con arandela prensada (6 mm x 12 mm) | 3 |
| Abrazadera (5/16") | 2 |
| Perno con arandela prensada (5/16" x ¾") | 4 |
| Contratuerca con arandela prensada (5/16") | 8 |
| Soporte de bola – Kit de sistema de fumigación de precisión GeoLink (Modelo 41633 o Modelo 41634) | 1 |
| Brazo del monitor – Kit de sistema de fumigación de precisión GeoLink (Modelo 41633 o Modelo 41634) | 1 |
Alinee el soporte del monitor con la máquina como se muestra en la Figura 170.

Monte el soporte del monitor en el alojamiento de la válvula de dirección (Figura 171) con los 3 pernos con arandela prensada (6 mm x 12 mm).

Monte la placa del soporte del monitor en el tubo del chasis de la máquina (Figura 172) con las 2 abrazaderas y las 4 tuercas con arandela prensada (5/16").

Apriete los 3 pernos con arandela prensada (6 mm x 12 mm) de la válvula de dirección a 972–1198 N∙cm (86–106 pulgadas-libra); apriete las contratuercas con arandela prensada del tubo a 1978–2542 N∙cm (175–225 pulgadas-libra).
Alinee la cinta del volante con la cinta del alojamiento de la válvula de dirección (Figura 173).

Monte el volante sobre el eje de la válvula de dirección (Figura 173) con la arandela (⅝") y la tuerca (⅝") que retiró en el paso 3 de Retirada del volante.
Apriete la tuerca a 206–254 N∙m (152–188 pies-libra).
Instale el embellecedor que retiró en el paso 2 de Retirada del volante en el volante (Figura 210).
Monte el soporte de bola en el soporte del monitor (Figura 174) con los 4 pernos con arandela prensada (5/16" x ¾") y 4 contratuercas con arandela prensada (5/16").

Apriete los pernos y las tuercas a 1978–2542 N∙cm (175–225 pulgadas-libra).
Conecte la bola del monitor y el soporte de bola de la máquina al brazo del monitor (Figura 175).

Ajuste el monitor de manera que quede visible desde la posición del operador de la máquina, y apriete el pomo del brazo del monitor a mano (Figura 175).
Enrute la rama de 227 cm (89½") del arnés de datos de navegación y eléctrico (la rama que tiene el conector hembra de 26 vías) hacia arriba por el tubo de sujeción de la consola de control (Figura 176).

Alinee el conector hembra de 26 vías del arnés de datos con el conector de 26 pines de la consola de control e introduzca el conector macho en el conector hembra hasta que el cierre del conector se enganche firmemente (Figura 177).

Retire la resistencia de terminación del conector hembra de 6 vías marcado CAN 2 TERMINATOR del cable de datos, como se muestra en la Figura 178.
Note: Ya no necesitará la resistencia de terminación.

Piezas necesarias en este paso:
| Arnés de datos del módem – 300 cm (118") – Kit de sistema de fumigación de precisión GeoLink (Modelo 41633 o Modelo 41634) | 1 |
Alinee el arnés de datos del módem con el conector RS-232 marcado hacia la consola de control (Figura 179).

En la parte delantera de la pantalla de fumigación, retire el tapón del puerto RJ45 (Figura 180).

Enchufe el conector RJ45 del cable de datos del módem marcado X-CONSOLE en el puerto RJ45 de la pantalla de fumigación (Figura 180).
Monte la tuerca estanca sobre el puerto RJ45 de la pantalla de fumigación, y apriete la tuerca estanca (Figura 180).
Monte la tuerca de compresión sobre la tuerca estanca, y apriete la tuerca de compresión (Figura 180).
Enrute el arnés de datos del módem junto al arnés de datos de la consola de control (Figura 181).

Enrute el arnés de datos del módem por debajo del tubo de sujeción del amortiguador de la máquina
Enrute el arnés de datos del módem por detrás de los relés y hacia abajo (Figura 182).

Alinee el conector de 4 pines marcado del arnés de datos del módem cerca de los 4 conectores del arnés de la antena del módem, como se muestra en la Figura 183.

En el tubo superior derecho del bastidor, sujete el arnés de datos de navegación y eléctrico, y la rama CAN 2 ASC 10 BUS del arnés de cables al arnés del kit de fumigación con 2 bridas (Figura 184).

Enrolle y ate con 2 bridas el arnés de la antena del módem y el mazo del arnés de fumigación del kit (Figura 184).
Sujete el arnés de datos del módem y el arnés de datos de navegación y eléctrico al tubo del monitor con una brida (Figura 185).

Sujete el arnés de datos del módem al arnés de datos de navegación y eléctrico con una brida, como se muestra en la Figura 185.
Piezas necesarias en este paso:
| Arnés de alimentación del módem – Kit de sistema de fumigación de precisión GeoLink (Modelo 41633 o Modelo 41634) | 1 |
Alinee el arnés de alimentación del módem con la máquina, como se muestra en la Figura 186.

Enrute los terminales de anillo del arnés de alimentación del módem marcados y hacia la batería (Figura 187).

Enrute el conector de 4 pines marcado y el conector hembra de 18 vías marcado del arnés de alimentación del módem por debajo del bloque de fusibles de la máquina.
En la parte delantera de la máquina, enrute el conector de 4 pines marcado y el conector hembra de 18 vías marcado del arnés de alimentación del módem hasta la máquina, como se muestra en la Figura 188.

Enchufe el terminal del arnés de alimentación del módem marcado en el conector hembra de alimentación de accesorios del bloque de fusibles (Figura 188).
Note: Si el bloque de fusibles de la máquina no dispone de un circuito de alimentación de accesorios, instale un bloque de fusibles adicional; consulte a su distribuidor autorizado Toro.
Cerca del bloque de fusibles, recoja el arnés de alimentación del módem en el conector de 9 pines marcado , y sujete el arnés con 2 bridas, como se muestra en la Figura 189.

Enrolle el arnés de alimentación del módem en el cable negativo de la batería, y ate el mazo al cable de la batería con una brida, como se muestra en la Figura 189.
Introduzca el fusible (10 A) en el zócalo del bloque de fusibles (Figura 190) del circuito de alimentación de accesorios que utilizó en el paso 5.

Piezas necesarias en este paso:
| Módem CL-55 – Kit de sistema de fumigación de precisión GeoLink (Modelo 41633 o Modelo 416344) | 1 |
| Soporte del módem – Kit de sistema de fumigación de precisión GeoLink (Modelo 41633 o Modelo 41634) | 1 |
| Tornillo mecánico ranurado (10-24 x 1½") – Kit de sistema de fumigación de precisión GeoLink (Modelo 41633 o Modelo 41634) | 2 |
| Espaciador – Kit de sistema de fumigación de precisión GeoLink (Modelo 41633 o Modelo 41634) | 2 |
| Contratuerca (10-24) – Kit de sistema de fumigación de precisión GeoLink (Modelo 41633 o Modelo 41634) | 2 |
| Tornillo (¼" x ¾") – Kit de sistema de fumigación de precisión GeoLink (Modelo 41633 o Modelo 41634) | 1 |
| Contratuerca con arandela prensada (¼") – Kit de sistema de fumigación de precisión GeoLink (Modelo 41633 o Modelo 41634) | 1 |
Enchufe el conector coaxial del arnés de la antena del módem marcado en el puerto coaxial del módem CL-55 marcado WIFI/BT, y apriete el conector coaxial (Figura 191).

Enchufe el conector rápido coaxial azul del arnés de la antena del módem marcado en el conector del módem CL-55 marcado hasta que los conectores se enganchen firmemente (Figura 191).
Enchufe el conector rápido coaxial violeta del arnés de la antena del módem marcado en el conector del módem CL-55 marcado hasta que los conectores se enganchen firmemente (Figura 191).
Enchufe el conector rápido coaxial rojo del arnés de la antena del módem marcado en el conector del módem CL-55 marcado hasta que los conectores se enganchen firmemente (Figura 191).
Enchufe el conector de 4 pines del arnés de datos del módem marcado en el conector hembra de 4 vías (sin marcar) del módem CL-55, y apriete la tuerca moleteada del conector de 4 pines (Figura 192).

Enchufe el conector hembra de 18 vías del arnés de alimentación del módem marcado en el conector de 18 pines del módem CL-55 (Figura 192).
Retire la grapa que sujeta el arnés de cables de la máquina al soporte de la varilla de sujeción (Figura 193).

Retire el tornillo (¼" x ¾") y la tuerca con arandela prensada (¼") de la pestaña del bastidor de la máquina, como se muestra en la Figura 194.
Note: Guarde el tornillo y la contratuerca para instalar el soporte del módem.

Retire la grapa que sujeta el arnés de cables de la pestaña del bastidor de la máquina (Figura 194).
Monte el soporte del módem en el módem CL-55 con 2 tornillos mecánicos ranurados (N.º 10-24 x 1½), 2 espaciadores (¼" x ¾") y 2 contratuercas (N.º 10-24), como se muestra en la Figura 195.

Alinee el soporte del módem debajo del soporte de la varilla de sujeción y detrás de la pestaña del bastidor de la máquina, como se muestra en la Figura 196.

Introduzca la grapa inferior del arnés de cables en el orificio del soporte del módem, como se muestra en la Figura 196.
Introduzca la grapa superior del arnés de cables en los orificios del soporte del módem y del soporte de la varilla (Figura 197).

En el lado interior de la consola de control de la máquina, retire la resistencia de terminación pasiva del conector de 3 pines sin marcar del arnés de cables de la máquina (Figura 198).
Note: Guarde la resistencia de terminación pasiva para su instalación en Conexión del arnés de la antena al módem.


Piezas necesarias en este paso:
| Arnés del Bus ISO-CAN – 302 cm (119") – Kit de sistema de fumigación de precisión GeoLink (Modelo 41633 o Modelo 41634) | 1 |
En la parte delantera de la consola de control de la máquina, enrute el conector marcado del arnés del Bus ISO-CAN al interior de la parte inferior de la consola (Figura 199).

Retire el tapón del conector hembra de 4 vías marcado del arnés de datos de navegación y eléctrico (Figura 200).

Enchufe el conector de 4 pines marcado del arnés del Bus ISO-CAN en el conector hembra de 4 vías marcado del arnés de datos de navegación y eléctrico (Figura 201).

Enrute los conectores marcados y del arnés del Bus ISO-CAN hacia el bloque de fusibles (Figura 202).


En el bloque de fusibles, retire el tapón del conector hembra de 3 vías marcado del arnés de cables de la máquina (Figura 203).

Enchufe el conector de 3 pines marcado del arnés del Bus ISO-CAN en el conector hembra de 3 vías marcado del arnés de cables de la máquina (Figura 203).
Important: No conecte los conectores del arnés marcados y del arnés de fumigación del kit.
Enrolle el arnés del Bus ISO-CAN y átelo al arnés de datos de navegación y eléctrico con una brida (Figura 204).

Sujete el arnés del Bus ISO-CAN y el arnés de datos de navegación y eléctrico al tubo derecho del bastidor con una brida, como se muestra en la Figura 204.
Complete los procedimiento de configuración desde el 38 – Instalación del arnés adaptador y la resistencia de terminación hasta el 56 – Realización de una calibración del caudalímetro en el Impreso N.º 3438-188.
Piezas necesarias en este paso:
| Arnés adaptador – 13 cm (5") – Kit de sistema de fumigación de precisión GeoLink (Modelo 41633 o Modelo 41634) | 1 |
En el receptor de satélite, retire la terminación del Bus ISO del conector hembra de 6 vías del arnés GeoLink (Figura 205).
Note: Ya no necesitará la terminación del Bus ISO.

Enchufe el conector de 6 pines del arnés adaptador – 13 cm (5") – en el conector hembra de 6 vías del arnés GeoLink (Figura 205).
Enchufe la resistencia que retiró en Instalación del arnés del Bus ISO-CAN el conector hembra de 3 vías del arnés adaptador (Figura 206).

Sujete el arnés adaptador al arnés GeoLink con una brida.
Desconecte el conector hembra de 2 vías del arnés de cables de la máquina marcado del conector de 2 pines del embrague de la bomba (Figura 207).

Conecte el conector de 2 pines de la rama del arnés de fumigación del kit – 84 cm (33") – al conector hembra de 2 vías del arnés de cables de la máquina marcado (Figura 208).

Conecte el conector hembra de 2 vías del arnés de fumigación del kit al conector de 2 pines del embrague de la bomba (Figura 208).
Enrute la rama de 84 cm (33") del arnés de cables contra el motor y la bomba de fumigación de manera que el arnés no toque la correa del alternador (Figura 209).

Piezas necesarias en este paso:
| Soporte de la batería | 1 |
| Tope | 1 |
| Contratuerca con arandela prensada (¼") | 2 |
| Pletina de sujeción | 1 |
| Perno (5/16" x 1¾") | 1 |
| Arandela (5/16") | 1 |
| Batería (540 A) | 1 |
| Pletina de sujeción de la batería | 1 |
| Contratuerca con arandela prensada (5/16") | 1 |
| Soporte del alternador | 1 |
| Polea de transmisión 279 mm (11") | 1 |
| Perno (¼" x 2¼") | 4 |
| Alternador (60 A) | 1 |
| Perno con arandela prensada (8 mm x 25 mm) | 1 |
| Perno con arandela prensada (⅜" x 1½") | 1 |
| Correa en V | 1 |
Retire las 2 contratuercas con arandela prensada y la varilla de sujeción de los 2 pernos en J que sujetan la batería al soporte de la batería (Figura 210).

Retire los 2 pernos en J y la bandeja de la batería del soporte de la batería (Figura 211).
Note: Guarde la bandeja de la batería; ya no necesitará los pernos en J y la bandeja de la batería.

Retire la batería de la máquina (Figura 210).
Note: Ya no necesitará las tuercas con arandela prensada, la varilla de sujeción y la batería (300 A).
Retire los 3 pernos (10"-24 x ¾") y las 3 tuercas (10-24) que sujetan los bloques de fusibles al soporte de la batería (Figura 212).
Note: Guarde los pernos y las tuercas para su instalación en Instalación del soporte de la batería y la batería (540 A).

Retire los 2 pernos con arandela prensada (⅜" x ¾") que sujetan el soporte de la batería al tubo de sujeción del amortiguador de la máquina (Figura 212).
Note: Guarde el perno con arandela prensada (⅜" x ¾") para su instalación en Instalación del soporte de la batería y la batería (540 A).
Retire los 2 pernos (10"-24 x ¾"), las 2 contratuercas (10-24) y el clip de soporte del cable que sujetan el bloque de terminales de tierra y el alambre al soporte de la batería (Figura 213).
Note: Guarde los pernos y las contratuercas.

Retire el soporte de la batería de la máquina (Figura 214).
Note: Ya no necesitará el soporte de la batería.

Alinee el nuevo soporte de la batería con el tubo del sujeción del amortiguador y los bloques de fusibles (Figura 217).

Monte el soporte de la batería en el tubo del sujeción del amortiguador (Figura 218) con los 2 pernos con arandela prensada (⅜" x ¾") que guardó en el paso 5 de Retirada de la batería (300 A) y el soporte de la batería.

Apriete los pernos con arandela prensada a 37–45 N∙m (27–33 pies-libra).
Sujete el bloque de terminales de tierra al soporte de la batería con los 2 pernos (10"-24 x ¾"), 2 contratuercas (10-24) que retiró en el paso 6 de Retirada de la batería (300 A) y el soporte de la batería, y conecte el clip de soporte del cable al borde del soporte (Figura 219).

Sujete los bloques de fusibles al soporte de la batería (Figura 218) con los 3 pernos (10"-24 x ¾") y las 3 tuercas (10-24) que retiró en el paso 4 de Retirada de la batería (300 A) y el soporte de la batería.

Monte la batería (540 A) en el soporte de la batería, como se muestra en la Figura 221.

Pase la correa de la batería a través de la hebilla y apriete la correa hasta que la batería quede firmemente sujeta.
En el cabezal de la bomba, a la posición de las 11, afloje los 2 pernos como se muestra en la Figura 222 para dejar un espacio de 7 mm–10 mm (¼"–⅜") entre la cabeza de los pernos y la bomba.
Note: No es necesario retirar los pernos de la bomba de fumigación.

Alinee el soporte del alternador entre los pernos que aflojó en el paso 1 y el cabezal de la bomba (Figura 223).

Apriete los pernos a 61–75 N (45–55 pies-libra).
Afloje la tuerca del eje la polea tensora (Figura 224).
Note: Asegúrese de que no hay tensión de la correa.

Gire el perno tensor de la correa para eliminar la tensión de la correa de la bomba de fumigación (Figura 224).
Retire los 4 pernos (¼" x 1") y las 4 arandelas de freno (¼") que sujetan la polea a la bomba de fumigación (Figura 225).
Important: No retire la polea.
Note: Guarde la arandela de freno para su instalación en el paso 5. Ya no necesitará los pernos.

Alinee los orificios de la polea del alternador (kit) con los orificios de la polea de la bomba de fumigación (Figura 226).

Monte la polea del alternador en la polea de la bomba de fumigación y la bomba de fumigación con los 4 pernos (¼" x 2¼") y 4 arandelas de freno (¼").
Apriete los pernos a 1017–1243 N∙m (90–110 pulgadas-libra).
Gire el perno tensor de la correa para aumentar la tensión de la correa hasta que la correa se desvíe 9.5 mm (⅜") al aplicar una fuerza de 4.5 kg (10 libras) en el punto intermedio entre los piñones del motor y la bomba de fumigación.

Apriete la tuerca del eje de la polea tensora a 37–44 N∙m (27–33 pies-libra).
Monte el alternador (60 A) en el saliente roscado del soporte del alternador (Figura 228) con el perno con arandela prensada (⅜" x 1½").

Sujete la pestaña roscada del alternador a la pestaña ranurada del soporte del alternador (Figura 228) con el perno con arandela prensada (8 mm x 25 mm).
Coloque la correa en V sobre la polea motriz (279 mm (11")) y la polea del alternador (Figura 229).

Gire el alternador (Figura 230) hacia arriba para aumentar la tensión de la correa hasta que la correa se desvíe 9.5 mm (⅜") al aplicar una fuerza de 4.5 kg (10 libras) en el punto intermedio entre la polea del alternador y la polea de transmisión (279 mm (11")).

Apriete el perno con arandela prensada (8 mm x 25 mm) a 23–29 N∙m (17–21 pies-libra).
Apriete el perno con arandela prensada (⅜" x 1½") a 37–45 N∙m (27–33 pies-libra).
Piezas necesarias en este paso:
| Cable del alternador (rojo – calibre 6) | 1 |
| Relé | 1 |
| Grapa | 1 |
| Fusible (15 A) | 1 |
| Fusible (50 A) | 1 |
Conecte el conector de 2 vías del extremo del cable rosa de 57 cm (23½") del arnés de fumigación del kit (Figura 231) en el conector de 2 pines del alternador (50 A).

Enrute el cable rosa del sensor lejos de las correas del alternador, y sujete el cable con una brida.
Retire la tuerca del borne (Figura 232) del alternador (50 A).

Conecte el extremo del cable rojo de calibre 6 del alternador con cubierta aislante al borne del alternador (50 A) con la tuerca (Figura 232).
Enrute el otro extremo del cable del alternador hacia los bornes de la batería, lejos de la polea y la correa del alternador.
Apriete la tuerca a 47–57 N∙m (34–42 pies-libra).
Coloque la cubierta aislante sobre el borne del alternador (Figura 232).
Conecte el conector de 5 pines del relé en el conector hembra de 5 vías (Figura 233) del arnés de fumigación del kit marcado ASC 10 ENABLE RELAY.

Alinee el orificio de la pestaña de montaje del relé con el orificio del tubo de sujeción del amortiguador, y sujete el relé al tubo con una grapa (Figura 233).
Prepare un multímetro para realizar una prueba de continuidad.
En el bloque de fusibles 3 de la máquina, introduzca la sonda del multímetro en el contacto 4 (columna de la derecha) del bloque de fusibles 2, como se muestra en la Figura 234.

En el lado delantero de los bloques de fusibles, utilice la otra sonda del multímetro para identificar el conector plano del extremo del cable rojo de calibre 10 que se conecta al contacto 4 del bloque de fusibles 2.

Utilice un trozo de cinta para marcar el conector y el cable que identificó en el paso 3 (Figura 235).
Conecte el conector plano que marcó en el paso 4 al conector hembra del extremo del cable rosa de 51 mm (2") del arnés de fumigación del kit (Figura 236).

Inserte el fusible (15 A) en la ranura 2 del bloque de fusibles 3 hasta que esté correctamente asentado (Figura 237).

Inserte el fusible (50 A) en el bloque de fusibles en línea del arnés de fumigación del kit hasta que el fusible esté correctamente asentado (Figura 238).

Piezas necesarias en este paso:
| Abrazadera de conexión rápida (palanca roja) | 1 |
| Abrazadera de conexión rápida (palanca negra) | 1 |
Retire las tuercas hexagonales y las arandelas de las abrazaderas de desconexión rápida con palancas roja y negra (Figura 239).

Abra la palanca de la abrazadera de desconexión rápida con palanca negra (Figura 240).

Monte la abrazadera de desconexión rápida en el borne negativo de la batería, con el espárrago roscado de la abrazadera orientado hacia el centro de la batería, como se muestra en la Figura 239.
Cierre la palanca de la abrazadera de desconexión rápida (Figura 240).
Note: Si es necesario ajustar la fuerza de apriete de la abrazadera de desconexión rápida, abra la palanca, gire la tuerca moleteada para aumentar o reducir la fuerza de apriete, y cierre la palanca de la abrazadera.
Repita los pasos 2 a 4 con la abrazadera de desconexión rápida con palanca roja en el borne positivo de la batería.
Un enrutado incorrecto de los cables de la batería podría dañar la máquina y los cables, causando chispas. Las chispas podrían hacer explotar los gases de la batería, causando lesiones personales.
Desconecte siempre el cable negativo (negro) de la batería antes de desconectar el cable positivo (rojo).
Conecte siempre el cable positivo (rojo) de la batería antes de conectar el cable negativo (negro).
Los bornes de la batería o una herramienta metálica podrían hacer cortocircuito si entran en contacto con los componentes metálicos, causando chispas. Las chispas podrían hacer explotar los gases de la batería, causando lesiones personales.
Al retirar o colocar la batería, no deje que los bornes toquen ninguna parte metálica de la máquina.
No deje que las herramientas metálicas hagan cortocircuito entre los bornes de la batería y las partes metálicas de la máquina.
Haga un corte en el capuchón aislante del cable positivo de la batería que va al motor de arranque, como se muestra en la Figura 241.

Monte los siguientes cables y terminales en el espárrago roscado del borne positivo de la batería (Figura 242), en el orden siguiente:
Important: Asegúrese de que el terminal del cable positivo que va desde la batería al motor de arranque está situado encima de la pila de terminales del espárrago roscado.
Terminal de anillo – rama de 165 cm (65") del arnés de alimentación del módem (marcado
Terminal del cable de la batería (positivo) – al alternador (50 A)
Terminal de anillo – rama de 258 cm (101½") del arnés de datos de navegación y eléctrico (marcado )
Terminal de anillo – rama de 21.6 cm (8½") del arnés de la máquina (marcado )
Terminal de anillo – rama de 24 cm (9½") del arnés de fumigación del kit (sin marcar)
Terminal del cable de la batería (positivo) – al motor de arranque

Monte la tuerca hexagonal (¼") y la arandela (¼") en el espárrago roscado, y apriete la tuerca a 1017–1234 N∙cm (90–110 pulgadas-libra).
Coloque el capuchón aislante del cable positivo de la batería que va al motor de arranque sobre el espárrago roscado (Figura 242).
Monte los siguientes cables y terminales en el espárrago roscado del borne negativo de la batería (Figura 243), en el orden siguiente:
Important: Asegúrese de que el terminal del cable negativo que va desde la batería a la conexión de masa del motor y el chasis está situado encima de la pila de terminales del espárrago roscado.
Terminal de anillo – rama de 258 cm (101½") del arnés de datos de navegación y eléctrico (no marcado – con aislante negro)
Terminal de anillo – rama de 165 cm (65") del arnés de alimentación del módem (marcado )
Terminal del cable de la batería (negativo) – a la conexión de masa del motor y el chasis

Recoja el exceso de cables del arnés de datos contra el tubo superior derecho del bastidor (Figura 244).

Sujete el arnés de datos al tubo de sujeción del amortiguador con una brida (Figura 244).
Sujete el exceso de cables del arnés de datos al tubo superior derecho del bastidor con una brida (Figura 244).
Compruebe que hay espacio suficiente entre las poleas y las correas y el arnés de datos, el arnés de la batería, el arnés de cables del kit y los cables de la batería.
Sujete el arnés de cables y los cables con bridas, según sea necesario, para mantenerlos alejados de las correas y de las poleas.
Piezas necesarias en este paso:
| Tapón del interruptor | 1 |
Retire los 4 tornillos con arandela prensada (¼" x ½") que sujetan el panel de 3 interruptores a la consola de control (Figura 245).

Apriete las pestañas de bloqueo del interruptor de control de caudal, y saque el interruptor del panel de 3 interruptores (Figura 246).

Desconecte el conector hembra de 8 vías del arnés de cables de la máquina (marcado Rate Switch) del conector de 8 pines del interruptor (Figura 245).
Note: Ya no necesitará el interruptor de caudal que retiró de la máquina.
Enrute la rama del arnés delantero del interruptor de caudal por el hueco del panel de 3 interruptores, y sujete la rama del arnés contra una rama de cables adyacente con una brida.
Monte el panel de 3 interruptores en la consola de control (Figura 246) con los 4 tornillos con arandela prensada (¼" x ½") que retiró en el paso 1.
Alinee el tapón del interruptor con el orificio del panel de 3 interruptores de donde retiró el interruptor de caudal (Figura 245).
Inserte el tapón del interruptor en el panel de 3 interruptores hasta que el tapón encaje firmemente en el panel (Figura 245).
Piezas necesarias en este paso:
| Grapa | 13 |
Alinee los orificios del capó con los orificios del salpicadero y del bastidor de la máquina (Figura 247).

Sujete el capó al salpicadero y al bastidor con 9 grapas (Figura 247).
Conecte los 2 conectores hembra de 2 vías del arnés de cables de la máquina a los conectores de 2 pines de los faros derecho e izquierdo (Figura 248).

Alinee el panel interior del guardabarros con los tubos superior izquierdo e inferior izquierdo del bastidor (Figura 248).

Sujete el panel interior del guardabarros a los tubos del bastidor con las 6 grapas (Figura 249).
Alinee los orificios del guardabarros con los orificios del bastidor de la máquina, como se muestra en la Figura 249.

Monte provisionalmente el guardabarros en el bastidor (Figura 250) con los 3 pernos (5/16" x 1") y 3 arandelas (5/16") que retiró en el paso 2 de Retirada del guardabarros delantero izquierdo.
Sujete el guardabarros al perfil del bastidor con las 2 grapas (Figura 251).

Apriete el perno (5/16" x 1") a 1978–2542 N∙cm (175–225 pulgadas-libra).
Repita los pasos 1 a 6 con el panel interior del guardabarros y el guardabarros del otro lado de la máquina.
Alinee el panel interior del guardabarros con los tubos superior derecho e inferior derecho del bastidor (Figura 252).


Sujete el panel interior del guardabarros a los tubos del bastidor (Figura 252) con las 6 grapas y las 5 arandelas (9/16" x ½").
Alinee el guardabarros delantero derecho con la máquina como se muestra en la Figura 253, y alinee los orificios del guardabarros con los del bastidor.

Sujete el guardabarros delantero derecho a la tuerca rápida del soporte del travesaño (Figura 253) con el tornillo (5/16" x 1") y la arandela (5/16").
Sujete el guardabarros delantero derecho al perfil de montaje de la barra antivuelco con 2 grapas (Figura 254).

Alinee el orificio del guardabarros delantero derecho con el orificio del suelo de la plataforma (Figura 255), y sujete el guardabarros al suelo con un tornillo (5/16" x 1") y una arandela (5/16").

Alinee el orificio de la tapa inferior de la consola con el orificio del tubo de sujeción del amortiguador, y el orificio de la tapa del extremo de la consola con el orificio del tubo transversal (Figura 256).

Sujete las tapas a los tubos (Figura 256) con 2 tornillos (5/16" x 1") y 2 arandelas (5/16").
Alinee el asiento y la chapa del asiento con el chasis de la máquina (Figura 258).

Alinee los orificios de los soportes de giro de la base del asiento con los orificios del soporte del chasis (Figura 259).


Sujete la base del asiento a los soportes del chasis con los 2 pasadores de giro (Figura 259).
Sujete los pasadores de giro a la máquina con las 2 chavetas (Figura 259).
Sujete la varilla de sujeción al soporte del asiento con una arandela y una chaveta (Figura 260).

Enchufe el conector hembra de 2 vías del arnés de cables de la máquina en el conector del interruptor del asiento hasta que los conectores encajen firmemente (Figura 261).

Gire el asiento ligeramente hacia adelante, retire la varilla de sujeción de la muesca de retención, y gire el asiento hacia abajo hasta que se enganche correctamente.
Introduzca la llave en el interruptor de encendido y gírela a la posición de CONECTADO.
La pantalla de presentación aparece en la pantalla del InfoCenter y el testigo se enciende momentáneamente (Figura 262).
Note: No arranque el motor.

En la pantalla de Inicio, pulse el botón central del InfoCenter para acceder a la pantalla de navegación (Figura 263).

Pulse el botón central del InfoCenter para acceder al menú principal (Figura 263).
En la pantalla MAIN MENU, pulse el botón central para desplazarse a la opción SETTING, y pulse el botón derecho para seleccionar esa opción (Figura 264).

En la pantalla SETTING, pulse el botón central para desplazarse a la opción PROTECTED SETTINGS, y pulse el botón derecho para seleccionar esa opción.

Introduzca el código PIN como se indica a continuación:
Pulse el botón central las veces que sea necesario para introducir el número del código PIN que corresponde a la posición de la izquierda (Figura 266).

Pulse el botón derecho para desplazarse al número siguiente del código PIN (Figura 266).
Repita los pasos 1 y 2 para los 3 números restantes del código PIN.
Cuando termine de introducir los números del código PIN, pulse el botón derecho (Figura 266) y luego el botón central para introducir el código PIN (Figura 267).
El testigo se enciende momentáneamente.

Pulse el botón central para desplazarse a la opción GEOLINK, y pulse el botón derecho para seleccionar la opción (Figura 268).

Aparece la pantalla de confirmación de GeoLink en el InfoCenter (Figura 269).

Gire el interruptor de encendido a la posición de DESCONECTADO y luego a la posición de CONECTADO.
La pantalla de presentación de GEOLINK aparece inicialmente cuando se gira la llave de contacto a la posición de CONECTADO.

Gire la llave de contacto a la posición de MARCHA (gasolina) o PRECALENTAMIENTO/MARCHA (diésel).
Compruebe que cada uno de los siguientes componentes indica que recibe potencia:
Gire la llave de contacto a la posición de DESCONECTADO.
Compruebe que los componentes siguientes no reciben corriente:
Consola de control
Receptor de satélite
Controlador automático de secciones
Gire la llave de contacto a la posición de MARCHA (gasolina) o PRECALENTAMIENTO/MARCHA (diésel).
Pulse el icono ACERCA DE (Toro) en la esquina superior izquierda de la consola de control (Figura 275).

Si la versión del software es correcta, el cuadro de diálogo Acerca de muestra la versión del software 4.04 o superior.
Note: Si las versiones de software son diferentes, póngase en contacto con el Centro de asistencia técnica de Toro.
Seleccione las unidades de medida; consulte el Manual del operador o la Guía de software de su sistema GeoLink.
Cree una nueva parcela; consulte el Manual del operador o la Guía de software de su sistema GeoLink.
Cree un nuevo producto y caudal de aplicación; consulte el Manual del operador o la Guía de software de su sistema GeoLink.
Equilibre las válvulas de boquilla mediante los procedimientos siguientes:
Selección de la boquilla de fumigación – Preparación del equilibrado de las válvulas de boquilla; consulte el Manual del operador o la Guía de software de su sistema GeoLink.
Selección de la válvula de boquilla – Asistente de equilibrado de válvulas – Pasos 1 a 3; consulte el Manual del operador o la Guía de software de su sistema GeoLink.
Selección de la válvula de boquilla – Asistente de equilibrado de válvulas – Pasos 4 a 6; consulte el Manual del operador o la Guía de software de su sistema GeoLink.
Pulse el menú Trabajos y pulse el icono CREAR NUEVO TRABAJO (Figura 276).

Utilice el teclado en pantalla para escribir un nombre para el trabajo genérico, y pulse el icono Confirmar (Figura 276).
En el cuadro de diálogo Nuevo trabajo, pulse el icono de la BOQUILLA (Figura 277).

En la lista de selección de boquillas, pulse cualquier icono de boquilla y pulse el icono Confirmar (Figura 277).
En el cuadro de diálogo Nuevo trabajo, pulse el icono Confirmar (Figura 278).

Ponga el freno de estacionamiento.
Añada 200 litros (50 galones US) de agua al depósito de fumigación; consulte el Manual del operador de la máquina.
Arranque el motor y ponga la velocidad del motor en Rápido.
En la consola de control GeoLink, pulse el icono CONTROLADOR DE CAUDAL DE FUMIGACIóN (Figura 279).

En el cuadro de diálogo Controlador del caudal de fumigación, pulse el icono MODO DE CONTROL DE CAUDAL hasta que aparezca el modo manual (Figura 279).
Presione el icono Reducir (-) o Aumentar (+) para ajustar la presión del sistema de fumigación (Figura 279) a 13.75 bar (200 psi).
En la máquina, mueva el interruptor de sección maestro a la posición de ACTIVADO ( ).Figura 280

En la consola de control GeoLink, pulse el icono INTERRUPTOR MAESTRO (Figura 281) a ACTIVADO (verde).

Compruebe que todos los conectores y componentes del fumigador están libres de fugas.
Note: Si encuentra fugas, apague el motor y repare el conector o el componente.
Ponga el freno de estacionamiento y arranque el motor.
Note: Deje que el motor y el sistema hidráulico se calienten durante 10 minutos.
Asegúrese de que el interruptor de sección maestro está en la posición de DESACTIVADO.
Ponga el interruptor de la bomba de fumigación y el interruptor de agitación del depósito en la posición de ACTIVADO.
Ponga los interruptores de las secciones izquierda, central y derecha en la posición de ACTIVADO.
Ponga la velocidad del motor en Rápido.
En la consola de control GeoLink, pulse el icono CONTROLADOR DE CAUDAL DE FUMIGACIóN.
En el cuadro de diálogo Controlador del caudal de fumigación, pulse el icono MODO DE CONTROL DE CAUDAL hasta que aparezca el modo manual (Figura 282).

Presione el icono Reducir (-) o Aumentar (+) para ajustar la presión del sistema de fumigación (Figura 282) a 6.9 bar (100 psi).
En la máquina, ponga el interruptor de agitación del depósito en la posición de DESACTIVADO.
Observe la presión del sistema de fumigación. Si la presión del sistema de fumigación es de 6.9 bar (100 psi), la válvula de agitación está correctamente ajustada.
Si la presión del sistema de fumigación ha cambiado, ajuste la válvula de desvío de agitación; consulte Ajuste de la válvula de desvío de agitación.
Con el interruptor de agitación del depósito en la posición de DESACTIVADO, vaya a la parte trasera de la máquina y localice la válvula de desvío de agitación.

Ajuste la válvula de desvío de agitación (Figura 283) hasta que el indicador indique una presión del sistema de fumigación de 6.89 bar (100 psi).
Ponga el interruptor de agitación del depósito en la posición de ACTIVADO y observe la presión del sistema de fumigación.
Note: Si el indicador de presión del sistema de fumigación indica más de 6.9 bar (100 psi), repita los pasos 1 y 2.
Ponga el interruptor de agitación del depósito en la posición de DESACTIVADO y observe la presión del sistema de fumigación.
Note: Si el indicador de presión del sistema de fumigación indica más de 6.9 bar (100 psi), repita los pasos 1 y 2.
Calibre el caudalímetro; consulte el Manual del operador o la Guía de software de su sistema GeoLink.
Pulse el icono INFORMACIóN GENERAL y luego deslice el dedo sobre el icono PANTALLA COMPLETA en la esquina superior derecha de la ventana de información del sistema (Figura 284).

En la pantalla de información del sistema, utilice la barra de desplazamiento para navegar al icono CL55 (Figura 285).

Pulse el icono CL55 para mostrar información sobre la intensidad de la señal(Figura 285), y compruebe que la intensidad de la señal del módem es de entre -60 dBm y -99 dBm.
Note: Si la señal del módem es de -100 dBm o menos, póngase en contacto con su distribuidor autorizado Toro, con Toro NSN en 1-844-GEOLINK (1-844-436-5465), o con NSNTech@toro.com para obtener asistencia técnica.
Deslice el dedo sobre el icono PANTALLA COMPLETApara minimizar la pantalla de información del sistema.
Realice una calibración de la brújula en la ubicación del distribuidor; consulte Calibración de la brújula en el Manual del operador o la Guía de software de su sistema GeoLink.
Important: Debe borrar la memoria RAM no volátil en la ubicación del cliente.
Póngase en contacto con el Centro de asistencia técnica de Toro para solicitar la contraseña de acceso del nivel de distribuidor.
Gire la llave de contacto a la posición de CONECTADO.
Pulse el icono CONFIGURACIóN de la pantalla principal (Figura 286).

En la pantalla de configuración, pulse el icono USUARIO y el icono NIVEL DE ACCESO (Figura 287).

Pulse el icono CONTRASEñA (Figura 287).
Utilice el teclado en pantalla para introducir la contraseña que recibió en el paso 1, y pulse el icono Confirmar (Figura 288).

Note: La pantalla de nivel de acceso del usuario muestra el icono CONCESIONARIO (Figura 289).

En la pantalla Configuración, pulse el icono SISTEMA, el icono GPS y el icono CONFIGURACIóN AVANZADA (Figura 290).

En la pantalla Configuración avanzada del GPS, pulse el icono REINICIAR NVRAM (Figura 290).
En el cuadro de diálogo Advertencia recepción GPS, pulse el icono Sí (Figura 290).
Note: Se muestra brevemente la advertencia Receptor desconectado (Figura 291).

Espere 2 minutos para que se inicien el receptor de satélite y el módem.
Pulse el icono SALIR DE CONFIGURACIóN

Gire el interruptor de encendido a la posición de DESCONECTADO.
Realice una calibración de la brújula en la ubicación del cliente; consulte Calibración de la brújula en el Manual del operador o la Guía de software de su sistema GeoLink.