| Intervalo de mantenimiento y servicio | Procedimiento de mantenimiento |
|---|---|
| Cada vez que se utilice o diariamente |
|
Esta máquina es un cortacésped con conductor equipado con cuchillas de molinete, diseñado para ser usado por operadores profesionales contratados en aplicaciones comerciales. Está diseñado principalmente para segar césped bien mantenido. El uso de este producto para otros propósitos que los previstos podría ser peligroso para usted y para otras personas.
Lea este manual detenidamente para aprender a utilizar y mantener correctamente su producto, y para evitar lesiones y daños al producto. Usted es responsable de utilizar el producto de forma correcta y segura.
Visite www.Toro.com para obtener más información, incluidos consejos de seguridad, materiales de formación, información sobre accesorios, ayuda para encontrar a un distribuidor o para registrar su producto.
Cuando necesite asistencia técnica, piezas genuinas Toro o información adicional, póngase en contacto con un Distribuidor de Servicio Autorizado o con Asistencia al Cliente Toro, y tenga a mano los números de modelo y serie de su producto. Figura 1 identifica la ubicación de los números de modelo y serie en el bastidor derecho delantero del producto. Escriba los números en el espacio provisto.
Important: Con su dispositivo móvil, puede escanear el código QR de la placa del número de serie (en su caso) para acceder a información sobre la garantía, las piezas, y otra información sobre el producto.

Este manual identifica peligros potenciales y contiene mensajes de seguridad identificados por el símbolo de alerta de seguridad (Figura 2), que señala un peligro que puede causar lesiones graves o la muerte si usted no sigue las precauciones recomendadas.

Este manual utiliza 2 palabras para resaltar información. Importante llama la atención sobre información mecánica especial, y Nota resalta información general que merece una atención especial.
Este producto cumple todas las directivas europeas aplicables. Para obtener más detalles, consulte la Declaración de conformidad (DOC) de cada producto.
El uso o la operación del motor en cualquier terreno forestal, de monte o cubierto de hierba, a menos que el motor esté equipado con parachispas (conforme a la definición de la sección 4442) mantenido en buenas condiciones de funcionamiento, o que el motor haya sido fabricado, equipado y mantenido para la prevención de incendios, constituye una infracción de la legislación de California (California Public Resource Code Section 4442 o 4443).
El Manual del propietario del motor adjunto ofrece información sobre las normas de la U.S. Environmental Protection Agency (EPA) y de la California Emission Control Regulation sobre sistemas de emisiones, mantenimiento y garantía. Puede solicitarse un manual nuevo al fabricante del motor.
CALIFORNIA
Advertencia de la Propuesta 65
Es sabido por el Estado de California que los gases de escape de los motores diesel y algunos de sus componentes causan cáncer, defectos congénitos y otros peligros para la reproducción.
Los bornes, terminales y otros accesorios de la batería contienen plomo y compuestos de plomo, productos químicos reconocidos por el Estado de California como causantes de cáncer y daños reproductivos. Lávese las manos después de manejar el material.
El uso de este producto puede provocar la exposición a sustancias químicas que el Estado de California considera causantes de cáncer, defectos congénitos u otros trastornos del sistema reproductor.
Esta máquina ha sido diseñada con arreglo a lo estipulado en la norma EN ISO 5395 (si usted completa los procedimientos de configuración) y ANSI B71.4-2017.
Este producto es capaz de amputar manos y pies y de lanzar objetos al aire.
Lea y comprenda el contenido de este Manual del operador antes de arrancar el motor.
Dedique toda su atención al manejo de la máquina. No realice ninguna actividad que pudiera distraerle; de lo contrario, pueden producirse lesiones o daños materiales.
No coloque las manos o los pies cerca de los componentes en movimiento de la máquina.
No haga funcionar la máquina si no están colocados y funcionando todos los protectores y dispositivos de seguridad de la máquina.
Mantenga a transeúntes y niños alejados de la zona de trabajo. Nunca permita a los niños utilizar la máquina.
Apague el motor, retire la llave y espere a que se detenga todo movimiento antes de abandonar el puesto del operador. Deje que se enfríe la máquina antes de hacer trabajos de ajuste, mantenimiento, limpieza o almacenamiento.
El uso o mantenimiento incorrecto de esta máquina puede
causar lesiones. Para reducir el peligro de lesiones, cumpla estas
instrucciones de seguridad y preste atención siempre al símbolo
de alerta de seguridad
, que significa: Cuidado, Advertencia
o Peligro – instrucción relativa a la seguridad personal.
El incumplimiento de estas instrucciones puede dar lugar a lesiones
personales e incluso la muerte.
El motor de esta máquina cumple la norma UE Nivel 3b.
![]() |
Las pegatinas de seguridad e instrucciones están a la vista del operador y están ubicadas cerca de cualquier zona de peligro potencial. Sustituya cualquier pegatina que esté dañada o que falte. |





















Note: Los lados derecho e izquierdo de la máquina se determinan desde la posición normal del operador.
Aparque la máquina en una superficie nivelada, baje las unidades de corte, y ponga el freno de estacionamiento.
Apague el motor, retire la llave y espere a que se detengan todas las piezas en movimiento.
Compruebe la presión de aire de los neumáticos antes de usar la máquina; consulte Comprobación de la presión de los neumáticos.
Note: Los neumáticos se sobreinflan para el transporte. Ajuste la presión de aire de los neumáticos antes de utilizar la máquina.
Compruebe el nivel de lubricante del eje trasero; consulte Comprobación del nivel de aceite del eje trasero.
Compruebe el nivel de fluido hidráulico; consulte Comprobación del nivel de fluido hidráulico.
Engrase la máquina; consulte Engrasado de cojinetes y casquillos.
Important: Si la máquina no es engrasada correctamente habrá fallos prematuros de piezas críticas.
Abra el capó y compruebe el nivel de refrigerante; consulte Comprobación del nivel de refrigerante.
Compruebe el nivel de aceite del motor, y cierre y enganche el capó; consulte Comprobación del nivel de aceite del motor.
Note: El motor se suministra con aceite en el cárter; no obstante, compruebe el nivel de aceite antes y después de arrancar el motor por primera vez.
Note:
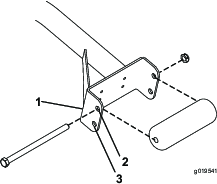
Determine si es necesario ajustar la posición del rodillo. La anchura de la unidad de corte que usted instala determina la posición del rodillo en el soporte del rodillo, como se indica a continuación:
Unidades de corte de 69 cm (27") - orificios de montaje superiores del soporte del rodillo.
Unidades de corte de 81 cm (32") - orificios de montaje inferiores del soporte del rodillo.

Si es necesario, retire el tornillo, la contratuerca y el rodillo.
Alinee el rodillo con los demás orificios del soporte del rodillo.
Fije el rodillo al soporte del rodillo con el tornillo y la contratuerca.
Repita los pasos 2 a 4 en el otro lado de la máquina.
Piezas necesarias en este paso:
| Guía de mangueras delantera (derecha) | 1 |
| Guía de mangueras delantera (izquierda) | 1 |
Retire los motores de molinete de los soportes de transporte.
Retire y deseche los soportes de transporte.
Retire las unidades de corte de sus embalajes.
Móntelas y ajústelas según las instrucciones del Manual del operador de la unidad de corte.
Asegúrese de que el contrapeso (Figura 4) está instalado en el extremo correcto de la unidad de corte, según lo indicado en el Manual del operador de la unidad de corte.

Todas las unidades de corte se suministran con el muelle de compensación del césped montado en el lado derecho de la unidad de corte. Asegúrese de que el muelle de compensación del césped está montado en el mismo extremo de la unidad de corte que el motor de tracción del molinete.
Note: Al instalar o retirar las unidades de corte, asegúrese de que la chaveta está instalada en el orificio de la varilla, junto al soporte de la varilla. Si no, la chaveta debe instalarse en el orificio del extremo de la varilla.
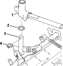
Retire los 2 pernos de cuello cuadrado y las tuercas que sujetan el soporte de la varilla a las pestañas de la unidad de corte (Figura 5).

Retire la tuerca con arandela prensada que fija el perno del tubo del muelle a la pestaña del bastidor de tiro (Figura 5), y retire el conjunto.
Monte el perno del tubo del muelle a la otra pestaña del bastidor de tiro y fíjelo con la tuerca con arandela prensada.
Note: Coloque la cabeza del perno en el exterior de la pestaña, como se muestra en la Figura 6.

Monte el soporte de la varilla en las pestañas de la unidad de corte con los pernos de cuello cuadrado y las tuercas (Figura 6). En la unidad de corte, monte la guía de mangueras de la izquierda en la parte delantera de las pestañas de la unidad de corte al instalar el soporte de la varilla (Figura 9).
En cada unidad de corte, sujete el caballete al soporte de la cadena con el pasador de seguridad (Figura 7).

En la Unidad de corte 4 (delantera izquierda) y la Unidad de corte de 5 (delantera derecha), utilice las tuercas de montaje del soporte de la varilla para instalar las guías de mangueras a la parte delantera de las pestañas de las unidades de corte. Las guías de mangueras deben estar inclinadas hacia la unidad de corte central (Figura 8, Figura 9 y Figura 10).



Deslice una unidad de corte debajo del brazo de elevación (Figura 15).

Introduzca el eje del bastidor de tiro en la horquilla de pivote del brazo de elevación.
Sujete el eje del bastidor de tiro a la horquilla de pivote con el pasador de seguridad.
Repita los pasos 1 y 3 en las demás posiciones de las unidades de corte delanteras.
Deslice una unidad de corte debajo del brazo de elevación (Figura 16).

Introduzca el eje del brazo de elevación en el brazo de elevación y fíjelo con el pasador de seguridad.
Repita el paso 2 con la otra unidad de corte trasera.
Retire el pasador de seguridad y la arandela que fijan el eje de pivote del brazo de elevación al brazo de elevación, y retire el eje de pivote del brazo de elevación (Figura 17).

Introduzca la horquilla del brazo de elevación en el eje del bastidor de tiro (Figura 18).

Deslice una unidad de corte debajo del brazo de elevación (Figura 19).

Introduzca el eje del brazo de elevación en el brazo de elevación y fíjelo con el pasador de seguridad.
Repita los pasos 1 a 4 con la otra unidad de corte trasera.
Sujete la cadena del brazo de elevación al soporte de la cadena con el pasador de seguridad (Figura 20).
Note: Utilice el número de eslabones indicado en el Manual del operador de la unidad de corte.

Cubra el eje acanalado del motor del molinete con grasa limpia.
Aplique aceite a la junta tórica del motor del molinete y colóquela sobre la brida del motor.
Para instalar el motor, gírelo en sentido horario para que las bridas del motor no choquen con los pernos (Figura 21).

Gire el motor en sentido antihorario hasta que las bridas rodeen los pernos, luego apriete los pernos.
Important: Asegúrese de que las mangueras del motor del molinete no están torcidas o dobladas, y que no hay riesgo de que queden atrapadas.
Apriete los pernos de montaje a 36.6-44.7 N·m (27-33 pies-libra).

Los 2 pedales de freno (Figura 23) accionan frenos de rueda individuales para ayudar en los giros y para mejorar la tracción al atravesar pendientes.

El enganche de bloqueo de los pedales (Figura 23) conecta los dos pedales para poner el freno de estacionamiento.
Para poner el freno de estacionamiento (Figura 23), conecte los pedales con el enganche de bloqueo, y presione el pedal derecho mientras presiona el pedal supletorio. Para quitar el freno de estacionamiento, pise uno de los pedales de freno hasta que el enganche del freno de estacionamiento se desconecte.
El pedal de tracción (Figura 23) controla la operación hacia delante y hacia atrás. Pise la parte superior del pedal para desplazarse hacia delante, y la parte inferior para desplazarse hacia atrás. La velocidad de avance es proporcional al recorrido del pedal. Para obtener la velocidad máxima sobre el terreno, sin carga, mueva el control del acelerador del motor a la posición de rápido y luego pise a fondo el pedal de tracción
Para detenerse, reduzca la presión sobre el pedal de tracción y permita que vuelva a su posición central.
Para inclinar el volante hacia usted, pise el pedal (Figura 23) y tire de la columna de dirección hacia usted a la posición más cómoda; luego suelte el pedal.
Ajuste el/los tornillo(s) (Figura 24) para limitar el recorrido del pedal de tracción en dirección hacia delante o hacia atrás, con objeto de limitar la velocidad.
Important: El tornillo limitador de velocidad debe detener el pedal de tracción antes de que la bomba complete su recorrido; si no, la bomba puede resultar dañada.

Cuando el limitador de la velocidad de siega (Figura 24) se gira hacia adelante, permite que las unidades de corte se engranen y limita la velocidad máxima de avance durante la siega. Se cambia la posición de los espaciadores para ajustar la velocidad de avance. Al conducir la máquina entre diferentes lugares de trabajo, gire el limitador de la velocidad de siega hacia atrás para obtener la máxima velocidad de transporte.
Utilice la palanca Bajar/Segar/Elevar (Figura 25) para elevar y bajar las unidades de corte. La palanca también pone en marcha y detiene los molinetes cuando éstos están habilitados en el modo de siega.
Note: Las unidades de corte no pueden ser bajadas cuando la palanca de siega/transporte está en la posición de transporte.

El interruptor de encendido (Figura 25) tiene tres posiciones: DESCONECTADO, CONECTADO/PRECALENTAMIENTO y ARRANQUE.
La pantalla LCD del InfoCenter muestra información sobre la máquina, como por ejemplo el estado operativo, diferentes diagnósticos y otra información sobre la máquina (Figura 25).
El mando de la TDF (Figura 25) tiene dos posiciones: ENGRANAR y DESENGRANAR. Mueva el mando de la TDF hacia adelante para engranar las cuchillas de la unidad de corte. Mueva el mando hacia atrás para desengranar las cuchillas de las unidades de corte.
Utilice el control del acelerador (Figura 25) para aumentar o reducir la velocidad del motor.
Pulse el interruptor para encender los faros (Figura 25).
El enchufe eléctrico (Figura 26) se utiliza para alimentar accesorios eléctricos opcionales de 12 V.

El portabolsas (Figura 26) se utiliza para guardar objetos.
Las palancas de autoafilado se utilizan para controlar el sentido de rotación de las unidades de corte durante el autoafilado de los molinetes (Figura 27).

La pantalla LCD del InfoCenter muestra información sobre la máquina, como por ejemplo el estado operativo, diferentes diagnósticos y otra información (Figura 28). El InfoCenter tiene una pantalla de inicio y la pantalla informativa principal. Puede cambiar entre la pantalla de inicio y la pantalla principal de información en cualquier momento pulsando cualquiera de los botones del InfoCenter y luego seleccionando la tecla de flecha correspondiente.

Botón izquierdo: Acceso a Menú/Botón Atrás – pulse este botón para acceder a los menús del InfoCenter. Puede usarlo para salir de cualquier menú que esté utilizando.
Botón central – utilice este botón para desplazarse hacia abajo en los menús.
Botón derecho – utilice este botón para abrir un menú si aparece la flecha a la derecha que indica la existencia de contenido adicional.
Inversión manual del ventilador - pulse simultáneamente los botones izquierdo y derecho para activar esta función.
Pitido – se activa al bajar las carcasas y para indicar advertencias o fallos
Note: El propósito de cada botón puede variar dependiendo de lo que se necesite en cada momento. El icono de cada botón indica su función en cada momento.
| SERVICE DUE | Indica que es necesario realizar el mantenimiento programado |
![]() | Horas restantes para el mantenimiento |
![]() | Reiniciar las horas de mantenimiento![]() |
![]() | Icono de información |
![]() | Horímetro |
![]() | Rápido |
![]() | Lento |
![]() | Inversión del ventilador—indica que el ventilador funciona en sentido invertido |
![]() | El calentador del aire de admisión está activado |
![]() | Elevar las unidades de corte |
![]() | Bajar las unidades de corte |
![]() | El operador debe sentarse en el asiento |
![]() | Indicador del freno de estacionamiento—indica que el freno de estacionamiento está puesto. |
![]() | Identifica la gama como Alta |
![]() | Punto muerto |
![]() | Identifica la gama como Baja |
![]() | Temperatura del refrigerante – indica la temperatura del refrigerante del motor en °C o °F |
![]() | Temperatura (caliente) |
![]() | Prohibido o No permitido |
![]() | La TDF está engranada |
![]() | Arranque del motor |
![]() | Parada o Apagado |
![]() | Motor |
![]() | Interruptor de encendido |
![]() | Indica que las unidades de corte se están bajando |
![]() | Indica que las unidades de corte se están elevando |
![]() | Contraseña PIN |
![]() | Temperatura del fluido hidráulico – indica la temperatura del fluido hidráulico |
![]() | Bus CAN |
![]() | InfoCenter |
![]() | Defectuoso o no superado |
![]() | Lámpara |
![]() | Salida del controlador TEC o del cable de control del arnés |
![]() | Alto: superior al rango permitido |
![]() | Bajo: inferior al rango permitido |
![]() | Fuera de rango |
![]() | Interruptor |
![]() | El operador debe soltar el interruptor |
![]() | El operador debe cambiar al estado indicado |
| Los símbolos a menudo se combinan para formar 'oraciones'. A continuación se muestran algunos ejemplos. | |
![]() | El operador debe poner la máquina en punto muerto |
![]() | Arranque del motor denegado |
![]() | Parada del motor |
![]() | El refrigerante del motor está demasiado caliente |
![]() | El aceite hidráulico está demasiado caliente |
![]() | Siéntese o ponga el freno de estacionamiento |
Accesible
solo mediante introducción del PIN
Para entrar en el sistema de menús del InfoCenter, pulse el botón de acceso a los menús en la pantalla principal. Aparecerá el menú principal. Las tablas siguientes contienen un resumen de las opciones disponibles en cada menú.
| Menú principal | |
| Elemento del menú | Descripción |
| Fallos | El menú Fallos contiene una lista de los fallos recientes de la máquina. Consulte el Manual de mantenimiento o a su distribuidor autorizado Toro si desea más información sobre el menú Fallos y la información que contiene. |
| Mantenimiento | El menú Mantenimiento contiene información sobre la máquina, como por ejemplo contadores de horas de uso y otros datos similares. |
| Diagnósticos | El menú Diagnósticos muestra el estado de cada interruptor y sensor de la máquina y de la salida de cada control. Puede utilizar esta información para identificar y resolver algunos problemas, puesto que indica rápidamente qué controles de la máquina están activados/encendidos, y cuáles están desactivados/apagados. |
| Configuración | El menú Configuración le permite personalizar y modificar las variables de configuración de la pantalla del InfoCenter. |
| Acerca de | El menú Acerca de muestra el número de modelo, el número de serie y la versión del software de su máquina. |
| Mantenimiento | |
| Elemento del menú | Descripción |
| Horas | Muestra el número total de horas de operación de la máquina, el motor y la TDF, así como el número de horas de transporte y el mantenimiento previsto |
| Counts | Muestra los diferentes contadores de la máquina |
| Diagnósticos | |
| Elemento del menú | Descripción |
| Cutting Units | Muestra las entradas, las condiciones y las salidas relacionadas con la elevación y bajada de las unidades de corte |
| Hi/Low Range | Muestra las entradas, las condiciones y las salidas relacionadas con la conducción en el modo de transporte |
| PTO | Muestra las entradas, condiciones y salidas relacionadas con la activación del circuito de la TDF |
| Engine Run | Muestra las entradas, condiciones y salidas relacionadas con el arranque del motor |
| Backlap | Muestra las entradas, condiciones y salidas relacionadas con la función de autoafilado |
| Ajustes | |
| Elemento del menú | Descripción |
| Unidades | Controla las unidades utilizadas en el InfoCenter (inglés o métrico) |
| Idioma | Controla el idioma utilizado en el InfoCenter* |
| Retroilum. LCD | Controla el brillo de la pantalla LCD |
| Contraste LCD | Controla el contraste de la pantalla LCD |
| Š Autoafilado D | Controla la velocidad de los molinetes delanteros en el modo de autoafilado |
| Š Autoafilado T | Controla la velocidad de los molinetes traseros en el modo de autoafilado |
| Menús protegidos | Permite que una persona con código PIN autorizada por su compañía acceda a los menús protegidos |
Ralentí automático ![]() | Controla la cantidad de tiempo transcurrido antes de poner el motor en ralentí bajo cuando la máquina está estacionaria |
N.º de cuchillas ![]() | Controla el número de cuchillas del molinete para determinar la velocidad de los molinetes |
Vel. de siega ![]() | Controla la velocidad de avance para determinar la velocidad de los molinetes |
Altura de corte (ADC)![]() | Controla la altura de corte (ADC) para determinar la velocidad de los molinetes |
Mol. D Š:![]() | Muestra la velocidad calculada de los molinetes delanteros. Los molinetes también pueden ajustarse manualmente |
Mol. T Š:![]() | Muestra la velocidad calculada de los molinetes traseros. Los molinetes también pueden ajustarse manualmente |
* Sólo está traducido el texto destinado al operador. Las pantallas de Fallos, Mantenimiento y Diagnósticos están destinados a los técnicos de mantenimiento. Los títulos se verán en el idioma seleccionado, pero los elementos de menú aparecerán en inglés.
Protegido
en menús protegidos – accesible solo al introducir el
PIN
| Acerca de | |
| Elemento del menú | Descripción |
| Modelo | Muestra el número de modelo de la máquina |
| NS | Muestra el número de serie de la máquina |
| Revisión del controlador de la máquina | Indica la revisión de software del controlador maestro |
| Revisión del InfoCenter | Indica la revisión de software del InfoCenter |
| Bus CAN | Indica el estado del bus de comunicaciones de la máquina |
El menú Ajustes del InfoCenter contiene 5 opciones de configuración operativa que pueden modificarse: Número de cuchillas, Velocidad de siega, Ajuste de altura de corte (ADC), RPM Molinete delantero y RPM Molinete trasero. Puede bloquear estos ajustes mediante el uso del Menú protegido.
Note: Su distribuidor programa la contraseña inicial en el momento de la entrega de la máquina.
Note: El código PIN predeterminado de fábrica para su máquina es 0000 o 1234.Si cambió su código PIN y olvidó el código, póngase en contacto con su distribuidor autorizado Toro para obtener ayuda.
Desde el MENú PRINCIPAL, use el botón central para desplazarse hacia abajo hasta el menú CONFIGURACIóN y pulse el botón derecho (Figura 29).

En el MENú CONFIGURACIóN, use el botón central para desplazarse hacia abajo hasta el MENú PROTEGIDO y pulse el botón derecho (Figura 30A).

Para introducir el código PIN, pulse el botón central hasta que aparezca el primer dígito correcto, luego pulse el botón derecho para desplazarse al dígito siguiente (Figura 30B y Figura 30C). Repita este paso hasta haber introducido el último dígito y pulse el botón derecho una vez más.
Pulse el botón central para introducir el código PIN (Figura 30D).
Espere hasta que el indicador rojo del InfoCenter se ilumine.
Note: Si el InfoCenter acepta el código PIN y el menú protegido está desbloqueado, se muestra la palabra "PIN" en la esquina superior derecha de la pantalla.
Note: Si mueve el interruptor de encendido a la posición de DESCONECTADO y luego a la posición de CONECTADO, el menú protegido se bloqueará.
Puede ver y modificar los ajustes del menú Protegido. Una vez que haya accedido al Menú protegido, desplácese hacia abajo a la opción Proteger configuración. Use el botón derecho para cambiar la configuración. Si cambia Proteger configuración a DESACTIVADO, podrá ver y modificar los ajustes del Menú protegido sin introducir el código PIN. Si cambia Proteger configuración a ACTIVADO, se ocultarán las opciones protegidas y se le pedirá que introduzca el código PIN para modificar el ajuste en el Menú protegido. Después de introducir el código PIN, gire el interruptor de encendido a DESCONECTADO y de nuevo a CONECTADO para activar y guardar este ajuste.
En el menú Ajustes, vaya a Ralentí automático.
Pulse el botón derecho para cambiar el tiempo de ralentí automático, entre Desactivado, 8s, 10s, 15s, 20s y 30s.
En el menú Configuración, vaya a N.º de cuchillas.
Pulse el botón derecho para cambiar el número de cuchillas a 5, 8 u 11 cuchillas.
En el menú Ajustes, vaya a Vel. de siega.
Pulse el botón derecho para seleccionar la velocidad de siega.
Utilice los botones central y derecho para seleccionar la velocidad de siega que corresponde al ajuste del limitador mecánico de la velocidad de siega del pedal de tracción.
Pulse el botón izquierdo para salir y guardar el ajuste de la velocidad de siega.
En el menú Configuración, vaya a ADC.
Pulse el botón derecho para seleccionar ADC.
Utilice los botones central y derecho para seleccionar el ajuste de ADC apropiado.
Note: Si no muestra el ajuste exacto, seleccione el ajuste de ADC más próximo de la lista.
Pulse el botón izquierdo para salir y guardar el ajuste de la altura de corte.
Note: Las especificaciones y diseños están sujetos a modificación sin previo aviso.
| Anchura de corte, unidades de corte de 69 cm (27") | 307 cm (121") |
| Anchura de corte, unidades de corte de 81 cm (32") | 320 cm (126") |
| Anchura total, unidades de corte de 69 cm (27") bajadas | 345 cm (136") |
| Anchura total, unidades de corte de 81 cm (32") bajadas | 358 cm (141") |
| Anchura total, unidades de corte elevadas (transporte) | 239 cm (94") |
| Longitud total | 370 cm (146") |
| Altura con ROPS | 220 cm (87") |
| Distancia entre ruedas, delante | 229 cm (90") |
| Distancia entre ruedas, detrás | 141 cm (55.5") |
| Distancia entre ejes | 171 cm (67.5") |
| Peso neto (sin unidades de corte, sin fluidos) | 1574 kg (3470 libras) |
Está disponible una selección de aperos y accesorios homologados por Toro que pueden utilizarse con la máquina a fin de potenciar y aumentar sus prestaciones. Póngase en contacto con su Servicio Técnico Autorizado o con su distribuidor autorizado Toro, o visite www.Toro.com para obtener una lista de todos los aperos y accesorios homologados.
Para asegurar un rendimiento óptimo y mantener la certificación de seguridad de la máquina, utilice solamente piezas y accesorios genuinos Toro. Las piezas de repuesto y accesorios de otros fabricantes podrían ser peligrosos, y su uso podría invalidar la garantía del producto.
Note: Los lados derecho e izquierdo de la máquina se determinan desde la posición normal del operador.
No deje nunca que la máquina sea utilizada o reparada por niños o por personas que no hayan recibido la formación adecuada al respecto. La normativa local puede imponer límites sobre la edad del operador. El propietario es responsable de proporcionar formación a todos los operadores y mecánicos.
Familiarícese con la operación segura del equipo, los controles del operador y las señales de seguridad.
Antes de abandonar el puesto del operador, haga lo siguiente:
Aparque la máquina en una superficie nivelada.
Desengrane y baje las unidades de corte.
Ponga el freno de estacionamiento.
Apague el motor y retire la llave.
Espere a que se detenga todo movimiento.
Deje que la máquina se enfríe antes de hacer trabajos de ajuste, mantenimiento, limpieza o almacenamiento.
Sepa cómo parar rápidamente la máquina y el motor.
No haga funcionar la máquina si no están colocados y funcionando todos los protectores y dispositivos de seguridad de la máquina.
Antes de segar, siempre inspeccione la máquina para asegurarse de que las unidades de corte están en buenas condiciones de funcionamiento.
Inspeccione el área donde se va a utilizar la máquina y retire cualquier objeto que la máquina podría lanzar al aire.
Extreme las precauciones al manejar el combustible. El combustible es inflamable y sus vapores son explosivos.
Apague cualquier cigarrillo, cigarro, pipa u otra fuente de ignición.
Utilice solamente un recipiente de combustible homologado.
No retire el tapón de combustible ni llene el depósito de combustible si el motor está en marcha o está caliente.
No añada ni drene combustible en un lugar cerrado.
No guarde la máquina o un recipiente de combustible en un lugar donde pudiera haber una llama desnuda, chispas o una llama piloto, por ejemplo en un calentador de agua u otro electrodoméstico.
Si derrama combustible, no intente arrancar el motor; evite crear fuentes de ignición hasta que los vapores del combustible se hayan disipado.
83 litros (22 galones US)
El incumplimiento de estas precauciones podría dañar el motor.
Nunca utilice queroseno o gasolina en lugar de combustible diésel.
Nunca mezcle queroseno o aceite de motor usado con combustible diésel.
Nunca almacene combustible en recipientes galvanizados en su interior.
No utilice aditivos de combustible.
Utilice únicamente combustible diésel o combustible biodiésel limpio y nuevo con contenido sulfúrico bajo (<500 ppm) o ultrabajo (<15 ppm). El número mínimo de cetanos debe ser de 40. Compre el combustible en cantidades que puedan ser consumidas en 180 días para asegurarse de que el combustible es nuevo.
Utilice combustible diésel tipo verano (Nº 2-D) en temperaturas superiores a -7 °C (20 °F) y tipo invierno (Nº 1-D o mezcla de Nº 1-D/2-D) en temperaturas inferiores a -7 °C (20 °F). El uso de combustible tipo invierno a bajas temperaturas proporciona un punto de inflamación menor y características de flujo en frío que facilitarán el arranque y reducirán la obturación del filtro del combustible.
El uso de combustible tipo verano con temperaturas por encima de los -7 °C (20 °F) contribuirá a alargar la vida útil de la bomba de combustible y a incrementar la potencia en comparación con el combustible tipo invierno.
Esta máquina también puede utilizar una mezcla de combustible biodiésel de hasta B20 (20% biodiésel, 80% petrodiésel). La porción de petrodiésel debe ser bajo o ultrabajo en azufre. Tome las siguientes precauciones:
Especificación de combustible biodiésel: ASTM D6751 o EN 14214
Especificación de la mezcla de combustible: ASTM D975 o EN590
Tome las siguientes precauciones:
Las mezclas de biodiésel pueden dañar las superficies pintadas.
Utilice B5 (contenido de biodiésel del 5 %) o mezclas menores cuando hace frío.
Vigile los retenes, las mangueras y las juntas que estén en contacto con el combustible, ya que pueden degradarse con el paso del tiempo.
El filtro de combustible de la máquina puede obstruirse durante cierto tiempo después de la conversión a una mezcla de biodiésel.
Póngase en contacto con su distribuidor autorizado Toro si desea más información acerca del biodiésel.
Aparque la máquina en una superficie nivelada, baje las unidades de corte, apague el motor y retire la llave.
Limpie la zona alrededor del tapón del depósito de combustible con un trapo limpio.
Retire el tapón del depósito de combustible (Figura 31).

Llene el depósito con el combustible especificado hasta que el nivel llegue al extremo inferior del cuello de llenado.
Instale y apriete firmemente el tapón del depósito de combustible.
Note: Si es posible, llene el depósito de combustible después de cada uso. El llenado del depósito de combustible minimiza la condensación dentro del depósito.
| Intervalo de mantenimiento y servicio | Procedimiento de mantenimiento |
|---|---|
| Cada vez que se utilice o diariamente |
|
Cada día, antes de arrancar la máquina, siga los procedimientos marcados como “Cada uso/A diario” en la sección .
| Intervalo de mantenimiento y servicio | Procedimiento de mantenimiento |
|---|---|
| Cada vez que se utilice o diariamente |
|
Si los interruptores de seguridad están desconectados o dañados, la máquina podría ponerse en marcha inesperadamente, causando lesiones personales.
No manipule los interruptores de seguridad.
Compruebe la operación de los interruptores de seguridad cada día, y sustituya cualquier interruptor dañado antes de operar la máquina.
Important: Si su máquina no supera cualquiera de las comprobaciones de los interruptores de seguridad, póngase en contacto con su distribuidor autorizado Toro.
Conduzca la máquina lentamente a una zona abierta.
Baje las unidades de corte, apague el motor y ponga el freno de estacionamiento.
Siéntese en el asiento del operador.
Ponga el freno de estacionamiento.
Presione hacia abajo del mando la TDF hasta la posición de DESENGRANAR.
Pise el pedal de tracción.
Gire la llave a la posición ARRANQUE.
Note: El motor de arranque no debe hacer girar el motor con el pedal de tracción pisado.
Siéntese en el asiento del operador.
Mueva el mando de la TDF a la posición de ENGRANAR.
Arranque el motor.
Note: El motor no debe arrancar con el mando de la TDF en la posición de ENGRANAR.
Siéntese en el asiento del operador.
Presione hacia abajo del mando la TDF hasta la posición de DESENGRANAR.
Arranque el motor.
Levántese del asiento.
Mueva el mando de la TDF a la posición de ENGRANAR.
Note: El PTO no debe funcionar cuando usted no está en el asiento del operador.
Siéntese en el asiento del operador.
Ponga el freno de estacionamiento.
Presione hacia abajo del mando la TDF hasta la posición de DESENGRANAR.
No pise el pedal de tracción.
Arranque el motor.
Pise el pedal de tracción.
Note: El motor debe apagarse si el freno de estacionamiento está puesto y el pedal de tracción está pisado.

Gire el pomo para ajustar el ángulo del reposabrazos (Figura 32).
Mueva la palanca para ajustar el ángulo del respaldo (Figura 32).
Tire de la palanca hacia fuera para ajustar el asiento hacia adelante o hacia atrás (Figura 32).
Ajuste el asiento según su peso (Figura 32). Tire de la palanca hacia arriba para aumentar la presión del aire, o empújela hacia abajo para reducir la presión del aire. EL ajuste correcto se obtiene estando el indicador de peso en la zona verde.
El indicador de peso indica si el asiento está ajustado para el peso del operador (Figura 32). La altura se ajusta posicionando la suspensión en la zona verde.
El propietario/operador puede prevenir, y es responsable de cualquier accidente que pueda provocar lesiones personales o daños materiales.
Lleve ropa adecuada, incluida protección ocular, pantalón largo, calzado resistente y antideslizante y protección auricular. Si tiene el pelo largo, recójaselo, y no lleve joyas o prendas sueltas.
No utilice la máquina si está enfermo, cansado, o bajo la influencia de alcohol o drogas.
Dedique toda su atención al manejo de la máquina. No realice ninguna actividad que pudiera distraerle; de lo contrario, pueden producirse lesiones o daños materiales.
Antes de arrancar el motor, asegúrese de que todas las transmisiones están en punto muerto, que el freno de estacionamiento está puesto y que usted se encuentra en el puesto del operador.
No lleve pasajeros en la máquina y mantenga a otras personas y niños fuera de la zona de trabajo.
Utilice la máquina únicamente con buena visibilidad para evitar agujeros o peligros ocultos.
Evite segar hierba mojada. Una tracción reducida podría hacer que la máquina se deslice.
Mantenga las manos y los pies alejados de las unidades de corte.
Mire hacia atrás y hacia abajo antes de poner marcha atrás para asegurarse de que el camino está despejado.
Tenga cuidado al acercarse a esquinas ciegas, arbustos, árboles u otros objetos que puedan dificultar su visión.
Pare las unidades de corte si no está segando.
Vaya más despacio y tenga cuidado al girar y al cruzar calles y aceras con la máquina. Ceda el paso siempre.
Haga funcionar el motor únicamente en zonas bien ventiladas. Los gases de escape contienen monóxido de carbono, que es letal si se inhala.
No deje desatendida la máquina si el motor está en marcha.
Antes de abandonar el puesto del operador, haga lo siguiente:
Aparque la máquina en una superficie nivelada.
Desengrane y baje las unidades de corte.
Ponga el freno de estacionamiento.
Apague el motor y retire la llave.
Espere a que se detenga todo movimiento.
Deje que la máquina se enfríe antes de hacer trabajos de ajuste, mantenimiento, limpieza o almacenamiento.
Utilice la máquina solo en buenas condiciones de visibilidad y bajo condiciones meteorológicas apropiadas. No haga funcionar la máquina cuando hay riesgo de tormentas eléctricas.
No retire ninguno de los componentes del ROPS de la máquina.
Asegúrese de que el cinturón de seguridad está enganchado y de que puede desabrocharlo rápidamente en caso de emergencia.
Lleve puesto siempre el cinturón de seguridad.
Verifique con atención si hay obstrucciones en alto y evite el contacto con ellas.
Mantenga el ROPS en condiciones seguras de funcionamiento, inspeccionándolo periódicamente en busca de daños y manteniendo bien apretados todas las fijaciones de montaje.
Sustituya todos los componentes dañados del ROPS. No lo repare ni lo cambie.
Utilice siempre el cinturón de seguridad cuando la barra antivuelco está en la posición elevada.
El ROPS es un dispositivo de seguridad integrado. Mantenga una barra antivuelco plegable en posición elevada y bloqueada, y utilice el cinturón de seguridad cuando utilice la máquina con la barra antivuelco en posición elevada.
Baje una barra antivuelco plegable temporalmente solo cuando sea necesario. No lleve el cinturón de seguridad cuando la barra antivuelco está plegada hacia abajo.
Sepa que no hay protección contra vuelcos cuando una barra antivuelco plegada está en posición de bajada.
Compruebe la zona que segará y nunca pliegue hacia abajo una barra antivuelco plegable en zonas de pendientes, taludes o agua.
Las pendientes son una de las principales causas de accidentes por pérdida de control y vuelcos, que pueden causar lesiones graves o la muerte. Usted es responsable de la seguridad cuando trabaja en pendientes. El uso de la máquina en cualquier pendiente exige un cuidado especial.
Evalúe las condiciones del lugar de trabajo para determinar si es seguro trabajar en la pendiente con la máquina; puede ser necesario realizar un estudio detallado de la zona. Utilice siempre el sentido común y el buen juicio al realizar este estudio.
Revise las instrucciones sobre pendientes, que se indican a continuación, para conducir la máquina en pendientes. Antes de utilizar la máquina, revise las condiciones del lugar de trabajo para determinar si la máquina puede utilizarse en las condiciones reinantes en ese día y en ese lugar en concreto. Los cambios de terreno pueden necesitar un cambio en el modo de operación de la máquina en pendientes.
Evite arrancar, parar o girar la máquina en cuestas o pendientes. Evite hacer cambios bruscos de velocidad o de dirección. Haga los giros lentamente y poco a poco.
No utilice la máquina en condiciones que puedan comprometer la tracción, la dirección o la estabilidad de la máquina.
Retire o señale obstrucciones como terraplenes, baches, surcos, montículos, rocas u otros peligros ocultos. La hierba alta puede ocultar las obstrucciones. Un terreno irregular puede hacer que la máquina vuelque.
Tenga en cuenta que conducir en hierba mojada, atravesar pendientes empinadas, o bajar cuestas puede hacer que la máquina pierda tracción.
Extreme las precauciones cuando utilice la máquina cerca de terraplenes, fosas, taludes, obstáculos de agua u otros obstáculos. La máquina podría volcar repentinamente si una rueda pasa por el borde de un terraplén o fosa, o si se socava un talud. Establezca una zona de seguridad entre la máquina y cualquier obstáculo.
Identifique cualquier obstáculo situado en la base de la pendiente. Si hay obstáculos, siegue la pendiente con una máquina manual de empuje.
Si es posible, mantenga las unidades de corte bajadas al suelo mientras utiliza la máquina en pendientes. Elevar las unidades de corte mientras se trabaja en pendientes puede hacer que la máquina pierda estabilidad.
Utilice el indicador de combustible (Figura 33), situado en la parte superior del depósito, para determinar el nivel de combustible.

Important: Purgue el sistema de combustible si se ha producido alguna de las situaciones siguientes:
El motor se ha apagado porque la máquina se quedó sin combustible.
Se realizó mantenimiento sobre los componentes del sistema de combustible.
Siéntese en el asiento del operador, ponga el freno de estacionamiento y asegúrese de que no está pisando el pedal de tracción.
Mueva el control del acelerador del motor a la posición de LENTO.
Gire la llave a la posición de MARCHA.
Note: Se muestra el indicador de la bujía en el InfoCenter.
Cuando se apague el indicador de la bujía, gire la llave a la posición de ARRANQUE.
Important: No haga funcionar el motor de arranque durante más de 15 segundos cada vez, o puede producirse un fallo prematuro en el motor de arranque. Si el motor no arranca en 15 segundos, ponga la llave en la posición de DESCONECTADO, compruebe los controles y los procedimientos, espere 15 segundos más y repita el procedimiento de arranque.Cuando la temperatura está por debajo de los -7 °C (20 °F), el motor de arranque puede utilizarse un máximo de dos veces durante 30 segundos, con 60 segundos de espera entre intentos.
Cuando el motor arranque, suelte la llave.
Ajuste la velocidad del motor.
Aparque la máquina en una superficie nivelada.
Presione hacia abajo del mando la TDF hasta la posición de DESENGRANAR.
Mueva el control del acelerador del motor a la posición de LENTO.
Ponga el freno de estacionamiento.
Baje las unidades de corte.
Important: Bajar las unidades de corte alivia la carga hidráulica del sistema, evita el desgaste de las piezas del sistema y evita la bajada accidental de las unidades de corte.
Gire la llave a la posición de DESCONECTADO y retire la llave.
Espere a que se detengan todas las piezas en movimiento.
Bloquee los pivotes de las unidades de corte para evitar que las unidades de corte pivoten cuesta abajo al segar de través en una pendiente.
Sujete el bastidor de tiro de la unidad de corte a la horquilla del pivote con el pasador de seguridad, como se muestra en la Figura 34.

Repita el paso 1 en las demás unidades de corte.
Conduzca la máquina al lugar de trabajo y alinee la máquina para la primera pasada fuera de la zona de siega.
Asegúrese de que el mando de la TDF está en la posición de DESENGRANAR (Figura 35).

Utilice el pie para mover la palanca del limitador de la velocidad de siega hacia adelante a la posición de SIEGA (Figura 36).

Mueva el control del acelerador del motor a la posición de RáPIDO.
Mueva el mando de la TDF a la posición de ENGRANAR.
Empiece a adentrarse con la máquina en la zona de siega, mueva hacia adelante la palanca Bajar/Segar/Elevar.
Note: Las unidades de corte empiezan a funcionar mientras bajan. Las unidades de corte delanteras están sincronizadas de tal forma que bajan antes que las unidades de corte traseras
Note: Segar la hierba a una velocidad que supone una carga para el motor promueve la regeneración del FPD.
Cuando termine la pasada de siega, mueva la palanca del limitador de la velocidad de siega hacia atrás para elevar las unidades de corte.
Realice un giro en forma de lágrima para alinearse rápidamente para la próximo pasada.
Presione hacia abajo del mando la TDF hasta la posición de DESENGRANAR (Figura 37).

Mueva la palanca Bajar/Segar/Elevar hacia atrás para elevar las unidades de corte (posición de transporte).
Mueva la palanca del limitador de la velocidad de siega hacia atrás a la posición de TRANSPORTE (Figura 38).

Presione el pedal de tracción para conducir la máquina.
Important: Tenga cuidado al conducir entre objetos para no dañar accidentalmente la máquina ni las unidades de corte. Tenga un cuidado especial cuando opere la máquina en pendientes. Conduzca lentamente y evite giros cerrados en pendientes para evitar vuelcos.
El muelle de compensación del césped (Figura 39) transfiere el peso desde el rodillo delantero al trasero. Esto ayuda a reducir el patrón de ondulación en el césped.
Important: Haga los ajustes al muelle con la unidad de corte montada en la unidad de tracción, bajada al suelo del taller y orientada hacia delante.
Asegúrese de que la chaveta está instalada en el orificio trasero de la varilla (Figura 39).
Note: Antes de realizar trabajos de mantenimiento en la unidad de corte, mueva la chaveta al orificio de la varilla, junto al muelle de compensación del césped.

Apriete las tuercas hexagonales del extremo delantero de la varilla del muelle hasta que la longitud comprimida del muelle sea de 15.9 cm (6.25"); consulte Figura 39.
Note: Al trabajar en terrenos irregulares, reduzca en 13 mm (½") la longitud del muelle. El seguimiento del terreno se verá ligeramente afectado.
Note: Será necesario volver a ajustar la compensación del césped si se modifica la altura de corte o la la agresividad de corte.
Los muelles están bajo tensión, y podrían causar lesiones personales.
Tenga precaución al ajustar los muelles.
Puede ajustar la fuerza de contrapeso aplicada a las unidades de corte traseras para ayudar a compensar diferentes condiciones del césped, y para mantener una altura de corte uniforme en condiciones difíciles o en zonas con una gran acumulación de fieltro.
La fuerza de contrapeso de cada muelle de torsión puede ajustarse a una de cuatro posiciones. Cada incremento aumenta o reduce la fuerza de contrapeso sobre la unidad de corte en 2.3 kg (5 libras).
Note: Para eliminar toda la fuerza de contrapeso, coloque la pata larga del muelle de torsión debajo del tornillo, la arandela, el espaciador y la contratuerca.
Aparque la máquina en una superficie nivelada, baje las unidades de corte, ponga el freno de estacionamiento, apague el motor y retire la llave.
Coloque un tubo u otro objeto similar sobre la pata larga del muelle, y levante la pata del muelle para aliviar la presión sobre el espaciador (Figura 40).
Note: Solicite la ayuda de otra persona para elevar y bajar la pata del muelle.

Sujetando el muelle, retire el perno, la arandela y la contratuerca de la placa de elevación (Figura 40).
Alinee la pata del muelle por encima del orificio deseado.
Instale el tornillo, la arandela, el espaciador y la contratuerca en el orificio.
Baje lentamente la pata del muelle sobre el espaciador.
Repita los pasos hasta 5 en el brazo de elevación de la unidad de corte trasera.
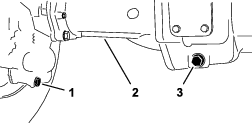
El interruptor del brazo de elevación (Figura 29) está situado detrás del brazo de elevación delantero derecho (unidad de corte Nº 5).

Aparque la máquina en una superficie nivelada, baje las unidades de corte, ponga el freno de estacionamiento, apague el motor y retire la llave.
Afloje los 2 tornillos con arandela prensada que sujetan el soporte del interruptor al bastidor de tiro de los brazos de elevación de la unidad de corte delantera.
Mueva el soporte de los interruptores como se indica a continuación:
Para aumentar la altura de giro de la unidad de corte, mueva el soporte hacia arriba.
Para reducir la altura de giro de la unidad de corte, mueva el soporte hacia abajo.
Apriete los 2 tornillos con arandela prensada.
Mantenga correctamente apretados todos los tornillos, pernos y tuercas para asegurar que la máquina esté en perfectas condiciones de funcionamiento.
Para su seguridad, sustituya las piezas desgastadas o dañadas.
Asegúrese de que el cinturón de seguridad y sus anclajes están en buen estado.
Lleve el cinturón de seguridad si la barra anti-vuelco está elevada, y no lleve el cinturón de seguridad si la barra anti-vuelco está bajada.
La barra antivuelco puede bajarse para facilitar el acceso a zonas de altura limitada.
La máquina no tiene un sistema de protección antivuelco (ROPS) cuando la barra antivuelco está plegada, en cuyo caso no debe considerarse como un ROPS.
No lleve puesto el cinturón de seguridad cuando la barra antivuelco está bajada.
Al bajar y elevar la barra antivuelco, los dedos pueden quedar atrapados entre la máquina y la barra antivuelco.
Tenga cuidado al bajar y elevar la barra antivuelco para no atraparse los dedos entre la máquina y la barra antivuelco.
La barra antivuelco es un dispositivo de seguridad integrado. No le protege contra lesiones o incluso la muerte en caso de vuelco a menos que esté bloqueado en la posición elevada y usted lleve puesto el cinturón de seguridad.
Mantenga la barra antivuelco en la posición elevada mientras utilice la máquina.
Baje la barra antivuelco temporalmente, únicamente en caso de necesidad, y luego bloquéela en la posición elevada lo antes posible antes de seguir trabajando.
Important: La barra antivuelco es un dispositivo de seguridad integrado. Mantenga la barra antivuelco en posición elevada mientras utilice el cortacésped. Baje la barra antivuelco temporalmente, sólo cuando sea absolutamente imprescindible.
Aparque la máquina en una superficie nivelada, baje las unidades de corte, ponga el freno de estacionamiento, apague el motor y retire la llave.
Retire los pasadores de seguridad que sujetan los pasadores de la barra antivuelco en cada lado de la barra antivuelco (Figura 42).

Sostenga el peso del tubo superior de la barra antivuelco mientras retira los pasadores de la barra antivuelco de los soportes de giro.
Baje cuidadosamente el tubo superior de la barra antivuelco hasta que descanse sobre los topes.
Introduzca los pasadores de la barra antivuelco en los orificios inferiores de los soportes de giro, y sujete los pasadores de la barra antivuelco a los soportes con los pasadores de seguridad.
El sistema de protección ROPS puede no ser eficaz si los pasadores del ROPS no están apretados, y esto puede causar lesiones graves o incluso la muerte en caso de un vuelco.
Cuando la barra anti-vuelco está en la posición elevada, debe instalar ambos pasadores de la barra antivuelco y ambos pasadores de seguridad para que la ROPS brinde una protección completa.
Aparque la máquina en una superficie nivelada, baje las unidades de corte, ponga el freno de estacionamiento, apague el motor y retire la llave.
Retire los pasadores de seguridad que sujetan los pasadores de la barra antivuelco en cada lado de la barra antivuelco (Figura 43).

Retire los pasadores de la barra antivuelco de los soportes de giro.
Con cuidado, levante el tubo superior de la barra antivuelco hasta que los orificios del soporte de giro queden alineados con los orificios del tubo inferior de la barra antivuelco.
Introduzca los pasadores de la barra antivuelco en los orificios del soporte de giro y del tubo inferior de la barra antivuelco.
Sujete los pasadores de la barra antivuelco a los soportes y a los tubos inferiores de la barra antivuelco con los pasadores de seguridad.
Antes de segar, practique la operación de la máquina en una zona abierta. Arranque y apague el motor. Haga funcionar la máquina hacia delante y hacia atrás. Baje y eleve las unidades de corte y engrane y desengrane los molinetes. Cuando se haya familiarizado con la máquina, practique el subir y bajar pendientes a diferentes velocidades.
Si se enciende un indicador de advertencia durante la operación, pare la máquina inmediatamente y corrija el problema antes de seguir con la operación. Se podrían producir graves daños si la máquina se utiliza con una avería.
Aparque la máquina en una superficie nivelada.
Desengrane y baje las unidades de corte.
Ponga el freno de estacionamiento.
Apague el motor y retire la llave.
Espere a que se detenga todo movimiento.
Deje que la máquina se enfríe antes de hacer trabajos de ajuste, mantenimiento, limpieza o almacenamiento.
Limpie la hierba y los residuos de las unidades de corte, las transmisiones, los silenciadores, las rejillas de refrigeración y el compartimento del motor para prevenir incendios. Limpie cualquier aceite o combustible derramado.
Desengrane la transmisión al accesorio cuando transporte la máquina o cuando no la esté utilizando.
Realice el mantenimiento de los cinturones de seguridad y límpielos cuando sea necesario.
No guarde la máquina o un recipiente de combustible en un lugar donde pudiera haber una llama desnuda, chispas o una llama piloto, por ejemplo en un calentador de agua u otro electrodoméstico.
Utilice rampas de ancho completo para cargar la máquina en un remolque o un camión.
Amarre la máquina firmemente.
Los puntos de amarre se encuentran en los lugares siguientes:
En cada lado del bastidor, debajo de los peldaños delanteros
En el guardabarros trasero

Con la válvula de desvío de remolcado abierta, la máquina podría desplazarse accidentalmente y causar lesiones a usted o a otras personas.
Cuando no esté empujando o remolcando la máquina, ponga el freno de estacionamiento.
En caso de emergencia, la máquina puede desplazarse abriendo la válvula de desvío de remolcado de la bomba hidráulica de tracción, instalando una manguera hidráulica para anular la válvula de retención, y luego empujando o remolcando la máquina.
Si es necesario empujar o remolcar la máquina, puede ser necesario desplazarla tanto hacia adelante como hacia atrás. Para asegurarse de no dañar la transmisión al empujarla o remolcarla, conviene preparar la máquina para que pueda ser empujada o remolcada tanto hacia delante como hacia atrás.
Piezas necesarias (se adquieren por separado): Kit de remolcado en marcha atrás, Pieza Toro Nº 136-3620
Important: Si es necesario empujar o remolcar la máquina en marcha atrás, es necesario desactivar primero la válvula de retención del distribuidor de transmisión a cuatro ruedas.
Aparque la máquina en una superficie nivelada, ponga el freno de estacionamiento, baje las unidades de corte, apague el motor y retire la llave.
Conecte provisionalmente la manguera de desvío y los acoplamientos rectos del kit de remolcado en marcha atrás; consulte las Instrucciones de instalación del Kit de remolcado en marcha atrás.
Retire el tapón guardapolvo y el acoplamiento de prueba del punto de prueba del tubo de tracción hacia atrás.
Monte el acoplamiento recto de la manguera de desvío en el punto de prueba, y apriete el acoplamiento y la manguera.
Retire el tapón allen Nº 6 del orificio sin marcar (situado entre los acoplamientos de los orificios M8 y P2) del distribuidor de tracción trasera.
Monte el otro acoplamiento recto de la manguera de desvío en el orificio sin marcar del distribuidor de tracción trasera, y apriete el acoplamiento y la manguera.
Abra la válvula de desvío de remolcado de la bomba de tracción girándola 90° (¼ de vuelta) en cualquier sentido (Figura 45).
Note: Observe la posición de la válvula al abrirla o cerrarla.

Empuje o remolque la máquina.
Important: No empuje ni remolque la máquina a más de 3-4.8 km/h (2-3 mph), o durante más de 0.4 km (¼ milla), porque puede dañarse el sistema hidráulico. La válvula de desvío debe estar abierta antes de empujar o remolcar la máquina.
Aparque la máquina en una superficie nivelada, ponga el freno de estacionamiento, baje las unidades de corte, apague el motor y retire la llave.
Retire el acoplamiento recto y la manguera de desvío del kit de remolcado en marcha atrás del punto de prueba del tubo de tracción en marcha atrás; consulte las Instrucciones de instalación del Kit de remolcado en marcha atrás.
Instale el acoplamiento de prueba y el tapón guardapolvo en el punto de prueba.
Retire el otro acoplamiento recto de la manguera de desvío del orificio sin marcar (situado entre los acoplamientos de los orificios M8 y P2) del distribuidor de tracción trasera.
Instale el tapón allen Nº 6 nuevo del kit de remolcado en marcha atrás en el orificio sin marcar del distribuidor de tracción trasera.
Cierre la válvula de desvío de remolcado girándola hacia atrás 90° (¼ de vuelta) antes de arrancar el motor (Figura 46).
Note: No utilice una fuerza de más de 7-11 N·m (5-8 pies-libra) para cerrar la válvula.

Si es necesario empujar o remolcar la máquina hacia adelante solamente, puede simplemente girar la válvula de desvío.
Important: Si necesita empujar o remolcar la máquina hacia atrás; consulte Preparación para empujar o remolcar la máquina en marcha atrás.
Abra el capó y retire la cubierta central.
Abra la válvula de desvío de remolcado de la bomba de tracción girándola 90° (¼ de vuelta) en cualquier sentido (Figura 45).
Note: Observe la posición de la válvula al abrirla o cerrarla.

Empuje o remolque la máquina hacia adelante solamente.
Important: No empuje ni remolque la máquina a más de 3-4.8 km/h (2-3 mph), o durante más de 0.4 km (¼ milla), porque puede dañarse el sistema hidráulico. La válvula de desvío debe estar abierta antes de empujar o remolcar la máquina.
Cuando la máquina esté preparada para el uso, cierre la válvula de desvío de remolcado girándola 90° (¼ de vuelta) hacia atrás antes de arrancar el motor.
Note: No utilice una fuerza de más de 7-11 N·m (5-8 pies-libra) para cerrar la válvula.
Note: Los lados derecho e izquierdo de la máquina se determinan desde la posición normal del operador.
Note: Descargue una copia gratuita del esquema eléctrico o hidráulico en www.Toro.com y busque su máquina en el enlace Manuales de la página de inicio.
Important: Consulte en el manual del operador del motor y en el Manual del operador de la unidad de corte los procedimientos adicionales de mantenimiento.
Antes de abandonar el puesto del operador, haga lo siguiente:
Aparque la máquina en una superficie nivelada.
Desengrane y baje las unidades de corte.
Ponga el freno de estacionamiento.
Apague el motor y retire la llave.
Espere a que se detenga todo movimiento.
Deje que la máquina se enfríe antes de hacer trabajos de ajuste, mantenimiento, limpieza o almacenamiento.
Deje que los componentes de la máquina se enfríen antes de realizar tareas de mantenimiento.
Si es posible, no realice tareas de mantenimiento con el motor en marcha. Manténgase alejado de las piezas en movimiento.
Apoye la máquina sobre gatos fijos cada vez que trabaje debajo de la máquina.
Alivie con cuidado la tensión de aquellos componentes que tengan energía almacenada.
Mantenga todas las piezas en buen estado de funcionamiento y todas las fijaciones bien apretadas.
Sustituya cualquier pegatina que esté desgastada o deteriorada.
Para asegurar un rendimiento óptimo y seguro de la máquina, utilice solamente piezas genuinas Toro. Las piezas de repuesto de otros fabricantes podrían ser peligrosas, y su uso podría invalidar la garantía del producto.
| Intervalo de mantenimiento y servicio | Procedimiento de mantenimiento |
|---|---|
| Después de las primeras 8 horas |
|
| Después de las primeras 50 horas |
|
| Después de las primeras 200 horas |
|
| Cada vez que se utilice o diariamente |
|
| Cada 50 horas |
|
| Cada 100 horas |
|
| Cada 200 horas |
|
| Cada 400 horas |
|
| Cada 500 horas |
|
| Cada 800 horas |
|
| Cada 1000 horas |
|
| Cada 2000 horas |
|
| Antes del almacenamiento |
|
Duplique esta página para su uso rutinario.
| Elemento a comprobar | Para la semana de: | ||||||
|---|---|---|---|---|---|---|---|
| Lun. | Mar. | Miér. | Jue. | Vie. | Sáb. | Dom. | |
| Compruebe el funcionamiento de los interruptores de seguridad. | |||||||
| Compruebe el funcionamiento de los frenos. | |||||||
| Compruebe el nivel del aceite del motor y del combustible. | |||||||
| Compruebe el nivel del fluido del sistema de refrigeración. | |||||||
| Vacíe el separador de combustible/agua. | |||||||
| Compruebe el indicador de mantenimiento del filtro de aire. | |||||||
| Compruebe que el radiador, el enfriador de aceite y la rejilla están libres de residuos. | |||||||
| Compruebe que no hay ruidos extraños en el motor.1 | |||||||
| Compruebe que no hay ruidos extraños durante el uso. | |||||||
| Compruebe el nivel del fluido del sistema hidráulico. | |||||||
| Compruebe que las mangueras hidráulicas no están dañadas. | |||||||
| Compruebe que no hay fugas de fluidos. | |||||||
| Compruebe la presión de los neumáticos. | |||||||
| Compruebe la operación de los instrumentos. | |||||||
| Compruebe el ajuste molinete-contracuchilla. | |||||||
| Compruebe el ajuste de altura de corte. | |||||||
| Lubrique todos los engrasadores.2 | |||||||
| Retoque cualquier pintura dañada. | |||||||
|
1. Compruebe la bujía y las boquillas de los inyectores en caso de dificultad para arrancar el motor, exceso de humo o funcionamiento irregular. |
|||||||
|
2. Inmediatamente después de cada lavado, aunque no corresponda a uno de los intervalos citados |
|||||||
| Inspección realizada por: | ||
| Elemento | Fecha | Información |
| 1 | ||
| 2 | ||
| 3 | ||
| 4 | ||
| 5 | ||
| 6 | ||
| 7 | ||
| 8 | ||
Aparque la máquina en una superficie nivelada, baje las unidades de corte, y ponga el freno de estacionamiento.
Apague el motor, retire la llave y espere a que se detengan todas las piezas en movimiento.
Desenganche los 2 cierres del capó (Figura 48).

Gire el capó para abrirlo.
Gire cuidadosamente el capó para cerrarlo (Figura 49).

Sujete el capó con los dos enganches del capó.
Desenganche el cierre de goma de la tapa del compartimento de la batería (Figura 48).

Levante la tapa.
Gire el asiento un poco y levante la varilla de sujeción para retirarla de la ranura del soporte del asiento (Figura 53).

Baje el asiento con cuidado hasta que se enganche firmemente.
Note: Apoye la máquina sobre soportes fijos cada vez que trabaje debajo de la máquina; consulte Especificaciones.
Utilice las siguientes posiciones como puntos de elevación de la máquina:
Parte delantera de la máquina — en el bastidor de la máquina, por delante de los motores de tracción de las ruedas (Figura 54).
Important: No apoye la máquina en los motores de la transmisión de las ruedas. Mantenga el equipo de izado lejos de las líneas y mangueras hidráulicas.

Parte trasera de la máquina: en el centro del eje (Figura 55)
Note: Coloque gatos fijos de la capacidad especificada en ambos lados de la caja de engranajes y debajo del eje.
Important: No apoye la máquina en la biela.

| Intervalo de mantenimiento y servicio | Procedimiento de mantenimiento |
|---|---|
| Cada 50 horas |
|
Especificación de la grasa: Grasa de litio Nº 2
Prepare la máquina para el mantenimiento; consulte .
La ubicación de los engrasadores y las cantidades necesarias son:
Cojinetes del pivote del eje de freno (5); consulte Figura 56

Casquillos del pivote del eje trasero (2); consulte Figura 57

Articulaciones esféricas del cilindro de dirección (2); consulte Figura 58

Articulaciones esféricas de la barra de acoplamiento (2); consulte Figura 58
Casquillos del pivote de dirección (2); consulte Figura 58.
Note: El engrasador superior del pivote de dirección debe lubricarse solamente cada año (2 aplicaciones).
Casquillos de los brazos de elevación (1 por unidad de corte); consulte Figura 59

Casquillos de los cilindros de elevación (2 por unidad de corte); consulte Figura 59
Casquillos de pivote de los brazos de elevación (1 por unidad de corte); consulte Figura 60
Bastidor de tiro de la unidad de corte (2 por unidad de corte); consulte Figura 60
Pivotes de los brazos de elevación de las unidades de corte (1 por unidad de corte); consulte Figura 60

Apague el motor antes de comprobar el aceite o añadir aceite al cárter.
No cambie la velocidad del regulador ni haga funcionar el motor a una velocidad excesiva.
| Intervalo de mantenimiento y servicio | Procedimiento de mantenimiento |
|---|---|
| Cada vez que se utilice o diariamente |
|
Prepare la máquina para el mantenimiento; consulte Preparación para el mantenimiento.
Abra el capó; consulte Apertura del capó.
Compruebe el indicador de mantenimiento en el extremo de la carcasa del filtro de aire (Figura 61).
Note: Si se muestra una banda roja en el indicador de mantenimiento, cambie el filtro de aire; consulte Cambio del filtro de aire.

Apriete la válvula de expulsión de polvo (Figura 62).

Cierre y enganche el capó; consulte Cierre del capó.
| Intervalo de mantenimiento y servicio | Procedimiento de mantenimiento |
|---|---|
| Cada 400 horas |
|
Revise el filtro del limpiador de aire únicamente cuando el indicador de mantenimiento muestre una banda roja. El cambiar el filtro antes de que sea necesario sólo aumenta la posibilidad de que entre suciedad en el motor al retirar el filtro.
Important: Asegúrese de que la tapa está bien asentada y que hace un buen sello con la carcasa del limpiador de aire.
Prepare la máquina para el mantenimiento; consulte Preparación para el mantenimiento.
Abra el capó; consulte Apertura del capó.
Inspeccione la carcasa del limpiador de aire en busca de desgaste o daños que pudieran causar una fuga de aire. Compruebe todo el sistema de admisión en busca de fugas, daños o abrazaderas sueltas.
Note: Sustituya cualquier pieza del limpiador de aire y del sistema de admisión que esté desgastada o dañada.
Tire hacia fuera del enganche y gire la tapa del limpiador de aire en sentido antihorario (Figura 63).

Retire la tapa de la carcasa del limpiador de aire.
Antes de retirar el filtro, utilice aire a baja presión (2.75 bar (40 psi), limpio y seco) para ayudar a retirar cualquier acumulación importante de residuos que esté aprisionada entre el exterior del filtro primario y la carcasa. Evite utilizar aire a alta presión, porque podría obligar a la suciedad a penetrar a través del filtro a la entrada.
Este proceso de limpieza evita que los residuos migren a la entrada de aire al retirar el filtro primario.
Retire el elemento del filtro primario (Figura 64).
Note: No limpie el elemento del filtro de aire.

Compruebe el elemento del filtro de seguridad (Figura 65). Si está sucio, cámbielo.
Important: No intente nunca limpiar el filtro de seguridad (Figura 65). Sustituya el filtro de seguridad por uno nuevo después de cada tres revisiones del filtro primario.

Inspeccione el filtro nuevo por si hubiera resultado dañado durante el transporte, comprobando el extremo sellante del elemento del filtro y la carcasa del filtro de aire.
Important: No utilice el elemento del filtro si está dañado.
Monte el elemento del filtro primario. Aplique presión al borde exterior del elemento para asentarlo en la carcasa del filtro de aire.
Important: No aplique presión al centro flexible del filtro.
Retire la válvula de expulsión de polvo de la tapa del limpiador de aire, limpie el hueco e instale la válvula de expulsión en la tapa.
Monte la tapa en la carcasa del limpiador de aire, orientando la válvula de expulsión de polvo hacia abajo - aproximadamente entre las 5 y las 7, visto desde el extremo.
Si se muestra una banda roja en el indicador de mantenimiento, pulse el botón de reinicio situado al final del indicador (Figura 66).

Cierre y enganche el capó; consulte Cierre del capó.
Utilice aceite de motor de alta calidad que cumpla o supere las especificaciones siguientes:
Categoría de servicio API: CH-4 o superior.
Use el siguiente grado de viscosidad del aceite del motor:
Aceite preferido: SAE 15W-40 (más de -18 °C (0° F))
Aceite alternativo: SAE 10W-30 o 5W-30 (todas las temperaturas)
Su distribuidor autorizado Toro dispone de aceite para motores Toro Premium, de viscosidad 15W-40 o 10W-30.
| Intervalo de mantenimiento y servicio | Procedimiento de mantenimiento |
|---|---|
| Cada vez que se utilice o diariamente |
|
El motor se suministra con aceite en el cárter; sin embargo, es necesario comprobar el nivel de aceite antes y después de la primera puesta en marcha del motor.
Note: El mejor momento para comprobar el aceite del motor es cuando el motor está frío, antes de arrancarlo al principio de la jornada. Si el motor ya ha estado en marcha, espere 10 minutos antes de comprobar el nivel de aceite.
Prepare la máquina para el mantenimiento; consulte Preparación para el mantenimiento.
Desenganche y levante el capó; consulte Apertura del capó.
En el lado derecho del motor, retire la varilla del tubo de la varilla (Figura 67) y limpie la varilla con un trapo limpio.

Inserte la varilla a fondo en el tubo de la varilla, luego retire la varilla y compruebe el nivel de aceite.
Note: Si el nivel de aceite está entre las marcas Lleno y Añadir, no es necesario añadir aceite; vaya al paso 7.
Si el nivel de aceite es bajo, retire el tapón de llenado de aceite (Figura 68), en el lado derecho del motor, y añada poco a poco pequeñas cantidades de aceite, comprobando el nivel frecuentemente, hasta que el nivel llegue a la marca Lleno de la varilla.
Important: Mantenga el nivel del aceite del motor entre los límites superior e inferior de la varilla. Si se agrega demasiado o demasiado poco aceite al motor, pueden producirse graves daños en el motor.

Instale el tapón de llenado de aceite y la varilla.
Cierre y enganche el capó; consulte Cierre del capó.
Aproximadamente 9.5 litros (10 cuartos de galón US) con el filtro.
| Intervalo de mantenimiento y servicio | Procedimiento de mantenimiento |
|---|---|
| Cada 500 horas |
|
Prepare la máquina para el mantenimiento; consulte Preparación para el mantenimiento.
Retire el tapón de llenado de aceite.
Coloque un recipiente debajo del tapón de vaciado.
Retire el tapón de vaciado (Figura 69) y deje que se vacíe el aceite en el recipiente.

Cuando el aceite deje de drenarse del motor, coloque el tapón de vaciado y apriételo a 54-63 N·m (40-47 pies-libra).
En el lado izquierdo del motor, gire el filtro de aceite en sentido antihorario para retirarlo (Figura 70).

Limpie con un trapo el adaptador del filtro.
Aplique una capa ligera de aceite limpio a la junta del filtro nuevo.
Note: No apriete el filtro demasiado.
Enrosque el filtro en el adaptador del filtro hasta que el filtro entre en contacto con el adaptador, luego apriete el filtro una vuelta más.
Añada aceite al motor e instale el tapón de llenado; consulte Especificación de aceite, Capacidad de aceite del cárter y Comprobación del nivel de aceite del motor.
Ajuste el cable del acelerador (Figura 71) de modo que la palanca del regulador, situada en el motor, entre en contacto con el perno de ajuste de velocidad alta al mismo tiempo en que el cable del acelerador entra en contacto con el extremo de la ranura del brazo de control.

Bajo ciertas condiciones, el combustible y los vapores del combustible son extremadamente inflamables y explosivos. Un incendio o explosión de combustible puede quemarle a usted y a otras personas y causar daños materiales.
Llene el depósito de combustible en el exterior, en una zona abierta y con el motor apagado y frío. Limpie cualquier combustible derramado.
No llene completamente el depósito de combustible. Añada combustible al depósito de combustible hasta que el nivel esté a 25 mm (1") por debajo de la parte superior del depósito, no del cuello de llenado. Este espacio vacío en el depósito permite la dilatación del combustible.
No fume nunca mientras maneja el combustible, y aléjese de llamas desnudas o lugares donde los vapores del combustible pueden incendiarse con una chispa.
Almacene el combustible en un recipiente limpio homologado y mantenga el tapón colocado.
| Intervalo de mantenimiento y servicio | Procedimiento de mantenimiento |
|---|---|
| Cada vez que se utilice o diariamente |
|
Prepare la máquina para el mantenimiento; consulte Preparación para el mantenimiento.
Abra el capó; consulte Apertura del capó.
Coloque un recipiente debajo del filtro del separador de combustible/agua (Figura 72).

Afloje la válvula de vaciado de la parte inferior del filtro del separador de combustible/agua y deje que se vacíen el combustible y el agua.
Cierre la válvula de vaciado de la parte inferior del filtro del separador de combustible/agua.
Cierre y enganche el capó; consulte Cierre del capó.
| Intervalo de mantenimiento y servicio | Procedimiento de mantenimiento |
|---|---|
| Cada 400 horas |
|
Aparque la máquina en una superficie nivelada, baje las unidades de corte, ponga el freno de estacionamiento, apague el motor y retire la llave.
Prepare la máquina para el mantenimiento; consulte Preparación para el mantenimiento.
Abra el capó; consulte Apertura del capó.
Compruebe que los tubos de combustible no están desgastados, deteriorados o dañados y que las conexiones no están sueltas.
Note: Repare o sustituya cualquier tubo de combustible que esté desgastado o dañado; apriete cualquier acoplamiento que esté suelto.
Cierre y enganche el capó; consulte Cierre del capó.
| Intervalo de mantenimiento y servicio | Procedimiento de mantenimiento |
|---|---|
| Cada 400 horas |
|
Drene el separador de combustible/agua; consulte los pasos 1 a 4 de Vaciado del separador de combustible/agua.
Limpie el filtro del separador de combustible/agua y el cabezal del filtro (Figura 73).

Retire el filtro del separador del cabezal del filtro.
Limpie la superficie de montaje del filtro del cabezal.
Aplique una capa de combustible limpio a la junta del filtro nuevo del separador.
Enrosque el filtro del separador en el cabezal del filtro hasta que la junta entre en contacto con la superficie de montaje, luego gire el filtro media vuelta más.
Compruebe que la válvula de vaciado de la parte inferior del filtro del separador de combustible/agua está cerrada.
Arranque el motor y compruebe que no hay fugas de combustible alrededor del filtro del separador y el cabezal del filtro.
Apague el motor, retire la llave, y cierre y enganche el capó; consulte Cierre del capó.
| Intervalo de mantenimiento y servicio | Procedimiento de mantenimiento |
|---|---|
| Cada 800 horas |
|
| Antes del almacenamiento |
|
Vacíe y limpie el depósito si se contamina el sistema de combustible o si la máquina ha de almacenarse durante un periodo de tiempo extendido. Utilice combustible limpio para enjuagar el depósito.
Prepare la máquina para el mantenimiento; consulte Preparación para el mantenimiento.
Coloque un recipiente de vaciado debajo de la válvula de vaciado en el fondo del depósito de combustible (Figura 74).

Abra la válvula de vaciado y deje que se drene el combustible.
Si es necesario, añada combustible limpio al depósito de combustible para limpiarlo.
Cierre la válvula de vaciado.
Note: Cuando añada combustible al depósito, compruebe que no hay fugas en la válvula de vaciado.
Aparque la máquina en una superficie nivelada, baje las unidades de corte, ponga el freno de estacionamiento, apague el motor y retire la llave.
El tubo de entrada de combustible, situado dentro del depósito de combustible, lleva un filtro para evitar que entren residuos en el sistema de combustible. Retire el tubo de la entrada de combustible y limpie el filtro según sea necesario.
Prepare la máquina para el mantenimiento; consulte Preparación para el mantenimiento.
Incline el asiento; consulte Inclinación del asiento.
Retire la abrazadera que sujeta la manguera al tubo de aspiración de combustible (Figura 75).

Retire el tubo de aspiración de combustible y el casquillo de goma del depósito.
Limpie el filtro del extremo del tubo de aspiración de combustible (Figura 75).
Introduzca el tubo de aspiración de combustible y el casquillo de goma en el depósito hasta que el casquillo quede asentado en el depósito.
Monte la manguera en el tubo de aspiración de combustible y sujétela con la abrazadera.
Baje y enganche el asiento; consulte Bajada el asiento.
Desconecte la batería antes de reparar la máquina. Desconecte primero el terminal negativo y por último el positivo. Conecte primero el terminal positivo y por último el negativo.
Cargue la batería en una zona abierta y bien ventilada, lejos de chispas y llamas. Desenchufe el cargador antes de conectar o desconectar la batería. Lleve ropa protectora y utilice herramientas aisladas.
El electrolito de la batería contiene ácido sulfúrico, que es mortal si es ingerido y causa quemaduras graves.
No beba electrolito y evite el contacto con la piel, los ojos y la ropa. Lleve gafas de seguridad para protegerse los ojos, y guantes de goma para protegerse las manos.
Llene la batería en un lugar que tenga disponible agua limpia para enjuagar la piel.
Prepare la máquina para el mantenimiento; consulte Preparación para el mantenimiento.
Abra la tapa del compartimento de la batería; consulte Acceso al compartimento de la batería.
Desconecte el cable negativo de la batería (Figura 76).

Retire la cubierta de goma de la abrazadera del cable positivo de la batería, y desconecte el cable positivo de la batería.
Conecte el cable positivo (rojo) al borne positivo (+) de la batería (Figura 77).

Conecte el cable negativo (negro) de la batería al borne negativo (-) de la batería.
Aplique una capa de grasa Grafo 112X (Nº de Pieza Toro 505-47) a los bornes de la batería y a las abrazaderas de los cables de la batería.
Coloque la cubierta de goma sobre la abrazadera del cable positivo de la batería.
Cierre y enganche la tapa del compartimento de la batería.
Desconecte la batería; consulte Desconexión de la batería.
Conecte un cargador de batería de 3 a 4 amperios a los bornes de la batería.
Cargue la batería a un ritmo de 3 a 4 amperios durante 4 a 8 horas.
Cuando la batería esté cargada, desconecte el cargador de la toma de electricidad, luego de los bornes de la batería.
Conecte la batería; consulte Conexión de la batería.
| Intervalo de mantenimiento y servicio | Procedimiento de mantenimiento |
|---|---|
| Cada 50 horas |
|
Note: Mantenga limpios los bornes y toda la carcasa de la batería, porque una batería sucia se descargará lentamente.
Prepare la máquina para el mantenimiento; consulte Preparación para el mantenimiento.
Abra la tapa del compartimento de la batería; consulte Acceso al compartimento de la batería.
Compruebe la condición de la batería.
Note: Si la batería está desgastada o dañada, cámbiela.
Desconecte los cables de la batería, y retire la batería de la máquina; consulte Desconexión de la batería.
Lave toda la caja de la batería con una solución de bicarbonato sódico (bicarbonato) y agua.
Enjuague la caja con agua limpia.
Monte la batería en la máquina y conecte los cables de la batería; consulte Conexión de la batería.
Cierre y enganche la tapa del compartimento de la batería.
El bloque de fusibles está en el compartimento de la batería.
Prepare la máquina para el mantenimiento; consulte Preparación para el mantenimiento.
Abra la tapa del compartimento de la batería; consulte Acceso al compartimento de la batería.
Cambie el fusible fundido (Figura 78) por otro del mismo tipo y amperaje.


Cierre y enganche la tapa del compartimento de la batería.
| Intervalo de mantenimiento y servicio | Procedimiento de mantenimiento |
|---|---|
| Cada vez que se utilice o diariamente |
|
Important: Mantenga la presión recomendada de todos los neumáticos para asegurar una buena calidad de corte y un rendimiento correcto de la máquina. No use los neumáticos con presiones menores que las recomendadas.
Prepare la máquina para el mantenimiento; consulte Preparación para el mantenimiento.
Mida la presión de aire de los neumáticos.
Note: La presión correcta de los neumáticos es de 0.83-1.03 bar (12-15 psi).
Si es necesario, añada o quite aire del neumático.
Repita los pasos 2 y 3 en los demás neumáticos.
| Intervalo de mantenimiento y servicio | Procedimiento de mantenimiento |
|---|---|
| Después de las primeras 8 horas |
|
| Cada 200 horas |
|
Si no se mantiene el par de apriete correcto de las tuercas de las ruedas, podría producirse un fallo o la pérdida de una rueda, lo que podría provocar lesiones personales.
Apriete las tuercas de las ruedas delanteras y traseras a 115-136 N·m (85-100 pies-libra) después de 1-4 horas de operación, y otra vez después de 8 horas de operación. A partir de entonces, apriete las tuercas de las ruedas cada 200 horas.
Prepare la máquina para el mantenimiento; consulte Preparación para el mantenimiento.
Apriete las tuercas de las ruedas a 115-136 N·m (85-100 pies-libra).
Note: Las tuercas de las ruedas delanteras son ½-20 UNF; las tuercas de las ruedas traseras son M12 x 1.6-6H (métrico).
| Intervalo de mantenimiento y servicio | Procedimiento de mantenimiento |
|---|---|
| Cada 400 horas |
|
Una máquina colocada sobre un gato es inestable y podría caerse, hiriendo a cualquier persona que se encuentre debajo.
No arranque el motor mientras la máquina está elevado con un gato.
Retire siempre la llave del interruptor antes de bajarse de la máquina.
Bloquee las ruedas antes de elevar la máquina con un gato.
Apoye la máquina sobre gatos fijos.
No debe haber holgura axial entre las transmisiones planetarias/ruedas de tracción (es decir, las ruedas no deben desplazarse al empujarlas o tirar de ellas en sentido paralelo al eje).
Prepare la máquina para el mantenimiento; consulte Preparación para el mantenimiento.
Calce las ruedas traseras y eleve la parte delantera de la máquina; consulte Especificaciones y Ubicación de los puntos de apoyo del gato.
Apoye el bastidor delantero de la máquina sobre gatos fijos.
Agarre una de las ruedas motrices delanteras con las manos y empuje/tire de ella en sentido paralelo al eje, observando cualquier movimiento.

Repita el paso 4 con la otra rueda motriz.
Si se mueve cualquiera de las ruedas, póngase en contacto con su distribuidor autorizado Toro para que reacondicione la transmisión planetaria.
| Intervalo de mantenimiento y servicio | Procedimiento de mantenimiento |
|---|---|
| Cada 400 horas |
|
Especificación del lubricante: aceite para engranajes SAE 85W-140 de alta calidad
Aparque la máquina en una superficie nivelada y coloque la rueda con el tapón de llenado en la posición de las 12, el tapón de verificación en la posición de las 3 y el tapón de vaciado en la posición de las 6 (Figura 80).

Retire el tapón de verificación de la posición de las 3 (Figura 80).
El aceite debe llegar a la parte inferior del orificio del tapón de verificación.

Si el nivel de aceite es bajo, retire el tapón de llenado de la posición de las 12 y añada aceite hasta que empiece a salir del orificio en la posición de las 3.
Compruebe que las juntas tóricas de los tapones no están desgastadas ni dañadas.
Note: Cambie la(s) junta(s) tórica(s) si es necesario.
Instale la(s) bujía(s).
Repita los pasos 1 a 5 con el engranaje planetario del otro lado de la máquina.
| Intervalo de mantenimiento y servicio | Procedimiento de mantenimiento |
|---|---|
| Después de las primeras 50 horas |
|
| Cada 800 horas |
|
Especificación del lubricante: aceite para engranajes SAE 85W-140 de alta calidad
Capacidad de lubricante del alojamiento de freno y planetario: 0.65 litros (22 onzas fluidas)
Aparque la máquina en una superficie nivelada y coloque la rueda con el tapón de llenado en la posición de las 12, el tapón de verificación en la posición de las 3 y el tapón de vaciado en la posición de las 6; consulte la Figura 80 en Comprobación del lubricante de la caja de engranajes planetarios.
Retire el tapón de llenado en la posición de las 12 y el tapón de verificación en la posición de las 3 (Figura 82).

Coloque un recipiente debajo del cubo planetario, retire el tapón de vaciado en la posición de las 6 y deje que el aceite se drene por completo (Figura 82).
Compruebe que las juntas tóricas de los tapones de llenado, verificación y drenaje no están desgastadas ni dañadas.
Note: Cambie la(s) junta(s) tórica(s) si es necesario.
Instale el tapón de vaciado en el orificio de vaciado del engranaje planetario (Figura 82).
Coloque un recipiente debajo del alojamiento del freno, retire el tapón y deje que se drene por completo el aceite (Figura 83).

Compruebe que la junta tórica no está desgastada o dañada, e instale el tapón de vaciado en el alojamiento del freno.
Note: Cambie la junta tórica si es necesario.
Llene lentamente la transmisión planetaria por el orificio de llenado con 0.65 L (22 onzas fluidas) de lubricante para engranajes SAE 85W-140 de alta calidad.
Important: Si se llena la transmisión planetaria antes de haber agregado 0.65 L (22 onzas fluidas) de aceite, espere una hora o instale el tapón y desplace la máquina unos 3 m (10') para distribuir el aceite por la sistema de frenado. Luego, retire el tapón y añada el aceite restante.

Instale el tapón de llenado y el tapón de verificación.
Limpie con un trapo los alojamientos del planetario y del freno (Figura 85).

Repita los pasos 1 a 7 de Vaciado del engranaje planetario y los pasos 1 a 3 de este procedimiento con el conjunto de planetario/freno del otro lado de la máquina.
| Intervalo de mantenimiento y servicio | Procedimiento de mantenimiento |
|---|---|
| Cada vez que se utilice o diariamente |
|
| Cada 400 horas |
|
Especificación del aceite del eje: Aceite para engranajes SAE 85W-140
Prepare la máquina para el mantenimiento; consulte Preparación para el mantenimiento
Retire un tapón de verificación de un extremo de la carcasa del eje (Figura 86).

Compruebe el nivel de aceite de engranajes del eje a través del orificio del tapón de verificación.
Note: El nivel de aceite del engranaje es correcto si el nivel de aceite llega al borde inferior del orificio del tapón de verificación.
Si el nivel de aceite de engranajes es bajo, retire el tapón de llenado y añada aceite del tipo especificado para que el nivel de aceite llegue al borde inferior del orificio del tapón de verificación.
Instale el tapón de verificación.
Si se retiró, instale el tapón de llenado.
| Intervalo de mantenimiento y servicio | Procedimiento de mantenimiento |
|---|---|
| Después de las primeras 200 horas |
|
| Cada 800 horas |
|
Capacidad de aceite del eje trasero: 2.4 litros (80 onzas fluidas)
Prepare la máquina para el mantenimiento; consulte Preparación para el mantenimiento.
Limpie la zona alrededor de los tres tapones de vaciado (Figura 87) - uno en cada caja de engranajes cónicos (por fuera de las carcasas de los ejes) y uno en la caja de engranajes central.

Retire cada tapón de vaciado (Figura 87) y deje que se vacíe el aceite en un recipiente de vaciado.
Retire los 2 tapones de verificación y el tapón de llenado de la carcasa del eje para facilitar el vaciado del aceite (Figura 88).

Instale los 3 tapones de vaciado y el tapón de verificación en la carcasa del eje con el respiradero.
En el orificio del tapón de llenado del eje, llene el eje con aproximadamente 2.37 L (80 onzas fluidas) de aceite para engranajes 85W-140, o hasta que el nivel de aceite llegue al borde inferior del orificio.
Instale el tapón de verificación y el tapón de llenado.
| Intervalo de mantenimiento y servicio | Procedimiento de mantenimiento |
|---|---|
| Cada vez que se utilice o diariamente |
|
| Cada 400 horas |
|
Especificación del aceite de la caja del reductor de engranajes: Aceite para engranajes SAE 85W-140
Prepare la máquina para el mantenimiento; consulte Preparación para el mantenimiento.
Retire el tapón de verificación/llenado del lado izquierdo de la caja del reductor de engranajes (Figura 89).

Compruebe que la junta tórica del tapón no está desgastada o dañada.
Compruebe el nivel de aceite de la caja de engranajes.
Note: El nivel de aceite del engranaje es correcto si el nivel de aceite llega al borde inferior del orificio de verificación/llenado.
Si el nivel de aceite del engranaje es bajo, añada suficiente aceite del tipo especificado para que el nivel llegue al borde inferior del orificio del tapón de verificación/llenado.
Instale el tapón de verificación/llenado.

Prepare la máquina para el mantenimiento; consulte Preparación para el mantenimiento.
Utilice la Tabla de espaciadores de ajuste de la velocidad de siega para determinar la velocidad máxima de avance durante la siega, y la posición de los espaciadores cortos que limitan la velocidad de siega; consulte Tabla de espaciadores de ajuste de la velocidad de siega.
Note: Cada espaciador corto ajusta la velocidad de siega en 0.8 km/h (0.5 mph).
Debajo del pedal de tracción, retire el perno de tope y la contratuerca con arandela prensada que sujetan los espaciadores al bloque de tope de siega (Figura 91).

Coloque el espaciador largo encima del bloque de tope de siega.
Coloque los espaciadores cortos tal y como se determinó en el paso 2.
Sujete los espaciadores al bloque de tope de siega con el perno de tope y la contratuerca con arandela prensada que retiró en el paso 3.
Note: Debe instalar todos los 6 espaciadores cortos y el espaciador largo.
Ajuste la velocidad de siega en el InfoCenter; consulte Ajuste de la velocidad de siega en el InfoCenter.
El ajuste de la velocidad de siega del InfoCenter es utilizado por el TEC para ajustar la velocidad de los molinetes de las unidades de corte a la velocidad máxima de siega.
En el InfoCenter, acceda al MENú PRINCIPAL.
En el MENú PRINCIPAL, pulse el botón central hasta que quede resaltada la opción CONFIGURACIóN, y pulse el botón derecho.
En el menú CONFIGURACIóN, pulse el botón central hasta que quede resaltada la opción MENúS PROTEGIDOS, y pulse el botón derecho.
En la pantalla MENúS PROTEGIDOS, introduzca el código PIN; consulte Menús protegidos.
En el menú CONFIGURACIóN, pulse el botón central hasta que quede resaltada la opción VEL. DE SIEGA, y pulse el botón derecho.
En la pantalla VEL. DE SIEGA, pulse el botón central o el botón derecho hasta que la velocidad de siega indicada en el InfoCenter sea la misma que la velocidad máxima de siega - velocidad de avance que determinó en el paso 2 de Configuración de los espaciadores de ajuste de la velocidad de siega.
Note: El ajuste de la velocidad de siega se aumenta o reduce en incrementos de 0.8 km/h (0.5 mph).

Note: Se enciende el testigo y se muestra el Aviso Nº 176 (Velocidad de los molinetes cambiada).

Pulse el botón izquierdo para salir del menú Configuración.
La máquina no debe desplazarse al soltarse el pedal de tracción. Si se mueve, ajuste el punto muerto de la transmisión de tracción.
Aparque la máquina en una superficie nivelada, apague el motor, ponga el control de velocidad en el intervalo bajo, y baje las unidades de corte.
Pise solamente el pedal de freno derecho y ponga el freno de estacionamiento.
Eleve con un gato la parte izquierda de la máquina hasta que la rueda delantera izquierda no toque el suelo del taller. Coloque soportes fijos debajo de la máquina para evitar que se caiga accidentalmente; consulte Especificaciones y Ubicación de los puntos de apoyo del gato.
Arranque el motor y déjelo funcionar a ralentí bajo.
Ajuste las contratuercas de la rótula para desplazar la varilla de tracción hacia adelante, con objeto de eliminar el movimiento de la máquina hacia adelante, o hacia atrás para eliminar el movimiento hacia atrás (Figura 94 y Figura 95).


Cuando la rueda deje de girar, apriete las contratuercas para afianzar el ajuste.
Apague el motor y retire la llave.
Retire los soportes fijos y baje la máquina al suelo.
Haga una prueba de conducción de la máquina para asegurarse de que no se desplaza indebidamente.
| Intervalo de mantenimiento y servicio | Procedimiento de mantenimiento |
|---|---|
| Cada 800 horas |
|
Prepare la máquina para el mantenimiento; consulte Preparación para el mantenimiento.
Mida la distancia entre centros (a la altura del eje) en la parte delantera y trasera de los neumáticos de dirección.
Note: La distancia delantera debe ser de 3 mm (⅛") menos que la trasera (Figura 96).

En el eje trasero, retire la chaveta y la tuerca de seguridad de cualquiera de las rótulas de la barra de acoplamiento (Figura 97).

Separe la rótula de la barra de acoplamiento del brazo de dirección de la carcasa del eje.
Afloje las abrazaderas en ambos extremos de las barras de acoplamiento (Figura 97).
Gire la articulación esférica retirada una (1) vuelta completa hacia dentro o hacia fuera.
Apriete la abrazadera en el extremo desconectado de la barra de acoplamiento.
Gire el conjunto completo de la barra de acoplamiento una vuelta completa en el mismo sentido (hacia dentro o hacia fuera).
Apriete la abrazadera en el extremo conectado de la barra de acoplamiento.
Monte la rótula de la barra de acoplamiento en el brazo de dirección de la carcasa del eje con la tuerca de seguridad.
Mida la convergencia de las ruedas; consulte Comprobación de la alineación de las ruedas traseras.
Si es necesario, retire la tuerca de seguridad y repita los pasos 2 a 9.
Si la diferencia entre las medidas delantera y trasera es de 3 mm (⅛") menos, apriete la tuerca de seguridad e instale una chaveta nueva.
La ingesta de refrigerante de motor puede provocar envenenamiento; manténgalo fuera del alcance de niños y animales domésticos.
El tocar el radiador y las piezas que lo rodean cuando están calientes, o el recibir una descarga de refrigerante caliente bajo presión, puede causar quemaduras graves.
Siempre deje que el motor se enfríe durante al menos 15 minutos antes de retirar el tapón del radiador.
Utilice un trapo al abrir el tapón del radiador, y ábralo lentamente para permitir la salida del vapor.
El depósito de refrigerante se llena en fábrica con una solución al 50 % de agua y refrigerante de etilenglicol de larga duración. Compruebe el nivel de refrigerante antes de arrancar el motor por primera vez y luego a diario; consulte Comprobación del nivel de refrigerante.
Los siguientes refrigerantes comerciales o su equivalente especificado por el fabricante, que cumpla las especificaciones de refrigerante de larga duración:
|
Ford (Motorcraft™) |
WSS-M97B44-D |
|
FCA – Chrysler (Mopar™) |
MS-12106 |
|
General Motors (AC Delco™) |
GM6277M (Dex-Cool™) |
|
GMW 3420 |
|
|
Volkswagen |
G12 |
|
G12+ |
|
|
G12++ |
|
|
Refrigerantes que cumplan las normas técnicas ASTM D3306 o D4985, o SAE J1034, J814 o 1941. |
|
|
Important: No confíe en el color del refrigerante para identificar la diferencia entre tipos de refrigerante convencionales (IAT) y de larga duración (OAT).Los fabricantes de refrigerante pueden teñir los refrigerantes de larga duración (OAT) con uno de los siguientes colores: rojo, rosa, naranja, amarillo, azul, verde azulado, violeta o verde. |
|
|
Tipo de refrigerante de etilenglicol |
Tipo de inhibidor de corrosión |
Intervalo de mantenimiento |
|
Anticongelante de larga duración |
Tecnología de ácidos orgánicos (OAT) |
5 años |
|
Anticongelante convencional (verde) |
Tecnología de ácidos inorgánicos (OAT) |
2 años |
Note: Al añadir refrigerante a la máquina, no dañará el sistema de refrigeración si mezcla anticongelante convencional (IAT) con anticongelante de larga duración (OAT). No obstante, la mezcla de diferentes tipos de anticongelante degrada el atributo de larga duración/vida extendida de la formulación OAT.
Important: El intervalo de servicio de una mezcla de refrigerante convencional (IAT) y de larga duración (OAT) – cualquiera que sea la proporción – es el del refrigerante con el intervalo de mantenimiento más corto: 2 años.
| Intervalo de mantenimiento y servicio | Procedimiento de mantenimiento |
|---|---|
| Cada vez que se utilice o diariamente |
|
Si el motor ha estado en marcha, puede haber fugas de refrigerante caliente y bajo presión, que puede causar quemaduras.
No retire el tapón del radiador cuando el motor está en marcha.
Utilice un trapo al abrir el tapón del radiador, y ábralo lentamente para permitir la salida del vapor.
Prepare la máquina para el mantenimiento; consulte Comprobación del nivel de refrigerante.
Desenganche y abra el capó, y espere a que el motor se enfríe; consulte Apertura del capó.
Retire con cuidado el tapón del radiador (Figura 98).

Compruebe el nivel de refrigerante del radiador.
Note: El nivel de refrigerante es correcto si llega a la parte superior del cuello de llenado del radiador (Figura 98).
Compruebe el nivel de refrigerante del depósito de expansión.
Note: El nivel de refrigerante es correcto si llega a la marca LLENO del depósito de expansión.
Si el nivel de refrigerante es bajo, añada refrigerante del tipo especificado al radiador, al depósito de expansión, o ambos; consulte Especificación del refrigerante.
Instale el tapón del radiador y el tapón del depósito de expansión.
Cierre y enganche el capó; consulte Cierre del capó.
| Intervalo de mantenimiento y servicio | Procedimiento de mantenimiento |
|---|---|
| Cada vez que se utilice o diariamente |
|
Prepare la máquina para el mantenimiento; consulte Preparación para el mantenimiento.
Desenganche y abra la rejilla trasera (Figura 99).

Limpie ambos lados de la rejilla.
Retire la rejilla de los goznes y retire la rejilla de la máquina.
Abra el capó; consulte Apertura del capó.
Limpie a fondo ambos lados de la zona del enfriador de aceite/radiador (Figura 100) con aire comprimido. Empezando en la parte delantera, sople los residuos hacia la parte trasera. Luego, limpie desde atrás, soplando los residuos hacia adelante. Repita el procedimiento varias veces hasta eliminar todos los residuos.
Important: Si se limpia el enfriador de aceite o el radiador con agua, pueden producirse daños prematuros en los componentes por corrosión y compactación de los residuos.

Cierre y enganche el capó, Cierre del capó.
Monte la rejilla en los goznes (Figura 101).

Cierre y enganche la rejilla.
Ajuste los frenos de servicio si el pedal de freno tiene más de 13 mm (½") de holgura, o si los frenos patinan. La holgura es la distancia que recorre el pedal de freno antes de que se note resistencia en el pedal de freno.
Prepare la máquina para el mantenimiento; consulte Preparación para el mantenimiento.
Desengrane el enganche de bloqueo de los pedales de freno (Figura 102) para que ambos pedales puedan funcionar de forma independiente.

Afloje la contratuerca delantera del extremo roscado del cable de freno (Figura 103).


Para reducir la holgura de los pedales de freno, apriete la contratuerca trasera para mover el cable hacia atrás hasta que los pedales de freno tengan una holgura de 0-13 mm (0"-½").
Note: Asegúrese de que no hay tensión en el cable de freno con el pedal suelto.
Apriete la contratuerca delantera una vez que los frenos estén ajustados correctamente.
Si es necesario, repita 3 los pasos a 5 en el otro cable de freno.
| Intervalo de mantenimiento y servicio | Procedimiento de mantenimiento |
|---|---|
| Cada 100 horas |
|
Compruebe la condición y la tensión de las correas (Figura 104) cada 100 horas de operación.
Aparque la máquina en una superficie nivelada, baje las unidades de corte, ponga el freno de estacionamiento, apague el motor y retire la llave.
Abra el capó; consulte Apertura del capó.
Compruebe la condición de la correa del alternador.
Note: Si la correa está desgastada o dañada, cámbiela.
Compruebe la tensión de la correa.
Note: La correa de la correa es correcta si la correa se desvía 10 mm (⅜") al aplicar una fuerza de 45 N (10 libras) a la correa en el punto intermedio entre las poleas.
Si la desviación de la correa es superior o inferior a 10 mm (⅜"), afloje los pernos de montaje del alternador (Figura 104).

Aumente o reduzca la tensión de la correa del alternador y apriete los pernos de montaje.
Verifique de nuevo la desviación de la correa para asegurarse de que la tensión es la correcta.
Cierre y enganche el capó; consulte Cierre del capó.
Busque atención médica inmediatamente si el fluido hidráulico penetra en la piel. Cualquier fluido inyectado debe ser extraído quirúrgicamente por un médico en el espacio de pocas horas.
Asegúrese de que todas las mangueras y líneas de fluido hidráulico están en buenas condiciones de uso, y que todos los acoplamientos y conexiones hidráulicos están apretados, antes de aplicar presión al sistema hidráulico.
Mantenga el cuerpo y las manos alejados de fugas pequeñas o boquillas que expulsan fluido hidráulico a alta presión.
Utilice un cartón o un papel para buscar fugas hidráulicas.
Alivie de manera segura toda presión en el sistema hidráulico antes de realizar trabajo alguno en el sistema hidráulico.
| Intervalo de mantenimiento y servicio | Procedimiento de mantenimiento |
|---|---|
| Cada vez que se utilice o diariamente |
|
Inspeccione las líneas y mangueras hidráulicas para comprobar que no tienen fugas, que no están torcidas, que los soportes no están sueltos, y que no hay desgaste, elementos sueltos, o deterioro causado por agentes ambientales o químicos. Haga todas las reparaciones necesarias antes de utilizar la máquina.
El depósito se llena en fábrica con fluido hidráulico de alta calidad. Compruebe el nivel del fluido hidráulico antes de arrancar el motor por primera vez y luego a diario; consulte Comprobación del nivel de fluido hidráulico.
Fluido hidráulico recomendado: Fluido hidráulico Toro PX Extended Life; disponible en recipientes de 19 litros (5 galones US) o en bidones de 208 litros (55 galones US).
Note: Una máquina que utiliza el fluido de recambio recomendado requiere cambios menos frecuentes de fluido y filtro.
Fluidos hidráulicos alternativos: Si no está disponible el fluido hidráulico Toro PX Extended Life, puede utilizar otro fluido hidráulico convencional a base de petróleo cuyas especificaciones estén dentro de los intervalos citados para todas las propiedades de materiales siguientes y que cumpla las normas industriales vigentes. No utilice fluido sintético. Consulte a su distribuidor de lubricantes para identificar un producto satisfactorio.
Note: Toro no asume ninguna responsabilidad por los daños producidos por las sustituciones indebidas, por lo que debe utilizar únicamente productos de fabricantes reputados que respalden sus recomendaciones.
| Propiedades de materiales: | ||
| Viscosidad, ASTM D445 | cSt a 40 °C (104 °F) 44 a 48 | |
| Índice de viscosidad ASTM D2270 | 140 o más | |
| Punto de descongelación, ASTM D97 | -37 °C a -45 °C (-34 °F a -49 °F) | |
| Especificaciones industriales: | Eaton Vickers 694 (I-286-S, M-2950-S/35VQ25 o M-2952-S) | |
Note: La mayoría de los fluidos hidráulicos son casi incoloros, por lo que es difícil detectar fugas. Está disponible un aditivo de tinte rojo para el fluido hidráulico, en botellas de 20 ml (0.67 onzas fluidas). Una botella es suficiente para 15–22 litros (4–6 galones US) de fluido hidráulico. Solicite la pieza N.º 44-2500 a su distribuidor autorizado Toro.
Important: El fluido hidráulico biodegradable sintético Toro Premium es el único fluido biodegradable sintético homologado por Toro. Este fluido es compatible con los elastómeros usados en los sistemas hidráulicos de Toro, y es apropiado para un amplio intervalo de temperaturas. Este fluido es compatible con aceites minerales convencionales, pero para obtener la máxima biodegradabilidad y rendimiento es necesario purgar el sistema hidráulico completamente de fluido convencional. Su distribuidor autorizado Toro dispone de este aceite en recipientes de 19 litros (5 galones US) o 208 litros (55 galones US).
| Intervalo de mantenimiento y servicio | Procedimiento de mantenimiento |
|---|---|
| Cada vez que se utilice o diariamente |
|
El depósito se llena en fábrica con fluido hidráulico de alta calidad.
Prepare la máquina para el mantenimiento; consulte Preparación para el mantenimiento.
Limpie la zona alrededor del cuello de llenado y el tapón del depósito hidráulico (Figura 105).

Retire el tapón del depósito hidráulico.
Retire la varilla del cuello de llenado y límpiela con un paño limpio.
Inserte la varilla en el cuello de llenado; luego retírela y compruebe el nivel del fluido.
El nivel correcto de fluido hidráulico está entre la marca Lleno y la marca Añadir de la varilla.
Si el nivel es bajo, añada fluido hidráulico del tipo especificado hasta que el fluido llegue a la marca Lleno.
Instale la varilla y el tapón del depósito hidráulico en el depósito.
| Intervalo de mantenimiento y servicio | Procedimiento de mantenimiento |
|---|---|
| Cada 800 horas |
|
| Cada 1000 horas |
|
Utilice los siguientes filtros hidráulicos Toro:
|
Nombre |
Número de pieza Toro |
Ubicación |
|
Filtro de retorno |
94-2621 |
Debajo del perfil derecho del bastidor. |
|
Filtro de carga |
75-1310 |
Debajo de la chapa del asiento. |
|
Important: El uso de otro tipo de filtro puede anular la garantía de algunos componentes. |
||
Prepare la máquina para el mantenimiento; consulte Preparación para el mantenimiento.
Incline el asiento; consulte Inclinación del asiento.
Limpie la zona alrededor del filtro de carga y el cabezal del filtro (Figura 106).

Coloque un recipiente debajo del filtro y retire el filtro.
Limpie con un trapo limpio la superficie de montaje del filtro del cabezal del filtro.
Lubrique la junta del filtro nuevo y llene el filtro con el fluido hidráulico especificado; consulte Especificación del fluido hidráulico.
Enrosque el filtro en el cabezal del filtro hasta que la junta toque la placa de montaje, luego apriete el filtro media vuelta más.
Limpie la zona alrededor del filtro de retorno y del cabezal del filtro (Figura 107).

Coloque un recipiente de vaciado debajo del filtro de retorno, y retire el filtro.
Limpie con un trapo limpio la superficie de montaje del filtro del cabezal del filtro.
Lubrique la junta del filtro nuevo, llene el filtro con el fluido hidráulico especificado, y luego vacíe el filtro; consulte Especificación del fluido hidráulico.
Enrosque el filtro en el cabezal del filtro hasta que la junta toque la placa de montaje, luego apriete el filtro media vuelta más.
Arranque el motor y déjelo funcionar durante unos 2 minutos para purgar el aire del sistema.
Compruebe que no hay fugas hidráulicas alrededor de los filtros y los cabezales.
Note: Repare cualquier fuga de fluido hidráulico.
Apague el motor y retire la llave.
Baje el asiento; consulte Bajada el asiento.
28.4 litros (7.5 galones US); consulte Especificación del fluido hidráulico
| Intervalo de mantenimiento y servicio | Procedimiento de mantenimiento |
|---|---|
| Cada 800 horas |
|
| Cada 2000 horas |
|
Si el fluido se contamina, póngase en contacto con un distribuidor autorizado local de Toro, porque el sistema debe ser purgado. El fluido contaminado tiene un aspecto lechoso o negro en comparación con el fluido limpio.
Capacidad del recipiente de vaciado: 30 L (8 galones US) o más
Prepare la máquina para el mantenimiento; consulte Preparación para el mantenimiento.
Abra el capó; consulte Apertura del capó.
Coloque el recipiente de vaciado debajo del depósito hidráulico (Figura 108).

Desconecte la manguera de retorno de la carcasa del acoplamiento recto situado en la parte inferior del depósito y vacíe el fluido hidráulico.
Cuando el fluido hidráulico se haya drenado, monte la manguera de retorno de la carcasa en el acoplamiento del depósito.
Apriete el acoplamiento de manguera a 50-63 N·m (37-47 pies-libra).
Llene el depósito con fluido hidráulico del tipo especificado; consulte Especificación del fluido hidráulico y Capacidad de fluido hidráulico.
Important: Utilice solamente los fluidos hidráulicos especificados. Otros fluidos podrían causar daños en el sistema.
Instale la varilla y el tapón del depósito hidráulico en el depósito.

Arranque el motor y accione todos los controles hidráulicos para distribuir el fluido hidráulico por todo el sistema.
Compruebe que no hay fugas hidráulicas, apague el motor y retire la llave.
Repare cualquier fuga hidráulica.
Cierre y enganche el capó; consulte Cierre del capó.
Compruebe el nivel de fluido; consulte Comprobación del nivel de fluido hidráulico.
Note: Si es necesario, añada suficiente para elevar el nivel hasta la marca Lleno de la varilla. No llene demasiado el depósito hidráulico.
Una cuchilla o una contracuchilla desgastada o dañada puede romperse, y un trozo de la cuchilla podría ser arrojado hacia usted u otra persona, lo que puede provocar lesiones personales graves o la muerte.
Inspeccione periódicamente las cuchillas y las contracuchillas, para asegurarse de que no presentan desgaste ni daños excesivos.
Tenga cuidado al revisar las cuchillas. Lleve guantes y extreme las precauciones durante su mantenimiento. Las cuchillas y las contracuchillas solo se pueden cambiar o afilar; no las enderece ni las suelde nunca.
En máquinas con múltiples unidades de corte, tenga cuidado al hacer rotar una unidad de corte; puede hacer que roten los molinetes de las demás unidades de corte.
El contacto con los molinetes u otras piezas en movimiento puede causar lesiones personales.
Mantenga las manos, los pies y la ropa alejados de los molinetes u otras piezas en movimiento.
No intente nunca girar los molinetes con la mano o con el pie con el motor en marcha.
Note: El Manual de Afilado de Cortacéspedes de Molinete y Giratorios de Toro, Impreso Nº 80-300SL, contiene instrucciones y procedimientos adicionales relacionados con el autoafilado.
Aparque la máquina en una superficie nivelada, baje las unidades de corte, ponga el freno de estacionamiento, apague el motor y ponga el interruptor de la TDF en la posición de DESENGRANAR.
Abra el capó; consulte Apertura del capó.
Realice los ajustes iniciales de molinete a contracuchilla apropiados para el autoafilado en todas las unidades de corte que se vayan a autoafilar; consulte el Manual del operador de la unidad de corte.
Gire las palancas de autoafilado delantera, trasera o ambas a la posición R (autoafilado) (Figura 110).


Si se cambia la velocidad del motor durante el autoafilado, los molinetes pueden atascarse.
No cambie nunca la velocidad del motor durante el autoafilado.
Realice el autoafilado únicamente a velocidad de ralentí bajo.
Note: Durante el autoafilado, las unidades delanteras funcionan todas juntas, y las unidades traseras funcionan juntas.
Asegúrese de que el pedal de tracción está en Punto muerto y el freno de estacionamiento está puesto.
Arranque el motor y déjelo en marcha a velocidad de ralentí bajo.
Gire la palanca del limitador de la velocidad de siega hacia adelante a la posición de SIEGA (Figura 112).

Mueva el mando de la TDF a la posición de ENGRANAR.
Mueva la palanca Bajar/Segar/Elevar hacia adelante.
Note: Los molinetes que se van a autoafilar se ponen en marcha con rotación hacia atrás.
Aplique pasta de autoafilado a los molinetes con una brocha de mango largo.
Cualquier contacto con las unidades de corte cuando están en movimiento podría causar lesiones personales.
No utilice una brocha de mango corto.
Para evitar lesiones personales, asegúrese de apartarse de las unidades de corte antes de continuar.
Si los molinetes se atascan o si la velocidad no es estable durante el autoafilado, aumente la velocidad hasta que los molinetes se estabilicen.
Si necesita ajustar las unidades de corte durante el autoafilado, siga estos pasos:
Mueva la palanca Bajar/Segar/Elevar hacia atrás.
Note: Las unidades de corte se apagan, pero no se elevan.
Presione hacia abajo del mando la TDF hasta la posición de DESENGRANAR.
Apague el motor y retire la llave.
Ajuste las unidades de corte.
Repita los pasos 2 a 7.
Repita el paso 6 para todas las unidades de corte que desea autoafilar.
Important: Si el interruptor de autoafilado no se pone en la posición de DESCONECTADO después del autoafilado, las unidades de corte no se elevarán ni funcionarán correctamente.
Apague el motor y retire la llave.
Lave las unidades de corte para eliminar toda la pasta de autoafilado.
Ajuste el molinete de la unidad de corte a la contracuchilla según sea necesario.
Gire las palancas de autoafilado a la posición F (siega).

Para obtener un filo de corte mejor, pase una lima por la cara delantera de la contracuchilla después de afilar.
Note: Esto elimina cualquier rebaba o aspereza que pueda haber aparecido en el filo de corte.
Cierre y enganche el capó; consulte Cierre del capó.
Lave la máquina cuando sea necesario con agua sola o con detergente suave. Puede utilizar un trapo para lavar la máquina.
Important: No utilice agua salobre o reciclada para limpiar la máquina.
Important: No utilice equipos de lavado a presión para lavar la máquina. Los equipos de lavado a presión pueden dañar el sistema eléctrico, hacer que se desprendan pegatinas importantes, o eliminar grasa necesaria en los puntos de fricción. Evite el uso excesivo de agua cerca del panel de control, el motor y la batería.
Important: No lave la máquina con el motor en marcha. Si se lava la máquina con el motor en marcha, pueden producirse daños internos en el motor.
Antes de abandonar el puesto del operador, haga lo siguiente:
Aparque la máquina en una superficie nivelada.
Desengrane y baje las unidades de corte.
Ponga el freno de estacionamiento.
Apague el motor y retire la llave.
Espere a que se detenga todo movimiento.
Deje que la máquina se enfríe antes de hacer trabajos de ajuste, mantenimiento, limpieza o almacenamiento.
No guarde la máquina o un recipiente de combustible en un lugar donde pudiera haber una llama desnuda, chispas o una llama piloto, por ejemplo en un calentador de agua u otro electrodoméstico.
Aparque la máquina en una superficie nivelada, baje las unidades de corte, ponga el freno de estacionamiento, apague el motor y retire la llave.
Limpie a fondo la unidad de tracción, las unidades de corte y el motor.
Compruebe la presión de los neumáticos; consulte Comprobación de la presión de los neumáticos.
Compruebe que todas las fijaciones están bien apretadas; apriételas si es necesario.
Aplique grasa o aceite a todos los engrasadores y de pivote. Limpie cualquier exceso de lubricante.
Lije suavemente y aplique pintura de retoque a cualquier zona pintada que esté rayada, desbastada u oxidada. Repare cualquier desperfecto de la carrocería.
Revise la batería y los cables del siguiente modo; consulte Seguridad del sistema eléctrico.
Retire los terminales de los bornes de la batería.
Limpie la batería, los terminales y los bornes con un cepillo de alambre y una solución de bicarbonato.
Aplique una capa de grasa protectora Grafo 112X (N° de Pieza Toro 505-47) o de vaselina a los terminales de los cables y a los bornes de la batería para evitar la corrosión.
Cargue la batería lentamente durante 24 horas cada 60 días para evitar el sulfatado de plomo de la batería.
Vacíe el aceite de motor del cárter y coloque el tapón de vaciado.
Retire y deseche el filtro de aceite. Instale un filtro de aceite nuevo.
Llene el motor con aceite de motor del tipo especificado.
Arranque el motor y déjelo funcionar a velocidad de ralentí durante aproximadamente 2 minutos.
Apague el motor y retire la llave.
Enjuague el depósito de combustible con combustible limpio y nuevo.
Apriete todos los elementos del sistema de combustible.
Realice una limpieza y un mantenimiento completos del conjunto del limpiador de aire.
Selle la entrada del limpiador de aire y la salida del tubo de escape con cinta impermeabilizante.
Compruebe el anticongelante y añada una solución al 50% de agua y anticongelante de etilenglicol según sea necesario dependiendo de la temperatura mínima prevista para su zona.
Si la máquina va a estar inactiva durante más de 30 días, retire la batería y cárguela totalmente. Guárdela en una estantería o en la máquina. Deje los cables desconectados si los va a guardar con la máquina. Guarde la batería en un ambiente fresco para evitar el rápido deterioro de la carga. Para evitar que la batería se congele, asegúrese de que está totalmente cargada. La gravedad específica de una batería totalmente cargada es de 1.265-1.299.