Estacione la máquina en una superficie nivelada.
Ponga el freno de estacionamiento.
Desengrane la TDF y baje el/los accesorio(s).
Apague el motor y retire la llave.
Piezas necesarias en este paso:
| Soporte de la luz | 2 |
| Tuerca rápida grande | 8 |
| Tuerca rápida pequeña | 8 |
| Tornillo (Nº 10 x 1¼") | 8 |
| Luz delantera | 2 |
| Luz trasera | 2 |
| Perno de cuello cuadrado (5/16 x 1 pulgada) | 4 |
| Tuercas con arandela prensada (5/16") | 4 |
| Perno de cuello cuadrado (⅜" x 5") | 4 |
| Perno de cuello cuadrado (⅜" x 4") | 4 |
| Perno de cuello cuadrado (⅜" x 3") | 4 |
| Contratuercas con arandela prensada (⅜") | 4 |
| Soporte de montaje | 2 |
Note: La ubicación del soporte de la capota determina la posición de la luz en la barra antivuelco.
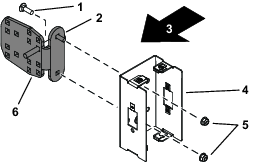
Instale las tuercas rápidas grandes en la parte superior e inferior del soporte de la luz (Figura 1).
Instale las tuercas rápidas pequeñas en los lados del soporte de la luz (Figura 1).

Determine los orificios que han de utilizarse para instalar el soporte de montaje en el soporte de la luz. Consulte la tabla siguiente y la Figura 3.
Instale el soporte de montaje en el soporte de la luz, como se muestra en la Figura 2.
Note: Asegúrese de que la pestaña del soporte de montaje está orientada hacia atrás (Figura 2).


Note: Hay 2 posiciones que corresponden a B y 2 en la Figura 3. Los orificios correctos dependen de si se instalan las luces en el lado izquierdo o derecho del ROPS. Asegúrese de que las luces están orientadas directamente hacia atrás.
| Posición de los orificios a utilizar (Figura 3) | Máquina |
| B y 1 | Groundsmaster Serie 4000 y 4100, ReelMaster Serie 5000 y Reelmaster Serie 3000 |
| C y 2 | Groundsmaster Serie 4500 y 4700, y GroundsMaster 7000 |
| A y 1 | Todas las demás máquinas |
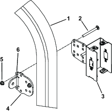
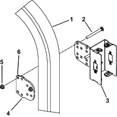
Localice el soporte del armazón de la capota y observe la orientación de la pestaña del soporte.

Anote los orificios ocupados por los pernos en U existentes al retirar el soporte.
Retire el perno en U del soporte que está sujeto al armazón de la capota. Deseche el perno en U.
Antes de instalar el conjunto de luz en la barra antivuelco, es necesario determinar la longitud de los pernos a utilizar. Utilice pernos de cuello cuadrado de ⅜" de 7.6 cm (3"), 10.2 cm (4") o 12.7 cm (5") de longitud.
Usando los orificios usados por el perno en U, monte el conjunto de luz en la barra antivuelco con el soporte de capota existente, 4 pernos de cuello cuadrado (⅜" x 7.6 cm (3"), 10.2 cm (4") o 12.7 cm (5")) y 4 contratuercas con arandela prensada (⅜"); consulte la Figura 5.
Note: La longitud de los pernos de cuello cuadrado viene determinada por el tamaño de la barra antivuelco de la máquina. Utilice la longitud apropiada para la barra antivuelco.

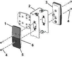
Alinee las luces delantera y trasera con el soporte de la luz, con la lente amarilla orientada como se muestra en la Figura 6.
Instale la luz delantera en la parte delantera del soporte de la luz con 2 tornillos (Nº 10 x 1¼"); consulte la Figura 6.
Instale la luz trasera en el soporte de la luz con 2 tornillos (Nº 10 x 1¼"); consulte la Figura 6.

Piezas necesarias en este paso:
| Soporte de la luz | 2 |
| Tuerca rápida grande | 8 |
| Tuerca rápida pequeña | 8 |
| Tornillo (Nº 10 x 1¼") | 8 |
| Luz delantera | 2 |
| Luz trasera | 2 |
| Perno de cuello cuadrado (5/16 x 1 pulgada) | 4 |
| Tuercas con arandela prensada (5/16") | 4 |
| Perno de cuello cuadrado (⅜" x 5") | 4 |
| Perno de cuello cuadrado (⅜" x 4") | 4 |
| Perno de cuello cuadrado (⅜" x 3") | 4 |
| Soporte de montaje | 2 |
| Soporte de la barra antivuelco | 2 |
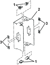
Instale las tuercas rápidas grandes en la parte superior e inferior del soporte de la luz (Figura 7).
Instale las tuercas rápidas pequeñas en los lados del soporte de la luz (Figura 7).

Determine los orificios a utilizar para instalar el soporte de montaje en el soporte de la luz y la posición en la barra antivuelco. Consulte la tabla siguiente, y la Figura 8 a la Figura 18.
Instale el soporte de montaje en el soporte de la luz, como se muestra en la Figura 8.
Note: Asegúrese de que la pestaña del soporte de montaje está orientada correctamente (Figura 8).


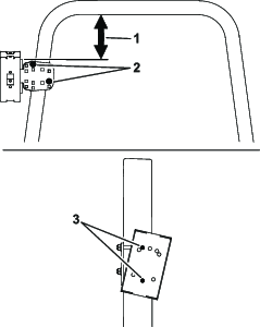
Note: Hay 2 posiciones que corresponden a B y 2 en la Figura 9. Los orificios correctos dependen de si se instalan las luces en el lado izquierdo o derecho del ROPS. Asegúrese de que las luces están orientadas directamente hacia atrás.
| Posición de los orificios a utilizar (Figura 9) | Máquina |
| B y 1 | Groundsmaster Serie 4000 y 4100, ReelMaster Serie 5000 y Reelmaster Serie 3000 |
| C y 2 | Groundsmaster Serie 4500 y 4700, y GroundsMaster 7000 |
| A y 1 | Todas las demás máquinas |
Note: Cada serie de máquinas tiene una ubicación específica en la barra antivuelco. Consulte la Figura 10 a la Figura 18.









Antes de instalar el conjunto de luz en la barra antivuelco, es necesario determinar la longitud de los pernos a utilizar. Utilice pernos de cuello cuadrado de ⅜" de 7.6 cm (3"), 10.2 cm (4") o 12.7 cm (5") de longitud.
Monte el conjunto de luz en la barra antivuelco con el soporte de la barra antivuelco, 4 pernos de cuello cuadrado (⅜" x 7.6 cm (3"), 10.2 cm (4") o 12.7 cm (5")) y 4 contratuercas con arandela prensada (⅜"); consulte la Figura 10 a la Figura 18 y la Figura 19.
Note: La longitud de los pernos de cuello cuadrado viene determinada por el tamaño de la barra antivuelco de la máquina. Utilice la longitud apropiada para la barra antivuelco.

Alinee las luces delantera y trasera con el soporte de la luz, con la lente amarilla orientada como se muestra en la Figura 20.
Instale la luz delantera en la parte delantera del soporte de la luz con 2 tornillos (Nº 10 x 1¼"); consulte la Figura 20.
Instale la luz trasera en el soporte de la luz con 2 tornillos (Nº 10 x 1¼"); consulte la Figura 20.

Localice el conector de 12 pines del arnés principal de la máquina, debajo de la plataforma del asiento.
Enchufe el conector de 12 pines del arnés de cables en el arnés principal (Figura 21).
Enrute el arnés hacia arriba por cada lado de la barra antivuelco.
Note: Asegúrese de que el arnés no está aprisionado al plegar la barra antivuelco.
Enchufe el arnés en las luces delanteras y traseras (Figura 21).

Instale la tapa en los soportes de las luces con 8 pernos (¼" x ¾"); consulte la figura.

Conecte el terminal del cable negativo de la batería al borne negativo de la batería, y apriete la tuerca del terminal a mano (Figura 23).

Pruebe las luces del kit.
Cierre firmemente la tapa del compartimento de la batería.
Gire el interruptor de desconexión de la batería a la posición de CONECTADO (Figura 24).

Pruebe las luces del kit.
Cierre el capó y engánchelo.