การบำรุงรักษา
การเข้าถึงชุดตัดหญ้า
การตรวจสอบจุดอัดจาระบีของเพลาขับใบมีดพวง
| ระยะการซ่อมบำรุง | ขั้นตอนการบำรุงรักษา |
|---|---|
| ทุกปี |
|
-
ถอดฮาร์ดแวร์ที่ยึดชุดเพลาขับใบมีดพวงเข้ากับแผงข้างออก (รูป 6)

-
ถอดน็อตออกจากด้านในของแผงข้าง (รูป 6)
-
ตรวจสอบด้านในของเพลาขับใบมีดพวง (รูป 7) เพื่อดูว่ามีจาระบีเหลืออยู่หรือไม่
หากคุณเห็นว่าจาระบีไม่เพียงพอ ให้เพิ่มจาระบีเข้าไปในเพลาเฟืองตัวผู้และตัวเมีย

-
ยึดชุดเพลาขับใบมีดพวงเข้ากับแผงข้างโดยใช้สกรูหัวจมและน็อตที่ถอดออกมาก่อนหน้านี้
-
ติดตั้งชุดตัดหญ้าเข้ากับรถลากพ่วง โปรดดูคู่มือผู้ใช้ของรถลากพ่วง
การปรับการสัมผัสกันของใบมีดพวงกับใบมีดล่าง
การปรับใบมีดล่างประจำวัน
ก่อนตัดหญ้าในแต่ละวันหรือเมื่อจำเป็น ควรตรวจสอบว่าใบมีดล่างและพวงใบมีดสัมผัสกันอย่างถูกต้อง ทำตามขั้นตอนนี้แม้ว่าคุณภาพการตัดจะเป็นที่ยอมรับได้แล้วก็ตาม
Note: ขั้นตอนนี้สามารถทำได้แม้ว่าชุดตัดหญ้าจะติดตั้งอยู่กับรถลากพ่วง
-
ดับเครื่องรถลากพ่วง
-
การเข้าถึงชุดตัดหญ้า โปรดดู การเข้าถึงชุดตัดหญ้า
-
ค่อยๆ หมุนใบมีดพวงถอยหลังช้าๆ ฟังเสียงสัมผัสของใบมีดพวงกับใบมีดล่าง
-
หากไม่เห็นการสัมผัสกัน ให้ปรับใบมีดล่างดังนี้
-
หมุนสกรูปรับเบดบาร์ตามเข็มนาฬิกา (รูป 8) ทีละ 1 คลิก จนกว่าจะรู้สึกและได้ยินเสียงสัมผัสกันเบาๆ
Note: สกรูปรับเบดบาร์มีร่องสัมพันธ์กับระยะการเลื่อนของใบมีดล่าง 0.018 มม. (0.0007 นิ้ว) สำหรับแต่ละตำแหน่ง

-
สอดแถบกระดาษวัดคุณภาพการตัด (หมายเลขอะไหล่ Toro 125-5610) ไว้ระหว่างใบมีดพวงกับใบมีดล่าง โดยให้ทำมุมตั้งฉากกับใบมีดล่าง (รูป 9) จากนั้นค่อยๆ หมุนใบมีดพวงไปข้างหน้าช้าๆ ใบมีดควรตัดกระดาษ แต่ถ้าไม่ตัด ให้ทำตามขั้นตอน 1 และ 2 อีกครั้งจนกว่าจะตัดกระดาษได้
-
-
หากพบว่าการสัมผัส/แรงลากใบมีดพวงมากเกินไป ให้ลับคมใบมีด ปรับผิวหน้าของใบมีดล่าง หรือเจียรชุดตัดหญ้าอย่างใดอย่างหนึ่งเพื่อให้ได้ขอบคมที่จำเป็นสำหรับการตัดอย่างแม่นยำ (โปรดดู คู่มือการลับคมใบมีดและเครื่องตัดหญ้าโรตารีของ Toro หมายเลขแบบฟอร์ม 09168SL)
Important: ควรมีการสัมผัสเบาๆ ตลอดเวลา หากรักษาการสัมผัสเบาๆ ไว้ไม่ได้ ขอบใบมีดล่าง/ใบมีดพวงจะไม่ลับคมในตัวอย่างเพียงพอ และส่งผลให้ขอบตัดทื่อหลังจากใช้งานไประยะหนึ่ง แต่หากสัมผัสกันมากเกินไป ใบมีดล่าง/ใบมีดพวงจะสึกหรอเร็วขึ้น ส่งผลให้เกิดการสึกหรอไม่เท่ากัน และส่งผลเสียต่อคุณภาพการตัด
Note: สำหรับชุดตัดหญ้า eFlex การสัมผัสกันระหว่างใบมีดพวงกับใบมีดล่างมีผลกระทบอย่างมากต่อการใช้พลังงาน ใบมีดทั้งสองควรสัมผัสกันเล็กน้อยเพื่อประสิทธิภาพในการตัดและการใช้แบตเตอรี่
Note: ระหว่างที่ใบมีดพวงหมุนตัดกับใบมีดล่าง จะเกิดรอยขูดปรากฏขึ้นที่ผิวขอบตัดด้านหน้าไปตลอดความยาวของใบมีดล่าง ใช้ตะไบขัดขอบหน้าเป็นครั้งคราวเพื่อกำจัดเสี้ยนและทำให้การตัดดีขึ้นหลังจากใช้งานเป็นเวลานาน จะเกิดสันขึ้นที่ปลายทั้งสองด้านของใบมีดล่าง การขัดหรือลับร่องเหล่านี้ให้พอดีกับขอบการตัดของใบมีดล่างจะช่วยให้ใบมีดทำงานได้อย่างราบรื่น
-
การปรับใบมีดล่างหลังจากการเจียร การลับคม หรือการแยกชิ้นส่วน
ทำตามขั้นตอนนี้ตอนตั้งค่าชุดตัดหญ้าครั้งแรก และหลังจากการเจียร การลับคม หรือการแยกชิ้นส่วนใบมีดพวง แต่นี่ไม่ใช่การปรับประจำวัน
Note: ขั้นตอนนี้สามารถทำได้แม้ว่าชุดตัดหญ้าจะติดตั้งอยู่กับรถลากพ่วง
Note: สำหรับชุดตัดหญ้า eFlex การสัมผัสกันระหว่างใบมีดพวงกับใบมีดล่างมีผลกระทบอย่างมากต่อการใช้พลังงาน ใบมีดทั้งสองควรสัมผัสกันเล็กน้อยเพื่อประสิทธิภาพในการตัดและการใช้แบตเตอรี่
-
ดับเครื่องรถลากพ่วง
-
การเข้าถึงชุดตัดหญ้า โปรดดู การเข้าถึงชุดตัดหญ้า
-
หมุนใบมีดพวงเพื่อให้ใบมีด 1 ใบขวางกับขอบใบมีดล่างระหว่างหัวสกรูของใบมีดล่างอันที่หนึ่งและสองที่อยู่ด้านขวาของชุดตัดหญ้า
-
ทำเครื่องหมายที่มองเห็นได้ชัดเจนบนใบมีดตรงจุดที่ขวางขอบใบมีดล่าง
Note: การทำแบบนี้จะช่วยให้ปรับใบมีดได้ง่ายขึ้นในภายหลัง
-
สอดชิม 0.05 มม. (0.002 นิ้ว) ระหว่างใบมีดกับขอบใบมีดล่างตรงจุดที่ทำเครื่องหมายในขั้นตอนที่ 4
-
หมุนสกรูปรับเบดบาร์ขวา (รูป 8) จนรู้สึกถึงแรงดันเบาๆ บนชิมเมื่อเลื่อนไปมาด้านข้าง ดึงชิมออก
-
สำหรับด้านซ้ายของชุดตัดหญ้า ค่อยๆ หมุนใบมีดพวงเพื่อให้ใบมีดที่ใกล้ที่สุดวางขวางขอบใบมีดล่างระหว่างหัวสกรูที่หนึ่งกับสอง
-
ทำซ้ำขั้นตอน 4 ถึง 6 สำหรับด้านซ้ายของชุดตัดหญ้าและสกรูปรับเบดบาร์ซ้าย
-
ทำซ้ำขั้นตอน 5 และ 6 จนกว่าจะมีแรงดันเบาๆ ที่จุดสัมผัสทั้งด้านซ้ายและด้านขวาของชุดตัดหญ้า
-
หมุนสกรูปรับเบดบาร์แต่ละด้านตามเข็มนาฬิกา 3 คลิก เพื่อให้ใบมีดพวงและใบมีดล่างสัมผัสกันเบาๆ
Note: การหมุนสกรูปรับเบดบาร์แต่ละคลิกจะขยับใบมีดล่าง 0.018 มม. (0.0007 นิ้ว) อย่าขันสกรูปรับแน่นเกินไปการหมุนสกรูปรับตามเข็มนาฬิกาจะเป็นการขยับขอบใบมีดล่างเข้าไปใกล้ใบมีดพวง ส่วนการหมุนสกรูปรับทวนเข็มนาฬิกาจะเป็นการขยับขอบใบมีดล่างให้ออกห่างจากใบมีดพวง
-
สอดกระดาษวัดคุณภาพการตัดแถบยาว (หมายเลขอะไหล่ Toro 125-5610) ไว้ระหว่างใบมีดพวงกับใบมีดล่วงให้ตั้งฉากกับใบมีดล่าง (รูป 9) จากนั้นค่อยๆ หมุนใบมีดพวงไปข้างหน้าช้าๆ ใบมีดควรตัดกระดาษ ถ้าไม่ตัด ให้หมุนสกรูปรับเบดบาร์ตามเข็มนาฬิกา 1 คลิก และทำซ้ำขั้นตอนจนกว่าจะตัดกระดาษได้

Note: หากพบว่าการสัมผัสหรือแรงลากใบมีดพวงมากเกินไป คุณอาจลับคมใบมีด ปรับผิวหน้าของใบมีดล่าง หรือเจียรชุดตัดหญ้าอย่างใดอย่างหนึ่งเพื่อให้ได้ขอบคมที่จำเป็นสำหรับการตัดอย่างแม่นยำ (โปรดดู คู่มือการลับคมใบมีดและเครื่องตัดหญ้าโรตารีของ Toro หมายเลขแบบฟอร์ม 09168SL)
การตั้งค่าชุดตัดหญ้าให้เหมาะกับสภาพสนาม
ใช้ตารางต่อไปในการตั้งค่าใบมีดล่างให้เหมาะกับสภาพสนาม ติดต่อตัวแทนจำหน่าย Toro ที่ได้รับอนุญาตเพื่อซื้อใบมีดล่างและลูกกลิ้งเสริม
โปรดดู การปรับอัตราเล็มหญ้า สำหรับคำแนะนำในการตั้งค่าอัตราเล็มหญ้าที่เหมาะกับสภาพสนามของคุณ
| ตารางใบมีดล่าง/ความสูงในการตัดที่แนะนำ | |
| ใบมีดล่าง | ความสูงในการตัด |
| Edgemax Micro-cut (มาตรฐาน) | 1.5 ถึง 4.7 มม. (0.062–0.188 นิ้ว) |
| Edgemax Tournament (อุปกรณ์เสริม) | 3.1 ถึง 12.7 มม. (0.125–0.500 นิ้ว) |
| Micro-cut (อุปกรณ์เสริม) | 1.5 ถึง 4.7 มม. (0.062–0.188 นิ้ว) |
| Tournament (อุปกรณ์เสริม) | 3.1 ถึง 12.7 มม. (0.125–0.500 นิ้ว) |
| Extended Micro-cut (อุปกรณ์เสริม) | 1.5 ถึง 4.7 มม. (0.062–0.188 นิ้ว) |
| Extended Tournament (อุปกรณ์เสริม) | 3.1 ถึง 12.7 มม. (0.125–0.500 นิ้ว) |
| Low-cut (อุปกรณ์เสริม) | 4.7 ถึง 25.4 มม. (0.188–1.00 นิ้ว) |
การปรับความสูงในการตัด
ตั้งค่าความสูงในการตัดตามความสูงที่ต้องการ โดยใช้เกจวัดความสูงในการตัด และดูให้แน่ใจว่าชุดตัดหญ้าติดตั้งใบมีดล่างที่เหมาะสมที่สุดกับความสูงในการตัดที่ต้องการ โปรดดู การตั้งค่าชุดตัดหญ้าให้เหมาะกับสภาพสนาม
การปรับความสูงลูกกลิ้งท้าย
ปรับโครงยึดลูกกลิ้งท้าย (รูป 10 หรือ รูป 11) ไปยังตำแหน่งต่ำหรือสูง ขึ้นอยู่กับช่วงความสูงในการตัดที่ต้องการ:
-
วางตัวคั่นไว้เหนือจานยึดแผงข้าง (กำหนดมาจากโรงงาน) เมื่อตั้งค่าช่วงความสูงในการตัดตั้งแต่ 1.5 มม. ถึง 6 มม. (1/16 นิ้วถึง ¼ นิ้ว) ดังแสดงใน รูป 10

-
วางตัวคั่นไว้ใต้จานยึดแผงข้าง เมื่อตั้งค่าช่วงความสูงในการตัดตั้งแต่ 3 มม. ถึง 25 มม. (⅛ นิ้วถึง 1 นิ้ว) ดังแสดงใน รูป 11

-
ยกส่วนท้ายของชุดตัดหญ้าและวางบล็อกไม้ใต้ใบมีดล่าง
-
ถอดน็อต 2 ตัวที่ทำหน้าที่ยึดโครงยึดและตัวคั่นลูกกลิ้งแต่ละชิ้นเข้ากับจานยึดแผงข้างแต่ละด้านออกมา
-
ลดลูกกลิ้งและสกรูลงมาจากจานยึดแผงข้างและตัวคั่น
-
วางตัวคั่นไว้บนสกรูเหนือส่วนใต้โครงยึดลูกกลิ้งตามที่กำหนด (รูป 10 หรือ รูป 11)
-
ยึดโครงยึดลูกกลิ้งและตัวคั่นเข้ากับด้านล่างของจานยึดด้วยน็อตที่ถอดออกมาก่อนหน้านี้
-
ตรวจสอบให้ใบมีดล่างกับใบมีดพวงแตะกันอย่างถูกต้อง เอียงเครื่องตัดหญ้าขึ้นเพื่อเข้าถึงลูกกลิ้งส่วนหน้าและส่วนท้ายและใบมีดล่าง
Note: ตำแหน่งของลูกกลิ้งส่วนท้ายกับใบมีดพวงควบคุมโดยการปรับความคลาดเคลื่อนยินยอมของส่วนประกอบ และไม่จำเป็นต้องทำให้ขนานกัน การปรับทำได้เล็กน้อยโดยการตั้งค่าชุดตัดหญ้าบนแท่นรองและคลายสลักเกลียวยึดแผงข้าง (รูป 12) ปรับและขันสลักเกลียวให้แน่นเมื่อเสร็จสิ้น

Important: เมื่อใดก็ตามคุณต้องเอียงชุดตัดหญ้าเพื่อดูใบมีดล่าง/ใบมีดพวง ให้ค้ำส่วนท้ายของชุดตัดหญ้า เพื่อป้องกันไม่ให้น็อตบนปลายด้านหลังของสลักปรับเบดบาร์วางอยู่บนพื้น (รูป 4)
การปรับเกจความสูงในการตัด
ก่อนปรับความสูงในการตัด ให้ตั้งค่าเกจความสูงในการตัดดังนี้:
-
คลายน็อตบนเกจบาร์ และตั้งค่าสกรูปรับให้ได้ความสูงในการตัดที่ต้องการ (รูป 13)
Note: ระยะห่างระหว่างใต้หัวสกรูกับหน้าบาร์คือความสูงในการตัด

-
ขันน็อตให้แน่น
การปรับความสูงในการตัด
ชุดตัดหญ้ามาพร้อมกับใบมีดล่าง Edgemax Micro-cut และเบดบาร์มาตรฐานเป็นอุปกรณ์มาตรฐาน ความสูงในการตัดที่ใช้จริงขึ้นอยู่กับการกำหนดค่าเครื่องตัดหญ้าก่อนหน้า และสภาพสนาม (กล่าวคือ ประเภทลูกกลิ้ง ระยะห่างศูนย์กลางหลังใบมีดล่าง, สนามกรีนแบบนุ่มหรือแข็ง, สภาวะตามฤดูกาล) ตั้งค่าความสูงในการตัดเริ่มต้นให้สูงกว่าการตั้งค่าเครื่องตัดหญ้าก่อนหน้า 0.25 มม. ถึง 0.38 มม. (0.010 ถึง 0.015 นิ้ว) และปรับให้เหมาะกับสภาพสนาม
Note: สำหรับความสูงในการตัดที่มากกว่า 13 มม. (0.500 นิ้ว) ให้ติดตั้งชุดความสูงในการตัดแบบสูง
โปรดดู การตั้งค่าชุดตัดหญ้าให้เหมาะกับสภาพสนาม เพื่อกำหนดว่าใบมีดล่างใดเหมาะสำหรับความสูงในการตัดที่ต้องการที่สุด
-
คลายน็อตล็อกที่ยึดแขนปรับความสูงในการตัดเข้ากับแผงข้างของชุดตัดหญ้า (รูป 14)

-
เกี่ยวหัวสกรูของเกจบาร์ความสูงในการตัดไว้ที่ด้านขวาของขอบการตัดของใบมีดล่าง และวางปลายส่วนท้ายของบาร์ลงบนลูกกลิ้งท้าย (รูป 15)

-
หมุนสกรูปรับจนกว่าลูกกลิ้งจะแตะกับด้านหน้าของเกจบาร์
-
ทำซ้ำขั้นตอน 2 และ สำหรับด้านซ้าย
-
ปรับปลายทั้งสองข้างของลูกกลิ้งจนกระทั่งลูกกลิ้งขนานกับใบมีดล่าง
Important: เมื่อปรับเสร็จ ลูกกลิ้งด้านหน้าและด้านหลังจะแตะกับเกจบาร์ และสกรูจะแตะอยู่บนใบมีดล่าง ซึ่งเมื่อทำตามนี้ จะทำให้ความสูงในการตัดเท่ากันทั้งสองข้าง
-
ขันน็อตล็อกบนแขนปรับความสูงในการตัดให้แน่น เพื่อยึดการปรับเอาไว้จนเพียงพอให้แหวนอยู่กับที่
-
ตรวจสอบให้แน่ใจว่าการตั้งค่าความสูงในการตัดถูกต้อง ทำซ้ำขั้นตอนนี้ถ้าจำเป็น
การปรับอัตราเล็มหญ้า
อัตราเล็มหญ้ากำหนดโดยการตั้งค่าอุปกรณ์ดังต่อไปนี้:
-
ความเร็วใบมีดพวง: ความเร็วใบมีดพวงสามารถปรับเป็นค่าสูงหรือต่ำ โปรดดูคู่มือผู้ใช้ของรถลากพ่วง
-
ตำแหน่งรอกขับใบมีดพวง: รอกขับใบมีดพวง (22 ซี่และ 24 ซี่) ตั้งค่าได้ 2 ตำแหน่ง:
Note: รอกอยู่ในตำแหน่ง ต่ำ มาจากโรงงาน

หากต้องการปรับตำแหน่งรอก ให้ดำเนินการดังนี้:
-
ถอดฝาครอบสายพานเพื่อเปิดสายพาน (รูป 17)

-
คลายสลักเกลียวแขนประคองและหมุนแขนประคอง (รูป 17) เพื่อผ่อนความตึงของสายพาน
-
ถอดสายพานออก (รูป 17)
-
คลายน็อตบนรอกแต่ละตัว ถอดรอกออก และใช้น็อตติดตั้งรอกในตำแหน่งที่ต้องการ

-
ขันน็อตรอกจนได้แรงบิด 37 ถึง 45 นิวตันเมตร (27 ถึง 33 ฟุตปอนด์)
-
ติดตั้งสายพานและปรับความตึงสายพานโดยการใช้แรง 4 ถึง 5 นิวตันเมตร (35 ถึง 40 นิ้วปอนด์) กดลงบนน็อตหกเหลี่ยมด้านในของแขนประคองดังแสดงใน รูป 17
-
ขันสลักเกลียวแขนประคองให้แน่นและติดตั้าฝาครอบสายพาน
การปรับบาร์ตัด
ปรับบาร์ตัด เพื่อให้เศษหญ้าระบายออกจากบริเวณใบมีดพวงได้หมดจด โดยใช้วิธีการดังต่อไปนี้:
Note: คุณสามารถบาร์ปรับได้เพื่อชดเชยสภาพสนามที่เปลี่ยนแปลงไป ปรับบาร์ให้ชิดกับใบมีดพวงเมื่อสนามหญ้าแห้งมาก ในทางตรงข้าม ควรปรับบาร์ให้ออกห่างจากใบมีดพวงเมื่อสนามหญ้าเปียก บาร์ควรขนานกับใบมีดพวงเพื่อประสิทธิภาพสูงสุด ปรับหลังจากลับคมใบมีดพวกบนเครื่องเจียรใบมีดพวงแล้ว
-
คลายสกรูที่ยึดบาร์บน (รูป 19) เข้ากับชุดตัดหญ้า

-
สอดฟีลเลอร์เกจขนาด 1.5 มม. (0.060 นิ้ว) ไว้ระหว่างด้านบนของใบมีดพวงกับบาร์ จากนั้นขันสกรูให้แน่น
Important: ตรวจดูว่าบาร์กับใบมีดพวงมีระยะห่างเท่ากันตลอดแถวใบมีดพวง
การซ่อมบำรุงเบดบาร์
การซ่อมบำรุงเบดบาร์และใบมีดล่างควรดำเนินการโดยช่างกลที่ได้รับการฝึกอบรมมาเป็นอย่างดีเท่านั้น เพื่อป้องกันไม่ให้ใบมีดพวง เบดบาร์ หรือใบมีดล่างเสียหาย วิธีที่ดีที่สุดคือ นำชุดตัดหญ้าไปให้ตัวแทนจำหน่าย Toro ที่ได้รับอนุญาตทำการซ่อมบำรุง โปรดดูคำแนะนำฉบับสมบูรณ์ เครื่องมือพิเศษ และแผนผังสำหรับการซ่อมบำรุงใบมีดล่างจากคู่มือซ่อมบำรุงของรถตัดหญ้า หากต้องการถอดหรือประกอบเบดบาร์ด้วยตัวเอง โปรดดูแนะนำ รวมถึงข้อมูลจำเพาะสำหรับการซ่อมบำรุงใบมีดล่างด้านล่าง
Important: ปฏิบัติตามขั้นตอนการซ่อมบำรุงใบมีดล่างตามรายละเอียดในคู่มือซ่อมบำรุงเสมอในขณะซ่อมบำรุงใบมีดล่าง การติดตั้งและเจียรใบมีดล่างไม่ถูกต้องอาจส่งผลให้ใบมีดพวง เบดบาร์ หรือใบมีดล่างชำรุดเสียหายได้
การถอดเบดบาร์
-
หมุนสกรูปรับเบดบาร์ทวนเข็มนาฬิกาเพื่อให้ใบมีดล่างถอยห่างจากใบมีดพวง (รูป 20)

-
ขันน็อตปรับสปริง จนกระทั่งแหวนไม่ได้ดันเบดบาร์อีกต่อไป (รูป 20)
-
ที่แต่ละด้านของอุปกรณ์ คลายน็อตล็อกดังแสดงใน รูป 21

-
ถอดสลักเกลียวเบดบาร์แต่ละตัว ซึ่งจะทำให้สามารถดึงเบดบาร์ลงมาและถอดออกจากชุดตัดหญ้าได้ (รูป 21)
เตรียมแหวนพลาสติก 2 วงและแหวนเหล็ก 1 วงที่ปลายแต่ละด้านของเบดบาร์ (รูป 21)
การติดตั้งเบดบาร์
-
ติดตั้งเบดบาร์ ขยับหูยึดไว้ระหว่างแหวนกับสกรูปรับเบดบาร์ (รูป 20)
-
ยึดเบดบาร์ไว้กับแผ่นข้างแต่ละด้านด้วยสลักเบดบาร์ (น็อตบนสลัก) และแหวนรอง 3 วง (รวมทั้งหมด 6 ตัว)
-
วางแหวนไนลอนไว้บนแต่ละด้านของแผ่นข้าง วางแหวนเหล็กไว้ด้านนอกแหวนไนลอนแต่ละอัน (รูป 21)
-
ขันสลักเบดบาร์จนได้แรงบิด 27 ถึง 36 นิวตันเมตร (240 ถึง 320 นิ้วปอนด์)
-
ขันน็อตล็อกจนกว่าส่วนแหวนเหล็กไม่ขยับ แต่ยังสามารถหมุนแหวนด้วยมือได้ แหวนที่ด้านในอาจมีช่องว่าง
Important: อย่าขันน็อตล็อกแน่นเกินไป มิฉะนั้นจะทำให้แผ่นข้างสะบัดได้
-
ขันน็อตปรับความตึงสปริงจนกว่าสปริงจะหด จากนั้นถอยกลับ 1/2 รอบ (รูป 22)

-
ปรับใบมีดล่างเข้ากับใบมีดพวง โปรดดู การปรับใบมีดล่างหลังจากการเจียร การลับคม หรือการแยกชิ้นส่วน
การซ่อมบำรุงใบมีดล่าง
การติดตั้งใบมีดล่าง
-
ขจัดสนิม ตะกรัน และการสึกหรอออกจากพื้นผิวของเบดบาร์และทาน้ำมันบางๆ บนผิวของเบดบาร์
-
เช็ดทำความสะอาดเกลียวสกรู
-
ทาน้ำยากันเกลียวยึดที่สกรู และติดตั้งใบมีดล่างเข้ากับเบดบาร์

-
ขันสกรูด้านนอก 2 ตัวให้ได้แรงบิด 1 นิวตันเมตร (10 นิ้วปอนด์)
-
เริ่มจากศูนย์กลางของใบมีดล่าง โดยขันสกรูให้ได้แรงบิด 23 ถึง 28 นิวตันเมตร (200 ถึง 250 นิ้วปอนด์)

-
เจียรใบมีดล่าง
การเตรียมเจียรใบมีดพวง
-
ตรวจสอบให้แน่ใจว่าส่วนประกอบทั้งหมดของชุดตัดหญ้าอยู่ในสภาพดี และแก้ไขปัญหาก่อนการเจียร
-
ปฏิบัติตามคำแนะนำของผู้ผลิตเครื่องเจียรใบมีดพวง เพื่อเจียรใบมีดพวงตัดหญ้าให้เป็นไปตามข้อมูลจำเพาะต่อไปนี้
ข้อมูลจำเพาะสำหรับการเจียรใบมีดพวง เส้นผ่านศูนย์กลางใบมีดพวงใหม่ 128.5 มม. (5.06 นิ้ว) ขีดจำกัดการใช้งานเส้นผ่านศูนย์กลางใบมีดพวง 114.3 มม. (4.5 นิ้ว) มุมหลบของใบมีด 30° ± 5° ความกว้างบ่าใบมีด 1.0 มม. (0.04 นิ้ว) ช่วงความกว้างบ่าใบมีด 0.76 ถึง 1.27 มม. (0.03 ถึง 0.05 นิ้ว) ขีดจำกัดการใช้งานปลายเรียวของเส้นผ่านศูนย์กลางใบมีดพวง 0.25 มม. (0.01 นิ้ว)
การเจียรมุมหลบใบมีดพวง
ใบมีดพวงใหม่มีความกว้างบ่า 0.76 ถึง 1.27 มม. (0.030 ถึง 0.050 นิ้ว) และและมีมุมหลบการเจียร 30°
เมื่อความกว้างบ่าขยายกว้างกว่า 3 มม. (0.120 นิ้ว) ให้ดำเนินการดังนี้:
-
เจียรมุมหลบ 30° บนใบมีดพวงทั้งหมดจนได้ความกว้างบ่า 1.3 มม. (0.050 นิ้ว) (รูป 25)

-
เจียรใบมีดพวงจนกร่อนเข้าไปน้อยกว่า 0.025 มม. (0.001 นิ้ว)
Note: วิธีนี้จะทำให้ความกว้างบ่าขยายขึ้นเล็กน้อย
-
ปรับชุดตัดหญ้า โปรดดูคู่มือผู้ใช้ของชุดตัดหญ้า
Note: เพื่อให้ขอบของใบมีดพวงและใบมีดล่างคมได้นานขึ้น หลังจากเจียรใบมีดพวงและ/หรือใบมีดล่าง ให้ตรวจสอบจุดสัมผัสใบมีดพวงกับใบมีดล่างอีกครั้งหลังจากการตัดสนามกรีน 2 สนาม เนื่องจากรอยขีดใดๆ จะถูกขจัดออกไป รอยขีดอาจทำให้ระยะห่างของใบมีดพวงกับใบมีดล่างไม่ถูกต้อง ซึ่งทำให้สึกหรอเร็วขึ้น
ข้อมูลจำเพาะสำหรับการเจียรใบมีดล่าง

| มุมหลบของใบมีดล่างมาตรฐาน | ขั้นต่ำ 3° |
| มุมหลบของใบมีดล่างขยาย | ขั้นต่ำ 7° |
| ช่วงมุมด้านหน้า | 13° ถึง 17° |
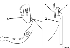
การตรวจสอบมุมเจียรด้านบน
มุมที่คุณใช้เจียรใบมีดล่างเป็นสิ่งสำคัญมาก
ใช้เครื่องมือวัดมุม (หมายเลขอะไหล่ Toro 131-6828) และที่ยึดเครื่องมือวัดมุม (หมายเลขอะไหล่ Toro 131-6829) เพื่อตรวจสอบมุมที่เครื่องเจียรสร้าง จากนั้นแก้ไขความไม่ถูกต้องที่เกิดขึ้น
-
วางเครื่องมือวัดมุมที่ด้านล่างของใบมีดล่างตามที่แสดงใน รูป 27

-
กดปุ่ม Alt Zero บนเครื่องมือวัดมุม
-
วางที่ยึดเครื่องมือวัดมุมบนขอบใบมีดล่าง เพื่อให้ขอบของแม่เหล็กบรรจบกับขอบใบมีดล่าง (รูป 28)
Note: หน้าจอดิจิทัลควรมองเห็นได้จากด้านเดียวกันในระหว่างขั้นตอนนี้ เช่นเดียวกันในขั้นตอน 1

-
วางเครื่องมือวัดมุมบนที่ยึดตามที่แสดงใน รูป 28
Note: นี่คือมุมที่เครื่องเจียรสร้างขึ้น และควรอยู่ภายในช่วง 2 องศาของมุมเจียรด้านบนที่แนะนำ
การลับคมชุดตัดหญ้า
หากต้องการลับคมชุดตัดหญ้า ให้ใช้ชุดลับคม Access (หมายเลขรุ่น 139-4342) โปรดดูคำแนะนำการใช้งานในชุดคำแนะนำในการติดตั้ง ติดต่อตัวแทนจำหน่าย Toro เพื่อซื้อชุด


ได้แก่ ข้อควรระวัง คำเตือน
หรืออันตราย ซึ่งเป็นคำแนะนำเพื่อความปลอดภัยส่วนบุคคล การไม่ปฏิบัติตามคำแนะนำเหล่านี้อาจส่งผลให้บาดเจ็บหรือเสียชีวิตได้




