维护
检修滚刀组
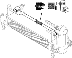
检查滚刀驱动轴润滑点
调节底刀与滚刀的接触
每天调节底刀
在每天剪草之前或在需要时,确认底刀与滚刀已正确接触。即使剪草质量可以接受,也需要执行此步骤。
Note: 此步骤可在滚刀组安装到主机上的情况下执行。
-
关闭主机。
-
检修滚刀组;请参阅检修滚刀组。
-
缓慢地反向旋转滚刀,听一下滚刀与底刀的接触情况。
-
如果明显没有接触,请按照如下方式调节底刀
-
如果明显过渡接触/感受到滚刀阻力过大,则要倒磨、重磨底刀前面,或者研磨滚刀组,确保精确剪草所需的锋利刀刃(请参阅“Toro 滚刀和旋刀剪草机磨刀手册”,手册号为 09168SL)。
Important: 最好始终保持轻微接触。如果无法保持轻微接触,底刀/滚刀刀刃就无法充分自锋利,操作一段时间后将导致刀刃变钝。如果保持过度接触,底刀/滚刀的磨损就会加快,导致磨损不均匀,且剪草质量可能会下降。
Note: 对于 eFlex 滚刀组而言,滚刀与底刀的接触情况会对能耗产生重大影响。最好保持很轻微的接触,以实现最佳剪草性能和电池消耗。
Note: 由于滚刀刀刃持续与底刀摩擦,因此整个底刀的前刀刃表面上会出现轻微的毛边。偶尔使用锉刀磨一下前刀刃,消除这种毛边,从而提高剪草质量。长期使用后,底刀两端最终都会出现隆起现象。打磨掉或锉掉这些凹口,使其与底刀刀刃平齐,以确保操作顺畅。
-
在研磨、倒磨或拆卸之后调节底刀。
在初次滚刀组设置和研磨 、倒磨或拆卸滚刀之后使用此程序。这并非是日常调节。
Note: 此步骤可在滚刀组安装到主机上的情况下执行。
Note: 对于 eFlex 滚刀组而言,滚刀与底刀的接触情况会对能耗产生重大影响。最好保持很轻微的接触,以实现最佳剪草性能和电池消耗。
-
关闭主机。
-
检修滚刀组;请参阅检修滚刀组。
-
旋转滚刀,使一片刀片经过滚刀组右侧第一个与第二个底刀螺丝之间的底刀刀刃。
-
在与底刀刀刃交叉处的刀片上设置一个识别标记。
Note: 这可使随后的调节更加容易。
-
在刀片与底刀刀刃之间步骤4中标记的点,插入 0.05mm(0.002 英寸)的薄垫片。
-
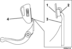
向右转动底刀架调节螺丝(图 8),通过左右滑动薄垫片,直至感到薄垫片上存在轻微的压力。取出薄垫片。
-
在滚刀组的左侧,缓慢旋转滚刀,使最近的刀片经过第一个与第二个螺丝头之间的底刀刀刃。
-
对滚刀组左侧和左底刀架调节螺丝重复步骤4至6。
-
重复步骤5和6,直至滚刀组左右两侧的接触点存在轻微的压力。
-
要想使滚刀与底刀保持轻微接触,应将每个底刀架调节螺丝都顺时针旋转 3 格。
Note: 底刀架调节螺丝每旋转一格,底刀会移动 0.018mm(0.0007 英寸)。不要将调节螺丝拧得太紧。顺时针旋转调节螺丝,使底刀刀刃更靠近滚刀。逆时针旋转调节螺丝,使底刀刀刃远离滚刀。
-
在滚刀与底刀之间插入一长条剪切性能纸(Toro 零件号 125-5610),纸要与底刀垂直(图 9),然后缓慢向前旋转滚刀;此操作应能切断性能纸;如果不能,将每个底刀架调节螺丝都顺时针旋转 1 格,直至切断为止。

Note: 如果明显过度接触或感受到滚刀阻力过大,你可以倒磨、重磨底刀前面,或者研磨滚刀组,确保精确剪草所需的锋利刀刃(请参阅“Toro 滚刀和旋刀剪草机磨刀手册”,手册号为 09168SL)。
设置滚刀组使其与草坪状况相匹配
使用下表确定与草坪条件匹配所需的适当底刀。要获得额外底刀和滚筒,请联系您的 Toro 授权经销商。
请参阅调节剪草速率,了解如何根据您的草坪状况设定适当剪草速率的说明。
| 建议底刀/剪草高度表 | |
| 底刀 | 剪草高度 |
| EdgeMax 微剪(标配) | 1.5~4.7mm |
| Edgemax 比赛(选件) | 3.1~12.7mm |
| 微剪(选件) | 1.5~4.7mm |
| 比赛(选件) | 3.1~12.7mm |
| 微剪延伸(选件) | 1.5 ~4.7mm |
| 比赛延伸(选件) | 3.1~12.7 mm |
| 低剪(选件) | 4.7~25.4mm |
执行剪草高度的调节
使用剪草高度调刀尺将剪草高度设定到所需的高度,确保滚刀组配备最适合所需剪草高度的底刀;请参阅设置滚刀组使其与草坪状况相匹配。
调节后滚筒高度
根据您想要的剪草高度范围,需要将后滚筒支架(图 10或图 11)调整到较低或较高的位置:
-
如 图 10所示,当剪草高度设置介于 1.5~6mm 之间时,将隔片放在侧板安装法兰的上方(出厂设置)。

-
如 图 11所示,当剪草高度设置介于 3~25mm 之间时,将隔片放在侧板安装法兰的下方(出厂设置)。

调节剪草高度调刀尺
调节剪草高度之前,请按照如下所示调节剪草高度调刀尺:
-
松开调刀尺上的螺母,并将调节螺丝设定为所需的剪草高度(图 13)。
Note: 螺丝头底部与调刀尺表面之间的距离就是剪草高度。

-
拧紧螺母。
调节剪草高度
此滚刀组标配了 Edgemax 微剪底刀和标准底刀架。有效的剪草高度取决于之前的剪草机配置和草坪状况(即滚筒类型、底刀落后于滚刀中心线的距离、果岭的软硬、季节状况)。设置初始剪草高度时,应比原先的果岭剪草机设置高 0.25~0.38mm,并进行调整,匹配相关状况。
Note: 如果剪草高度超过 13mm,请安装高剪套件。
请参阅设置滚刀组使其与草坪状况相匹配以确定最适合所需剪草高度的底刀。
调节剪草速率
剪草速率由以下机器设置确定:
-
滚刀速度:滚刀速度可调节至高或低设置;请参阅主机操作员手册。
-
滚刀驱动皮带轮位置:滚刀驱动皮带轮(22 齿和 24 齿)有 2 个设置位置:
Note: 皮带轮位置在出厂时设定为低位置。

要调整皮带轮位置,请参阅以下步骤:
调整出草挡板
调整出草挡板,确保草屑完全从滚刀区排出,操作方法如下:
Note: 挡板可以调整,以补偿草坪状况的变动。草坪异常干燥时,将挡板调整至更靠近滚刀。相反,当草坪状况较湿时,挡板应进一步远离滚刀。挡板应与滚刀平行,确保实现最佳性能。在滚刀磨床上磨刀之后要调节挡板。
-
松开将顶部挡板 (图 19) 紧固到滚刀组的螺丝。

-
将 1.5mm(0.060 英寸)的塞尺插入滚刀顶部与挡板之间,并旋紧螺丝。
Important: 确保挡板和滚刀在整个滚刀组中保持等距。
维护底刀架
只有受过正确培训的机械师才可以维修底刀架和底刀,以防止损坏滚刀、底刀架或底刀。理想情况下,应携带滚刀组到您的 Toro 授权经销商处进行维修。请参阅您的主机维修手册,了解有关维修底刀的完整说明、专用工具及图纸。如果您需要自行拆卸或组装底刀架,请使用以下提供的说明,此规范同样适用于维修底刀。
Important: 当维修底刀时,请始终遵循您的维修手册中详细描述的底刀程序。未能正确安装和研磨底刀,可能导致损坏滚刀、底刀架或底刀。
拆除底刀架
安装底刀架
-
安装底刀架,将安装吊耳固定在垫圈与底刀架调节螺丝之间(图 20)。
-
使用底刀架螺栓(螺栓上带螺母)和 3 个垫圈(共 6 个)将底刀架固定在两个侧板上。
-
将尼龙垫圈放在侧板凸起的一侧。在两个尼龙垫圈的外侧各放一个钢垫圈(图 21)。
-
上紧底刀架螺栓扭矩至 27~36N·m。
-
拧紧锁紧螺母,直至钢垫圈停止旋转,但却能够用手旋转。内侧的垫圈可能有空隙。
Important: 切勿过度旋紧锁紧螺母,否则会导致侧板变形。
-
旋紧弹簧加压螺母,直到弹簧完全压紧,然后往回松开 1/2 圈(图 22)。

-
调节底刀与滚刀,请参阅 在研磨、倒磨或拆卸之后调节底刀。。
维护底刀
安装底刀
-
清除底刀架表面的所有铁锈、水垢和腐蚀物,然后在底刀架表面抹上一层薄薄的油。
-
清洁螺丝螺纹
-
在螺丝上涂抹防粘剂,将底刀安装到底刀架上。

-
将 2 个外部螺丝的扭矩上紧至 1N·m。
-
按照从底刀中间向两端的顺序,上紧螺丝扭矩至 23~28N∙m。

-
研磨底刀
准备滚刀进行研磨
-
确保所有滚刀组组件都处于良好状况,并在研磨之前纠正任何问题。
-
按照滚刀研磨机制造商的说明,将滚刀研磨至以下规格。
滚刀研磨规格 新滚刀直径 128.5mm 滚刀直径维修限值 114.3mm 刀片铲磨角度 30° ± 5° 刀片棱面宽度 1.0mm 刀片棱面宽度范围 0.76~1.27 mm(0.03~0.05 inches) 滚刀直径锥体维修限值 0.25mm
铲磨滚刀
新滚刀的棱面宽度为 0.76~1.27 mm,铲磨角度为 30°。
当棱面宽度大于 3mm 时,请执行以下步骤:
-
对所有滚刀棱面进行 30° 铲磨,直至棱面宽度达到 1.3mm(图 25)。

-
旋转打磨滚刀直至达到 <0.025mm 滚刀跳动。
Note: 这可能导致棱面宽度轻微增加。
-
调节滚刀组;请参阅滚刀组《操作员手册》。
Note: 为了使滚刀和底刀刀刃的锋利更加持久——打磨滚刀和/或底刀之后——在修剪 2 个果岭后应再次检查滚刀到底刀的接触,因为任何毛刺都要去除。毛刺可能导致滚刀与底刀之间产生不当的空隙,从而加速磨损。
底刀研磨规格

| 标准底刀后角 | 最小 3° |
| 延长底刀后角 | 最小 7° |
| 前角范围 | 13~17° |
倒磨滚刀组
要倒磨滚刀组,请使用 Access 倒磨套件(型号 139-4342);请参阅套件安装说明中的操作说明。请联系 Toro 授权经销商以获得本套件。


,即小心、警告或危险等个人安全指示。不遵循这些说明可能导致人身伤害甚至死亡事故。
















