Sécurité

Autocollants de sécurité et d'instruction

Graphic

Des autocollants de sécurité et des instructions bien visibles par l'opérateur sont placés près de tous les endroits potentiellement dangereux. Remplacez tout autocollant endommagé ou manquant.

decal140-1531
decal140-1623

Montage

Préparation de la machine

  1. Garez la machine sur une surface plane et horizontale et abaissez les unités de coupe.

  2. Serrez le frein de stationnement.

  3. Coupez le moteur et enlevez la clé.

g351500

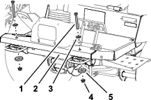
Débranchement de la batterie

  1. Ouvrez le couvercle de la batterie sur le côté du carénage (Figure 2).

    Note: Appuyez sur la surface plate au-dessus du couvercle de la batterie pour faciliter la dépose du couvercle

    g020758
  2. Débranchez le câble négatif (noir) de la batterie.

    g020451
  3. Retirez le capuchon en caoutchouc de la borne positive et débranchez le câble.

Installation des autocollants réfléchissants

Pièces nécessaires pour cette opération:

Autocollant réfléchissant (avant, jaune)2
Autocollant réfléchissant (arrière, rouge)2

Installation de l'autocollant réfléchissant avant

Machines avec arceau de sécurité
  1. Nettoyez le bord avant de la plate-forme à l'alcool et laissez-le sécher (Figure 4).

    g351079
  2. Retirez la pellicule protectrice au dos de l'autocollant réfléchissant jaune.

  3. Alignez l'autocollant réfléchissant sur le bord inférieur de la plate-forme, comme montré à la Figure 4, et collez-le sur la plate-forme.

  4. Pliez le bord de l'autocollant réfléchissant sur le haut de la plate-forme.

  5. Répétez les opérations 1 à 4 pour l'autre autocollant réfléchissant jaune.

Installation de l'autocollant réfléchissant avant

Machines avec cabine
  1. Nettoyez le montant avant de la cabine au-dessus du support de phare et laissez-le sécher (Figure 5).

    g351129
  2. Retirez la pellicule protectrice au dos de l'autocollant réfléchissant jaune.

  3. Alignez l'autocollant à 23,8 cm (9⅜ po) au-dessus du support de phare et collez-le sur le montant de la cabine (Figure 5).

Installation de l'autocollant réfléchissant arrière

  1. Nettoyez la face avant du pare-chocs à l'alcool et laissez-la sécher (Figure 6).

    g351117
  2. Retirez la pellicule protectrice au dos de l'autocollant réfléchissant rouge.

  3. Alignez l'autocollant réfléchissant sur le pare-chocs, comme montré à la Figure 6, et collez-le dessus.

  4. Répétez les opérations 1 à 3 pour l'autre autocollant réfléchissant rouge.

Montage des phares sur les supports

Pièces nécessaires pour cette opération:

Phare droit – réf. 140-6772 (phare, socle, rondelle et écrou)1
Phare gauche – réf. 140-6773 (phare, socle, rondelle et écrou)1
Socle de phare (machines avec arceau de sécurité)2
Socle de phare gauche (machines avec cabine)1
Socle de phare droit (machines avec cabine)1
Vis à embase (½ x 1 po)2
Contre-écrou à embase (½ po)2
Attache-câble2

Identification des phares

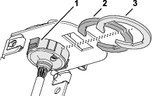
Du côté support du phare, lisez l'information imprimée sur le boîtier (Figure 7). Notez le numéro de référence et l'indication de côté droit (« RH ») ou gauche « LH ».

g350385

Identification des socles des phares

Voir la Figure 8 et la Figure 9 pour identifier les socles des phares pour votre machine.

g350863
g350864

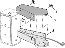
Retrait des fixations du panneau de plancher

Machines avec arceau de sécurité

Retirez les 2 vis et les 2 rondelles minces, les 2 rondelles épaisses et les 2 contre-écrous à embase qui fixent l'avant du panneau de plancher au cadre de la machine (Figure 10).

Note: Conservez les fixations.

g350418

Montage des socles de phares sur la machine

Machines avec arceau de sécurité
  1. Fixez le socle de phare sur le panneau de plancher et le cadre de la machine à l'aide de la vis (½ x 4½ po), la rondelle mince (½ x 1⅜ po), la rondelle épaisse (½ x 2¼ x ⅜ po) et l'écrou à embase (½ po) que vous avez retirés sous Retrait des fixations du panneau de plancher.

    g350530
  2. Serrez le contre-écrou et la vis à un couple de 91 à 113 N·m (67 à 83 pi-lb).

  3. Répétez les opérations 1 et2 pour le socle de phare de l'autre côté de la machine.

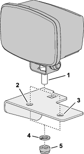
Montage des phares

Machines avec cabine

Important: Veillez à monter le phare marqué gauche (LH) sur le socle gauche et le phare marqué droit (RH) sur le socle droit.

  1. Le cas échéant, retirez le contre-écrou (12 mm) et la rondelle frein (12 mm) de la vis du support de phare.

  2. Alignez le phare sur son socle comme suit :

    • Groundsmaster 4010 : utilisez le trou extérieur du socle.

    • Groundsmaster 4110 : utilisez le trou intérieur du socle.

    g350532
  3. Installez la vis (12 mm) sur le socle du phare (Figure 12) à l'aide du contre-écrou (12 mm) et de la rondelle frein (12 mm).

  4. Serrez le contre-écrou et la vis.

  5. Répétez les opérations 1 à 4 pour le phare et son socle de l'autre côté de la machine.

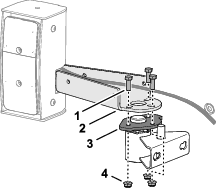
Montage des phares

Machines avec arceau de sécurité

Important: Veillez à monter le phare marqué gauche (LH) sur le côté gauche de la machine et le phare marqué droit (RH) sur le côté droit de la machine.

  1. Retirez l'attache-câble qui fixe le connecteur à 6 douilles étiqueté et le connecteur à 6 douilles étiqueté du faisceau de la machine sur le châssis de la machine (Figure 13).

    g350877
  2. Retirez le capuchon du connecteur à 6 douilles étiqueté ou le connecteur à 6 douilles étiqueté du faisceau de la machine, et branchez le connecteur sur le phare (Figure 14).

    g350820
  3. Le cas échéant, retirez le contre-écrou (12 mm) et la rondelle frein (12 mm) de la vis du support de phare.

  4. Installez la vis (12 mm) sur le socle du phare (Figure 15) à l'aide du contre-écrou (12 mm) et de la rondelle frein (12 mm).

    g350531
  5. Serrez le contre-écrou et la vis.

  6. Enroulez l'excédent de faisceau et fixez-le au châssis avec un attache-câble.

  7. Répétez les opérations 2 à 5 pour l'autre phare de l'autre côté de la machine.

Montage des phares et des socles

Machines avec cabine
  1. Fixez le phare et son socle sur le support de phare (Figure 16) à l'aide d'une vis à embase (½ x 1 po) et d'un contre-écrou à embase (½ po).

    g350533
  2. Serrez le contre-écrou et la vis à un couple de 91 à 113 N·m (67 à 83 pi-lb).

  3. Répétez les opérations 1 et2 pour l'autre phare et l'autre socle de l'autre côté de la machine.

  4. Retirez le capuchon du connecteur à 6 douilles étiqueté ou le connecteur à 6 douilles étiqueté du faisceau de la machine, et branchez le connecteur sur le phare (Figure 17).

    g350820
  5. Répétez l'opération 4 pour l'autre phare de l'autre côté de la machine.

Montage de la console de commande

Pièces nécessaires pour cette opération:

Faisceau de la console1
Capuchon de connecteur1
Plaque de montage de fusible1
Écrou à clip (nº 10)1
Centrale clignotante1
Vis à embase (nº 10 x ⅜ po)1
Attache-câble1
Support2
Écrou à clip (¼ po)8
Support de commutateurs1
Commutateur multifonction1
Clip de commutateur (épais)1
Clip de commutateur (mince)1
Cache de commutateur3
Interrupteur à bascule1
Bouton2
Couvercle du porte-fusibles1
Jonc de maintien2
Boulon de carrosserie (¼ x 2 po)4
Contre-écrous à embase4
Attache-câbles2
Fixation enfichable2
Vis à embase (¼ x ¾ po)4

Installation du connecteur de faisceau de la console

  1. Débranchez le connecteur à une broche du connecteur à une douille étiqueté (Figure 18).

    g350773
  2. Insérez le connecteur à une broche et le connecteur à une douille dans le capuchon (Figure 18).

Préparation du couvercle du mécanisme de direction et acheminement du faisceau de commande

  1. Déposez le soufflet du couvercle du mécanisme de direction et soulevez-le (Figure 19).

    g350969
  2. Retirez les 4 vis à embase qui fixent le couvercle du mécanisme de direction sur les supports, et déposez le couvercle (Figure 19).

  3. Meulez un cran dans le couvercle du mécanisme de direction, comme montré à la Figure 20.

    g350968
  4. Faites passer le connecteur à 12 broches au bout du faisceau de commande par le cran du couvercle du mécanisme de direction (Figure 21).

    g350970
  5. Fixez le couvercle du mécanisme de direction sur ses supports à l'aide des 4 vis à embase.

  6. Baissez le soufflet et fixez le bas dans le couvercle du mécanisme de direction (Figure 22).

    g350967

Montage de la plaque de montage du fusible

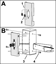
  1. Fixez l'écrou à clip (nº 10) sur la plaque de montage du fusible (Figure 23).

    g350763
  2. Fixez la centrale clignotante sur la plaque de montage (Figure 23) à l'aide d'une vis à embase (nº 10 x ⅜ po).

  3. Fixez la centrale clignotante sur la plaque de montage avec un attache-câble (Figure 23).

  4. Branchez le connecteur à 12 douilles du faisceau de commande au connecteur à 12 broches de la centrale clignotante (Figure 24).

    g350765
  5. Insérez l'ancrage enfichable du faisceau de commande dans le trou de 6,4 mm (1/4 po) du support (Figure 25).

    g350766

Montage du support de commutateurs

  1. Installez les 8 écrous à clip (¼ po) sur le support de commutateurs, comme montré à la Figure 26.

    g350767
  2. Insérez le commutateur multifonction dans le trou de 100 mm (2 po) du support, comme montré à la Figure 27.

    g350769
  3. Fixez le commutateur multifonction sur le support avec les clips mince et épais (Figure 28).

    g350778
  4. Insérez les 3 caches dans le support de commutateurs, comme montré à la Figure 29.

    g350770
  5. Placez l'interrupteur à bascule sur le support en dirigeant le voyant vers l'avant de la plaque de commutateurs (Figure 30).

    g350768
  6. Placez les 2 boutons dans le couvre-fusible et fixez-les en place avec 2 joncs de maintien (Figure 31).

    g350764
  7. Montez le couvre-fusible sur la plaque de commutateurs et serrez les boutons (Figure 31).

Montage de la plaque de commutateurs sur la colonne de direction

  1. Alignez la plaque de commutateurs sur le côté arrière de la colonne de direction (Figure 33).

    g350762
  2. Dans les trous supérieurs de 6,4 mm (¼ po), insérez 2 boulons de carrosserie (¼ x 2 po) dans la plaque de commutateurs et l'autre support de montage (Figure 32).

  3. Fixez la plaque de montage de fusible sur le support de montage et les boulons de carrosserie (Figure 33) à l'aide de 2 contre-écrous à embase (¼ po).

    g350772
  4. Dans les trous inférieurs 6,4 mm (¼ po), insérez 2 boulons de carrosserie (¼ x 2 po) dans la plaque de commutateurs, le support de montage et la plaque de montage du fusible (Figure 33) et fixez-les avec 2 contre-écrous à embase (¼ po).

  5. Alignez la plaque de commutateurs sur le siège de l'utilisateur et serrez les 4 contre-écrous à embase.

Connexion du faisceau de la console aux commutateurs

  1. Branchez le connecteur à 8 douilles du faisceau de commande étiqueté sur le connecteur à 8 broches de l'interrupteur à bascule (Figure 34).

    g350776
  2. Branchez le connecteur à 9 broches du faisceau du commutateur multifonction sur le connecteur à 9 douilles du faisceau de la console (Figure 35).

    g350777
  3. Fixez le faisceau de la console à la colonne de direction avec 2 attache-câbles.

Installation du couvercle de commande

  1. Alignez les trous du couvercle de commande et les trous du support du commutateur (Figure 36).

    g350789
  2. Utilisez les trous intermédiaires pour fixer le couvercle sur le support avec 2 fixations enfichables, comme montré à la Figure 36.

  3. Fixez le couvercle sur le support à l'aide de 4 vis à embase (¼ x ¾ po) comme montré à la Figure 37.

    g350771

Connexion du faisceau de la console

  1. Retirez le capuchon du connecteur à 12 douilles du faisceau de la machine (Figure 38 et Figure 39).

    g351028
    g351027
  2. Branchez le connecteur à 12 broches du faisceau de la console sur le connecteur à 12 douilles du faisceau de la machine (Figure 39).

Mise en place des fusibles

Pièces nécessaires pour cette opération:

Fusible (10 A)1
Fusible (15 A)1

Dépose du couvercle du compartiment électrique

Machines avec arceau de sécurité

Au niveau du plancher, le long du côté droit du siège de l'utilisateur, retirez les 2 vis à tête creuse et les 2 rondelles qui fixent le couvercle du contrôleur sur le support des composants électriques, et déposez le couvercle (Figure 40).

g351012g351093

Dépose du couvercle du compartiment électrique

Machines avec cabine

Au niveau du plancher, le long du côté droit du siège de l'utilisateur, retirez les 2 vis à tête creuse qui fixent le couvercle du contrôleur sur le support des composants électriques, et déposez le couvercle (Figure 41).

g351105g351092

Insertion des fusibles

Insérez les fusibles (Figure 42) dans les emplacements suivants du porte-fusibles :

Fusible

Emplacement dans le porte-fusibles

10 A

A3

15 A

A4

g351014

Pose du couvercle du compartiment électrique

Machines avec arceau de sécurité
  1. Alignez les trous du couvercle du contrôleur et les écrous à clip du support des composants électriques (Figure 43).

    g351093
  2. Fixez le couvercle du contrôleur sur le support des composants électriques (Figure 43) à l'aide des 2 vis à tête creuse et des 2 rondelles que vous avez retirées sous Dépose du couvercle du compartiment électrique.

Pose du couvercle du compartiment électrique

Machines avec cabine
  1. Alignez les trous du couvercle du contrôleur et les écrous à clip du support des composants électriques (Figure 44).

    g351092
  2. Fixez le couvercle du contrôleur sur le support des composants électriques (Figure 44) à l'aide des 2 vis à tête creuse que vous avez retirées sous Dépose du couvercle du compartiment électrique

Montage des feux arrière

Pièces nécessaires pour cette opération:

Boîtier d'éclairage gauche1
Support du boîtier de feu gauche1
Boîtier d'éclairage droit1
Support du boîtier de feu droit1
Boulon de carrosserie (¼ x ⅝ po)4
Contre-écrou à embase (¼ po)4
Faisceau de feu arrière gauche et de plaque d'immatriculation1
Faisceau de feu arrière droit1
Écrou à clip (¼ po)4
Support intérieur2
Vis à tête creuse (¼ x ¾ po)8
Feu arrière2
Vis à tête creuse (nº 10 x 1¼ po)4
Support de pivot2
Vis (¼ x ¾ po)6
Contre-écrou (¼ po)6
Couvercle de support gauche1
Couvercle de support droit1
Fixations enfichables8
Support adaptateur pivotant2
Boulon de carrosserie (¼ x 1¼ po)4
Contre-écrou à embase (⅜ po)4

Montage des boîtiers des feux

  1. Alignez le support du boîtier de feux gauche sur le boîtier, comme montré à la Figure 45.

    g350513
  2. Fixez le support sur le boîtier (Figure 45) à l'aide de 2 boulons de carrosserie (¼ x ⅝ po) et 2 contre-écrous (¼ po).

  3. Insérez le support droit dans le boîtier du feu droit, comme montré à la Figure 45.

  4. Fixez le support sur le boîtier (Figure 45) à l'aide de 2 boulons de carrosserie (¼ x ⅝ po) et 2 contre-écrous (¼ po).

Montage des faisceaux et des supports intérieurs

  1. Installez le connecteur à 4 douilles du faisceau de feu arrière gauche et de plaque d'immatriculation dans le boîtier du feu gauche (Figure 46).

    Note: Le faisceau du feu arrière gauche et de la plaque d'immatriculation comporte un connecteur à 2 douilles pour l'éclairage de la plaque d'immatriculation.

    g351322
  2. Installez le connecteur à 4 douilles du faisceau de feu arrière droit et de plaque d'immatriculation dans le boîtier du feu droit (Figure 46).

  3. Montez 2 écrous à clip sur le support intérieur, comme montré à la Figure 47.

    g350574
  4. Insérez le connecteur à 4 douilles du faisceau dans le support intérieur (Figure 47).

  5. Montez le support intérieur dans le boîtier du feu et fixez-le en place (Figure 47) à l'aide de 4 vis à tête creuse (¼ x ¾ po).

  6. Répétez les opérations 3 à 5 pour l'autre support intérieur et l'autre boîtier de feu.

Montage des feux arrière

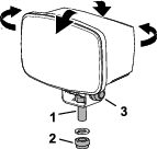
  1. Placez le feu arrière devant le boîtier, verre jaune en haut, comme montré à la Figure 48.

    g350575
  2. Branchez le connecteur à 4 douilles du faisceau sur le connecteur à 4 broches du feu arrière (Figure 48).

  3. Montez le feu arrière dans le boîtier et fixez-le en place (Figure 48) à l'aide de 2 vis cruciforme (nº 10 x 1¼ po).

  4. Répétez les opérations 1 à 3 pour l'autre feu arrière et l'autre boîtier de feu.

  5. Fixez le support de pivot sur le support du boîtier du feu (Figure 49) à l'aide de 3 vis (¼ x ¾ po) et contre-écrous (¼ po).

    g351422
  6. Fixez le couvercle du support sur le support du boîtier du feu à l'aide de 4 fixations enfichables (Figure 50).

    g350666
  7. Répétez les opérations 5 et 6 pour l'autre ensemble couvercle de support et feu.

Montage du support de pivot

  1. Sur le côté gauche du pare-chocs, retirez les 2 vis (½ x 1¼ po), les 2 rondelles (½ po) et les 2 contre-écrous à embase (½ po) qui fixent le pare-chocs sur le longeron gauche du cadre (Figure 48).

    g350534
  2. Insérez 2 boulons de carrosserie (¼ x 1¼ po) dans les fentes du support adaptateur pivotant (Figure 48).

  3. Fixez le support adaptateur pivotant et le pare-chocs sur le longeron gauche du cadre à l'aide des 2 vis (¼ x 1¼ po), 2 rondelles (½ po) et 2 contre-écrous à embase (½ po) que vous avez retirés à l'opération 1.

  4. Serrez les vis et les contre-écrous à un couple de 91 à 113 N·m (67 à 83 pi-lb).

  5. Fixez le support de pivot sur les boulons de carrosserie du support adaptateur pivotant (Figure 52) à l'aide de 2 contre-écrous (⅜ po).

    g350605
  6. Répétez les opérations 1 à 4 pour le support adaptateur pivotant de l'autre côté du pare-chocs.

Installation du symbole de véhicule lent

Pièces nécessaires pour cette opération:

Symbole de véhicule lent1
Support de symbole de véhicule lent1
Vis (¼ x ¾ po)3
Rondelle (¼ x ¾ po)3
Contre-écrou (¼ po)3
  1. Fixez le symbole de véhicule lent sur son support (Figure 53) à l'aide de 3 vis (¼ x ¾ po), 3 rondelles (¼ x ¾ po) et 3 contre-écrous (¼ po).

    g351150
  2. Sur chaque support de pivot du capot (Figure 54), retirez la vis à l'extrême arrière (⅜ x 1¼ po).

    g351162g351163
  3. Alignez les trous dans le support de panneau de véhicule lent sur les fentes dans le support de pivot du capot (Figure 55).

    g351151
  4. Fixez le support de panneau de véhicule sur le support de pivot du capot (Figure 55) à l'aide de 2 vis à embase (⅜ x 1¼ po).

  5. Serrez les fixations à un couple de 37 à 45 N·m (27 à 33 pi-lb).

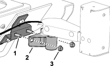
Connexion des faisceaux des feux arrière

Acheminement du câblage et connexion du feu arrière gauche

  1. Déverrouillez et soulevez le capot.

  2. Acheminez le connecteur à 4 douilles étiqueté le faisceau de la machine sous le longeron gauche du cadre et vers l'avant (Figure 56).

    g351426g351444
  3. Appliquez l'ancrage de faisceau magnétique sur le longeron du cadre (Figure 56).

  4. Faites passer le connecteur à 2 douilles (branche de l'éclairage de la plaque d'immatriculation) du faisceau du feu gauche sous le capot et vers l'intérieur (Figure 56).

  5. Insérez l'ancrage enfichable de la branche de l'éclairage de la plaque d'immatriculation dans le trou su support d'articulation du capot (Figure 57).

    g351457
  6. Sur la face intérieure du longeron du cadre, retirez le capuchon du connecteur à 4 douilles étiqueté du faisceau de la machine (Figure 58).

    g350866
  7. Branchez le connecteur à 4 broches étiqueté LH Rear Lights du faisceau du feu arrière gauche au connecteur à 4 douilles étiqueté du faisceau de la machine (Figure 58).

Acheminement du câblage et connexion du feu arrière droit

  1. Acheminez le connecteur à 4 douilles étiqueté le faisceau de la machine sous le longeron gauche du cadre et vers l'avant (Figure 59).

    g351427g351445
  2. Sur la face intérieure du longeron du cadre, retirez le capuchon du connecteur à 4 douilles étiqueté du faisceau de la machine (Figure 60).

    g350907
  3. Branchez le connecteur à 4 broches étiqueté RH Rear Lights du faisceau du feu arrière droit au connecteur à 4 douilles étiqueté du faisceau de la machine (Figure 60).

    Important: Veillez à acheminer les faisceaux à l'écart du tuyau d'échappement.

  4. Fermez et verrouillez le capot.

Branchement de la batterie

  1. Branchez le câble positif de la batterie sur la borne positive de la batterie (Figure 61) et placez le capuchon en caoutchouc sur la borne.

    g020451
  2. Branchez le câble négatif (noir) de la batterie.

  3. Fermez le couvercle du compartiment de la batterie (Figure 62) jusqu'à ce qu'il s'enclenche.

    g351816

Utilisation

Commandes

Note: Contrôlez le fonctionnement des feux. Vérifiez que le clignotant correct clignote quand vous actionnez la commande des clignotants.

g351549

Utilisation des feux

g351478
  1. Mettez le contact et poussez le commutateur d'éclairage en position ALLUMéE.

  2. Tournez le commutateur d'éclairage (Figure 63 et Figure 64) aux positions suivantes :

    • ÉTEINT

    • Éclairages routiers ALLUMéS

    • Éclairages routiers et éclairage de travail optionnel ALLUMéS

Utilisation des clignotants

  • Levez la commande des clignotants (Figure 63) pour indiquer que vous tournez à droite.

  • Abaissez la commande pour indiquer que vous tournez à gauche.

  • Ramenez la commande au centre pour éteindre les clignotants.

Utilisation des feux de détresse

g351460
  • Appuyez sur le haut de l'interrupteur (Figure 65) pour allumer les feux de détresse.

    Note: L'interrupteur des feux de détresse s'éclaire quand les feux de détresse sont allumés.

  • Appuyez sur le bas de l'interrupteur pour éteindre les feux de détresse.

Réglage des phares

  1. Desserrez les contre-écrous de montage et les vis pour régler les phares (Figure 62).

    g351458
  2. Réglez les phares conformément aux normes locales.

  3. Serrez les contre-écrous et les vis (Figure 62).

Entretien

Entretien des fusibles

Remplacement d'un fusible dans le porte-fusibles

  1. Garez la machine sur une surface plane et horizontale, serrez le frein de stationnement, abaissez les unités de coupe, coupez le moteur et enlevez la clé.

  2. Déposez le couvercle du compartiment électrique; voir Dépose du couvercle du compartiment électrique ou Dépose du couvercle du compartiment électrique.

  3. Remplacez le fusible usagé.

    Emplacement dans le porte-fusibles

    Circuits protégés

    Intensité du fusible

    A3

    Alimentation du kit d'éclairage EU

    10 A

    A4

    Kit d’éclairage routier

    15 A

    g351014
  4. Reposez le couvercle du compartiment électrique; voir Pose du couvercle du compartiment électrique ou Pose du couvercle du compartiment électrique.

Remplacement d'un fusible de feu arrière

  1. Garez la machine sur une surface plane et horizontale, serrez le frein de stationnement, abaissez les unités de coupe, coupez le moteur et enlevez la clé.

  2. Déverrouillez et soulevez le capot.

  3. Retirez le capuchon du porte-fusible en ligne (Figure 68).

    g350865
  4. Remplacez le fusible; voir le tableau des fusibles.

    Tableau des fusibles

    Faisceau de feu arrière gauche

    Circuits protégés

    Intensité du fusible

    Étiqueté (faisceau de feu arrière gauche)

    Feux arrière

    5 A

    Étiqueté

    Feux stop

    5 A

    Faisceau de feu arrière gauche

    Circuits protégés

    Intensité du fusible

    Étiqueté (faisceau de feu arrière droit)

    Feux arrière

    5 A

    Étiqueté

    Feux stop

    5 A

  5. Remettez le capuchon sur le porte-fusible (Figure 68).

  6. Fermez et verrouillez le capot.