Seguridad

Pegatinas de seguridad e instrucciones

Graphic

Las pegatinas de seguridad e instrucciones están a la vista del operador y están ubicadas cerca de cualquier zona de peligro potencial. Sustituya cualquier pegatina que esté dañada o que falte.

decal140-1531
decal140-1623

Instalación

Preparación de la máquina

  1. Aparque la máquina en una superficie nivelada y baje las unidades de corte.

  2. Ponga el freno de estacionamiento.

  3. Apague el motor y retire la llave.

g351500

Desconexión de la batería

  1. Abra la tapa de la batería, situada en el lateral de la cubierta (Figura 2).

    Note: Presione hacia abajo sobre la superficie plana situada encima de la tapa de la batería para facilitar la apertura de la tapa.

    g020758
  2. Desconecte el cable negativo (negro) de la batería.

    g020451
  3. Retire la cubierta de goma del borne positivo y desconecte el cable.

Instalación de las pegatinas reflectantes

Piezas necesarias en este paso:

Pegatina reflectante (delantera – amarilla)2
Pegatina reflectante (trasera – roja)2

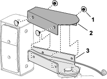
Instalación del reflector delantero

Máquinas con barra antivuelco
  1. Limpie el borde delantero de la plataforma con alcohol, y deje que se seque (Figura 4).

    g351079
  2. Retire la película protectora de la pegatina reflectante amarilla.

  3. Alinee el reflector con el borde inferior de la plataforma, como se muestra en la Figura 4, y péguelo en la plataforma.

  4. Doble el borde del reflector sobre la parte superior de la plataforma.

  5. Repita 1 los pasos a 4 con la otra pegatina reflectante amarillo.

Instalación del reflector delantero

Máquinas con cabina
  1. Limpie con alcohol el pilar delantero de la cabina, encima del soporte del faro, y deje que se seque (Figura 5).

    g351129
  2. Retire la película protectora de la pegatina reflectante amarilla.

  3. Alinee la pegatina de 23.8 cm (9⅜") por encima del soporte del faro y pegue la pegatina al pilar de la cabina (Figura 5).

Instalación del reflector trasero

  1. Limpie la cara del parachoques con alcohol, y deje que se seque (Figura 6).

    g351117
  2. Retire la película protectora de la pegatina reflectante roja.

  3. Alinee el reflector con el parachoques como se muestra en la Figura 6, y péguelo al parachoques.

  4. Repita los pasos 1 a 3 con la otra pegatina reflectante roja.

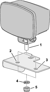
Montaje de los faros en los soportes

Piezas necesarias en este paso:

Faro derecho – Pieza N.º 140-6772 (luz, soporte, arandela y tuerca)1
Faro izquierdo – Pieza N.º 140-6773 (luz, soporte, arandela y tuerca)1
Soporte de la luz (máquinas con barra antivuelco)2
Soporte de la luz izquierda (máquinas con cabina)1
Soporte de la luz derecha (máquinas con cabina)1
Tornillo con arandela prensada (½" x 1")2
Contratuerca con arandela prensada (½")2
Brida2

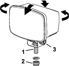
Identificación de los faros

En la cara del faro más próxima al soporte, mire la información impresa en la carcasa (Figura 7). Observe el número de pieza y la información “RH” (derecho) o “LH” (izquierdo).

g350385

Identificación de los soportes de los faros

Utilice la Figura 8 y la Figura 9 para identificar los soportes de los faros de su máquina.

g350863
g350864

Retirada de las fijaciones del panel de suelo

Máquinas con barra antivuelco

Retire los 2 tornillos y las 2 arandelas finas, las 2 arandelas gruesas y las 2 contratuercas con arandela prensada que sujetan la parte delantera del panel de suelo al bastidor de la máquina (Figura 10).

Note: Guarde las fijaciones.

g350418

Instalación de los soportes de las luces en la máquina

Máquinas con barra antivuelco
  1. Monte el soporte de la luz en el panel de suelo y en el bastidor de la máquina con el tornillo (½" x 4½"), la arandela fina (½" x 1⅜"), la arandela gruesa (½" x 2¼" x ⅜") y la contratuerca con arandela prensada (½") que retiró en Retirada de las fijaciones del panel de suelo.

    g350530
  2. Apriete la contratuerca y el tornillo y la contratuerca a 91-113 N·m (67-83 pies-libra).

  3. Repita los pasos 1 y 2 con el soporte de la luz del otro lado de la máquina.

Ensamblaje de los faros

Máquinas con cabina

Important: Asegúrese de montar el faro marcado "left" con el soporte de la luz izquierda, y el faro marcado "right" con el soporte de la luz derecha.

  1. Si están montadas, retire la contratuerca (12 mm) y la arandela de freno (12 mm) del tornillo del soporte del faro.

  2. Alinee la luz con el soporte de la luz como se indica a continuación:

    • Máquinas Groundsmaster 4010: Utilice el orificio exterior de montaje de la luz.

    • Máquinas Groundsmaster 4110: Utilice el orificio de montaje interior de la luz.

    g350532
  3. Monte el tornillo (12 mm) en el soporte de la luz (Figura 12) con la contratuerca (12 mm) y la arandela de freno (12 mm).

  4. Apriete la contratuerca y el tornillo.

  5. Repita los pasos 1 a 4 con el faro y el soporte del otro lado de la máquina.

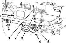
Instalación de los faros

Máquinas con barra antivuelco

Important: Asegúrese de montar el faro marcado "left" en el lado izquierdo de la máquina, y el faro marcado "right" en el lado derecho de la máquina.

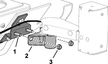
  1. Retire la brida que sujeta el conector hembra de 6 vías marcado y el conector hembra de 6 vías marcado del arnés de cables de la máquina al chasis de la máquina (Figura 13).

    g350877
  2. Retire el tapón del conector hembra de 6 vías marcado o el conector hembra de 6 vías marcado del arnés de cables de la máquina, y enchufe el conector en el faro (Figura 14).

    g350820
  3. Si están montadas, retire la contratuerca (12 mm) y la arandela de freno (12 mm) del tornillo del soporte del faro.

  4. Monte el tornillo (12 mm) en el soporte de la luz (Figura 15) con la contratuerca (12 mm) y la arandela de freno (12 mm).

    g350531
  5. Apriete la contratuerca y el tornillo.

  6. Enrolle el arnés de cables sobrante y sujételo al chasis con una brida.

  7. Repita 2 los pasos a 5 con el otro faro del otro lado de la máquina.

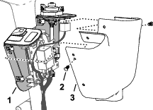
Instalación de los faros y los soportes de las luces

Máquinas con cabina
  1. Monte el faro y la base en el soporte del faro (Figura 16) con un tornillo con arandela prensada (½" x 1") y una contratuerca con arandela prensada (½").

    g350533
  2. Apriete la contratuerca y el tornillo y la contratuerca a 91-113 N·m (67-83 pies-libra).

  3. Repita los pasos 1 y 2 con el faro y el soporte del otro lado de la máquina.

  4. Retire el tapón del conector hembra de 6 vías marcado o el conector hembra de 6 vías marcado del arnés de cables de la máquina, y enchufe el conector en el faro (Figura 17).

    g350820
  5. Repita el paso 4 con el otro faro del otro lado de la máquina.

Instalación de la consola de control

Piezas necesarias en este paso:

Arnés de la consola1
Tapón del conector1
Placa de montaje de los fusibles1
Tuerca rápida (Nº 10)1
Módulo de intermitencia1
Tornillo con arandela prensada, (Nº 10 x ⅜")1
Brida1
Abrazadera2
Tuerca rápida (¼")8
Soporte de los interruptores1
Interruptor multifunción1
Clip del interruptor (grueso)1
Clip del interruptor (fino)1
Tapón del interruptor3
Interruptor basculante1
Pomo2
Tapa de los fusibles1
Pletina de retención2
Perno de cuello cuadrado (¼" x 2")4
Contratuercas con arandela prensada4
Bridas2
Grapa2
Tornillo con arandela prensada (¼" x ¾")4

Instalación del tapón del conector del arnés de la consola

  1. Desconecte el conector de un solo pin del conector hembra simple marcado (Figura 18).

    g350773
  2. Enchufe el conector de un solo pin y el conector hembra simple en el tapón del conector (Figura 18).

Preparación de la cubierta de la columna de dirección y enrutado del arnés de control

  1. Retire el fuelle de la cubierta de la columna de dirección y deslice el fuelle hacia arriba (Figura 19).

    g350969
  2. Retire los 4 tornillos con arandela prensada que sujetan la cubierta de la columna de dirección a los soportes de la cubierta, y levante la cubierta (Figura 19).

  3. Haga una muesca en la cubierta de la columna de dirección, como se muestra en la Figura 20.

    g350968
  4. Alinee el extremo del arnés de cables con conector de 12 pines a través de la muesca de la cubierta de la columna de dirección (Figura 21).

    g350970
  5. Monte la cubierta de la columna de dirección en los soportes de la cubierta con los 4 tornillos con arandela prensada.

  6. Tire hacia abajo del fuelle y monte su borde inferior en la cubierta de la columna de dirección (Figura 22).

    g350967

Montaje de la placa de montaje de los fusibles

  1. Monte la tuerca rápida Nº 10 en la placa de montaje de los fusibles (Figura 23).

    g350763
  2. Monte el módulo de intermitencia en la placa de montaje (Figura 23) con un tornillo con arandela prensada (Nº 10" x ⅜").

  3. Sujete el módulo de intermitencia a la placa de montaje con una brida (Figura 23).

  4. Enchufe el conector hembra de 12 vías del arnés de la consola en el conector de 12 pines del módulo de intermitencia (Figura 24).

    g350765
  5. Introduzca la grapa del arnés de la consola en el orificio de 6.4 mm (¼") del soporte (Figura 25).

    g350766

Montaje del soporte de los interruptores

  1. Monte las 8 tuercas rápidas (¼") en el soporte de los interruptores, como se muestra en la Figura 26.

    g350767
  2. Introduzca el interruptor multifunción en el orificio de 100 mm (2") del soporte de los interruptores, como se muestra en la Figura 27.

    g350769
  3. Sujete el interruptor multifunción al soporte de los interruptores con los clips grueso y fino (Figura 28).

    g350778
  4. Inserte los 3 tapones en el soporte de los interruptores, como se muestra en la Figura 29.

    g350770
  5. Alinee el interruptor basculante con el soporte de los interruptores, con la lente de la luz hacia la parte delantera de la placa de los interruptores (Figura 30).

    g350768
  6. Monte los 2 pomos en la tapa del fusible, y sujete los pomos con 2 pernos de retención (Figura 31).

    g350764
  7. Monte la tapa de los fusibles en la placa de los interruptores, y apriete los pomos (Figura 31).

Instalación de la placa de los interruptores en la columna de dirección

  1. Alinee la placa de los interruptores con el lado trasero de la columna de dirección (Figura 33).

    g350762
  2. En los orificios superiores de 6.4 mm (¼"), monte 2 pernos de cuello cuadrado (¼" x 2") a través de la placa del interruptor y el otro soporte de montaje (Figura 32).

  3. Monte la placa de montaje de los fusibles en el soporte superior y en los pernos de cuello cuadrado (Figura 33) con 2 contratuercas con arandela prensada (¼").

    g350772
  4. En los orificios inferiores de 6.4 mm (¼"), monte 2 pernos de cuello cuadrado (¼" x 2") a través de la placa del interruptor, el soporte y la placa de montaje de los fusibles (Figura 33) con 2 pernos de cuello cuadrado (¼" x 2") y 2 contratuercas con arandela prensada (¼").

  5. Alinee la placa de los interruptores con el asiento del operador, y apriete las 4 contratuercas con arandela prensada.

Conexión del arnés de la consola a los interruptores

  1. Enchufe el conector hembra de 8 vías del arnés de cables de control marcado en el conector de 8 pines del interruptor basculante (Figura 34).

    g350776
  2. Enchufe el conector de 9 pines del arnés del interruptor multifunción en el conector hembra de 9 vías del arnés de la consola (Figura 35).

    g350777
  3. Sujete el arnés de la consola a la columna de dirección con 2 bridas.

Instalación de la cubierta de los controles

  1. Alinee los orificios de la cubierta de los controles con los orificios del soporte de los interruptores (Figura 36).

    g350789
  2. Usando los orificios centrales, sujete la cubierta al soporte con 2 grapas, como se muestra en la Figura 36.

  3. Sujete la cubierta al soporte con 4 tornillos con arandela prensada (¼" x ¾"), como se muestra en la Figura 37.

    g350771

Conexión del arnés de la consola

  1. Retire el tapón del conector hembra de 12 vías del arnés de cables de la máquina (Figura 38 y Figura 39).

    g351028
    g351027
  2. Enchufe el conector de 12 pines del arnés de la consola en el conector hembra de 12 vías del arnés de cables de la máquina (Figura 39).

Instalación de los fusibles

Piezas necesarias en este paso:

Fusible (10 A)1
Fusible (15 A)1

Retirada de la tapa del panel eléctrico

Máquinas con barra antivuelco

En el suelo, a la derecha del asiento del operador, retire los 2 tornillos allen y 2 arandelas que sujetan la tapa del controlador al soporte de los componentes eléctricos, y retire la tapa (Figura 40).

g351012g351093

Retirada de la tapa del panel eléctrico

Máquinas con cabina

En el suelo, a la derecha del asiento del operador, retire los 2 tornillos allen que sujetan la tapa del controlador al soporte de los componentes eléctricos, y retire la tapa (Figura 41).

g351105g351092

Insertar los fusibles

Inserte los fusibles (Figura 42) en las ranuras siguientes del bloque de fusibles:

Fusible

Ranura del bloque de fusibles

10 A

A3

15 A

A4

g351014

Instalación de la tapa del panel eléctrico

Máquinas con barra antivuelco
  1. Alinee los orificios de la tapa del controlador con las tuercas rápidas del soporte de los componentes eléctricos (Figura 43).

    g351093
  2. Instale la tapa del controlador en el soporte de los componentes eléctricos (Figura 43) con los 2 tornillos allen y las 2 arandelas que retiró en Retirada de la tapa del panel eléctrico.

Instalación de la tapa del panel eléctrico

Máquinas con cabina
  1. Alinee los orificios de la tapa del controlador con las tuercas rápidas del soporte de los componentes eléctricos (Figura 44).

    g351092
  2. Instale la tapa del controlador en el soporte de los componentes eléctricos (Figura 44) con los 2 tornillos allen que retiró en Retirada de la tapa del panel eléctrico.

Instalación de las luces traseras

Piezas necesarias en este paso:

Carcasa de la luz izquierda1
Soporte de la carcasa de la luz izquierda1
Carcasa de la luz derecha1
Soporte de la carcasa de la luz derecha1
Perno de cuello cuadrado (¼" x ⅝")4
Contratuerca con arandela prensada (¼")4
Arnés de la luz trasera izquierda y la placa de matrícula1
Arnés de la luz trasera derecha1
Tuerca rápida (¼")4
Soporte interior2
Tornillo Allen (¼" x ¾")8
Luz trasera2
Tornillo Phillips (Nº 10 x 1¼")4
Soporte de giro2
Tornillo (¼" x ¾")6
Contratuerca (¼")6
Cubierta del soporte izquierdo1
Cubierta de soporte derecho1
Grapas8
Soporte del adaptador de giro2
Perno de cuello cuadrado (¼" x 1¼")4
Contratuerca con arandela prensada (⅜")4

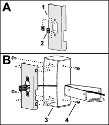
Montaje de las carcasas de las luces

  1. Monte el soporte de la carcasa de la luz izquierda en la carcasa de la luz izquierda, como se muestra en la Figura 45.

    g350513
  2. Sujete el soporte a la carcasa (Figura 45) con 2 pernos de cuello cuadrado (¼" x ⅝") y una contratuerca con arandela prensada (¼").

  3. Monte el soporte derecho en el soporte de la carcasa de la luz derecha, como se muestra en la Figura 45.

  4. Sujete el soporte a la carcasa (Figura 45) con 2 pernos de cuello cuadrado (¼" x ⅝") y una contratuerca con arandela prensada (¼").

Montaje de los arneses y los soportes interiores

  1. Monte el conector hembra de 4 vías del arnés de la luz trasera izquierda y la placa de matrícula en la carcasa de la luz izquierda (Figura 46).

    Note: La luz trasera izquierda y el arnés de la placa de matrícula tienen un conector hembra de 2 vías para la luz de la placa de matrícula.

    g351322
  2. Monte el conector hembra de 4 vías del arnés de la luz trasera derecha y la placa de matrícula en la carcasa de la luz derecha (Figura 46).

  3. Monte 2 tuercas rápidas en el soporte interior, como se muestra en la Figura 47.

    g350574
  4. Pase el conector hembra de 4 vías del arnés a través del soporte interior (Figura 47).

  5. Monte el soporte interior en la carcasa de la luz, y sujete el soporte a la carcasa (Figura 47) con 4 tornillos allen (¼" x ¾").

  6. Repita los pasos 3 a 5 con el otro soporte interior y carcasa de la luz.

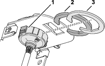
Montaje de las luces traseras

  1. Alinee la luz trasera con el alojamiento de la luz, con la lente amarilla orientada como se muestra en la Figura 48.

    g350575
  2. Enchufe el conector hembra de 4 vías del arnés en el conector de 4 pines de la luz trasera (Figura 48).

  3. Monte la luz trasera en la carcasa de la luz, y sujete la luz a la carcasa (Figura 48) con 2 tornillos Phillips (Nº 10 x 1¼").

  4. Repita los pasos 1 a 3 con la otra luz trasera y la otra carcasa de la luz.

  5. Instale un soporte de giro en el soporte de la carcasa de la luz (Figura 49) con 3 tornillos (¼" x ¾") y contratuercas (¼").

    g351422
  6. Instale la tapa del soporte en el soporte de la carcasa de la luz con 4 grapas (Figura 50).

    g350666
  7. Repita los pasos 5 y 6 con el otro conjunto de tapa del soporte y luz.

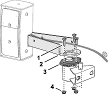
Instalación del soporte de giro

  1. En el lado izquierdo del parachoques, retire los 2 tornillos (½" x 1¼"), las 2 arandelas (½") y las 2 contratuercas con arandela prensada (½") que sujetan el parachoques al larguero izquierdo del bastidor (Figura 48).

    g350534
  2. Introduzca 2 pernos de cuello cuadrado (¼" x 1¼") en las ranuras del soporte giratorio (Figura 48).

  3. Monte el soporte giratorio y el parachoques en el larguero izquierdo del bastidor con los 2 tornillos (½" x 1¼"), las 2 arandelas (½") y las 2 contratuercas con arandela prensada (½") que retiró en el paso 1.

  4. Apriete los tornillos y las contratuercas a 91-113 N·m (67-83 pies-libra).

  5. Instale el soporte de giro en los pernos de cuello cuadrado del soporte giratorio (Figura 52) con 2 contratuercas con arandela prensada (⅜").

    g350605
  6. Repita los pasos 1 a 4 con el soporte del adaptador de giro del otro lado del parachoques.

Instalación de la señal de vehículo lento

Piezas necesarias en este paso:

Señal de vehículo lento1
Soporte de la señal de vehículo lento1
Tornillo (¼" x ¾")3
Arandela (¼" x ¾")3
Contratuerca (¼")3
  1. Monte la señal de vehículo lento en el soporte del vehículo lento (Figura 53) con 3 tornillos (¼" x ¾"), 3 arandelas (¼" x ¾") y 3 contratuercas (¼").

    g351150
  2. En cada soporte de giro del capó (Figura 54), retire el tornillo con arandela prensada trasero (⅜" x 1¼").

    g351162g351163
  3. Alinee los orificios del soporte de la señal de vehículo lento con las ranuras del soporte de giro del capó (Figura 55).

    g351151
  4. Monte el soporte de la placa de vehículo lento en el soporte de giro del capó (Figura 55) con los 2 tornillos con arandela prensada (⅜" x 1¼").

  5. Apriete los tornillos a 37-45 N·m (27-33 pies-libra).

Conexión de los arneses de las luces traseras

Enrutado y conexión de la luz trasera izquierda

  1. Desenganche y levante el capó.

  2. Enrute el conector hembra de 4 vías marcado del arnés de cables de la máquina por debajo del larguero izquierdo del bastidor y hacia adelante (Figura 56).

    g351426g351444
  3. Pegue el anclaje magnético del arnés al larguero del bastidor (Figura 56).

  4. Enrute el conector hembra de 2 vías (rama de la luz de la placa de matrícula) del arnés de la luz trasera izquierda por debajo del capó y hacia dentro (Figura 56).

  5. Introduzca la grapa de la rama de la luz de la placa de matrícula en el orificio del soporte izquierdo de la bisagra del capó (Figura 57).

    g351457
  6. En el lado interior del larguero del bastidor, retire el tapón del conector hembra de 4 vías marcado del arnés de cables de la máquina (Figura 58).

    g350866
  7. Enchufe el conector de 4 pines marcado LH Rear lights del arnés de la luz trasera izquierda en el conector hembra de 4 vías marcado del arnés de cables de la máquina (Figura 58).

Enrutado y conexión de la luz trasera derecha

  1. Enrute el conector hembra de 4 vías marcado del arnés de cables de la máquina por debajo del larguero izquierdo del bastidor y hacia adelante (Figura 59).

    g351427g351445
  2. En el lado interior del larguero del bastidor, retire el tapón del conector hembra de 4 vías marcado del arnés de cables de la máquina (Figura 60).

    g350907
  3. Enchufe el conector de 4 pines marcado RH Rear Lights del arnés de la luz trasera derecha en el conector hembra de 4 vías marcado del arnés de cables de la máquina (Figura 60).

    Important: Asegúrese de que los arneses están alejados del tubo de escape.

  4. Cierre y enganche el capó.

Conexión de la batería

  1. Conecte el cable positivo de la batería al borne positivo de la batería (Figura 61), y coloque la cubierta de goma sobre el borne.

    g020451
  2. Desconecte el cable negativo (negro) de la batería.

  3. Cierre la tapa del compartimento de la batería (Figura 62) hasta que encaje con un clic.

    g351816

Operación

Controles

Note: Compruebe el funcionamiento de las luces. Compruebe que las luces correspondientes parpadean correctamente al accionar el interruptor del intermitente.

g351549

Uso de las luces

g351478
  1. Gire la llave de encendido a Conectado y mueva el interruptor de las luces a la posición de ENCENDIDO.

  2. Gire el interruptor de las luces (Figura 63 y Figura 64) a las posiciones siguientes:

    • APAGAR

    • Luces de carretera – ENCENDER

    • Luces de carretera y luz de trabajo opcional – ENCENDER

Uso de los intermitentes

  • Mueva el interruptor de los intermitentes (Figura 63) hacia arriba para señalar un giro a la derecha.

  • Mueva el interruptor hacia abajo para señalar un giro a la izquierda.

  • Mueva el interruptor a la posición central para apagar los intermitentes.

Uso de las luces de emergencia

g351460
  • Presione la parte superior del interruptor (Figura 65) para activar las luces de emergencia.

    Note: El interruptor de las luces de emergencia se enciende cuando se activan las luces de emergencia.

  • Presione la parte inferior del interruptor para apagar las luces de emergencia.

Ajuste de los faros

  1. Afloje las contratuercas de montaje y los tornillos para ajustar las luces (Figura 62).

    g351458
  2. Ajuste los faros de acuerdo con la normativa local.

  3. Apriete las contratuercas y los tornillos (Figura 62).

Mantenimiento

Mantenimiento de los fusibles

Sustitución de un fusible en el bloque de fusibles

  1. Aparque la máquina en una superficie nivelada, ponga el freno de estacionamiento, baje las unidades de corte, apague el motor y retire la llave.

  2. Retire la tapa del panel eléctrico; consulte Retirada de la tapa del panel eléctrico o Retirada de la tapa del panel eléctrico.

  3. Sustituya el fusible fundido.

    Ranura del bloque de fusibles

    Circuitos protegidos

    Potencia del fusible

    A3

    Alimentación del kit de luces UE

    10 A

    A4

    Kit de luces de carretera

    15 A

    g351014
  4. Instale la tapa del panel eléctrico; consulte Instalación de la tapa del panel eléctrico o Instalación de la tapa del panel eléctrico.

Sustitución de un fusible de las luces traseras

  1. Aparque la máquina en una superficie nivelada, ponga el freno de estacionamiento, baje las unidades de corte, apague el motor y retire la llave.

  2. Desenganche y levante el capó.

  3. Retire el tapón del portafusibles en línea (Figura 68).

    g350865
  4. Cambie el fusible; consulte la Tabla de fusibles.

    Tabla de fusibles

    Arnés de la luz trasera izquierda

    Circuitos protegidos

    Potencia del fusible

    Marcado - (arnés de la luz trasera izquierda)

    Luces traseras

    5 A

    Marcado

    Luces de freno

    5 A

    Arnés de la luz trasera izquierda

    Circuitos protegidos

    Potencia del fusible

    Marcado - (arnés de la luz trasera derecha)

    Luces traseras

    5 A

    Marcado

    Luces de freno

    5 A

  5. Instale el tapón en el portafusibles (Figura 68).

  6. Cierre y enganche el capó.