| Périodicité d'entretien | Procédure d'entretien |
|---|---|
| À chaque utilisation ou une fois par jour |
|
Ce véhicule utilitaire est principalement destiné à un usage hors route pour le transport de personnes et de matériaux. L'utilisation de ce produit à d'autres fins que celle prévue peut être dangereuse pour vous-même et toute personne à proximité.
Lisez attentivement cette notice pour apprendre comment utiliser et entretenir correctement votre produit, et éviter ainsi de l'endommager ou de vous blesser. Vous êtes responsable de l'utilisation sûre et correcte du produit.
Rendez-vous sur www.Toro.com pour tout document de formation à la sécurité et à l'utilisation des produits, pour tout renseignement concernant un produit ou un accessoire, pour obtenir l'adresse des dépositaires ou pour enregistrer votre produit.
Pour obtenir des prestations de service, des pièces Toro d'origine ou des renseignements complémentaires, munissez-vous des numéros de modèle et de série du produit et contactez un dépositaire-réparateur ou le service client Toro agréé. La Figure 1 indique l'emplacement des numéros de modèle et de série du produit. Inscrivez les numéros dans l'espace réservé à cet effet.
Important: Avec votre appareil mobile, vous pouvez scanner le code QR sur l'autocollant du numéro de série (le cas échéant) pour accéder à l'information sur la garantie, les pièces détachées et autres renseignements concernant le produit.

Ce manuel utilise deux termes pour faire passer des renseignements essentiels. Important, pour attirer l'attention sur une information d'ordre mécanique spécifique, et Remarque, pour souligner une information d'ordre général méritant une attention particulière.
Le symbole de sécurité (Figure 2) apparaît à la fois dans ce manuel et sur la machine pour identifier d'importants messages de sécurité dont il est nécessaire de tenir compte pour éviter les accidents. Ce symbole apparaît avec la mention Danger, Attention ou Prudence.
Danger signale un danger immédiat qui, s'il n'est pas évité, entraînera obligatoirement des blessures graves ou mortelles.
Attention signale un danger potentiel qui, s'il n'est pas évité, peut entraîner des blessures graves ou mortelles.
Prudence signale un danger potentiel qui, s'il n'est pas évité, peut entraîner des blessures légères ou modérées.

Ce produit est conforme à toutes les directives européennes pertinentes. Pour plus de renseignements, reportez-vous à la Déclaration de conformité spécifique du produit fournie séparément.
Vous commettez une infraction à la section 4442 ou 4443 du Code des ressources publiques de Californie si vous utilisez cette machine dans une zone boisée, broussailleuse ou recouverte d'herbe, à moins d'équiper le moteur d'un pare-étincelles en bon état, tel que défini dans la section 4442, ou à moins que le moteur soit construit, équipé et entretenu correctement pour prévenir les incendies.
Le manuel du propriétaire du moteur ci-joint est fourni à titre informatif concernant la réglementation de l'Agence américaine pour la protection de l'environnement (EPA) et la réglementation antipollution de l'état de Californie relative aux systèmes antipollution, à leur entretien et à leur garantie. Vous pouvez vous en procurer un nouvel exemplaire en vous adressant au constructeur du moteur.
CALIFORNIE
Proposition 65 - Avertissement
Les gaz d'échappement de ce produit contiennent des substances chimiques considérées par l'état de Californie comme susceptibles de provoquer des cancers, des malformations congénitales et autres troubles de la reproduction.
Les bornes de la batterie et accessoires connexes contiennent du plomb et des composés de plomb. L'état de Californie considère ces substances chimiques comme susceptibles de provoquer des cancers et des troubles de la reproduction. Lavez-vous les mains après avoir manipulé la batterie.
Cette machine est conçue en conformité avec les exigences de la norme SAE J2258 (novembre 2016).
Ce produit peut vous blesser. Respectez toujours toutes les consignes de sécurité pour éviter des blessures graves.
Vous devez lire et comprendre le contenu de ce Manuel de l'utilisateur avant de démarrer la machine. Assurez-vous que tous les utilisateurs de ce produit en connaissent le maniement et comprennent les mises en garde.
Accordez toute votre attention à l'utilisation de la machine. Ne vous livrez à aucune activité risquant de vous distraire, au risque de causer des dommages corporels ou matériels.
N'approchez pas les mains ou les pieds des composants mobiles de la machine.
N'utilisez pas la machine si tous les capots et autres dispositifs de protection appropriés ne sont pas en place et en bon état de marche.
N'admettez personne, notamment les enfants, dans le périmètre de travail. N'autorisez jamais un enfant à utiliser la machine.
Arrêtez la machine, coupez le moteur et enlevez la clé avant de faire un entretien ou le plein de carburant.
L'usage ou l'entretien incorrect de cette machine
peut occasionner des accidents. Pour réduire les risques d'accidents
et de blessures, respectez les consignes de sécurité
qui suivent. Tenez toujours compte des mises en garde signalées
par le symbole de sécurité (
) et la mention Prudence,
Attention ou Danger. Le non respect de ces instructions peut entraîner
des blessures graves voire mortelles.
![]() |
Des autocollants de sécurité et des instructions bien visibles par l'opérateur sont placés près de tous les endroits potentiellement dangereux. Remplacez tout autocollant endommagé ou manquant. |














Note: Les côtés gauche et droit de la machine sont déterminés d'après la position d'utilisation normale.
Pièces nécessaires pour cette opération:
| Volant | 1 |
| Couvre-moyeu du volant | 1 |
| Rondelle (½ po) | 1 |
| Pare-poussière | 1 |
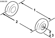
Si le couvre-moyeu est monté, déposez-le du volant (Figure 3).
Retirez le contre-écrou (½ po) de l'arbre de direction (Figure 3).
Glissez le volant, le couvre-moyeu et la rondelle (½ po) sur l'arbre de direction (Figure 3).
Note: Placez les roues en position ligne droite, puis tournez le volant pour placer la petite branche à la verticale.
Fixez le volant sur l'arbre à l'aide d'un contre-écrou (½ po) serré à un couple de 18 à 30 N·m (13 à 22 pi-lb).
Reposez le couvre-moyeu sur le volant (Figure 3).

Contrôlez le niveau d'huile moteur avant et après le premier démarrage du moteur; voir Contrôle du niveau d'huile moteur.
Contrôlez le niveau de liquide de frein avant le premier démarrage du moteur; voir Contrôle du niveau de liquide de frein.
Contrôlez le niveau de liquide de la boîte-pont avant le premier démarrage du moteur; voir Contrôle du niveau de liquide de la boîte-pont.
Contrôlez la pression des pneus; voir Contrôle de la pression des pneus.
Pour assurer l'efficacité optimale du système de freinage, rodez les freins avant d'utiliser la machine.
Amenez la machine à la vitesse maximum, appuyez rapidement sur la pédale de frein pour arrêter la machine sans bloquer les roues.
Répétez 10 fois cette procédure, avec 1 minute d'intervalle entre chaque arrêt pour éviter de faire surchauffer les freins.
Important: Cette procédure est particulièrement efficace si la machine transporte une charge de 227 kg (500 lb).
Pièces nécessaires pour cette opération:
| Manuel de l'utilisateur | 1 |
| Manuel du propriétaire du moteur | 1 |
| Fiche d'enregistrement | 1 |
| Fiche de contrôle avant livraison | 1 |
| Certificat de qualité | 1 |
| Clé | 2 |
Lisez le Manuel de l'utilisateur et le manuel du propriétaire du moteur.
Remplissez la fiche d'enregistrement.
Remplissez la Fiche de contrôle avant livraison.
Lisez le Certificat de qualité.


Familiarisez-vous avec toutes les commandes avant de mettre le moteur en marche et d'utiliser la machine.

Utilisez la pédale d'accélérateur (Figure 6) pour varier la vitesse de déplacement de la machine. Appuyez sur la pédale d'accélérateur pour démarrer le moteur. Appuyez davantage sur la pédale pour accroître la vitesse de déplacement. Relâchez la pédale pour ralentir et pour couper le moteur.
Note: La vitesse de pointe en marche avant est 26 km/h (16 mi/h).
Elle permet d'arrêter la machine ou de réduire la vitesse de déplacement (Figure 6).
Un accident est possible si vous utilisez la machine alors que les freins sont usés ou mal réglés.
Si la pédale en bout de course se trouve à moins de 25 mm (1 po) du plancher, réglez ou réparez les freins.
Le commutateur d'allumage est situé en bas à droite du tableau de bord (Figure 6).
Le commutateur d'allumage a 3 positions : ARRêT, CONTACT et DéMARRAGE.
Deux modes de démarrage de la machine sont disponibles; voir Démarrage du moteur.
Le levier du frein de stationnement se trouve sur le panneau de commande (Figure 6).
Chaque fois que vous coupez le moteur, serrez le frein de stationnement pour éviter tout déplacement accidentel de la machine. Serrez toujours le frein de stationnement lorsque vous garez la machine sur une pente raide.
Pour serrer le frein de stationnement, tirez le levier vers vous (Figure 7).

Pour desserrer le frein de stationnement, appuyez sur le bouton au bout du levier, tirez le levier vers vous pour le libérer, puis poussez-le en avant (Figure 8).

La commande du volet de départ est située sur le panneau de commande. Tirez sur la commande du volet de départ pour faciliter le démarrage du moteur s'il est froid. Après le démarrage du moteur, réglez la commande du volet de départ afin que le moteur tourne régulièrement. À mesure que le moteur chauffe, repoussez la commande du volet de départ en position HORS SERVICE.
Le levier inverseur de marche a 3 positions de réglage sur l'indicateur : MARCHE AVANT, MARCHE ARRIèRE et POINT MORT (Figure 9).
Note: Le moteur démarre et tourne dans les 3 positions.
De la position POINT MORT, vous pouvez déplacer le levier inverseur de marche vers la gauche à la position MARCHE AVANT ou vers la droite à la position MARCHE ARRIèRE (Figure 9).
Important: Arrêtez toujours la machine avant de changer la direction de déplacement.

L'interrupteur de l'avertisseur sonore est situé sur le panneau de commande (Figure 6). Appuyez dessus pour actionner l'avertisseur sonore.
L'interrupteur (Figure 6) permet d'allumer les phares. Appuyez sur le haut de l'interrupteur pour allumer les phares. Appuyez sur le bas de l'interrupteur pour éteindre les phares.
Le compteur horaire est situé à droite de l'interrupteur d'éclairage (Figure 6). Le compteur horaire indique le nombre total d'heures de fonctionnement du moteur. Le compteur horaire se déclenche chaque fois que vous tournez la clé de contact à la position CONTACT, à la position DéMARRAGE, ou lorsque le moteur tourne.
Note: Lorsque le moteur tourne, le compteur horaire clignote continuellement en enregistrant les heures d'utilisation.
Le port USB est situé à gauche du levier du frein de stationnement (Figure 6). Il permet d'alimenter des appareils mobiles.
Important: Lorsque vous n'utilisez pas le port USB, insérez l'obturateur en caoutchouc pour le protéger d'éventuels dommages.
La jauge de carburant (Figure 10) est située sur le réservoir de carburant, dans le bouchon de remplissage, sur le côté gauche de la machine. Elle indique la quantité de carburant dans le réservoir.

Les poignées de maintien des passagers sont situées sur le côté extérieur de chaque siège (Figure 11).

Note: Les spécifications et la conception peuvent faire l'objet de modifications sans préavis.
| Poids de base | 397 kg (875 lb) |
| Capacité nominale (sur surface plane et horizontale) | 544 kg (1 200 lb) au total, comprend 90,7 kg (200 lb) pour l'utilisateur et 91 kg (200 lb) pour le passager, le chargement, les accessoires et les outils |
| Poids nominal brut du véhicule (PNVB) – sur surface plane et horizontale | 941 kg (2 075 lb) au total, tous les poids susmentionnés compris |
| Capacité de charge maximale (sur surface plane et horizontale) | 363 kg (800 lb) au total, accessoires montés à l'arrière compris |
| Capacité maximale du support d'accessoire arrière du plateau de chargement | 45 kg (100 lb) total |
| Capacité de remorquage | Poids à la flèche : 91 kg (200 lb) |
| Poids maximum de la remorque : 680 kg (1 500 lb) | |
| Largeur hors tout | 119 cm (47 po) |
| Longueur hors tout | 302 cm (119 po) |
| Hauteur hors tout | 127,5 cm (50-3/16 po) |
| Garde au sol | 21,6 cm (8½ po) à l'avant, à vide et sans utilisateur |
| 14 cm (5½ po) à l'arrière, à vide et sans utilisateur | |
| Empattement | 220 cm (86⅝ po) |
| Voie (entraxe) | Avant : 119 cm (47 po) |
| Arrière : 119 cm (47 po) | |
| Longueur du plateau de chargement | Intérieur : 102 cm (40 po) |
| Extérieur : 114,3 cm (45 po) | |
| Largeur du plateau de chargement | Intérieur : 98 cm (38½ po) |
| Extérieur des ailes moulées : 107,3 cm (42¼ po) | |
| Hauteur du plateau de chargement | 28 cm (11 po) à l'intérieur |
| Régime moteur | Ralenti : 1 250 à 1 350 tr/min |
| Ralenti accéléré : 3 650 à 3 750 tr/min |
Une sélection d'outils et accessoires agréés par Toro est disponible pour augmenter et améliorer les capacités de la machine. Pour obtenir la liste de tous les accessoires et outils agréés, contactez votre dépositaire-réparateur ou votre distributeur Toro agréé, ou rendez-vous sur www.Toro.com.
Pour garantir un rendement optimal et conserver la certification de sécurité de la machine, utilisez uniquement des pièces de rechange et accessoires Toro d'origine. Les pièces de rechange et accessoires d'autres constructeurs peuvent être dangereux et leur utilisation risque d'annuler la garantie de la machine.
Note: Les côtés gauche et droit de la machine sont déterminés d'après la position d'utilisation normale.
Ne confiez jamais l'utilisation ou l'entretien de la machine à des enfants ou des personnes qui n'ont pas les compétences nécessaires ou ne sont physiquement aptes. La réglementation locale peut imposer un âge minimum pour les utilisateurs. Le propriétaire de la machine doit assurer la formation de tous les utilisateurs et mécaniciens.
Familiarisez-vous avec le maniement correct du matériel, les commandes et les symboles de sécurité.
Avant de quitter la position d'utilisation, coupez le moteur de la machine, enlevez la clé et attendez l'arrêt complet de tout mouvement. Laissez refroidir la machine avant de la régler, d'en faire l'entretien, de la nettoyer ou de la remiser.
Apprenez à arrêter la machine et à couper le moteur rapidement.
Assurez-vous que le nombre d'occupants (vous et votre ou vos passagers) n'est pas supérieur au nombre de poignées de maintien prévues sur la machine.
Assurez-vous que tous les dispositifs de protection et tous les autocollants sont présents. Réparez ou remplacez tous les dispositifs de sécurité et remplacez tous les autocollants illisibles ou manquants. N'utilisez pas la machine s'ils sont absents et ne fonctionnent pas correctement.
Faites preuve de la plus grande prudence quand vous manipulez du carburant, en raison de son inflammabilité et du risque d'explosion des vapeurs qu'il dégage.
Éteignez cigarettes, cigares, pipes et autres sources d'étincelles.
Utilisez exclusivement un bidon à carburant homologué.
N'enlevez pas le bouchon du réservoir de carburant et n'ajoutez pas de carburant quand le moteur tourne ou est encore chaud.
N'ajoutez pas de carburant et ne vidangez pas le réservoir dans un local fermé.
Ne remisez pas la machine ni les bidons de carburant à proximité d'une flamme nue, d'une source d'étincelles ou d'une veilleuse, telle celle d'un chauffe-eau ou autre appareil.
Si vous renversez du carburant, ne mettez pas le moteur en marche. Évitez toute source possible d'inflammation jusqu'à dissipation complète des vapeurs de carburant.
| Périodicité d'entretien | Procédure d'entretien |
|---|---|
| À chaque utilisation ou une fois par jour |
|
Avant de démarrer la machine chaque jour, effectuez les procédures décrites à la section .
| Périodicité d'entretien | Procédure d'entretien |
|---|---|
| À chaque utilisation ou une fois par jour |
|
Spécifications de gonflage des pneus avant et arrière : 1,65 à 2,07 bar (24 à 30 psi)
Important: Ne dépassez pas la pression de gonflage maximale indiquée sur le flanc des pneus.
Note: La pression de gonflage des pneus est déterminée par la charge que vous avez l'intention de transporter.
Contrôlez la pression des pneus.
Réduisez la pression des pneus pour transporter des charges légères, pour réduire le compactage du sol, pour un plus grand confort de roulement et pour minimiser les traces laissées sur le sol.
Augmentez la pression de gonflage pour transporter de lourdes charges à des vitesses plus élevées.
Si nécessaire, gonflez ou dégonflez les pneus pour obtenir la pression correcte.

| Type | Essence sans plomb |
| Indice d'octane minimum | 87 (US) or 91 (octane recherche; hors États-Unis) |
| Éthanol | Pas plus de 10 % par volume |
| Méthanol | Aucune |
| MTBE (éther méthyltertiobutylique) | Moins de 15 % par volume |
| Huile | Ne pas ajouter au carburant |
Utilisez uniquement du carburant propre et frais (stocké depuis moins d'un mois) provenant d'une source fiable.
Important: Pour réduire les problèmes de démarrage, ajoutez au carburant frais la quantité de stabilisateur/conditionneur indiquée par le fabricant du stabilisateur/conditionneur.
Reportez-vous au manuel du propriétaire du moteur pour plus de renseignements.
La capacité approximative du réservoir de carburant est de 19 litres (5 gallons américains).
Garez la machine sur une surface plane et horizontale.
Sélectionnez le POINT MORT de la transmission.
Serrez le frein de stationnement.
Coupez le moteur de la machine et enlevez la clé.
Nettoyez la surface autour du bouchon du réservoir de carburant (Figure 13).

Enlevez le bouchon du réservoir de carburant.
Remplissez le réservoir de carburant jusqu'à 25 mm (1 po) au-dessous du haut du réservoir (base du goulot de remplissage).
Note: L'espace au-dessus doit rester vide pour permettre au carburant de se dilater. Ne remplissez pas excessivement le réservoir de carburant.
Revissez fermement le bouchon du réservoir de carburant.
Essuyez le carburant éventuellement répandu.
| Périodicité d'entretien | Procédure d'entretien |
|---|---|
| Après les 100 premières heures de fonctionnement |
|
Appliquez les directives qui suivent pour assurer le fonctionnement correct de la machine.
Veillez à roder les freins; voir Rodage des freins.
Contrôlez régulièrement les niveaux de liquide et d'huile moteur. Restez attentif(ve) aux signes de surchauffe de la machine ou de ses composants.
Si le moteur est froid, laissez-le tourner pendant environ 15 secondes avant d'utiliser la machine.
Note: Prévoyez plus de temps pour le réchauffement du moteur lorsque la température ambiante est basse.
Variez la vitesse de déplacement de la machine pendant l'utilisation. Évitez les démarrages brutaux et les arrêts rapides.
L'utilisation d'une huile moteur spéciale rodage n'est pas nécessaire. L'huile moteur d'origine est du même type que celle qui est spécifiée pour les entretiens courants.
Voir les contrôles spéciaux à effectuer pendant le rodage à la section .
Contrôlez la suspension avant et réglez sa position si nécessaire; voir Réglage de la géométrie du train avant.
Le propriétaire/l'utilisateur est responsable des accidents pouvant entraîner des dommages corporels et matériels et peut les prévenir.
Les passagers ne doivent s'asseoir qu'aux emplacements désignés. Ne transportez pas de passagers sur le plateau de chargement. N'admettez personne, notamment les enfants, dans le périmètre de travail.
Portez des vêtements appropriés, y compris une protection oculaire, un pantalon, des chaussures solides à semelle antidérapante et des protecteurs d'oreilles. Si vos cheveux sont longs, attachez-les et ne portez pas de vêtements amples ni de bijoux pendants.
Accordez toute votre attention à l'utilisation de la machine. Ne vous livrez à aucune activité risquant de vous distraire, au risque de causer des dommages corporels ou matériels.
N'utilisez pas la machine si vous êtes malade ou fatigué(e), ni sous l'emprise de l'alcool, de drogues ou de médicaments.
Utilisez la machine uniquement à l'extérieur ou dans un lieu bien ventilé.
Ne dépassez pas le poids brut (PBV) maximum de la machine.
Si le plateau transporte une lourde charge, redoublez de prudence en roulant, lorsque vous freinez ou changez de direction.
Le transport de charges surdimensionnées sur le plateau réduit la stabilité de la machine. Ne dépassez pas la capacité de transport du plateau de chargement.
Le transport d'une charge qui ne peut pas être arrimée sur le plateau peut affecter la direction, le freinage et la stabilité de la machine. Lorsque vous transportez une charge qui ne peut pas être arrimée sur la machine, changez de direction et freinez avec prudence.
Ralentissez et allégez la charge transportée sur les terrains accidenté et inégaux, ainsi que près de bordures, trous et autres accidents de terrain. Le chargement peut se déplacer et rendre la machine instable.
Avant de mettre la machine en marche, assurez-vous que la transmission est au point mort, que le frein de stationnement est serré et que vous êtes au poste d'utilisation.
Vous et vos passagers devez rester assis pendant le déplacement de la machine. Gardez les mains sur le volant; les passagers doivent se tenir aux poignées de maintien prévues à cet effet. Gardez toujours les bras et les jambes à l'intérieur de la machine.
Utilisez la machine uniquement quand la visibilité est bonne. Méfiez-vous des trous, ornières, bosses, rochers ou autres obstacles cachés. Les irrégularités du terrain peuvent provoquer le retournement de la machine. L'herbe haute peut masquer les accidents du terrain. Faites preuve de prudence à l'approche de tournants sans visibilité, de buissons, d'arbres ou d'autres objets susceptibles masquer la vue.
Ne conduisez pas la machine près de fortes dénivellations, de fossés ou de berges. La machine pourrait se retourner brusquement si une roue passe par-dessus une dénivellation quelconque et se retrouve dans le vide, ou si un bord s'effondre.
Méfiez-vous des obstacles en surplomb, tels que branches d'arbres, jambages de portes, passerelles, etc., et évitez-les.
Avant de faire marche arrière, vérifiez que la voie est libre juste derrière la machine et sur sa trajectoire.
Lorsque vous utilisez la machine sur la voie publique, respectez le code de la route et utilisez les accessoires supplémentaires éventuellement exigés par la loi, tels éclairages, clignotants, panneau « véhicule lent » (SMV) et autres.
Si la machine vibre de façon anormale, arrêtez-la immédiatement, coupez le moteur, attendez l'arrêt complet de tout mouvement et recherchez d'éventuels dommages. Réparez tout dommage de la machine avant de recommencer à travailler.
L'arrêt de la machine peut demander plus de temps sur les surfaces mouillées que sur les surfaces sèches. Pour sécher les freins par temps de pluie, conduisez lentement sur une surface plane en appuyant légèrement sur la pédale de frein.
Si vous conduisez la machine à grande vitesse et que vous freinez brusquement, les roues arrière peuvent se bloquer et vous risquez alors de perdre le contrôle de la machine.
Ne touchez pas le moteur, la transmission, le silencieux ou le collecteur du silencieux pendant que le moteur tourne ou juste après son arrêt au risque de vous brûler.
Ne laissez pas la machine en marche sans surveillance.
Avant de quitter la position d'utilisation :
Garez la machine sur une surface plane et horizontale.
Sélectionnez le POINT MORT de la transmission.
Serrez le frein de stationnement.
Coupez le moteur de la machine et enlevez la clé.
Attendez l'arrêt complet de tout mouvement.
N'utilisez pas la machine si la foudre menace.
Utilisez uniquement des accessoires et équipements agréés par The Toro® Company.
Ne dépassez pas le poids brut (PBV) de la machine. Votre poids, celui de vos passagers et celui de la charge transportée contribuent tous au poids brut total de la machine.
Les passagers ne doivent s'asseoir qu'aux emplacements désignés. N'autorisez pas les passagers à s'asseoir sur le plateau de chargement.
Vous et vos passagers devez rester assis pendant le déplacement de la machine.
Le fait d'allonger la machine augmente le rayon de braquage; pour cette raison, prévoyez un espace suffisant pour manœuvrer la machine.
Note: Un système de protection antiretournement (ROPS) à 2 montants est un accessoire disponible pour cette machine. Utilisez un système ROPS si vous tondez près de fortes dénivellations, d'étendues d'eau, sur un terrain accidenté ou sur une pente qui pourrait entraîner le retournement de la machine. Pour plus de renseignements, contactez un distributeur Toro agréé.
Les pentes augmentent significativement les risques de perte de contrôle et de basculement de la machine pouvant entraîner des accidents graves, voire mortels.
Examinez le site avec attention pour identifier les pentes permettant d'utiliser la machine sans risque, et établissez vos propres procédures et règles de travail à appliquer sur les pentes en question. Faites toujours preuve de bon sens et de discernement quand vous réalisez cette étude.
N'utilisez pas la machine sur une pente si vous ne vous sentez pas à l'aise.
Déplacez-vous à vitesse réduite et progressivement sur les pentes. Ne changez pas brusquement de vitesse ou de direction.
Évitez d'utiliser la machine sur les terrains humides. Les pneus pourraient perdre de l'adhérence. La machine peut se retourner avant que les pneus perdent de l'adhérence.
Montez et descendez toujours les pentes en ligne droite.
Si la machine commence à perdre de la puissance pendant la montée d'une pente, freinez progressivement et redescendez lentement la pente en ligne droite et en marche arrière.
Il est dangereux de faire demi-tour pendant que vous montez ou descendez une pente. Si vous devez tourner sur une pente, faites-le lentement et avec prudence.
Les lourdes charges compromettent la stabilité de la machine sur les pentes. Allégez la charge transportée et ralentissez sur les pentes ou si le centre de gravité de la charge est très élevé. Arrimez solidement la charge sur le plateau de chargement de la machine pour l'empêcher de se déplacer. Redoublez de prudence lorsque vous transportez des charges qui se déplacent facilement (liquide, pierres, sable, etc.).
Évitez de démarrer, de vous arrêter ou de tourner sur les pentes, surtout quand vous transportez une charge. Il faut plus longtemps à la machine pour s'arrêter sur une pente que sur une surface horizontale. Si vous devez arrêter la machine, évitez les variations de vitesse soudaines qui pourraient la faire se renverser ou se retourner. Ne freinez pas brutalement en marche arrière, car la machine pourrait se retourner.
Ne dépassez pas le poids brut (PBV) de la machine lorsque le plateau est chargé et/ou lorsque vous tractez une remorque; voir Caractéristiques techniques.
Répartissez la charge uniformément sur le plateau pour améliorer la stabilité et le contrôle de la machine.
Avant de décharger le plateau, vérifiez que personne ne se trouve derrière la machine.
Ne déchargez pas le plateau quand la machine est garée transversalement sur une pente. La modification de la répartition de la charge peut causer le retournement de la machine.
Le plateau levé peut retomber et blesser toute personne qui travaille dessous.
Calez toujours le plateau avec la béquille avant de travailler dessous.
Déchargez le plateau avant de le lever.
Ne conduisez pas la machine en laissant le plateau de chargement levé, car elle pourrait se renverser ou se retourner facilement. Vous risquez d'endommager la structure du plateau de chargement si vous conduisez la machine en le laissant levé.
Conduisez la machine avec le plateau de chargement baissé.
Baissez le plateau de chargement après l'avoir déchargé.
Si une charge est concentrée à l'arrière du plateau de chargement, celui-ci peut basculer brusquement lorsque vous le déverrouillez, et vous blesser ou blesser d'autres personnes.
Centrez les charges sur le plateau si possible.
Maintenez le plateau de chargement baissé et assurez-vous que personne n'est penché dessus ou ne se tient juste derrière lorsque vous le déverrouillez.
Déchargez complètement le plateau avant de le lever pour effectuer l'entretien de la machine.
Le plateau de chargement peut être lourd. Il peut écraser les mains ou d'autres parties du corps.
N'approchez pas les mains ni aucune autre partie du corps du plateau de chargement pendant qu'il s'abaisse.
Après avoir déchargé des matériaux en vrac (sable, pierres pour aménagement paysager ou copeaux de bois) du plateau, une petite partie peut rester coincée au niveau des charnières du hayon. Effectuez la procédure suivante avant de refermer le hayon.
Enlevez à la main autant des débris logés dans les charnières que possible.
Inclinez le hayon à environ 45° (Figure 17).

Agitez légèrement le hayon pour le faire pivoter d'avant en arrière plusieurs fois (Figure 17).
Note: Cela facilite l'élimination des débris présents aux niveau des charnières.
Baissez le hayon et vérifiez qu'il ne reste aucun débris au niveau des charnières.
Répétez les opérations 1 à 4 jusqu'à ce qu'il ne reste plus de débris dans les charnières.
Faites pivoter le hayon vers le haut et soulevez-le dans les encoches du plateau de chargement.
Utilisez le support arrière du plateau de chargement pour fixer des accessoires à l'arrière de la machine.
Capacité : 45 kg (100 lb)
Desserrez la poignée en « T » en la tournant dans le sens horaire (Figure 18).

Insérez l'accessoire dans le récepteur jusqu'à ce que les trous soient alignés (Figure 18).
Fixez l'accessoire dans le tube récepteur à l'aide de l'axe de chape et de la goupille fendue fournis avec l'accessoire.
Resserrez la poignée en « T » en la tournant dans le sens antihoraire (Figure 19).

Respectez les consignes suivantes pour charger le plateau et utiliser la machine :
Respectez la capacité de charge de la machine et limitez le poids de la charge transportée sur le plateau comme décrit à la section Caractéristiques techniques, et comme indiqué sur l'étiquette du poids nominal brut de la machine.
Note: La charge nominale spécifiée n'est valable que si la machine est utilisée sur une surface plane.
Allégez la charge transportée sur le plateau de chargement lorsque vous utilisez la machine sur un terrain en pente ou accidenté.
Allégez la charge transportée sur le plateau si elle est haute (et que son centre de gravité est élevé), par exemple un tas de briques, des éléments en bois pour aménagements paysagers ou des sacs d'engrais. Répartissez la charge aussi bas que possible pour qu'elle ne réduise pas la visibilité derrière la machine pendant l'utilisation.
Maintenez les charges au centre du plateau en procédant comme suit :
Répartissez la charge uniformément d'un côté à l'autre du plateau de chargement.
Important: La charge est plus susceptible de basculer si elle est rassemblée d'un seul côté sur le plateau.
Répartissez la charge uniformément de l'avant à l'arrière du plateau.
Important: Vous risquez de perdre le contrôle de la direction ou la machine risque de basculer si vous placez la charge derrière l'essieu arrière car l'adhérence des roues avant sera alors réduite.
Redoublez de prudence lorsque vous transportez des charges surdimensionnées sur le plateau de chargement, surtout s'il est impossible de centrer le poids de la charge.
Dans la mesure du possible, arrimez la charge sur le plateau pour l'empêcher de bouger.
Lorsque vous transportez du liquide, faites preuve de prudence quand vous montez ou descendez une pente, quand vous changez de vitesse ou que vous arrêtez la machine soudainement, ou quand vous traversez des surfaces accidentées.
Le plateau de chargement a une capacité de charge de 0,28 m3 (10 pi3). La quantité (le volume) de matériau que le plateau peut transporter sans dépasser les charges nominales de la machine peut varier largement suivant la densité du matériau en question.
Les volumes de charge maximum pour divers matériaux sont indiqués dans le tableau suivant :
| Matériau | Densité | Capacité de charge maximale du plateau(sur surface horizontale) |
| Gravier, sec | 1522 kg/m3 (95 lb/pi3) | Niveau maximum |
| Gravier, humide | 1922 kg/m3 (120 lb/pi3) | 3/4 plein |
| Sable, sec | 1442 kg/m3 (90 lb/pi3) | Niveau maximum |
| Sable, humide | 1922 kg/m3 (120 lb/pi3) | 3/4 plein |
| Bois | 721 kg/m3 (45 lb/pi3) | Niveau maximum |
| Écorce | <721 kg/m3 (<45 lb/pi3) | Niveau maximum |
| Terre, compacte | 1602 kg/m3 (100 lb/pi3) | 3/4 plein (approximativement) |
Asseyez-vous sur le siège, insérez la clé dans le commutateur d'allumage et tournez-la dans le sens horaire à la position CONTACT ou DéMARRAGE.
Deux modes de démarrage sont disponibles pour la machine :
Démarrage à la pédale – tournez la clé à la position CONTACT, puis enfoncez la pédale d'accélérateur.
Note: Le moteur s'arrête quand vous relâchez la pédale d'accélérateur.
Démarrage à la clé – tournez la clé de contact à la position DéMARRAGE; le moteur reste en marche jusqu'à ce que la clé soit tournée à la position ARRêT.
Note: Lors du démarrage à la clé, vous pouvez serrer le frein de stationnement et travailler à distance de la machine tandis que le moteur continue à tourner et la batterie conserve sa charge.
Note: Si vous tournez la clé à la position DéMARRAGE, le démarreur est actionné jusqu'à ce que le moteur démarre. Si le démarreur est actionné pendant plus de 10 secondes, ramenez la clé à la position ARRêT et identifiez le problème (par ex., volet de départ non engagé, filtre à air colmaté, niveau de carburant insuffisant, bougie défectueuse, etc.) avant de redémarrer la machine.
Note: Si la machine est équipée de l'option alarme de recul et que vous placez l'inverseur de marche en position de MARCHE ARRIèRE alors que la clé de contact est à la position CONTACT ou DéMARRAGE, un signal sonore vous avertit que la machine est en marche arrière.
Placez l'inverseur de marche à la position correspondant au sens de déplacement de la machine souhaité.
Desserrez le frein de stationnement.
Enfoncez lentement la pédale d'accélérateur.
Note: Si le moteur est froid, enfoncez et maintenez la pédale d’accélérateur à mi-course, et tirez la commande du volet de départ à la position EN SERVICE. Repoussez la commande du volet de départ à la position HORS SERVICE quand le moteur est chaud.
Important: Lorsque vous vous arrêtez sur un plan incliné, utilisez les freins de service pour arrêter la machine et le frein de stationnement pour l'immobiliser. Vous risquez d'endommager la machine si vous utilisez l'accélérateur pour la caler sur une pente.
Enlevez le pied de la pédale d'accélérateur.
Enfoncez lentement la pédale de frein pour serrer les freins de service jusqu'à ce que la machine s'immobilise complètement.
Note: La distance d'arrêt peut varier selon la charge et la vitesse de la machine.
Arrêtez la machine à l'aide des freins de service en maintenant la pédale de frein enfoncée.
Serrez le frein de stationnement en tirant le levier vers vous.
Tournez la clé dans le sens antihoraire à la position ARRêT.
Enlevez la clé de contact.
Avant de quitter la position d'utilisation :
Garez la machine sur une surface plane et horizontale.
Sélectionnez le POINT MORT de la transmission.
Serrez le frein de stationnement.
Coupez le moteur de la machine et enlevez la clé.
Attendez l'arrêt complet de tout mouvement.
Laissez refroidir la machine avant de la régler, d'en faire l'entretien, de la nettoyer ou de la remiser.
Ne remisez pas la machine à proximité d'une flamme nue, d'une source d'étincelles ou d'une veilleuse, telle celle d'un chauffe-eau ou autre appareil.
Maintenez toutes les pièces de la machine en bon état de marche et toutes les fixations bien serrées.
Faites l'entretien de la ou des ceintures de sécurité et nettoyez-les au besoin.
Remplacez tous les autocollants usés, endommagés ou manquants.
Procédez avec prudence pour charger la machine sur une remorque ou un camion, ainsi que pour la décharger.
Utilisez des rampes d'une seule pièce pour charger la machine sur une remorque ou un camion.
Arrimez solidement la machine.
L'emplacement des points d'arrimage sur la machine est indiqué à la Figure 20 et la Figure 21.
Note: Chargez la machine sur la remorque en dirigeant l'avant vers l'avant de la remorque. Si cela s'avère impossible, fixez le capot de la machine au cadre avec une sangle, ou déposez le capot et fixez-le et transportez-le séparément, car il pourrait s'envoler pendant le transport.
Les sièges non fixés peuvent tomber de la machine et de la remorque pendant le transport de la machine, et atterrir sur une autre machine ou bloquer la voie.
Déposez les sièges ou fixez-les en place avec les axes de pivot.


En cas d'urgence, vous pouvez remorquer la machine sur une courte distance; toutefois cette procédure ne doit pas être employée de manière habituelle.
Le remorquage à des vitesses excessives peut entraîner la perte du contrôle de la direction et provoquer des accidents.
Ne remorquez jamais la machine à plus de 8 km/h (5 mi/h).
Le remorquage de la machine nécessite l'intervention de 2 personnes. Si vous devez déplacer la machine sur une longue distance, faites-la transporter par camion ou chargez-la sur une remorque; voir Tracter une remorque
Déposez la courroie d'entraînement de la machine; voir Remplacement de la courroie d'entraînement.
Attachez un câble de remorquage à la flèche d'attelage à l'avant du cadre de la machine (Figure 20).
Placez la transmission au POINT MORT et desserrez le frein de stationnement.
La machine peut tracter des remorques. Une barre de remorquage est disponible pour la machine. Pour plus de renseignements, contactez votre distributeur Toro agréé.
Lorsque vous transportez une charge ou tractez une remorque, ne surchargez pas la machine ou la remorque. La surcharge de la machine ou de la remorque peut réduire les performances ou endommager les freins, l'essieu, le moteur, la boîte-pont, la direction, la suspension, la structure de la caisse ou les pneus.
Lorsque vous chargez la remorque, placez toujours 60 % de la charge à l'avant. Cela place environ 10 % du poids brut de la remorque (PBR) sur la flèche d'attelage de la machine.
Pour assurer un freinage et une motricité adéquats, chargez toujours le plateau quand vous tractez une remorque. Ne dépassez pas le PBR ou PBV maximum.
Évitez de garer la machine attelée d'une remorque sur une pente. S'il est impossible de faire autrement, serrez le frein de stationnement et calez les roues de la remorque.
Ne confiez pas l'entretien de la machine à des personnes non qualifiées.
Avant de quitter la position d'utilisation :
Garez la machine sur une surface plane et horizontale.
Sélectionnez le POINT MORT de la transmission.
Serrez le frein de stationnement.
Baissez le plateau de chargement.
Coupez le moteur de la machine et enlevez la clé.
Attendez l'arrêt complet de tout mouvement.
Laissez refroidir la machine avant de la régler, d'en faire l'entretien, de la nettoyer ou de la remiser.
Soutenez la machine avec des chandelles chaque fois que vous devez travailler dessous.
Ne travaillez pas sous le plateau levé sans mettre la béquille de sécurité en place.
Ne chargez pas les batteries pendant l'entretien de la machine
Vérifiez l'état de la machine dans son ensemble et maintenez toutes les fixations serrées au couple prescrit.
Pour réduire les risques d'incendie, débarrassez la machine de tout excès de graisse, débris d'herbe, feuilles et saletés.
Si possible, n'effectuez aucun entretien pendant que le moteur tourne. Ne vous approchez pas des pièces mobiles.
Si le moteur de la machine doit tourner pour effectuer un réglage, n'approchez pas les mains, les pieds et autres parties du corps, ou les vêtements du moteur et des pièces mobiles. N'autorisez personne à s'approcher de la machine.
Nettoyez les coulées éventuelles d'huile ou de carburant.
Contrôlez le fonctionnement du frein de stationnement comme recommandé dans le programme d'entretien, et réglez-le ou révisez-le selon les besoins.
Maintenez toutes les pièces de la machine en bon état de marche et toutes les fixations serrées au couple correct. Remplacez tous les autocollants usés ou endommagés.
Ne cherchez jamais à modifier la fonction prévue d'un dispositif de sécurité ni à réduire la protection qu'il assure.
Ne faites pas tourner le moteur à une vitesse excessive en modifiant le réglage du régulateur. Pour garantir la sécurité et la précision du fonctionnement, demandez à un dépositaire-réparateur agréé de contrôler le régime moteur maximum avec un compte-tours.
Si la machine nécessite une réparation importante ou si vous avez besoin de renseignements, adressez-vous à un distributeur Toro agréé.
Toute modification de la machine susceptible d'en altérer le fonctionnement, les performances, la durabilité ou l'utilisation peut entraîner des blessures parfois mortelles. Une telle utilisation risque d'annuler la garantie produit offerte par The Toro® Company.
| Périodicité d'entretien | Procédure d'entretien |
|---|---|
| Après les 5 premières heures de fonctionnement |
|
| Après les 8 premières heures de fonctionnement |
|
| Après les 50 premières heures de fonctionnement |
|
| Après les 100 premières heures de fonctionnement |
|
| À chaque utilisation ou une fois par jour |
|
| Toutes les 50 heures |
|
| Toutes les 100 heures |
|
| Toutes les 200 heures |
|
| Toutes les 300 heures |
|
| Toutes les 400 heures |
|
| Toutes les 800 heures |
|
| Toutes les 1000 heures |
|
| Une fois par an |
|
Note: Téléchargez gratuitement un exemplaire du schéma électrique recherché en vous rendant sur www.Toro.com et en cherchant votre machine sous le lien Manuels sur la page d'accueil.
Important: Reportez-vous au manuel du propriétaire du moteur pour toutes procédures d'entretien supplémentaires.
Un mauvais entretien de la machine peut entraîner la défaillance prématurée des divers systèmes et vous blesser ou blesser les personnes à proximité.
Maintenez la machine bien entretenue et en bon état de marche, conformément aux instructions du présent manuel.
Ne confiez l'entretien, les réparations, les réglages et les contrôles de la machine qu'à du personnel qualifié et autorisé.
Évitez les risques d'incendie et prévoyez du matériel de sécurité incendie dans la zone de travail. Ne vérifiez pas les niveaux de liquides, les fuites de carburant, d'électrolyte ou de liquide de refroidissement à l'aide d'une flamme nue.
N'utilisez pas de récipients ouverts contenant du carburant ou des solvants inflammables pour nettoyer les pièces.
Si vous laissez la clé dans le commutateur d'allumage, quelqu'un pourrait mettre le moteur en marche accidentellement et vous blesser gravement, ainsi que toute personne à proximité.
Coupez le moteur et enlevez la clé du commutateur d'allumage avant d'effectuer un entretien.
Copiez cette page pour pouvoir vous en servir régulièrement.
| Entretiens à effectuer | Pour la semaine du : | ||||||
|---|---|---|---|---|---|---|---|
| Lundi | Mardi | Mercredi | Jeudi | Vendredi | Samedi | Dimanche | |
| Contrôlez le fonctionnement du frein et du frein de stationnement. | |||||||
| Contrôlez le fonctionnement de l'inverseur de marche/du point mort. | |||||||
| Contrôlez le niveau d'eau des batteries. | |||||||
| Contrôlez le niveau de liquide de frein. | |||||||
| Vérifiez les bruits de fonctionnement anormaux. | |||||||
| Contrôlez la pression des pneus. | |||||||
| Recherchez les fuites éventuelles. | |||||||
| Vérifiez le fonctionnement des instruments. | |||||||
| Vérifiez le fonctionnement de l'accélérateur. | |||||||
| Retouchez les peintures endommagées. | |||||||
| Lavez la machine. | |||||||
Important: Doublez la fréquence des entretiens si vous utilisez la machine dans les conditions suivantes :
Utilisation dans le désert
Utilisation sous climat froid – en dessous de 10 °C (50 °F)
Traction d'une remorque
Utilisation fréquente dans une atmosphère poussiéreuse
Travaux de construction
Après une utilisation prolongée dans la boue, le sable, l'eau ou autres environnements sales, effectuez les opérations suivantes :
Faites vérifier et nettoyer vos freins dès que possible. Cela évite que des particules abrasives causent une usure excessive.
Lavez la machine avec de l'eau pure ou additionnée de détergent doux.
Important: Ne nettoyez pas la machine avec de l'eau saumâtre ou recyclée.
Garez la machine sur une surface plane et horizontale.
Sélectionnez le POINT MORT de la transmission.
Serrez le frein de stationnement.
Coupez le moteur et enlevez la clé.
Videz et levez le plateau de chargement.
La machine peut être instable si elle soutenue par un cric. Elle pourrait glisser duc cric et blesser la personne qui se trouve dessous.
Ne mettez pas la machine en marche lorsqu'elle est en appui sur un cric.
Retirez toujours la clé du commutateur avant de descendre de la machine.
Calez les roues lorsque la machine est soutenue par un équipement de levage.
Soutenez la machine avec des chandelles après l'avoir levée.
Important: Si le moteur de la machine doit tourner à des fins d'entretien et/ou de diagnostic, placez des chandelles sous l'essieu arrière afin de soulever les roues arrière à 25 mm (1 po) au-dessus du sol.
Le point de levage avant de la machine est situé à l'avant du cadre, derrière la flèche d'attelage (Figure 22).

Le point de levage arrière de la machine est situé sous les tubes d'essieu (Figure 23).

Soulevez la poignée des loquets en caoutchouc de chaque côté du capot (Figure 24).

Ouvrez le capot.
Baissez le capot avec précaution.
Fixez le capot en place en alignant les loquets en caoutchouc sur les ancrages de verrouillage de chaque côté du capot (Figure 24).
Glissez l'ensemble sièges sur les goupilles et abaissez-le (Figure 27).

| Périodicité d'entretien | Procédure d'entretien |
|---|---|
| Toutes les 300 heures |
|
Spécifications de la graisse : Mobilgrease XHP™-222
Soulevez l'avant de la machine et soutenez-le avec des chandelles.
Retirez les 4 écrous qui fixent la roue sur le moyeu (Figure 28).

Retirez les boulons à embase (⅜ x ¾ po) qui fixent le support du frein à la fusée et séparez le frein de la fusée (Figure 29).
Note: Soutenez le frein avant de passer à l'opération suivante.

Déposez le couvre-moyeu du moyeu (Figure 30).

Retirez la goupille fendue et l'arrêt d'écrou de la fusée et de son écrou (Figure 30).
Retirez l'écrou de la fusée et déposez l'ensemble moyeu et disque de la fusée (Figure 30 et Figure 31).

Essuyez la fusée avec un chiffon.
Répétez les opérations 1 à 7 pour le moyeu et le disque de l'autre côté de la machine.
Déposez le roulement extérieur et la bague de roulement du moyeu (Figure 32).

Déposez le joint et le roulement intérieur du moyeu (Figure 32).
Essuyez le joint et vérifiez s'il est usé ou endommagé.
Note: Ne nettoyez pas le joint avec un solvant de nettoyage. Remplacez le joint s'il est usé ou endommagé.
Nettoyez les roulements et les bagues, et vérifiez s'ils sont usés ou endommagés.
Note: Remplacez toutes les pièces usées ou endommagées. Vérifiez que les roulements et les bagues sont propres et secs.
Éliminez la graisse, la saleté et les débris à l'intérieur de la cavité du moyeu (Figure 32).
Garnissez les roulements avec la graisse spécifiée.
Remplissez 50 à 80 % de la cavité du moyeu avec la graisse spécifiée (Figure 32).
Montez le roulement intérieur sur la bague, sur le côté intérieur du moyeu, puis posez le joint (Figure 32).
Répétez les opérations 1 à 8 pour les roulements de l'autre moyeu.
Appliquez une fine couche de la graisse spécifiée sur la fusée (Figure 33).

Montez le moyeu et le disque sur la fusée, en plaçant le disque à l'intérieur (Figure 33).
Montez le roulement extérieur sur la fusée et poussez-le contre la bague extérieure (Figure 33).
Placez la rondelle à languette sur la fusée (Figure 33).
Vissez l'écrou de fusée sur la fusée et serrez-le à 15 N·m (11 pi-lb) tout en tournant le moyeu pour asseoir le roulement (Figure 33).
Serrez l'écrou de fusée jusqu'à ce que le moyeu tourne librement.
Serrez l'écrou de fusée à un couple de 1,70 à 2,25 N·m (15 à 20 po-lb).
Placez l'arrêt d'écrou sur l'écrou et vérifiez que la fente dans l'arrêt et le trou dans la fusée sont alignés afin de pouvoir insérer la goupille fendue (Figure 34).
Note: Si la fente dans l'arrêt d'écrou et le trou dans la fusée ne sont pas alignés, alignez-les en serrant l'écrou de fusée à 2,26 N·m (20 po-lb) maximum.

Insérez la goupille fendue et repliez chacune de ses pattes autour de l'arrêt d'écrou (Figure 34).
Reposez le couvre-moyeu sur le moyeu (Figure 34).
Répétez les opérations 1 à 10 pour le moyeu et le disque de l'autre côté de la machine.
Nettoyez les 2 boulons à embase (⅜ x ¾ po) et appliquez une couche de frein-filet moyenne résistance sur le filetage des boulons.
Placez les plaquettes de frein de chaque côté du disque (Figure 29), puis alignez les trous du support d'étrier et les trous du support de frein sur le porte-fusée (Figure 33).
Fixez le support d'étrier au porte-fusée (Figure 29) à l'aide des 2 boulons à embase (⅜ x ¾ po).
Serrez les 2 boulons à embase à un couple de 47 à 54 N·m (35 à 40 pi-lb).
Alignez les trous de la roue et les goujons du moyeu, puis montez la roue sur le moyeu en plaçant la valve à l'extérieur (Figure 28).
Note: Vérifiez que la surface de montage de la roue affleure le moyeu.
Fixez la roue au moyeu avec les écrous de roue (Figure 28).
Serrez les écrous de roues à un couple de 108 à 122 N·m (80 à 90 pi-lb).
Répétez les opérations 1 à 5 pour le frein et la roue de l'autre côté de la machine.
Avant de vérifier le niveau d’huile ou de faire l'appoint d'huile dans le carter, coupez le moteur, enlevez la clé de et attendez l'arrêt complet de toutes les pièces mobiles.
Gardez les mains, les pieds, le visage et toute autre partie du corps ainsi que les vêtements à l'écart du silencieux et autres surfaces brûlantes.
| Périodicité d'entretien | Procédure d'entretien |
|---|---|
| Toutes les 50 heures |
|
Recherchez sur le boîtier du filtre à air des dommages susceptibles d'occasionner des fuites d'air. Remplacez le boîtier du filtre s'il est endommagé.
Nettoyez le couvercle du filtre à air et enlevez les débris du chapeau de protection, comme montré à la Figure 35.

| Périodicité d'entretien | Procédure d'entretien |
|---|---|
| Toutes les 50 heures |
|
| Toutes les 100 heures |
|
Note: Nettoyez l'élément du filtre à air plus fréquemment (toutes les quelques heures d'utilisation) si vous travaillez dans des conditions très poussiéreuses ou sableuses.
Sortez l'élément filtrant hors du boîtier du filtre à air avec précaution (Figure 36).
Note: Évitez de cogner l'élément à l'intérieur du boîtier.
Important: N'essayez pas de nettoyer l'élément filtrant du filtre à air.
Vérifiez l'état de l'élément filtrant de rechange en le plaçant devant une lumière forte.
Note: Les trous éventuels apparaîtront sous forme de points brillants. Vérifiez que l'élément n'est pas déchiré ni couvert d'une pellicule grasse, et que le joint de caoutchouc n'est pas endommagé. N'utilisez pas l'élément filtrant s'il est endommagé.
Introduisez l'élément filtrant dans le boîtier du filtre à air avec précaution.
Important: N'appuyez pas sur la partie intérieure souple de l'élément filtrant.
Reposez le couvercle du filtre à air, le côté identifié comme étantle HAUT dirigé vers en haut, puis verrouillez-le en place (Figure 36).

Capacité du carter : 1 L (1,1 pte américaine)
Type d'huile : huile détergente classe de service API SJ ou mieux
Viscosité : voir le tableau ci-dessous.

| Périodicité d'entretien | Procédure d'entretien |
|---|---|
| À chaque utilisation ou une fois par jour |
|
Note: À la livraison de la machine, le carter moteur contient de l'huile; vérifiez toutefois le niveau d'huile avant et après le démarrage du moteur.
Note: Le meilleur moment pour vérifier le niveau d'huile moteur est en début de journée, quand le moteur est froid avant le premier démarrage. Si le moteur vient de tourner, patientez au moins 10 minutes pour donner le temps à l'huile moteur de retourner dans le carter avant de contrôler le niveau. Si le niveau d'huile est trop bas, faites l'appoint jusqu'à ce qu'il atteigne le repère maximum. Ne remplissez pas excessivement.
Contrôlez le niveau d'huile moteur comme montré à la Figure 38.

| Périodicité d'entretien | Procédure d'entretien |
|---|---|
| Après les 5 premières heures de fonctionnement |
|
| Toutes les 50 heures |
|
| Toutes les 100 heures |
|
Note: Vidangez l'huile plus souvent si vous travaillez dans des conditions très poussiéreuses ou sableuses.
Note: Débarrassez-vous de l'huile moteur et du filtre à huile usagés dans un centre de recyclage agréé.
Démarrez le moteur et laissez-le tourner quelques minutes.
Garez la machine sur une surface plane et horizontale.
Serrez le frein de stationnement.
Coupez le moteur et enlevez la clé.
Levez le plateau de chargement et bloquez-le en position avec la béquille; voir Levage du plateau de chargement en position d'entretien.
Vidangez l'huile moteur comme montré à la Figure 39.

| Périodicité d'entretien | Procédure d'entretien |
|---|---|
| Toutes les 100 heures |
|
Type de bougie pour modèle à carburateur : Champion XC12YC
Type de bougie pour modèle EFI : Champion RC12LC4
Écartement des électrodes des modèles à carburateur : 0,76 mm (0,03 po)
Écartement des électrodes des modèles EFI : 1 mm (0,04 po)
Important: Remplacez la bougie si elle est fissurée, calaminée, encrassée ou défectueuse. Ne nettoyez pas les électrodes avec un jet de sable, un grattoir ou une brosse métallique, car des particules abrasives pourraient se détacher de la bougie et tomber dans le cylindre. Cela a généralement pour effet d'endommager le moteur.
Note: La durée de vie de la bougie est relativement longue; cependant, il est nécessaire de la déposer et la contrôler si le moteur ne fonctionne pas correctement.
Nettoyez la surface autour de la bougie pour éviter que des impuretés ne tombent dans le cylindre quand vous la retirez.
Débranchez le fil de la borne de la bougie.
Retirez la bougie de la culasse.
Vérifiez l’état des électrodes latérale et centrale, ainsi que de l’isolateur de l'électrode centrale (Figure 40).
Note: N'utilisez pas la bougie si elle est endommagée ou usée. Remplacez-la par une bougie neuve du type spécifié.

Réglez l'écartement des électrodes centrale et latérale à 1 mm (0,04 po) pour les modèles EFI ou 0,76 mm (0,03 po) pour les modèles à carburateur comme montré à la Figure 40.
Insérez la bougie dans la culasse et serrez-la à 27 N·m (20 pi-lb).
Rebranchez le fil de la bougie.
Répétez les opérations 1 à 7 pour l'autre bougie d'allumage.
Levez le plateau de chargement et bloquez-le en position avec la béquille.
Sur la gaine du câble d'accélérateur, desserrez l'écrou de blocage avant et serrez l'écrou de blocage arrière pour augmenter le ralenti (Figure 41).

Contrôlez le ralenti accéléré avec un compte-tours :
Vérifiez que le levier inverseur est à la position POINT MORT.
Démarrez le moteur.
Enfoncez la pédale d'accélérateur au plancher et mesurez le régime moteur avec un compte-tours; il doit se situer entre 3 650 et 3 750 tr/min. Si ce n'est pas le cas, coupez le moteur et ajustez les écrous de blocage du câble.
Important: Ne réduisez pas le ralenti accéléré. Avec un compte-tours, vérifiez que le ralenti accéléré se situe entre 3 650 et 3 750 tr/min.
Baissez et sécurisez le plateau de chargement.
| Périodicité d'entretien | Procédure d'entretien |
|---|---|
| Toutes les 400 heures |
|
Vérifiez que les canalisations de carburant, les raccords et les colliers ne présentent pas de fuites, ne sont pas détériorés, endommagés ou desserrés.
Note: Réparez les fuites ou les composants endommagés du système d'alimentation avant d'utiliser la machine.
| Périodicité d'entretien | Procédure d'entretien |
|---|---|
| Toutes les 400 heures |
|
Garez la machine sur une surface plane et horizontale.
Serrez le frein de stationnement.
Coupez le moteur et enlevez la clé.
Levez le plateau et bloquez-le en position avec la béquille.
Débranchez la batterie; voir Débranchement de la batterie.
Placez un bac de vidange propre sous le filtre à carburant et remplacez le filtre à carburant comme montré à la Figure 42.

Rebranchez la batterie et baissez le plateau de chargement; voir Branchement de la batterie.
| Périodicité d'entretien | Procédure d'entretien |
|---|---|
| Après les 50 premières heures de fonctionnement |
|
| Toutes les 200 heures |
|
Par l'ouverture au bas du filtre à air, vérifiez que la cartouche de charbon actif est propre et exempte de débris et d'obstructions (Figure 43).
Nettoyez la cartouche de charbon actif avec de l'air comprimé propre.

Débranchez la batterie avant de réparer la machine. Débranchez toujours la borne négative de la batterie avant la borne positive. Rebranchez la borne positive avant la borne négative.
Chargez la batterie dans un endroit dégagé et bien aéré, à l'écart des flammes ou sources d'étincelles. Débranchez le chargeur avant de brancher ou de débrancher la batterie. Portez des vêtements de protection et utilisez des outils isolés.
Tension batterie : 12 V avec 300 A de démarrage à froid à -18 °C (0 °F).
Maintenez toujours la batterie propre et chargée au maximum.
Si les bornes de la batterie sont corrodées, nettoyez-les avec un mélange constitué de 4 volumes d'eau pour 1 volume de bicarbonate de soude.
Enduisez les bornes de la batterie d'une mince couche de graisse pour éviter la corrosion.
S'ils sont mal acheminés, les câbles de la batterie peuvent subir des dommages ou endommager la machine et produire des étincelles. Les étincelles peuvent provoquer l'explosion des gaz de la batterie et vous blesser.
Débranchez toujours le câble négatif (noir) de la batterie avant le câble positif (rouge).
Rebranchez toujours le câble positif (rouge) de la batterie avant le câble négatif (noir).
Laissez toujours la sangle de la batterie en place pour protéger et immobiliser la batterie.
Les bornes de la batterie ou les outils en métal peuvent causer des courts-circuits au contact des pièces métalliques de la machine et produire des étincelles. Les étincelles peuvent provoquer l'explosion des gaz de la batterie et vous blesser.
Lorsque vous enlevez ou installez la batterie, ne touchez aucune partie métallique de la machine avec les bornes de la batterie.
Évitez de créer des courts-circuits entre les bornes de la batterie et les parties métalliques de la machine avec des outils en métal.
Débranchez la batterie, comme montré à la Figure 44.

Débranchez les câbles de la batterie; voir Débranchement de la batterie.
Déposez la batterie comme montré à la Figure 45.

Reposez la batterie comme montré à la Figure 46.

Rebranchez les câbles de la batterie; voir Branchement de la batterie.
Branchez la batterie comme montré à la Figure 47.

La batterie en charge produit des gaz susceptibles d'exploser.
Ne fumez jamais à côté de la batterie et tenez-la à l'écart de toutes flammes ou sources d'étincelles.
Important: La batterie doit toujours être chargée au maximum. Cela est particulièrement important pour prévenir la dégradation de la batterie si la température tombe en dessous de 0 °C (32 °F).
Déposez la batterie de la machine; voir Retrait de la batterie.
Connectez un chargeur de batterie de 3 à 4 A aux bornes de la batterie. Chargez la batterie à un régime de 3 à 4 A pendant 4 à 8 heures (12 V).
Note: Ne chargez pas la batterie excessivement.
Mettez la batterie en place; voir Mise en place de la batterie.
Si vous remisez la machine pendant plus d'un mois de suite, enlevez la batterie et chargez-la au maximum. Rangez-la sur une étagère ou remettez-la sur la machine. Ne rebranchez pas les câbles si vous remettez la batterie sur la machine. Rangez la batterie dans un endroit frais pour éviter qu'elle ne se décharge trop rapidement. Pour protéger la batterie du gel, maintenez-la chargée au maximum.
Le système électrique comprend 4 fusibles; les autres emplacements sont inoccupés pour d'éventuelles options. Ils sont situés sous l'ensemble sièges (Figure 48).
| Avertisseur sonore | 30 A |
| Alimentation principale | 15 A |
| Phares | 10 A |
| Port USB/options | 10 A |
| Kit de levage en option – emplacement libre | 15 A |

Le système électrique comprend 5 fusibles; les autres emplacements sont inoccupés pour d'éventuelles options. Ils sont situés sous l'ensemble sièges (Figure 49).
| Avertisseur sonore | 20 A |
| Alimentation principale | 15 A |
| Phares | 10 A |
| Port USB/options | 10 A |
| Niveau de carburant | 10 A |
| Kit de levage en option – emplacement libre | 15 A |

Spécifications : voir le Catalogue de pièces.
Débranchez la batterie; voir Débranchement de la batterie.
Ouvrez le capot.
Débranchez le connecteur électrique sur le faisceau du connecteur du phare (Figure 50).

Retirez les clips rapides qui fixent le phare sur son support (Figure 50).
Note: Conservez toutes les pièces pour monter le phare de rechange.
Déposez le phare en le poussant vers l'avant et hors de l'ouverture dans le pare-chocs avant (Figure 50).
Insérez le phare de rechange dans l'ouverture du pare-chocs (Figure 50).
Note: Veillez à ce que les ergots soient bien alignés sur les trous du support de montage derrière le pare-chocs.
Fixez le phare en place avec les clips rapides retirés à l'opération 4.
Branchez le connecteur électrique du faisceau sur le connecteur du phare (Figure 50).
Réglez les phares de façon à diriger les faisceaux à la position voulue; voir Réglage des phares.
Chaque fois que vous déposez ou remplacez un phare, réglez la position du faisceau comme suit :
Garez la machine sur une surface plane et horizontale avec les phares à environ 7,6 m (25 pi) devant un mur (Figure 51).
Mesurez la distance du sol au centre du phare et faites un repère sur le mur à la même hauteur.
Tournez la clé à la position CONTACT et allumez les phares.
Notez l'emplacement du faisceau des phares sur le mur.
La partie la plus brillante du faisceau doit se trouver 20 cm (8 po) en dessous du repère que vous avez fait sur le mur (Figure 51).

Au dos du phare, tournez les vis de réglage (Figure 50) afin de faire pivoter le phare et d'aligner la position du faisceau projeté.
Rebranchez la batterie et refermez le capot; voir Branchement de la batterie.
| Périodicité d'entretien | Procédure d'entretien |
|---|---|
| Toutes les 100 heures |
|
Vérifiez l'état et l'usure des pneus et des jantes.
Note: Les accidents de conduite, comme une collision contre une bordure de trottoir, peuvent endommager un pneu ou une jante et dérégler également la géométrie des roues. Pour cette raison, vérifiez l'état des pneus après tout accident.
Serrez les écrous de roues à un couple de 108 à 122 N·m (80 à 90 pi-lb).
| Périodicité d'entretien | Procédure d'entretien |
|---|---|
| Toutes les 100 heures |
|
Le volant étant centré (Figure 52), tournez-le vers la gauche ou la droite. Si vous tournez le volant de plus de 13 mm (½ po) à gauche ou à droite et que les roues ne tournent pas, vérifiez le serrage et l'état des composants de la direction et de la suspension :
Joint de l'arbre de direction sur la crémaillère de direction.
Important: Vérifiez l'état et la fixation du joint de l'arbre de pignon (Figure 53).
Biellettes de crémaillère de direction


| Périodicité d'entretien | Procédure d'entretien |
|---|---|
| Toutes les 100 heures |
|
Vérifiez que les pneus avant sont gonflés à 0,82 bar (12 psi).
Placez une masse équivalente au poids moyen de l'utilisateur sur le siège du conducteur ou demandez à l'utilisateur de s'asseoir sur le siège. La masse ou l'utilisateur doit rester sur le siège pendant toute la procédure de réglage.
Sur une surface plane et horizontale, faites reculer la machine en ligne droite de 2 à 3 m (6 à 10 pi), puis repartez dans l'autre sens en ligne droite jusqu'à la position de départ. Cela permet à la suspension de se stabiliser à la position d'utilisation.
Outils fournis par le propriétaire de la machine : clé à ergots (réf. Toro 132-5069); voir un distributeur Toro agréé.
Important: Ne réglez le carrossage que si vous utilisez un accessoire avant ou si l'usure des pneus est irrégulière.
Contrôlez le carrossage de chaque roue; il doit être aussi proche de zéro que possible.
Note: La bande de roulement des pneus doit être disposée uniformément sur le sol pour prévenir une usure irrégulière.
Si le carrossage des roues n'est pas correct, utilisez la clé à ergots pour tourner le collet sur l'amortisseur et orienter la roue correctement (Figure 54).

Important: Avant de régler le pincement, vérifiez que le réglage du carrossage est aussi proche de zéro que possible; voir Réglage du carrossage.
Mesurez la distance entre les roues avant à hauteur d'essieu, à l'avant et à l'arrière des roues (Figure 55).

Si la mesure n'est pas comprise entre 0 et 6 mm (0 et ¼ po), desserrez les écrous de blocage aux extrémités extérieures des biellettes (Figure 56).

Tournez les biellettes de façon à déplacer l'avant de la roue vers l'intérieur ou l'extérieur.
Resserrez les écrous de blocage des biellettes quand le réglage correct est obtenu.
Assurez-vous que le volant effectue toute sa course dans les deux sens.
| Périodicité d'entretien | Procédure d'entretien |
|---|---|
| Toutes les 100 heures |
|
Type de liquide : SAE 80W-90 (API MT-1) ou SAE 80W-90 (API GL-5)
Garez la machine sur une surface plane et horizontale.
Serrez le frein de stationnement.
Coupez le moteur et enlevez la clé.
Enlevez le bouchon de remplissage de la boîte-pont (Figure 57).
Note: Le niveau de liquide doit atteindre la base du bouchon de remplissage.

Si le niveau de liquide est trop bas, enlevez le bouchon de remplissage et ajoutez le liquide spécifié jusqu'à ce qu'il ressorte par l'orifice (Figure 57).
Remettez le bouchon de remplissage en place et serrez-le à un couple de 20 à 27 N·m (15 à 20 pi-lb).
| Périodicité d'entretien | Procédure d'entretien |
|---|---|
| Toutes les 800 heures |
|
Type de liquide : SAE 80W-90 (API MT-1) ou SAE 80W-90 (API GL-5)
Capacité de liquide : 1,6 L (1,7 pte américaine)
Placez un bac de vidange sous le bouchon de vidange (Figure 57).
Enlevez le bouchon de remplissage et le joint (Figure 57).
Note: Conservez le bouchon de remplissage et le joint pour la repose à l'opération 6.
Enlevez le bouchon de vidange et le joint et vidangez tout le liquide (Figure 57).
Note: Conservez le bouchon de vidange et le joint pour la repose à l'opération 4.
Remettez le bouchon de vidange et le joint, et serrez-le à un couple de 20 à 27 N·m (15 à 20 pi-lb).
Remplissez la boîte-pont du liquide spécifié jusqu'à ce qu'il ressorte par l'orifice de remplissage.
Remettez le bouchon de remplissage et le joint, et serrez-le à un couple de 20 à 27 N·m (15 à 20 pi-lb).
| Périodicité d'entretien | Procédure d'entretien |
|---|---|
| À chaque utilisation ou une fois par jour |
|
| Toutes les 100 heures |
|
Lors des entretiens courants et/ou des diagnostics du moteur, mettez la boîte-pont au POINT MORT. La position POINT MORT de l'inverseur de marche commande le point mort de la boîte-pont. Pour vérifier que le point mort de l'inverseur de marche actionne correctement le point mort de la boîte-pont, procédez comme suit :
Placez l'inverseur de marche à la position POINT MORT.
Tournez l'embrayage secondaire (Figure 64) pour vérifier qu'il tourne librement à la position POINT MORT.
Placez l'inverseur de marche à la position MARCHE AVANT.
Tournez l'embrayage secondaire (Figure 64) pour vérifier qu'il fait tourner les roues arrière.
Placez l'inverseur de marche à la position MARCHE ARRIèRE.
Tournez l'embrayage secondaire (Figure 64) pour vérifier qu'il fait tourner les roues arrière.
En cas d'échec de l'un de ces contrôles, passez à la section Réglage de la position point mort de l'inverseur de marche.
Desserrez les écrous de blocage sur le câble de sélection et ajustez-les selon les besoins (Figure 58).

Vérifiez la position de l'inverseur de marche en tournant le sélecteur aux 3 positions différentes et vérifiez que le levier (Figure 58) passe correctement à chaque position; voir Levier et indicateur d'inverseur de marche.
Vérifiez le bon fonctionnement à toutes les positions en répétant les opérations de la Contrôle de la position point mort de l'inverseur de marche..
| Périodicité d'entretien | Procédure d'entretien |
|---|---|
| Toutes les 400 heures |
|
La poussière présente dans l'embrayage est projetée à l'extérieur et peut vous blesser aux yeux ou causer des troubles respiratoires en cas d'inhalation.
Portez des lunettes de sécurité et un masque anti-poussière ou un autre type de protection oculaire et respiratoire pour effectuer cette procédure.
Levez et verrouillez le plateau de chargement.
Retirez les 3 boulons qui fixent le couvercle de l'embrayage et déposez le couvercle (Figure 59).
Note: Conservez le couvercle et les boulons pour la repose.

Nettoyez soigneusement l'intérieur du couvercle et les composants internes de l'embrayage à l'air comprimé.
Posez le couvercle d'embrayage et fixez-le avec les 3 boulons (Figure 59) que vous avez retirés à l'opération 2.
Baissez le plateau de chargement.
La poussière présente dans l'embrayage est projetée à l'extérieur et peut vous blesser aux yeux ou causer des troubles respiratoires en cas d'inhalation.
Portez des lunettes de sécurité et un masque anti-poussière ou un autre type de protection oculaire et respiratoire pour effectuer cette procédure.
Levez et verrouillez le plateau de chargement; voir Levage du plateau de chargement en position d'entretien.
Retirez les boulons qui fixent le couvercle de l'embrayage primaire, comme montré à la Figure 60.
Important: Procéder avec précaution lors de la dépose du couvercle d'embrayage, car le ressort est comprimé.
Important: Notez l'orientation du X sur les couvercles d'embrayage et les embrayages pour le montage ultérieur.

Déposez le ressort.
Ajoutez ou retirez des entretoises pour régler la vitesse de pointe. Reportez-vous au tableau ci-dessous pour déterminer le nombre d'entretoises nécessaires.
| Entretoises | Vitesse de pointe |
| 2 (standard) | 26 km/h (16 mi/h) (standard) |
| 3 | 19 km/h (12 mi/h) |
| 4 | 14 km/h (9 mi/h) |
| 5 | 10 km/h (6 mi/h) |
| 6 | 6 km/h (4 mi/h) |
Important: N'utilisez jamais la machine sans au moins 2 entretoises d'embrayage.
Reposez le ressort et le couvercle d'embrayage.
Important: Veillez à replacer le X à sa position d'origine.
Serrez les boulons à un couple de 179 à 228 N·m (132 à 168 po-lb).
L'ingestion de liquide de refroidissement moteur peut être toxique; rangez-le hors de la portée des enfants et des animaux domestiques.
Les projections de liquide de refroidissement brûlant sous pression ou le contact avec le radiateur brûlant et les pièces qui l'entourent peuvent causer des brûlures graves.
Laissez toujours refroidir le moteur pendant au moins 15 minutes avant d'enlever le bouchon de radiateur.
Servez-vous d'un chiffon pour ouvrir le bouchon du radiateur et desserrez-le lentement pour permettre à la vapeur de s'échapper.
N'utilisez jamais la machine sans les capots de protection.
N'approchez pas les doigts, les mains ou les vêtements du ventilateur et de la courroie d'entraînement en rotation.
Coupez le moteur et enlevez la clé avant d'effectuer des entretiens.
| Périodicité d'entretien | Procédure d'entretien |
|---|---|
| Toutes les 100 heures |
|
Important: Le moteur peut surchauffer et être endommagé si vous utilisez la machine alors que l'écran rotatif est bloqué, que les ailettes de refroidissement sont encrassées ou obstruées, ou que les déflecteurs de refroidissement sont déposés.
Important: Ne nettoyez jamais le moteur au jet d'eau au risque de contaminer le système d'alimentation.
Nettoyez l'admission, les ailettes de refroidissement et les surfaces extérieures du moteur.
Note: Nettoyez les composants de refroidissement du moteur plus fréquemment si l'atmosphère est extrêmement poussiéreuse ou sale.
Serrez le frein de stationnement en tirant le levier vers vous jusqu'à ce que vous sentiez une tension.
Si vous ne sentez pas une tension quand vous tirez le frein de stationnement vers vous à une distance de 11,4 à 16,5 cm (4½ à 6½ po) du symbole « P » sur la planche de bord, vous devez régler le frein de stationnement; voir Réglage du frein de stationnement.
Vérifiez que le frein de stationnement est desserré.
Soulevez l'arrière de la machine sur des chandelles; voir Levage de la machine.
Utilisez 2 clés, une pour maintenir le tenon de réglage en place sur l'étrier et l'autre pour desserrer l'écrou de blocage de 1/4 de tour (Figure 61).

Tout en maintenant le tenon de réglage et l'écrou de blocage en place, tournez le tenon pour le serrer (Figure 61).
Note: Effectuez cette opération jusqu'à ce que vous sentiez un frottement sur la roue.
Tout en maintenant le tenon de réglage et l'écrou de blocage en place, tournez le tenon en arrière de 1/4 de tour (Figure 61).
Tout en maintenant le tenon de réglage et l'écrou de blocage en place, serrez l'écrou de blocage (Figure 61).
Effectuez les opérations 1 à 6 de l'autre côté.
Vérifiez que le frein de stationnement est réglé à la tension correcte; voir Contrôle du frein de stationnement.
Note: Si vous ne réussissez pas à régler le frein de stationnement à la tension correcte, il est possible que les plaquettes de frein soient usées et doivent être remplacées. Adressez-vous à votre distributeur Toro agréé.
| Périodicité d'entretien | Procédure d'entretien |
|---|---|
| À chaque utilisation ou une fois par jour |
|
Type de liquide de frein : DOT 3
Garez la machine sur une surface plane et horizontale.
Serrez le frein de stationnement.
Coupez le moteur et enlevez la clé.
Soulevez le capot pour accéder au maître-cylindre de frein et au réservoir (Figure 62).

Observez le repère de niveau sur le côté du réservoir (Figure 63).
Note: Le niveau doit se situer au-dessus du repère du minimum.

Si le niveau de liquide est trop bas, procédez comme suit :
Nettoyez la surface autour du bouchon du réservoir et enlevez le bouchon (Figure 62).
Versez du liquide de frein DOT 3 dans le réservoir jusqu'à ce que le niveau dépasse le repère minimum (Figure 63).
Note: Ne remplissez pas excessivement le réservoir de liquide de frein.
Remettez le bouchon du réservoir (Figure 62).
Fermez le capot de la machine.
| Périodicité d'entretien | Procédure d'entretien |
|---|---|
| Toutes les 100 heures |
|
Important: Les freins sont un des composants de sécurité essentiels de la machine. Vérifiez-les attentivement aux intervalles d'entretien recommandés pour garantir des performances et une sécurité optimales.
Contrôlez l'état et l'usure de la garniture des freins. Remplacez la garniture (plaquette de frein) si elle fait moins de 1,6 mm (1/16 po), d'épaisseur.
Vérifiez si le support de garniture et autres composants semblent excessivement usés ou déformés. Remplacez les composants déformés.
Contrôlez le niveau de liquide de frein; voir Contrôle du niveau de liquide de frein.
| Périodicité d'entretien | Procédure d'entretien |
|---|---|
| Toutes les 400 heures |
|
Demandez à votre distributeur Toro agréé de vérifier et de remplacer éventuellement les plaquettes des freins de service et du frein de stationnement.
| Périodicité d'entretien | Procédure d'entretien |
|---|---|
| Toutes les 1000 heures |
|
Contactez un dépositaire Toro agréé.
| Périodicité d'entretien | Procédure d'entretien |
|---|---|
| Après les 8 premières heures de fonctionnement |
|
| Toutes les 200 heures |
|
Garez la machine sur une surface plane et horizontale.
Serrez le frein de stationnement.
Coupez le moteur et enlevez la clé.
Levez le plateau de chargement et bloquez-le en position avec la béquille; voir Levage du plateau de chargement en position de déchargement.
Sélectionnez le POINT MORT de la transmission.
Faites tourner la courroie (Figure 64) pour vérifier qu'elle n'est pas excessivement usée ou endommagée.
Note: Remplacez la courroie si elle est excessivement usée ou endommagée; voir Remplacement de la courroie d'entraînement.

Baissez le plateau de chargement.
Levez le plateau de chargement; voir Levage du plateau de chargement en position de déchargement.
Sélectionnez le POINT MORT de la transmission, serrez le frein de stationnement, tournez la clé à la position ARRêT et enlevez la clé.
Faites tourner la courroie et faites-la passer sur l'embrayage secondaire (Figure 64).
Enlevez la courroie de l'embrayage primaire (Figure 64).
Note: Mettez la courroie usagée au rebut.
Placez la courroie neuve sur l'embrayage principal (Figure 64).
Faites tourner la courroie et faites-la passer sur l'embrayage secondaire (Figure 64).
Baissez le plateau de chargement.
| Périodicité d'entretien | Procédure d'entretien |
|---|---|
| Après les 8 premières heures de fonctionnement |
|
| Toutes les 200 heures |
|
Levez le plateau de chargement; voir Levage du plateau de chargement en position de déchargement.
Desserrez l'écrou de pivot de l'alterno-démarreur (Figure 64).
Insérez un levier entre le support moteur et le démarreur.
Appuyez sur le levier pour faire pivoter le démarreur vers le bas dans la fente jusqu'à ce que la tension de la courroie produise une flèche de seulement 6 mm (¼ po) quand une force de 44 N·m (10 pi-lb) est appliquée (Figure 64).
Resserrez l'écrou de pivot à la main et enlevez le levier (Figure 64).
Serrez l'écrou de pivot à un couple de 88 à 115 N·m (65 à 85 pi-lb).
Baissez le plateau de chargement.
Si les loquets du plateau de chargement sont déréglés, le plateau tressaute pendant que vous conduisez la machine. Vous pouvez régler les montants de sorte que les loquets maintiennent le plateau bien ajusté sur le châssis.
Vérifiez que le plateau de chargement se verrouille.
Note: Si le plateau de chargement ne se verrouille pas, la gâche du loquet est probablement trop basse. Si le plateau de chargement se verrouille mais tressaute pendant la conduite, la gâche est probablement trop haute.
Levez le plateau de chargement; Levage du plateau de chargement en position de déchargement.
Desserrez les 2 boulons sur la gâche du loquet et montez ou descendez la gâche selon qu'elle est trop haute ou trop basse (Figure 65).

Serrez les 2 boulons de la gâche du loquet du plateau (Figure 65).
Vérifiez que le réglage est correct en verrouillant plusieurs fois le plateau de chargement.
| Périodicité d'entretien | Procédure d'entretien |
|---|---|
| À chaque utilisation ou une fois par jour |
|
Au besoin, lavez la machine seulement avec de l'eau ou en y ajoutant un détergent doux. Vous pouvez laver la machine à l'aide d'un chiffon.
Important: Ne nettoyez pas la machine avec de l'eau saumâtre ou recyclée.
Important: Ne lavez pas la machine au jet haute pression. Cela pourrait endommager le système électrique, décoller des autocollants importants ou enlever la graisse nécessaire aux points de frottement. N'utilisez pas trop d'eau près du panneau de commande, du moteur et de la batterie.
Important: Ne lavez pas la machine pendant que le moteur tourne. Cela pourrait endommager les pièces internes du moteur.
Avant de quitter la position d'utilisation, coupez le moteur de la machine, enlevez la clé et attendez l'arrêt complet de tout mouvement. Laissez refroidir la machine avant de la régler, d'en faire l'entretien, de la nettoyer ou de la remiser.
Ne remisez pas la machine ni les bidons de carburant à proximité d'une flamme nue, d'une source d'étincelles ou d'une veilleuse, telle celle d'un chauffe-eau ou autre appareil.
Garez la machine sur une surface plane et horizontale.
Serrez le frein de stationnement.
Coupez le moteur et enlevez la clé.
Éliminez la saleté et les impuretés sur toute la machine, y compris à l'extérieur des ailettes de la culasse et du boîtier du ventilateur.
Important: Vous pouvez laver la machine avec de l'eau et un détergent doux. Ne lavez pas la machine au jet haute pression. Le lavage au jet haute pression peut endommager le système électrique ou enlever la graisse nécessaire aux points de frottement. N'utilisez pas trop d'eau près du panneau de commande, des feux, du moteur et de la batterie.
Contrôlez les freins; voir Contrôle des freins.
Faites l'entretien du filtre à air; voir Entretien du filtre à air.
Vidangez l'huile moteur; voir Contrôle du niveau, vidange de l'huile moteur et remplacement du filtre à huile.
Contrôlez la pression des pneus; voir Contrôle de la pression des pneus.
Si vous comptez remiser la machine pendant plus d'un mois, préparez le circuit d'alimentation comme suit :
Ajoutez un stabilisateur/conditionneur dans le réservoir de carburant. N'utilisez pas de stabilisateur à base d'alcool (éthanol ou méthanol).
Important: Ne conservez pas le carburant additionné de stabilisateur/conditionneur plus longtemps que recommandé par le fabricant du stabilisateur de carburant.
Faites tourner le moteur pendant 5 minutes pour faire circuler le carburant traité dans tout le circuit d'alimentation.
Coupez le moteur, laissez-le refroidir puis vidangez le réservoir de carburant.
Note: Débarrassez-vous du carburant correctement. Respectez la réglementation locale en matière de recyclage.
Redémarrez le moteur et laissez-le tourner jusqu'à ce qu'il s'arrête.
Actionnez le volet de départ.
Démarrez le moteur et laissez-le tourner jusqu'à ce qu'il ne veuille plus démarrer.
Déposez la bougie et vérifiez son état; voir Entretien de la bougie.
Versez 15 ml (2 cuillerées à soupe) d'huile moteur dans l'ouverture laissée par la bougie.
Actionnez le démarreur pour faire tourner le moteur et bien répartir l'huile dans le cylindre.
Montez et serrez la ou les bougies au couple recommandé; voir Entretien de la bougie.
Note: Ne rebranchez pas le fil de la ou des bougies.
Déposez la batterie du châssis et chargez-la au maximum; voir Retrait de la batterie.
Note: Ne laissez pas les câbles connectés aux bornes de la batterie durant le remisage.
Important: La batterie doit être chargée au maximum pour éviter de geler et de subir des dommages à des températures inférieures à 0 °C (32 °F). Une batterie chargée au maximum conserve sa charge durant environ 50 jours à des températures inférieures à 4 °C (40 °F).
Contrôlez et resserrez toutes les fixations. Réparez ou remplacez toute pièce endommagée.
Peignez toutes les surfaces métalliques éraflées ou mises à nu avec de la peinture en vente chez un dépositaire Toro agréé.
Rangez la machine dans un endroit propre et sec, comme un garage ou une remise.
Enlevez la clé du commutateur d'allumage et rangez-la en lieu sûr, hors de la portée des enfants.
Couvrez la machine pour la protéger et la garder propre.